патент
№ RU 2265531
МПК B60R25/00

СИСТЕМА ОБЕСПЕЧЕНИЯ БЕЗОПАСНОСТИ И МОНИТОРИНГА МОБИЛЬНЫХ ОБЪЕКТОВ

Авторы:
Петричкович Я.Я. Хамухин А.В. Канн Илья Александрович (US)
Все (8)
Номер заявки
2003124372/11
Дата подачи заявки
07.08.2003
Опубликовано
10.12.2005
Страна
RU
Как управлять
интеллектуальной собственностью
Чертежи 
1
Реферат

[40]

Изобретение относится к автоматизированным средствам защиты транспортных средств. Система содержит видеокамеру, приспособленную для получения видеосигнала цели, вычислительное устройство с памятью и устройство приема/передачи сигнала, связанные посредством локальной вычислительной сети. Имеется также транспондер, выполненный с возможностью хранения и передачи на устройство приема/передачи сигнала собственного индивидуального идентификационного сигнала, соответствующего конкретному охраняемому мобильному объекту или его надлежащему владельцу. Устройство приема/передачи сигнала выполнено с возможностью приема указанного идентификационного сигнала. Кроме того, в систему введены устройство распознавания цели, база данных, подвижная видеокамера и терминал наблюдения. Устройство распознавания цели соединено через аппаратно-программный интерфейс с упомянутой видеокамерой и устройством приема/передачи сигнала. База данных реализована на вычислительном устройстве с памятью с заранее записанными в нее описаниями индивидуальных параметров мобильных объектов, подлежащих мониторингу, идентификационными сигналами, отвечающими соответствующим мобильным объектам, подлежащим мониторингу, и описаниями тревожных ситуаций. Подвижная видеокамера выполнена с возможностью наведения на цель в зависимости от получаемого от устройства распознавания цели управляющего сигнала. Терминал наблюдения приспособлен для информирования оператора и получения от него управляющих команд. При этом база данных выполнена с возможностью доступа к ней с подвижной видеокамеры и с устройства распознавания цели и записи в нее новой информации, получаемой с подвижной видеокамеры. Устройство распознавания цели выполнено с возможностью анализа сигналов, поступающих от видеокамеры, приспособленной для получения видеосигнала цели, и от устройства приема/передачи сигнала, распознавания на их основе тревожной ситуации, определения цели в соответствии с заданным алгоритмом с использованием хранящейся в базе данных информации и выдачи соответствующего управляющего сигнала на подвижную видеокамеру для наведения на цель и сигнала тревоги на терминал наблюдения. Подвижная видеокамера выполнена с возможностью получения видеосигнала с изображением цели, пригодного для дальнейшего анализа, и его передачи для хранения в базу данных. Изобретение позволяет осуществлять эффективный автоматизированный мониторинг мобильных объектов на охраняемой территории при различных погодных условиях и в любое время суток. 11 з.п. ф-лы, 2 ил.

Формула изобретения

1. Система обеспечения безопасности и мониторинга мобильных объектов, содержащая, по меньшей мере, одну видеокамеру, приспособленную для получения видеосигнала цели, по меньшей мере, одно вычислительное устройство с памятью и, по меньшей мере, одно устройство приема/передачи сигнала, связанные посредством локальной вычислительной сети, а также, по меньшей мере, один транспондер, выполненный с возможностью хранения и передачи на устройство приема/передачи сигнала собственного индивидуального идентификационного сигнала, соответствующего конкретному охраняемому мобильному объекту или его надлежащему владельцу, причем устройство приема/передачи сигнала выполнено с возможностью приема указанного идентификационного сигнала, отличающаяся тем, что содержит, по меньшей мере, одно устройство распознавания цели, соединенное через аппаратно-программный интерфейс с упомянутой видеокамерой и устройством приема/передачи сигнала, по меньшей мере, одну реализованную на вычислительном устройстве с памятью базу данных с заранее записанными в нее описаниями индивидуальных параметров мобильных объектов, подлежащих мониторингу, идентификационными сигналами, отвечающими соответствующим мобильным объектам, подлежащим мониторингу, и описаниями тревожных ситуаций, по меньшей мере, одну подвижную видеокамеру, выполненную с возможностью наведения на цель в зависимости от получаемого от устройства распознавания цели управляющего сигнала, и, по меньшей мере, один терминал наблюдения, приспособленный для информирования оператора и получения от него управляющих команд, причем база данных выполнена с возможностью доступа к ней с подвижной видеокамеры и с устройства распознавания цели и записи в нее новой информации, получаемой с подвижной видеокамеры, устройство распознавания цели выполнено с возможностью анализа сигналов, поступающих от видеокамеры, приспособленной для получения видеосигнала цели, и от устройства приема/передачи сигнала, распознавания на их основе тревожной ситуации, определения цели в соответствии с заданным алгоритмом с использованием хранящейся в базе данных информации и выдачи соответствующего управляющего сигнала на подвижную видеокамеру для наведения на цель и сигнала тревоги на терминал наблюдения, а подвижная видеокамера выполнена с возможностью получения видеосигнала с изображением цели, пригодного для дальнейшего анализа, и его передачи для хранения в базу данных.

2. Система по п.1, отличающаяся тем, что дополнительно содержит транспондеры с собственными идентификационными сигналами, причем общее число транспондеров в системе соответствует количеству мобильных объектов, подлежащих мониторингу, а каждый собственный идентификационный сигнал транспондера отвечает определенному мобильному объекту или его надлежащему владельцу.

3. Система по п.1 или 2, отличающаяся тем, что устройство распознавания цели реализовано программно в вычислительном устройстве с памятью.

4. Система по п.1 или 2, отличающаяся тем, что индивидуальные параметры мобильных объектов выбраны из группы, включающей отношение длины и ширины, форму, цвет, номерной регистрационный знак.

5. Система по п.1 или 2, отличающаяся тем, что подвижная видеокамера выполнена с возможностью поворота в вертикальной и горизонтальной плоскостях и/или изменения фокусного расстояния, и/или изменения диафрагмы, и/или настройки на фокус для обеспечения наведения на цель.

6. Система по п.1, отличающаяся тем, что дополнительно содержит датчик обнаружения цели, связанный с устройством распознавания цели, причем устройство распознавания цели выполнено с возможностью анализа сигнала от датчика обнаружения цели.

7. Система по п.6, отличающаяся тем, что в качестве датчика обнаружения цели использовано устройство, выбранное из группы, включающей инфракрасные камеры, термовизорные камеры, радиолокационные устройства, датчик перемещения.

8. Система по п.6 или 7, отличающаяся тем, что устройство распознавания цели выполнено с возможностью вычисления вектора скорости и текущей координаты нахождения цели, а также формирования и передачи на подвижную видеокамеру соответствующего управляющего сигнала для обеспечения наведения подвижной видеокамеры на цель.

9. Система по п.8, отличающаяся тем, что устройство распознавания цели выполнено с возможностью передачи управляющего сигнала на подвижную видеокамеру по последовательному каналу связи.

10. Система по п.8 или 9, отличающаяся тем, что устройство распознавания цели выполнено с возможностью анализа видеосигнала от видеокамеры, приспособленной для получения видеосигнала цели, и выбора по нему индивидуальных параметров мобильного объекта, анализа идентификационного сигнала, полученного устройством приема/передачи сигнала от транспондера, и выбора по нему индивидуальных параметров, соответствующих мобильному объекту с указанным индивидуальным идентификационным сигналом, сравнения найденных в базе данных индивидуальных параметров с индивидуальными параметрами, выбранными по видеосигналу, и формирования в случае их несовпадения соответствующего сигнала тревоги.

11. Система по п.10, отличающаяся тем, что устройство распознавания цели выполнено с возможностью анализа видеосигнала от видеокамеры, приспособленной для получения видеосигнала цели, в соответствии с описаниями тревожной ситуации, выбранными из группы, включающей яркость, размер, длительность нахождения в контролируемой зоне, скорость и направление перемещения, количество людей в мобильном объекте.

12. Система по п.1, отличающаяся тем, что в качестве вычислительного устройства с памятью использован персональный компьютер.

Описание

[1]

Область техники

[2]

Настоящее изобретение относится к области технических систем обеспечения безопасности и мониторинга и более точно касается системы обеспечения безопасности и мониторинга мобильных объектов.

[3]

Уровень техники

[4]

Из уровня техники известны автоматизированные (аппаратно-программные) системы и способы обеспечения безопасности и мониторинга. Наиболее часто такие системы используются для обеспечения безопасности определенной охраняемой территории, мониторинга окружающей среды и контроля движения мобильных объектов, в частности транспортных средств. Известны автоматизированные (аппаратно-программные) системы контроля автотранспортных средств, основанные на принципах распознавания образов, которые содержат видеокамеры, компьютеры идентификации автотранспортного средства, каждый из которых соединен с соответствующей видеокамерой, и сервер для управления и поиска автотранспортного средства в базе данных, связанный с указанными компьютерами посредством локальной вычислительной сети.

[5]

Известна из патента РФ 2137203 система контроля за движением автотранспортных средств, которая включает передвижной контрольный пункт, множество стационарных зон контроля, каждая из которых представляет собой условный прямоугольник, охватывающий определенный локальный участок дороги, коммутационные устройства, установленные около дороги на заданном расстоянии от указанного прямоугольника. В каждой зоне контроля установлены видеокамеры, светильники, разделитель полос и направлений движения. Система также содержит аппаратно-программный комплекс, установленный на передвижном контрольном пункте. Комплекс включает компьютеры идентификации транспортного средства, с которыми посредством коммутационных устройств соединяются на определенное время видеокамеры, сервер для управления и поиска транспортных средств в базе данных, локальную вычислительную сеть, систему видеонаблюдения, соединяемую с видеокамерой через коммутационное устройство, систему телефонной связи, систему телекоммуникационной связи. Данная система позволяет с определенной погрешностью выявлять отдельные мобильные объекты поиска в контролируемых зонах и регистрировать их. Ограничениями данной системы являются ограниченность контролируемых зон (камеры установлены неподвижно и имеют ограниченный угол обзора), статичность камер. Кроме того, данная система не предусматривает возможности высокоточного автоматизированного распознавания ситуации в зоне контроля. Отсутствует дублирование работы отдельных элементов системы, поэтому точность распознавания ограничена. Отсутствует возможность сохранения в памяти системы изображения повышенной четкости для последующего анализа.

[6]

Известна из патента РФ 2196358 система сигнализации и управления транспортным парком, контроля за состоянием подвижных объектов и их перемещением в реальном масштабе времени, охраны стационарных и мобильных объектов, а также мониторинга окружающей среды. Система содержит выполненные с возможностью связи диспетчерский центр и аппаратуру потребителя, содержащую бортовой компьютер, интерфейс, процессор, аналого-цифровой преобразователь видеосигналов, запоминающее устройство, цифроаналоговый преобразователь аудиосигналов, преобразователь видеосигналов, группу охранных датчиков, клавиатуру, модем, телекамеру видеоконтроля, аудиосистему, телемонитор, блок автономного питания. Диспетчерский пункт включает компьютер дифференциальной коррекции координат наблюдаемых объектов, сервер контроля охраняемых объектов, компьютеры средств связи, компьютерную сеть, модемы, трансиверы с антеннами, блок питания, задающие генераторы, звуковой сигнализатор, исполнительный блок дверей, сигнальные габаритные лампы. Данная система позволяет контролировать охраняемую территорию за счет получения и обработки сигнала с датчиков и видеокамеры. Возможно дублирование работы датчиков и видеокамеры для повышения точности распознавания. Не предусмотрено сохранение и анализ изображений охраняемых объектов повышенной точности.

[7]

Известна из патента РФ 21222239 система контроля за состоянием подвижных объектов и их перемещением. Система содержит диспетчерский центр и аппаратуру потребителя, включающую навигационный приемник с антенной, трансивер с антенной, клавиатуру и модем, связанный с трансивером, телекамеру видеоконтроля, аудиосистему и телемонитор, в систему входит бортовой компьютер, связанный с процессором, аналого-цифровым преобразователем видеосигналов, цифроаналоговыми преобразователями аудиосигналов и видеосигналов, запоминающее устройство, телекамеру видеоконтроля и телемонитор. К интерфейсу бортового компьютера подключены также охранные датчики. Диспетчерский центр связан с аппаратурой потребителя через антенну трансивера посредством радиоканала. Питающие входы навигационного приемника, модема, трансивера, бортового компьютера, телекамеры видеоконтроля, телемонитора и охранных датчиков подключены к блоку автономного питания. Данная система позволяет контролировать мобильные объекты, ее схемное выполнение позволяет оперативно перепрограммировать и изменять порядок функционирования блоков и всей системы в зависимости от выполняемых ею функций. Система имеет сложную конфигурацию, что обуславливает достаточно высокую стоимость и эксплуатационные расходы. Не предусмотрено сохранение и анализ изображений охраняемых объектов повышенной точности.

[8]

Известна система по патенту США 5504482, которая содержит диспетчерский центр и аппаратуру потребителя, включающую навигационный приемник с антенной, трансивер с антенной, видеокамеру контроля, аудиосистему и телемонитор, в систему входит бортовой компьютер. Система также имеет достаточно сложную конфигурацию и не позволяет получать, хранить и анализировать изображения повышенной точности.

[9]

Наиболее близкой к заявленному техническому решению является известная из патента РФ 2175920 система безопасности, навигации и мониторинга транспортных средств, содержащая аппаратуру потребителя, включающую в себя навигационный приемник с антенной, работающий по сигналам спутниковых радионавигационных систем и обеспечивающий, в том числе, геодезическую точность определения координат объектов, трансивер с антенной, реализующий сотовую, транкинговую либо спутниковую радиосвязь с диспетчерским центром, выполненным с возможностями дифференциальной коррекции координат контролируемых объектов и отображения их местоположения и идентификационных параметров на электронной карте-схеме местности, бортовой компьютер, содержащий интерфейс, процессор, запоминающее устройство, аналого-цифровой преобразователь и два цифроаналоговых преобразователя, выходы которых подключены соответственно к входу аудиосистемы и к первому входу телемонитора, второй вход которого подключен к первому выходу телекамеры видеоконтроля, второй выход которой соединен через аналого-цифровой преобразователь с соответствующим входом интерфейса, один из выходов которого связан с управляющим входом навигационного приемника, выход которого подключен к одному из входов интерфейса, а также набор охранных датчиков, в качестве которых используются да тчики несанкционированного воздействия на охраняемый объект, датчики контроля параметров окружающей среды и технических параметров охраняемого объекта, модем, реализующий в зависимости от типа используемой радиосвязи протоколы обмена данными сотовой, транкинговой либо спутниковой сетей связи, первый вход которого соединен с одним из выходов интерфейса, а первый выход - с входом трансивера, второй вход модема связан с соответствующим выходом интерфейса, а второй выход - с входом трансивера, а также блок ручного ввода данных, выход которого связан с соответствующим входом интерфейса, один из выходов которого связан с процессором, а другой выход - с запоминающим устройством, при этом выходы процессора и запоминающего устройства подключены к соответствующим входам интерфейса, отличающаяся тем, что в состав аппаратуры потребителя введены дополнительно абонентский приемник, входящий в состав пейджинговой сети связи общего пользования, транспондерная карточка, блок дистанционного считывания с антенной, выполненный с возможностью считывания идентификационного кода, зафиксированного в цифровой памяти транспондерной карточки, на поверхности которой нанесены защищенные специальным покрытием одноразового применения, например краской, секретные коды, становящиеся визуально доступными только при стирании защитного покрытия, а также индикатор режима работы охранных датчиков, первый вход которого связан с первым выходом блока дистанционного считывания, и узел блокирования функциональных органов охраняемого объекта, при этом входящий в состав бортового компьютера интерфейс выполнен с двумя дополнительными входами и с двумя дополнительными выходами, первый дополнительный выход интерфейса соединен с входом узла блокирования функциональных органов охраняемого объекта, второй дополнительный выход интерфейса подключен ко второму входу индикатора режима работы охранных датчиков, первый дополнительный вход интерфейса соединен со вторым выходом блока дистанционного считывания, а второй дополнительный вход - с выходом абонентского приемника, вход которого соединен по радиоэфиру с операторским блоком передачи данных, входящим в состав пейджинговой сети связи общего пользования.

[10]

В данной системе в отличие от описанных выше известных систем предусмотрены технические средства эффективного противодействия несанкционированному воздействию на охраняемый объект, в частности краже или угону автомобиля. Кроме того, обеспечивается возможность опознавания системой владельца объекта по типу "свой-чужой" и блокирования движения автомобиля в случае несанкционированного проникновения в него злоумышленника. Одновременно сохраняются все другие функциональные возможности, присущие системам подобного типа, а именно высокоточная навигация объекта, в том числе видеонаблюдение, дистанционное тестирование аппаратуры, мониторинг окружающей среды и внутреннего состояния объекта. Предложенная система характеризуется расширенными функциональными возможностями, что предопределяет более широкую область ее практического использования.

[11]

Вместе с тем, данная система, использующая аппаратуру спутникового наведения, характеризуется значительной сложностью конфигурации, что обуславливает ее достаточно высокую стоимость и высокие эксплуатационные расходы. Положительный эффект достигнут за счет применения большого числа функциональных элементов, работающих последовательно в функциональной цепочке. Это приводит к тому, что ухудшаются показатели наработки системы на отказ, что в системах обеспечения безопасности крайне нежелательно. Система не позволяет получать изображения охраняемых объектов повышенной четкости и увеличенные изображения для сохранения в памяти и автоматизированного анализа для принятия решения.

[12]

Сущность изобретения

[13]

В основу настоящего изобретения положена техническая задача создать такую систему автоматизированного обеспечения безопасности и мониторинга мобильных объектов, которая обеспечивала бы высокоточное наблюдение за мобильными объектами на охраняемой территории с обеспечением дублирования и возможности дополнительного опознавания системой объекта и/или его владельца по принципу "свой-чужой" и которая помимо распознавания, слежения и регистрации объектов обеспечивала бы выполнение дополнительно следующих функций: распознавание и классификацию объектов по определенным признакам в различных условиях освещенности, оперативный поиск объекта по задаваемым параметрам, распознавание ситуации по действиям объектов, с возможностью слежения за такими объектами, сохранения в памяти системы изображения, пригодного для последующего анализа и выдачи сигнала тревоги.

[14]

Указанная техническая задача решена за счет того, что предложена система обеспечения безопасности и мониторинга мобильных объектов, содержащая, по меньшей мере, одну видеокамеру, приспособленную для получения видеосигнала цели, по меньшей мере, одно вычислительное устройство с памятью и, по меньшей мере, одно устройство приема/передачи сигнала, связанные посредством локальной вычислительной сети, и, по меньшей мере, один транспондер, хранящий и способный передавать на устройство приема/передачи сигнала собственный индивидуальный идентификационный сигнал, соответствующий конкретному охраняемому мобильному объекту или его надлежащему владельцу, причем устройство приема/передачи сигнала приспособлено для приема указанного идентификационного сигнала, которая согласно изобретению дополнительно содержит, по меньшей мере, одно устройство распознавания цели, соединенное через аппаратно-программный интерфейс с видеокамерой и устройством приема/передачи сигнала, по меньшей мере, одну реализованную на вычислительном устройстве с памятью базу данных с заранее записанными в нее описаниями индивидуальных параметров мобильных объектов, подлежащих мониторингу, идентификационными сигналами, отвечающими соответствующим мобильным объектам, подлежащим мониторингу, и описаниями тревожных ситуаций, причем база данных выполнена с возможностью доступа к ней с видеокамеры и с устройства распознавания цели и записи в нее новой информации, получаемой с видеокамеры, по меньшей мере, одну подвижную видеокамеру, выполненную с возможностью наведения на цель в зависимости от получаемого от устройства распознавания цели управляющего сигнала, и, по меньшей мере, один терминал наблюдения, приспособленный для информирования оператора и получения от него управляющих команд, причем устройство распознавания цели приспособлено для анализа сигналов, поступающих от видеокамеры и от устройства приема/передачи сигнала с возможностью на их основе распознавания тревожной ситуации и определения цели в соответствии с заданным алгоритмом с использованием хранящейся в базе данных информации, и приспособлено для выдачи соответствующего управляющего сигнала на подвижную видеокамеру для наведения на цель и сигнала тревоги на терминал наблюдения, а подвижная видеокамера выполнена с возможностью получения видеосигнала с изображением цели, пригодного для дальнейшего анализа, и его передачи для хранения в базу данных.

[15]

Предпочтительно, предложенная система дополнительно содержит множество транспондеров с собственными идентификационными сигналами, причем общее число транспондеров в системе соответствует количеству мобильных объектов, подлежащих мониторингу, и каждый собственный идентификационный сигнал транспондера отвечает определенному мобильному объекту или его надлежащему владельцу. Устройство распознавания цели реализовано программно в вычислительном устройстве с памятью, а индивидуальные параметры мобильных объектов выбраны из группы, включающей: отношение длины и ширины, форму, цвет, номерной регистрационный знак.

[16]

Преимущественно, подвижная видеокамера выполнена с возможностью поворота в вертикальной и горизонтальной плоскости и/или изменения фокусного расстояния и/или изменения диафрагмы и/или настройки на фокус для обеспечения наведения на цель. Система дополнительно содержит датчик обнаружения цели, связанный с устройством распознавания цели, причем устройство распознавания цели приспособлено для анализа сигнала от датчика обнаружения цели. В качестве датчика обнаружения цели использовано устройство, выбранное из группы, включающей: инфракрасные камеры, термовизорные камеры, радиолокационные устройства, датчик перемещения. Устройство распознавания цели выполнено с возможностью вычислять вектор скорости, текущую координату нахождения цели, формировать и передавать на подвижную видеокамеру соответствующий управляющий сигнал для обеспечения наведения подвижной видеокамеры на цель. Устройство распознавания цели выполнено с возможностью передачи управляющего сигнала на подвижную видеокамеру по последовательному каналу связи.

[17]

Предпочтительно, предложенная система характеризуется тем, что заданный алгоритм обеспечивает анализ видеосигнала от видеокамеры и идентификационного сигнала, полученного устройством приема/передачи сигнала, следующим образом: по видеосигналу выбирают множество индивидуальных параметров мобильного объекта, по полученному устройством приема/передачи сигнала от транспондера индивидуальному идентификационному сигналу в базе данных ищут множество индивидуальных параметров, соответствующих мобильному объекту с указанным индивидуальным идентификационным сигналом, сравнивают найденные в базе и данных индивидуальные параметры с множеством индивидуальных параметров, выбранных по видеосигналу, в случае их несовпадения формируют соответствующий сигнал тревоги. Заданный алгоритм обеспечивает также анализ видеосигнала от видеокамеры в соответствии с описанием тревожной ситуации, выбранной из группы, включающей яркость, размер, длительность нахождения в контролируемой зоне, скорость и направление перемещения, количество людей в мобильном объекте

[18]

Предпочтительно, в качестве вычислительного устройства с памятью использован персональный компьютер.

[19]

Подробное описание изобретения

[20]

Настоящее изобретение будет понятно специалисту из приведенного ниже более подробного описания настоящего изобретения, а также конкретного неограничивающего примера его реализации со ссылками на фигуры чертежей, на которых:

[21]

- фиг.1 изображает общую функциональную схему конкретного примера системы обеспечения безопасности согласно настоящему изобретению;

[22]

- фиг.2 изображает схематически систему обеспечения безопасности согласно конкретному неограничивающему примеру реализации настоящего изобретения.

[23]

Однотипные устройства обозначены на фигурах чертежа одинаковыми позициями.

[24]

На фиг.1 представлена общая функциональная схема конкретного примера системы обеспечения безопасности согласно настоящему изобретению. Система состоит из взаимосвязанных устройств, соединенных электрически или по радиоканалу по правилам, известным в данной области техники. Отдельные устройства, выполняющие сходные функции в системе, для удобства анализа на схеме объединены в логические блоки. Данное разбиение на логические блоки является условным и сделано для удобства анализа системы и не ограничивает сущность изобретения.

[25]

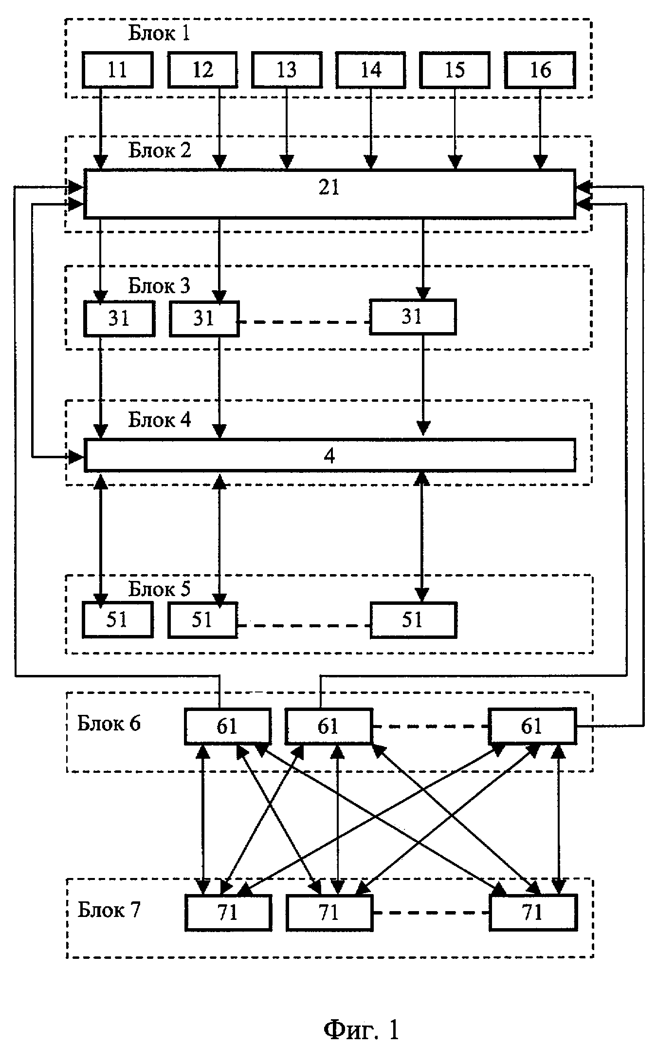
Блок анализа фона и обнаружения целей обозначен на фиг.1 позицией 1. Блок 1 представляет собой набор видеокамер и иных устройств, предназначенных для обнаружения целей, использующих для этого различные физические принципы. В качестве таких устройств могут использоваться: цветные видеокамеры 11 (например, WAT-220, представлена на российском рынке фирмой Watec), черно-белые видеокамеры 12 (например, WAT-902H, фирмы Watec), инфракрасные камеры 13 (например, TVC200ML, ф. ЦНИИ «Электрон»), термовизорные камеры 14 (например, ТВ-04 Кст, ф. НТПП "НИИЦТП"), радиолокационные устройства 15 (например, РЛС «ORWELL», ф. ГУП НПЦ «ЭЛВИС»), датчики 16 движения и определения координаты нахождения цели (например, типа 525D, представлены на российском рынке фирмой Paradox). Блок 1 может включать различное количество и комбинацию перечисленных выше устройств в зависимости от конкретных потребностей пользователей системы, а также от условий эксплуатации. В простейшем варианте он включает одну черно-белую видеокамеру. Основной функцией устройств блока 1 является получение видеосигнала с изображением мобильного объекта, попавшего в охраняемую зону (в частности, в зону контроля видеокамеры), и иных сигналов, фиксирующих появление мобильных объектов в охраняемой зоне. Устройства могут устанавливаться с обеспечением дублирования работы друг друга и взаимного перекрытия зон контроля для обеспечения повышенной надежности работы системы. Устройства блока 1 электрически связаны через интерфейс (например, типа «композитный видеосигнал» или Ethernet) с блоком 2 распознавания целей, определения координат, параметров целей и анализа ситуаций. Устройства Блока 1 приспособлены передавать получаемые видеосигналы с изображением мобильного объекта, а также иные сигналы распознавания цели (например, сигнал срабатывания датчика) на Блок 2. Блок 2 содержит устройство 21 распознавания цели, которое предназначено для определения координат и параметров целей, анализа ситуаций, которое может быть реализовано в виде специализированного вычислительного устройства (например, промышленного компьютера на основе модулей стандарта РС-104 с использованием процессора «Мультикор») или на базе универсального персонального компьютера (например, с процессором «Интел Пентиум»), снабженного программным обеспечением, позволяющим получать и приводить в цифровую форму информацию от устройств анализа фона и обнаружения целей; запоминать и отслеживать состояние фона, в том числе его изменения (время суток, состояние атмосферы - ясно, облачно, осадки, время года и состояние покрова); вычислять вектор скорости, текущую координату нахождения цели; сохранять в запоминающем устройстве в базе данных распознанные параметры цели. Данное программное обеспечение является типовым в данной области (например, на базе ОС «Windows»). Блок 2 распознавания целей, определения координат, параметров целей и анализа ситуаций соединен электрически через интерфейс (например, RS-485) с Блоком 3, который включает одну или более подвижных управляемых видеокамер. Блок 2 приспособлен за счет использования программного обеспечения, например типового в данной области, для выдачи управляющих команд и передачи координаты и вектор скорости цели на Блок 3. Блок 2 также выполнен с возможностью управления подвижными видеокамерами 31 Блока 3 по последовательному каналу связи за счет применения, например, типового программного обеспечения. Блок 2 также приспособлен для анализа сигналов, получаемых от устройств Блока 1 в соответствии с заданным алгоритмом с использованием информации, хранящейся в Базе данных Блока 4, с которым Блок 2 соединен. Блок 2 приспособлен для выдачи в зависимости от распознаваемой ситуации сигнала тревоги на терминалы 51 наблюдения, анализа результатов и управления системой. Блок 2 выполнен с возможностью выдачи сигнала тревоги на терминалы 51 и сигнала управления видеокамерами 31. Блок 3 может содержать различное число подвижных управляемых видеокамер 31 различного типа (например, WV-CS854 ф. Panasonic), приспособленных для выполнения следующих функций в соответствии с полученной от Блока 2 управляющей командой: поворот в вертикальной и горизонтальной плоскости; изменение фокусного расстояния; настройка на фокус; изменение диафрагмы или скорости работы затвора. Подвижные видеокамеры Блока 3 приспособлены для получения детального укрупненного изображения цели при наведении на нее, используемого для дополнительного распознавания параметров цели или детального сопровождения цели по требованию оператора системы. Подвижные видеокамеры Блока 3 связаны через интерфейс (например, RS-485) с блоком 4, представляющим собой вычислительную машину с запоминающим устройством (например, персональный компьютер). В данном запоминающем устройстве создана база данных с возможностью хранения данных видеоархива. В качестве базы данных может быть использована типовая база данных или база данных, специально созданная по известным правилам специалистам в области баз данных. База данных Блока 4 выполнена с возможностью автоматического пополнения и хранения информации обо всех распознанных целях, распознанных ситуациях, параметрах цели, времени возникновения и пропадания целей, фотографии целей, фрагментов видеоархива, отражающих все действия цели при ее нахождении в зоне контроля видеосистемы. Укрупненные изображения, полученные подвижными видеокамерами Блока 3 в виде оцифрованных фотографий, могут храниться в базе данных Блока 4. Данные фотографии могут быть использованы в дальнейшем для изучения ситуации специалистом и/или оператором. Блок 4 электрически и логически через типовой программный интерфейс связан с Блоком 2 распознавания цели, предназначенным для определения координат, параметров целей и анализа ситуаций. Блок 4 и Блок 2 связаны с обеспечением возможности передачи данных друг другу. Блок 4 также связан электрически с Блоком 5 терминалов наблюдения, предназначенным для анализа результатов и управления системой и включающим один или несколько терминалов 51 наблюдения. Терминалы 51 наблюдения представляют собой один или несколько персональных компьютеров, объединенных сетями связи. Терминалы 51 наблюдения, предназначенные для анализа результатов и управления системой, выполнены, приспособлены для обеспечения оператора возможностью наблюдать за происходящим в зоне контроля системы (зона наблюдения устройств анализа фона и обнаружения целей) и управления системой. Это достигается за счет использования, например, типового монитора (цветного или черно-белого) и типового программного обеспечения. Терминалы 51 выполнены с возможностью наблюдения ситуации на экране и доступа оператора к управлению системой через клавиатуру или другой специализированный интерфейс типа человек-компьютер (например, джойстик).

[26]

В зависимости от стоящих перед системой по настоящему изобретению задач можно выбрать различную конкретную конфигурацию системы. В частности, логические блоки 2, 4 и 5 системы могут быть реализованы на различных аппаратных средствах. Блоки 2, 4 и 5 могут быть реализованы на одном специализированном вычислительном устройстве (например, промышленного компьютера на основе модулей стандарта PC-104 с использованием процессора «Мультикор») или на одном персональном компьютере (например, на базе процессора «Интел Пентиум») в виде специально запрограммированных областей памяти. Блоки 2, 4 и 5 могут быть выполнены также на базе распределенной сетевой системы, представляющей собой комбинацию специализированных вычислительных устройств и персональных компьютеров (с мониторами или без мониторов).

[27]

Блок 6 состоит из одного или нескольких устройств приема/передачи сигнала, показанных на фигуре 1 позицией 6. Устройства 61 приема/передачи сигнала приспособлены для выдачи сигнала запроса на транспондеры и получения сигналов ответа от транспондеров, обозначенных на фиг.1 позицией 71, объединенных в условный блок 7. Транспондерами оборудованы мобильные объекты, подлежащие мониторингу. Транспондеры могут устанавливаться непосредственно на мобильных объектах (стационарно) или могут храниться у надлежащих пользователей данных мобильных объектов (водителей). Транспондеры 71 приспособлены для приема сигнала запроса и передачи собственного индивидуального идентификационного сигнала (или кода) на одно или несколько устройств 61 приема/передачи сигнала. Собственный индивидуальный идентификационный сигнал (код) заранее записан в транспондер. Устройство 61 приема/передачи сигнала приспособлено принимать индивидуальные сигналы (коды), передаваемые транспондерами.

[28]

Транспондеры (один или одновременно несколько), попадая в зону действия антенны устройства приема/передачи сигнала, получают запрос и выдают каждый свой индивидуальный идентификационный сигнал (код), при этом делая это одновременно и один раз. Повторная выдача индивидуального идентификационного кода транспондера возможна после выхода транспондера из поля действия антенны устройств 61. Устройство 61 приема/передачи сигнала принимает индивидуальные идентификационный коды всех транспондеров и передает их в блок 2, а именно в устройство распознавания цели (базу данных). При этом количество одновременно считываемых кодов транспондеров, расстояние на котором происходит считывание и время за которое происходит считывание зависят от конкретных типов устройств 61 приема/передачи сигнала и транспондеров.

[29]

В устройстве распознавания цели Блока 2 с использованием информации, хранящейся в базе данных, происходит сравнение всех получаемых индивидуальных идентификационных кодов транспондеров с имеющимися в базе данных. Из базы данных выбираются параметры целей, соответствующие индивидуальным идентификационным кодам транспондеров. Эти характеристики или параметры цели сравниваются с параметрами цели, получаемыми по видеосигналам, получаемым от видеокамер Блока 1 и Блока 3. Происходит сопоставление параметров целей. В случае несоответствия параметров целей, получаемых от видеокамер Блока 1 и Блока 3, характеристикам целей, соответствующим индивидуальным идентификационным кодам транспондеров, занесенным в базу данных, - система выдает соответствующее сообщение (сигнал тревоги) на терминалы 51 наблюдения Блока 5.

[30]

В качестве устройства 61 приема/передачи сигналов может использоваться, например, считыватель карт MX 5375, представленный на российском рынке фирмой HID Corp. или считыватель EL-RFID-S фирмы ЭЛВИИС или др. В качестве транспондера может использоваться карта IQ1431 фирмы HID Corp. или транспондер EL-RFID-T фирмы ЭЛВИИС и др.

[31]

В общем случае настоящее изобретение охватывает различные комбинации и варианты аппаратно-программной реализации устройств 21 распознавания цели, терминалов 51 наблюдения, устройств 61 приема/передачи сигналов и транспондеров 71. Конкретная аппаратно-программная реализация выбирается, исходя их требований к системе в соответствии с правилами известными специалисту в данной области техники.

[32]

Система обеспечения безопасности и мониторинга мобильных объектов будет понятна специалисту в данной области из приведенного ниже описания работы конкретного неограничивающего примера реализации такой системы, которое ведется со ссылкой на фиг.2 чертежей. Данный пример системы согласно настоящему изобретению приведен для иллюстрации и не ограничивает совокупность существенных признаков настоящего изобретения.

[33]

Система по настоящему конкретному примеру реализации изобретения включает две стационарные видеокамеры 81 типа WAT-220 и одну инфракрасную (ИК) камеру 82 типа TVC200ML в качестве устройств анализа фона и обнаружения целей, универсальный персональный компьютер 84 с процессором «Интел Пентиум», оперативно-запоминающим устройством объемом 256 КБайт и твердым диском объемом 20 Мбайт, с соответствующим типовым программным обеспчением в качестве устройства распознавания цели, предназначенного для определения координат и параметров целей, анализа ситуаций. В памяти данного персонального компьютера размещена база данных, на данном компьютере реализован терминал наблюдения для анализа результатов и управления системой оператором. В систему также входит подвижная управляемая видеокамера 83 типа WV-CS854. Персональный компьютер через аппаратно-программный интерфейс RS-485 соединен с видеокамерами 81, ИК-камерой 82 и подвижной видеокамерой 83. Система также содержит одно устройство 85 приема/передачи сигнала, связанное через аппаратно-программный интерфейс с компьютером 64, и множество (по числу мобильных объектов) транспондеров 86 (на фиг.2 показано 5 транспондеров).

[34]

Работа системы происходит следующим образом. Видеокамеры 81 и ИК-камера 82 формируют изображения двух частей общей видеосцены работы системы. При этом изображения частей видеосцены могут соприкасаться одной стороной (или быть независимы), образуя совокупную видеосцену, на которой функционирует система. ИК-камера 82 может образовывать отдельную видеосцену или формировать совокупное изображение вместе с видеокамерами 81. Такое использование видеокамер позволяет формировать изображение при дневном освещении по изображению видеокамер 81, а ночью по изображению камеры 82. Изображения через интерфейс транслируются в компьютер 84. Компьютер 84 в соответствии с программным обеспечением на базе оперативной системы «Windows» производит преобразование композитного аналогового видеосигнала, получаемого от камер, в цифровую форму и производит обработку изображения, а именно осуществляет следующие действия: производит анализ фона, обнаруживает цели, производит распознавание целей и ситуаций, определяет параметры целей, их координаты, запоминает траектории движения, передает результаты распознавания в базу данных, привязывая события ко времени, записывает видеосигнал в сжатом или необработанном виде в память компьютера в виде файлов, адрес которых располагается в базе данных, таким образом видеосигнал связывается с событиями, информация о которых расположена в базе данных. Координаты целей передаются на подвижную видеокамеру 83 в виде совокупности целеуказаний с учетом прогнозирования нахождения целей в момент наведения камеры на цели. В компьютере 84 проводится также оцифровка видеоизображения подвижной видеокамеры 83, изображение может транслироваться на экран компьютера, один из кадров заносится в базу данных как детальная фотография цели. Изображение передается на обработку с целью распознавания цели и ее параметров по ее детальному изображению с помощью алгоритмов статического распознавания, известных специалисту в данной области. Изображения видеокамер могут проецироваться на план или карту объекта, введенную и запомненную системой в памяти компьютера в виде областей карты, покрытых изображениями видеокамер. Распознанные объекты в виде мнемознаков, соответствующих конкретному типу цели, проецируются в реальном времени на карту или план объекта в соответствии с координатой их нахождения. Оператор при необходимости может замаскировать любую произвольную часть (или произвольное количество частей) изображения или части карты объекта, в то же время внутри маски могут быть сформированы освобожденные от маски области изображения. При этом события, происходящие в области маски, системой игнорируются. На изображении также могут быть сформированы одна или произвольное количество областей, подлежащих повышенной охране, т.н. области аларма. Эти области могут быть произвольной формы, возможно имеющие внутри себя области произвольной формы, не являющейся зоной аларма. Каждой зоне аларма может быть присвоено название, время и дата работы, тип параметра объекта или ситуации. При возникновении факта попадания объекта в зону аларма с заданными параметрами в заданное время или возникновении запрограммированной ситуации система выдаст на терминал оператора системы соответствующее сообщение. Оператор, активизировав аларм, автоматически получает на экран изображение события, вызвавшего аларм, независимо от того происходит оно сейчас или произошло ранее за некоторое время. Возникновение аларма заносится как событие в базу данных. Оператор системы может, при необходимости, дать указание системе следить за выбранной им целью или за несколькими целями, указанными произвольно по изображению, или выбрав несколько объектов с определенными параметрами (например, имеющих самую большую скорость перемещения или всех объектов одного типа или цвета или т.п.). При этом система автоматически поочередно будет выводить на экран изображения целей, передаваемые подвижной видеокамерой 83 в детальном виде. Видеокамера 83 может наводиться для считывания, например, индивидуального номерного знака мобильного объекта, подлежащего мониторингу.

[35]

Оператор может обучить систему распознаванию новых типов целей. Для этого он на изображении многократно указывает на изображение конкретной цели и вводит его название. При этом происходит обучение системы распознаванию конкретной новой цели.

[36]

Одновременно с этим транспондеры 86, которыми оборудованы мобильные объекты, подлежащие мониторингу, попадая в зону действия антенны устройства 85 приема/передачи сигнала, принимают от него сигнал-запрос и передают в ответ свои индивидуальные идентификационные коды, которые считываются устройством 85 и передаются на компьютер 68. В компьютере 64 происходит выборка из базы данных параметров целей, соответствующих индивидуальному идентификационному коду, полученному от транспондера. Происходит сравнение параметров целей, выбранных из базы данных на соответствие параметрам целей, полученным при распознавании изображения целей, получаемых от видеокамер 81, 82 и 83. В случае обнаружения несоответствия выдается сообщение (сигнал тревоги) на монитор компьютера 84.

[37]

Промышленная применимость

[38]

Система согласно настоящему изобретению предназначена, главным образом, для использования в системах безопасности и мониторинга. Система может быть реализована как на базе специализированных устройств (видеокамер высокого разрешения, специализированных радиолокационных устройств, датчиков перемещения и вычислительных комплексов), так и на базе типовых телевизионных камер и компьютеров общего назначения. В зависимости от комплектации системы, а также от обеспечения дублирования работы отдельных устройств можно добиваться требуемой надежности и уровня контроля за мобильными объектами, находящимися на охраняемой территории. Использование специализированного оборудования и обеспечение дублирования повышает качество и надежность работы и приводит к увеличению стоимости системы.

[39]

Система обеспечения безопасности и мониторинга мобильных объектов согласно настоящему изобретению позволяет эффективно осуществлять автоматизированный мониторинг мобильных объектов на охраняемой территории при различных погодных условиях и времени суток с высокой степенью надежности, распознавать запрограммированные тревожные ситуации, выдавать сигналы тревоги и фиксировать тревожную ситуацию в виде видеозаписи, пригодной для дальнейшего анализа специалистом.

Как компенсировать расходы
на инновационную разработку
Похожие патенты