Использование: в области электротехники. Технический результат – повышение точности разграничения режимов повреждения трансформатора и альтернативных им режимов. Согласно способу релейной защиты трансформатора осуществляют наблюдение токов и напряжений на зажимах его обмоток, преобразование наблюдаемых величин в двумерные сигналы, обучение релейной защиты от первой имитационной модели трансформатора, воспроизводящей режимы короткого замыкания в его обмотках, от второй имитационной модели, воспроизводящей режимы насыщения магнитопровода трансформатора, и от третьей имитационной модели, воспроизводящей режимы внешней сети, раздельного отображения множеств режимов первой, второй и третьей имитационных моделей в виде соответственно первой, второй и третьей областей на плоскостях двумерных сигналов. Производят срабатывание прошедшей обучение защиты наблюдаемого трансформатора, если по меньшей мере один замер отображается в соответствующей первой области, но при этом не каждый двумерный сигнал отображается в соответствующей второй или третьей области, и при формировании двумерных сигналов используют напряжения намагничивания обмоток, которые в свою очередь формируют в передающих моделях обмоток, где преобразуют ток и напряжение на зажимах каждой обмотки в соответствующее напряжение намагничивания. 1 з.п. ф-лы, 24 ил.
1. Способ релейной защиты трансформатора путем использования его моделей, наблюдения токов и напряжений на зажимах его обмоток, преобразования наблюдаемых величин в двумерные сигналы, обучения релейной защиты от первой имитационной модели трансформатора, воспроизводящей режимы короткого замыкания в его обмотках, от второй имитационной модели, воспроизводящей режимы насыщения магнитопровода трансформатора, и от третьей имитационной модели, воспроизводящей режимы внешней сети, раздельного отображения множеств режимов первой, второй и третьей имитационных моделей в виде соответственно первой, второй и третьей областей на плоскостях двумерных сигналов, отличающийся тем, что производят срабатывание прошедшей обучение защиты наблюдаемого трансформатора, если по меньшей мере один замер отображается в соответствующей первой области, но при этом не каждый двумерный сигнал отображается в соответствующей второй или третьей области, и при формировании двумерных сигналов используют напряжения намагничивания обмоток, которые в свою очередь формируют в передающих моделях обмоток, где преобразуют ток и напряжение на зажимах каждой обмотки в соответствующее напряжение намагничивания. 2. Способ по п. 1, отличающийся тем, что формируют основной двумерный сигнал и дополнительные двумерные сигналы, координаты основного двумерного сигнала определяют по выражениям где iд(t) - дифференциальный ток трансформатора, uμ1(t) - напряжение намагничивания первичной обмотки, Δt - время наблюдения протекающего процесса, а координаты дополнительных двумерных сигналов определяются по выражениям где uμq(t) - напряжение намагничивания q-й обмотки, q=2, 3, …



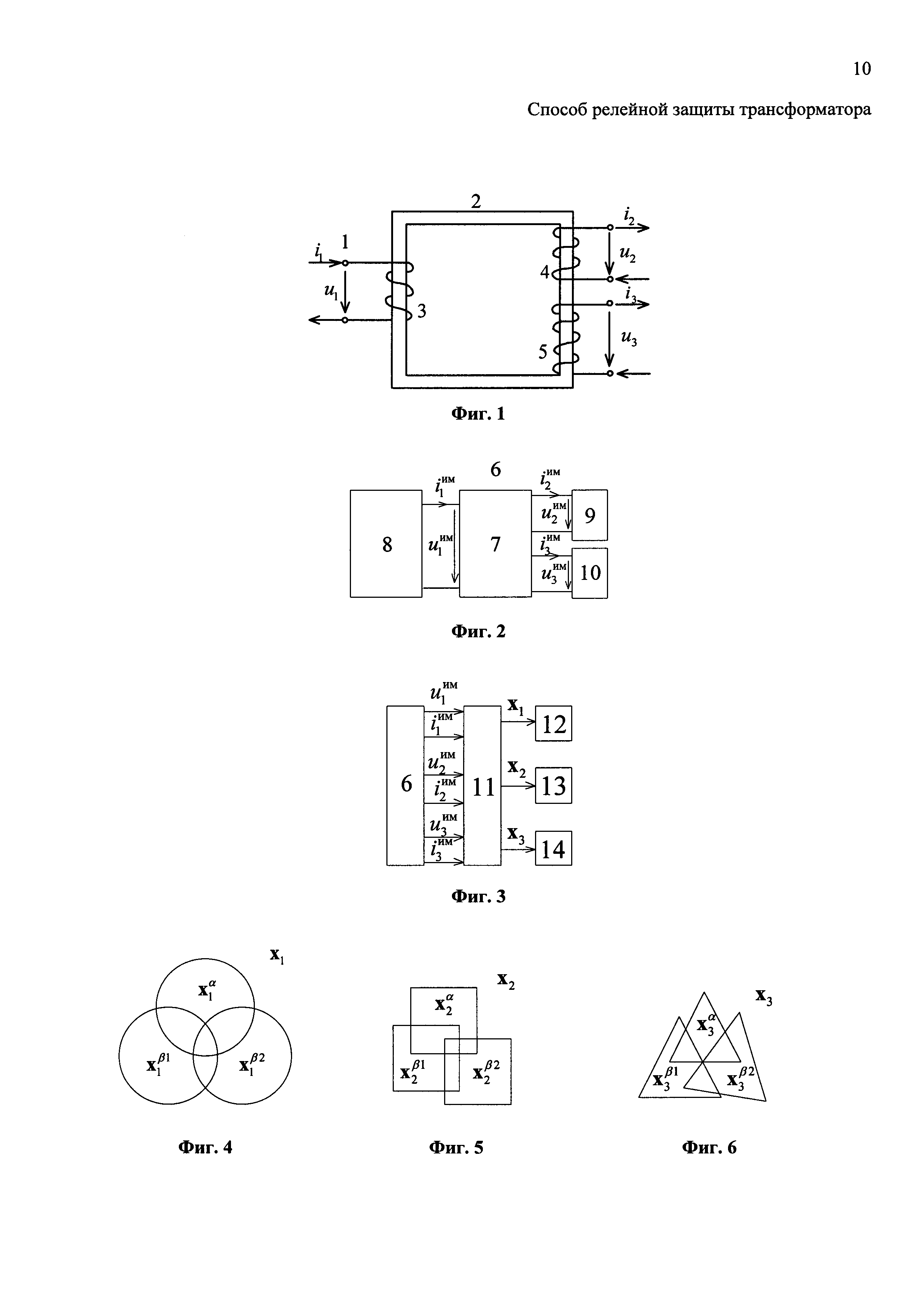
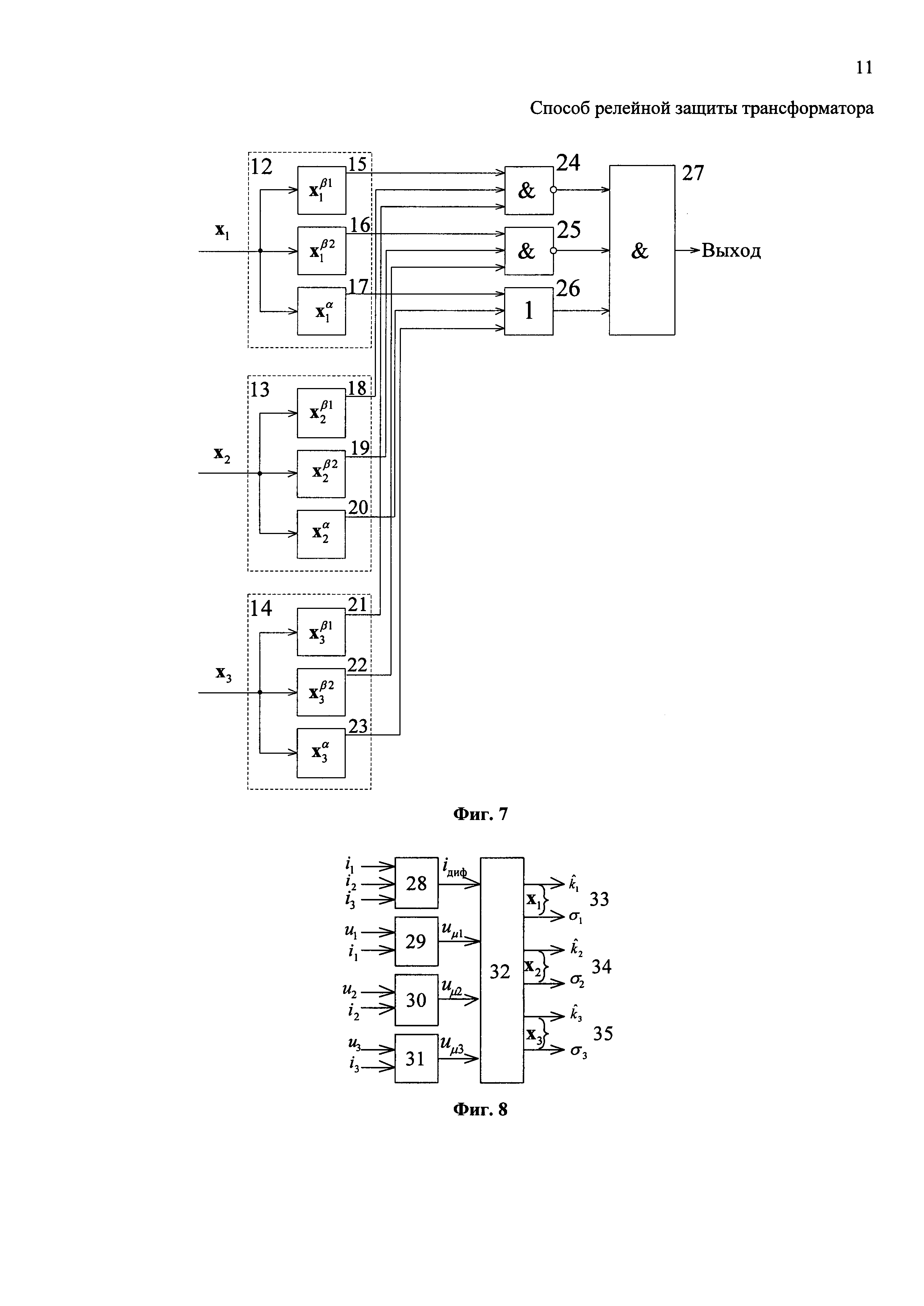
Изобретение относится к электроэнергетике, а именно к релейной защите силовых трансформаторов. Ориентировано на реализацию в микропроцессорных терминалах релейной защиты. Хорошо известно, что полноценная защита трансформатора возможна при условии доступности информации как о токах, так и о напряжениях на зажимах его обмоток [1]. При таком информационном обеспечении трансформатор представляет собой полностью наблюдаемый объект, и его защита может быть выполнена обучаемой. Общие аспекты обучения релейной защиты представлены в [2], а технические в [3-7]. Конкретные приложения относятся по преимуществу к линиям электропередачи [3, 4, 6, 7]. Менее зависимо от типа энергообъекта техническое решение [5]. Релейная защита обучается с учителями - имитационными моделями защищаемого объекта, в данном случае - трансформатора как элемента электрической системы. Имитационные модели воспроизводят режимы реального объекта, которые подразделяются на контролируемые (α-режимы) и альтернативные (β-режимы). В отличие от объектов с линейными элементами, скажем линий электропередачи, трансформатор обладает нелинейной магнитной системой, вследствие чего происходит физически обусловленная дифференциация β-режимов. Они разделяются на две группы. Первая - броски намагничивающего тока вследствие насыщения магнитопровода (режимы β1), вторая - внешние замыкания в прилегающей сети (β2). Сюда же следует отнести и нормальные режимы работы электрической системы, в которой находится защищаемый трансформатор. Цель обучения - гарантировать несрабатывание в β-режимах и обеспечить физически достижимую чувствительность к α-режимам. Особую проблему представляет отстройка от бросков намагничивающего тока [8]. Не менее сложная проблема - распознавание замыкания в малом числе витков обмотки трансформатора. В прототипе [5] реализована основополагающая идея разграничения β-режимов по различным типам, иначе говоря, выделения однотипных β-режимов в собственные множества, воспроизводимые соответствующими имитационными моделями. Применительно к трансформатору данный принцип воплощается некоторой совокупностью технических признаков. К ним относится преобразование наблюдаемых на зажимах обмоток токов и напряжений в двумерные сигналы (замеры) и обучение релейной защиты от трех разнотипных имитационных моделей. Первая модель воспроизводит внутренние повреждения трансформатора (α-режимы), вторая - броски намагничивающего тока (режимы β1), третья - внешние режимы (β2). Каждый двумерный сигнал отображается на своей комплексной плоскости, а некоторый режим, воспроизводимый какой-либо из трех имитационных моделей, отобразится точками на плоскостях всех замеров, по одной точке на каждой плоскости. Отображения однотипных режимов образуют на плоскостях области существования этих режимов. Итогом обучения релейной защиты трансформатора становятся по три области на каждой из плоскостей замеров. Эти отображения всех возможных α- и β-режимов; последние представлены раздельными β1- и β2-областями. Прототип оставляет без ответа некоторые вопросы, возникающие при реализации. Не конкретизированы замеры, наиболее эффективные для трансформаторов. Предполагается, что процедура обучения защиты не завершается построением областей отображения α- и β-режимов. За этим следует определение на каждой плоскости единой области срабатывания, что существенно отягощает процесс обучения. Цель изобретения - расширение функциональных возможностей способа релейной защиты на основе ее обучения от имитационных моделей конкретного защищаемого объекта, а именно трансформатора. Поставленная цель достигается в первую очередь благодаря применению передающих моделей обмоток трансформатора. Передающие модели принципиально отличаются от имитационных. Имитационные воспроизводят тот или иной режим контролируемого объекта. Передающие модели выполняют функцию преобразования наблюдаемых токов и напряжений, присущую многополюсникам в режиме обратной передачи сигналов (со входа на выход). Для каждой обмотки трансформатора составляют собственную передающую модель. Токи и напряжения на входе модели известны, это результаты наблюдения. Принципиально важно, что выходной величиной каждой передающей модели является напряжение намагничивания соответствующей обмотки трансформатора. Существенно, что замеры релейной защиты формируют с использованием выходных напряжений передающих моделей. Наконец, условия срабатывания защиты. Областям отображения режимов имитационных моделей на плоскостях замеров, полученным на этапе обучения защиты, отводятся затем самостоятельные роли. Срабатывание защиты разрешают при выполнении трех условий. Первое: какой-либо из замеров отображается в своей первой области (α-область). Второе и третье - не все замеры отображаются в соответствующих вторых и третьих областях. В дополнительном пункте формулы изобретения конкретизируются замеры, формируемые защитой трансформатора. Выделен один основной двумерный сигнал и несколько дополнительных по числу вторичных обмоток. Двумерные сигналы формируют в координатах «оценка - невязка», определяемых на окне наблюдения наблюдаемого процесса. Основной замер получают в результате преобразования напряжения намагничивания первичной обмотки и дифференциального тока. То же напряжение используют и для получения дополнительных замеров, но в сочетании не с током, а с напряжениями намагничивания каждой из вторичных обмоток. На фиг. 1 изображен однофазный трехобмоточный трансформатор. На фиг. 2 - общая имитационная модель электрической системы, содержащей частные модели защищаемого трансформатора и тех сетей, к которым подключены его обмотки. На фиг. 3 - схема подключения терминала релейной защиты на этапе обучения к имитационной модели. На фиг. 4-6 - области отображения трех замеров на плоскостях каждого из них в различных группах режимов имитационной модели. На фиг. 7 показаны исполнительные модули структурной схемы релейной защиты, реализующей предлагаемый способ, а на фиг. 8 - входной модуль, формирующий замеры, на которые реагируют исполнительные модули. На фиг. 9-11 приведены простейшие передающие модели трех обмоток трансформатора. Фиг. 12-24 иллюстрируют работу защиты по предлагаемому способу. На фиг. 12 показана идеализированная кусочно-линейная характеристика намагничивания стали сердечника трансформатора. На фиг. 13-15 - области существования противостоящих друг другу режимов трансформатора в составе электрической сети. На фиг. 16-24 иллюстрируется действие защиты в каждом из трех типов возможных режимов: на фиг. 16-18 - в режиме броска намагничивающего тока (режим β1), на фиг. 19-21 - в режиме внешнего короткого замыкания (режим β2) и на фиг. 22-24 - при повреждении самого трансформатора (α-режим). Трансформатор 1 с магнитопроводом 2 выполнен трехобмоточным: первичная обмотка 3, вторичные - 4 и 5. Токи i1, i2, i3 и напряжения u1, u2, u3 всех обмоток являются входными величинами релейной защиты. Для обучения защиты используется общая имитационная модель 6, включающая в свой состав частные модели: самого трансформатора 7, а также сетей 8-10, с которыми связаны обмотки 3-5. Модель 6 воспроизводит любой из возможных режимов работы трансформатора 1, как и той электрической системы, которая представлена подмоделями 8-10. В зависимости от типа режима модель 6 модифицируется либо как модель повреждений обмоток трансформатора (α-режим), либо как модель броска намагничивающего тока (режим β1), либо как модель внешних замыканий в блоках 8-10 (режим β2). Выходными величинами модели 6 являются токи Структура релейной защиты не зависит от действий, производимых с ее терминалом. Но для пояснения особенностей этапа обучения защиты ее структура на фиг. 3 показана не полностью, указан входной модуль 11 и исполнительные модули 12-14. Детализация блоков 11-14 понадобится в дальнейшем, когда по завершению обучения готовая к эксплуатации защита начнет работать на реальном объекте. В случае однофазного трехобмоточного трансформатора 1 защита формирует три замера - основной x1 и дополнительные x2 и x3. За каждым замером закреплен соответствующий измерительный модуль 12, 13 или 14. В процессе обучения измерительный модуль отображает на своей плоскости области существования режимов каждого из трех подлежащих учету типов. На каждой плоскости в результате обучения появляются по три области. Верхние индексы в принятых обозначениях областей (фиг. 4-6) указывают тип режимов: Структура релейной защиты, прошедшей обучение и подключенной к реальному трансформатору, показана более детально. Исполнительные модули 12-14 состоят каждый из трех подмодулей 15-17, 18-20, 21-23, а каждый из девяти исполнительных подмодулей 15-23 наделен характеристикой срабатывания, одной из девяти характеристик фиг. 4-6, полученных на этапе обучения. Кроме того, указан оконечный каскад защиты в составе элементов И 24, 25, элемента ИЛИ 26 и последнего элемента И 27. Каскад определяет логику срабатывания защиты. Входной модуль защиты 11 состоит из формирователя дифференциального тока 28, передающих моделей 29-31 обмоток 3-5 и вычислительного модуля 32. Блоки 28-31 выдают мгновенные значения своих выходных сигналов iдиф (t), uμ1 (t), uμ2 (t), uμ3 (t), между тем как замеры формируется в виде двухмерных сигналов. Преобразование мгновенных величин, наблюдаемых на интервале Δt, в двумерные сигналы x1, x2, x3 совершается в вычислительном модуле 32 с тремя парами выходных зажимов 33-35. Передающие модели обмоток 29-31 в простейшем случае представляют собой активно-индуктивные цепочки 36-38 и осуществляют передачу тока iq и напряжения uq в напряжение намагничивания где q=1 ,2, 3, Rq - активное сопротивление q-й обмотки, Lqs - ее индуктивность рассеяния. Идеализированные модели упрощают рассмотрение физических основ предлагаемого способа, сохраняя вместе с тем все особенности протекающих процессов. Данное положение касается не только моделей обмоток 36-38, но и характеристики намагничивания стали сердечника B(H). Рабочий участок характеристики 39 принят идеальным, а участки насыщения 40, 41 - линейными; участок 40 имеет описание где B и H - магнитные индукция и напряженность, μ0 - магнитная постоянная, μ - относительная дифференциальная магнитная проницаемость. Характеристики защиты трансформатора 42-48 также представлены в идеализированной форме, причем характеристика 42, 43, 45, 47 ограничивают область блокировки защиты, а 44, 46, 48 - области срабатывания. Предлагаемый способ включает в себя исходный этап обучения защиты трансформатора, за чем следует ее работа на реальном объекте. На этапе обучения задействована имитационная модель 6 в качестве учителя релейной защиты. Что же касается структурной схемы защиты, то в обучении участвуют все ее модули, кроме оконечной логической части 24-27. В процессе обучения имитационная модель 6 варьирует свои параметры в установленных пределах. Каждый заданный набор параметров соответствует одному из возможных режимов работы электрической системы, содержащей трансформатор 1. Имитационная модель 6 выдает токи и напряжения где Вторые элементы двумерных сигналов x - невязки соотношений (3)-(4). Если сигналы формируют на интервале времени t∈(0,t+Δt), то оценки и невязки определяются следующими операциями над сигналами iдиф, uμq, q=1, 2 Физическая сущность сигналов (6)-(9) нуждается в пояснении. Предложим, что трансформатор не поврежден, т.е. находится в одном из режимов, альтернативных повреждению (β-режимы). Тогда с достаточной для распознавания типа режима точностью можно принять аппроксимацию характеристики намагничивания стали сердечника такой, как это показано на фиг. 12. При попадании в область насыщения, где характеристика намагничивания описывается зависимостью (2), индуктивность ветви намагничивания со стороны первичной обмотки определится соотношениями (2), (3) с добавлением к ним еще трех зависимостей. где ψ1 - потокосцепление первичной обмотки, где Lнас - обозначение индуктивности ветви намагничивания в области насыщения. Примем для определенности, что описания (1) передающих моделей обмоток свободны от погрешностей. Тогда в режиме β1, когда неповрежденный трансформатор работает на участке насыщения своей характеристики намагничивания, замеры (6)-(9) примут следующий вид: В режиме внешних коротких замыканий, как и в нагрузочных режимах (режимы β2), трансформатор не насыщается и работает на участке 39 характеристики намагничивания. В идеальной модели ток намагничивания, равный что же касается остальных пяти замеров, то они принимают те же значения (14), (15), что и в режиме β1. Режимы β1 и β2 реальной имитационной модели (6) будут отображаться на плоскостях xq не единственной точкой, как в случае идеальной модели, а областями 42, 43; 45; 47, которые включают в себя упомянутые точки. Заметим, что на плоскости x1 области отображения режимов β1 и β2 не совпадают, что следует из (13), (16). Но на плоскостях x2 и x3 области отображения этих режимов включают в себя одну и ту же центральную точку, в связи с чем области 45 и 47 представлены в виде объединения областей режимов β1 и β2. Области 44, 46, 48 отображения режимов повреждения трансформатора (α-режимы) показаны расположенными в произвольных местах плоскостей xq в стороне от отображений β-режимов. Будучи главным достоинством предлагаемого способа, эта его способность объясняется свойствами передающих моделей обмоток 29-31, как вариант - цепей 36-38. Если трансформатор не поврежден (β-режим), то все передающие модели адекватны соответствующим обмоткам. Но если в какой-либо из обмоток произошло замыкание (α-режим), адекватность нарушается, и напряжение uμ на выходе передающей модели этой обмотки не будет воспроизводить ситуацию на реальном объекте, как это было в β-режимах. Адекватность к β-режимам и неадекватность к α-режимам имеет важные последствия. Области отображения β-режимов локализируются во вполне определенных местах плоскостей замеров, оставляя прочее пространство для отображения α-режимов, как это показано на фиг. 13-15, где α-области 44, 46, 48 отделены от β-областей. Предположим, что релейная защита прошла этап обучения и получила характеристики блокировки 42, 43, 45, 47 и характеристики срабатывания 44, 46. 48. Рассмотрим последовательность операций, совершаемых в процессе работы на реальном объекте. Обработка входных величин i1, i2, i3, u1, u2, u3 совершается входными блоками 28-31 и вычислительными блоком 32, как и на этапе обучения защиты. Сформированные двумерные сигналы xq поступают на исполнительные модули 12-14, которые после обучения выстраивают собственную структуру, состоящую из подмодулей 15-23 с характеристиками 42-48. Дальнейшее поведение релейной защиты зависит от характера наблюдаемого режима трансформатора. Рассмотрим по порядку каждый из трех упомянутых типов. 1. Бросок намагничивающего тока (режима β1). Иллюстрацией служат фиг. 16-18. В этом режиме происходит срабатывание модулей 15, 18 и 21, так как отображения замеров x1, x2, x3 попадают соответственно в области 42, 45, 47. Состояние модулей 16, 17; 19, 20, 22, 23 значения не имеет, потому что сигналы от модулей 15, 18, 21 поступят на элемент И 24, который запретит срабатывание выходному элементу И 27. Защита будет заблокирована. 2. Внешнее короткое замыкание (режим β2). Иллюстрация - фиг. 19-21. Срабатывают модули 16, 19, 22, за ними элемент И 25, который также заблокирует выход защиты. 3. Внутреннее повреждение (α-режим). Поведение защиты иллюстрируют фиг. 22-24. Хотя бы один из замеров x1, x2, x3 попадает в область 44 или 46, или 48, приводя к срабатыванию хотя бы одного из модулей 17, 20, 23, а затем элемента ИЛИ 26, который подает свой сигнал на оконечный трехвходовой элемент И 27. Но для срабатывания защиты одного этого сигнала недостаточно. Требуется выполнение еще дополнительного условия несрабатывания одного или обоих блокирующих элементов И 24, 25. На фиг. 22-24 области отображения разных режимов не пересекаются, следовательно, в α-режимах не срабатывают оба элемента 24, 25. Под воздействием всех трех входных сигналов оконечный элемент И 27 срабатывает, что означает срабатывание защиты, отключающей поврежденный трансформатор. Широкие функциональные возможности данного способа защиты трансформатора обеспечиваются отсутствием методической погрешности разграничения режимов повреждения трансформатора, с одной стороны, и альтернативных им режимов, с другой. Принципиально важную роль играет этап обучения защиты, на котором моделируются, в частности, наиболее опасные режимы. Их отображения учитываются в блокирующих характеристиках защиты, что надежно исключает вероятность ложных срабатываний. Источники информации 1. Засыпкин А.С. Релейная защита трансформаторов. - М.: Энергоатомиздат, 1989 (с. 185-188). 2. Лямец Ю.Я., Мартынов М.В., Нудельман Г.С., Романов Ю.В., Воронов П.И. Обучаемая релейная защита. Ч. 1 и 2. - Электричество, 2012, №2, с. 15-19; №3, с. 12-18. 3. Патент РФ №2316872, Н02Н 3/40, 2006. 4. Патент РФ №2404499, Н02Н 3/40, 2009. 5. Патент РФ №2444829, Н02Н 6/00, Н02Н 3/16, Н02Н 3/40, G01R 31/08, 2010 (прототип). 6. Патент РФ №2450402, Н02Н 3/40, 2010. 7. Патент РФ №2553448, Н02Н 3/40, 2014. 8. Патент РФ №2082270, Н02Н 3/28, Н02Н 7/045, 1994.
,
,
и напряжения
,
,
на зажимах модели трансформатора 7.
,
,
(фиг. 4);
,
,
(фиг. 5);
,
,
(фиг. 6).

,
, q=1, 2, 3, присущие тому или иному режиму. Они поступают на входы терминала защиты и обрабатываются во входном модуле 11, структура которого детализирована на фиг. 8. Дифференциальный ток iдиф формируется в масштабирующем сумматоре 28, а напряжения намагничивания uμq - в передающих моделях обмоток 29-31. Операция, совершаемая вычислительным модулем 32, приводит к двумерным сигналам x1, x2, x3. Например, следующего вида
,
- оценка индуктивности намагничивания первичной обмотки,
и
- оценки коэффициентов пропорциональности напряжений первичной и вторичных обмоток. Соответствующие параметры входят в соотношения, справедливые для неповрежденного трансформатора









- поток в сердечнике, w2 и w3 - числа витков вторичных обмоток, S - сечение магнитопровода,
- длина его средней линии. В результате для режима броска намагничивающего тока (режим β1)
,


- падению магнитного напряжения в сердечнике трансформатора, принимает нулевой уровень. Как следствие,
, отсюда замер (6)