патент
№ RU 2694289
МПК H01L21/28

СПОСОБ ФОРМИРОВАНИЯ МЕДНОЙ РАЗВОДКИ С ТОЛСТОЙ КОБАЛЬТСОДЕРЖАЩЕЙ ВКЛАДКОЙ В СТРУКТУРЕ УСТРОЙСТВ, РАБОТАЮЩИХ НА ОСНОВЕ МАГНИТНОГО ТУННЕЛЬНОГО ПЕРЕХОДА

Авторы:
Гапиан Эрван Филипп Мари
Номер заявки
2018134305
Дата подачи заявки
28.09.2018
Опубликовано
11.07.2019
Страна
RU
Как управлять
интеллектуальной собственностью
Чертежи 
9
Реферат

Предложен способ формирования медной разводки с толстой кобальтсодержащей вкладкой в структуре устройств, работающих на основе магнитного туннельного перехода. В результате осуществления способа по 3 вариантам формируется канавка с медной разводкой и вкладкой кобальта без дефектов. Способ включает в себя технологические этапы в следующей последовательности: травление канавки в диоксиде кремния на кремнии; осаждение кобальтовой вкладки; осаждение затравочного слоя меди. По первому варианту изобретения ХМП затравочного слоя меди и кобальта процесс делится на 2 этапа. На первом этапе после осаждения затравочного слоя меди, используя ХМП, полностью удаляют кобальт с верхней поверхности SiO. После этого осуществляют гальваническое осаждение меди. На втором этапе осуществляют ХМП путем удаления меди с верхней поверхности канавки и верхней поверхности SiO. По второму варианту изобретения кобальтовую вкладку формируют между двумя барьерными слоями Ta(TaN) и/или Ti(TiN) с осуществлением только одного процесса ХМП и удалением кобальта с верхней поверхности SiO. По третьему варианту изобретения в начале создают стандартную структуру с канавкой, заполненной кобальтовой вкладкой, осаждают толстый затравочный слой меди, без дальнейшего использования процесса электрохимического осаждения меди до толщины более 2000 нм, что фактически и позволяет избежать процесса гальванического осаждения меди, использовать для достижения результата только один процесс ХМП, во время которого удаляют медь и кобальт с поверхности оксида кремния, осуществляют формирование канавки с медной разводкой и вкладкой кобальта без дефектов. Изобретение обеспечивает снижение количества дефектов в процессе формирования разводки. 3 н. и 6 з.п. ф-лы, 9 ил.

Формула изобретения

1. Способ формирования медной разводки с толстой кобальтсодержащей вкладкой в структуре устройств, работающих на основе магнитного туннельного перехода, включающий

травление канавки в объеме SiO2 кремниевой подложки,

осаждение слоя кобальтсодержащего материала для создания вкладки,

осаждение затравочного слоя меди,

осаждение слоя меди,

отличающийся тем, что

травление канавки осуществляют методом плазмохимического травления глубиной 300-500 нм,

осаждение слоя кобальтсодержащей вкладки осуществляют методом магнетронного распыления до достижения толщиной 5-100 нм,

осаждение затравочного слоя меди осуществляют методом магнетронного распыления,

после осаждения затравочного слоя меди используют ХМП, полностью удаляют кобальтсодержащий слой и затравочный слой меди с верхней поверхности SiO2,

после чего осуществляют гальваническое осаждение меди,

затем вновь используют ХМП и

удаляют медь с верхней поверхности SiO2,при этом медь и кобальтсодержащий материал остаются только внутри канавки.

2. Способ формирования медной разводки структуры устройства по п. 1, отличающийся тем, что кобальтсодержащая вкладка содержит материал из группы Co, CoFe, CoхFeуBz (x+y+z=1), CoхFeуBzTakZl (x+y+z+k+l=1), CoхZryTaz (x+y+z=1), CoхFeySiOz (x+y+z=1).

3. Способ формирования медной разводки с толстой кобальтсодержащей вкладкой в структуре устройств, работающих на основе магнитного туннельного перехода, включающий

травление канавки в объеме SiO2 кремниевой подложки,

осаждение первого барьерного слоя,

осаждение слоя кобальтсодержащего материала для создания вкладки,

осаждение второго барьерного слоя,

осаждение затравочного слоя меди,

осаждение меди,

отличающийся тем, что

травление канавки осуществляют методом плазмохимического травления глубиной 300-500 нм,

барьерные слои создают толщиной 5-25 нм с использованием установки для магнетронного распыления,

осаждение слоя кобальтсодержащей вкладки осуществляют методом магнетронного распыления до достижения толщиной 5-100 нм,

осаждение затравочного слоя меди толщиной от 400 до 700 осуществляют методом магнетронного распыления,

осаждение слоя меди осуществляют методом гальванического осаждения толщиной 1000-2000 нм,

затем вновь используют ХМП и

удаляют первый барьерный слой, слой кобальтсодержащего материала, второй барьерный слой и медь с поверхности SiO2, при этом медь и кобальтсодержащий материал остаются только внутри канавки.

4. Способ формирования разводки структуры устройства по п. 3, отличающийся тем, что барьерные слои создают типа Ta/TaN.

5. Способ формирования разводки структуры устройства по п. 3, отличающийся тем, что барьерные слои создают типа Ti/TiN.

6. Способ формирования разводки структуры устройства по п. 3, отличающийся тем, что барьерные слои создают типа Ta/TaN и/или Ti/TiN.

7. Способ формирования разводки структуры устройства по п. 5, отличающийся тем, что кобальтсодержащая вкладка содержит материал из группы Co, CoFe, CoxFeyBz (x+y+z=1), CoxFeyBzTakZl (x+y+z+k+l=1), CoxZryTaz (x+y+z=1), CoxFeySiOz (x+y+z=1).

8. Способ формирования медной разводки с толстой кобальтсодержащей вкладкой в структуре устройств, работающих на основе магнитного туннельного перехода, включающий

травление канавки в объеме SiO2кремниевой подложки,

осаждение слоя кобальтсодержащей вкладки,

осаждение затравочного слоя меди,

отличающийся тем, что

травление канавки осуществляют методом плазмохимического травления глубиной 300-500 нм,

осаждение слоя кобальтсодержащей вкладки осуществляют методом магнетронного распыления до достижения толщиной 5-100 нм,

осаждение затравочного слоя меди осуществляют методом магнетронного распыления до толщины 1000-2000 нм,

затем вновь используют ХМП и удаляют медь и слой кобальтсодержащего материала с поверхности SiO2, при этом медь и кобальтсодержащая вкладка остаются только внутри канавки.

9. Способ формирования разводки структуры устройства по п. 8, отличающийся тем, что кобальтсодержащая вкладка содержит материал из группы Co, CoFe, CoxFeyBz (x+y+z=1), CoxFeyBzTakZl (x+y+z+k+l=1), CoxZryTaz (x+y+z=1), CoxFeySiOz (x+y+z=1).

Описание

[1]

ОБЛАСТЬ ТЕХНИКИ

[2]

Способ формирования медной разводки с толстой кобальтсодержащей вкладкой в структуре устройств, работающих на основе магнитного туннельного перехода, относится к технологиям изготовления полупроводниковых приборов, например, типа MRAM (magneto-resistive random-access memory), магнитных сенсоров и т.п.

[3]

УРОВЕНЬ ТЕХНИКИ

[4]

Для изготовления некоторых устройств, работающих на основе магнитных туннельных переходов, для переключения направления намагниченности слоя хранения используют силовые линии магнитного поля, формируемые током, проходящим через медные канавки. Силовые линии магнитного поля, возникающего при протекании тока по канавкам, используются для управления работой ячеек магнитно-резистивной оперативной памяти (MRAM) и магнитных сенсоров. Для локализации магнитного поля в ячейке в определенном направлении на боковых стенках медной канавки формируют ферромагнитную вкладку. Ферромагнитная вкладка играет роль экрана (зеркала) для магнитного поля. Благодаря этому, распределение магнитного поля не равномерно вдоль периметра медного проводника, а направлено строго на магнитную ячейку. Локальная направленность позволяет снизить величину тока, протекающего по проводнику, т.к. величина магнитного поля, достаточная для переключения ячейки, в случае с рассеиваемым полем достигается при значительно большей величине тока, чем при локализации магнитного поля отражением с помощью ферромагнитной вкладки. Это в свою очередь значительно снижает тепловую нагрузку и потребление энергии. Выбор кобальта и кобальтсодержащих материалов в качестве ферромагнитного материала, который может быть использован в качестве ферромагнитной вкладки в канавке при формировании разводки, обусловлен тем, что как кобальт, так и кобальтсодержащие материалы, при их использование в качестве ферро-магнитной вкладкй, наиболее эффективно направляют магнитное поле на ячейку.

[5]

Давно известны стандартные способы формирования медной разводки с кобальтсодержащей вкладкой в структуре устройств, работающих на основе магнитного туннельного перехода, когда используют технологический процесс гальванического осаждения меди для формирования проводящего материала, создающего магнитное поле (описано, например, в заявки США заявке № US20040175845, приоритет 03.03.2003 (https://patents.google.com/patent/US20040175845)). Общими с известным изобретением для формирования разводки являются следующие признаки – формирование канавки, в которой последовательно создаются сначала первый барьерный слой, содержащий Та в пределах канавки, затем поверх него создают затравочный слой меди, на котором путем осаждения формируют слой меди, на который путем электрохимического осаждения наносят слой мягкого магнитного материала с последующим формированием второго барьерного слоя и завершают формированием металлического слоя поверх второго барьерного слоя с последующим удалением первого барьерного слоя, первого затравочного слоя, слоя магнитомягкого материала и металлического слоя за пределами канавки. Поскольку и сам кобальт, и кобальтсодержащие материалы имеют как магнитные, так и барьерные свойства (свойства диффузионного барьера для меди), это позволяет снизить количество формирующих разводку слоев. Таким образом в известном уровне техники и заявленном изобретении при формировании медной разводки с кобальтовой (кобальтсодержащей) вкладкой общими будут лишь признаки, характеризующие часть слоев (их комбинацию), в частности, процесс формирования разводки с кобальтовой вкладкой осуществляют в следующей последовательности. Сначала осуществляют травление канавки в слое оксида кремния на полупроводнике (Фиг. 1), после чего осуществляют осаждение вкладки кобальта. Затем производят осаждение затравочного слоя меди, который становится основой для гальванического осаждения меди (Фиг. 2). Для формирования слоев разводки используют такие методы осаждения как электрохимическое, электролизное осаждение, химическое, физическое осаждение из паровой фазы, осаждение атомных слоев. Из-за особенностей процессов гальванического осаждения меди, образуются дефекты, распределенные по объему нанесенного слоя кобальта, которые могут влиять на конфигурацию силовых линий магнитного поля. При осуществлении гальванического осаждения меди, из-за кислотного состава используемых химических растворов происходит растворение кобальта, образование пустот между медным слоем и оксидом и рост количества дефектов.

[6]

Количество дефектов может изменяться при изменении условий технологического процесса, но ни один из известных подходов с использованием метода гальванического осаждения меди и формирования толстой вкладки кобальта для локализации направления магнитного поля в определенном направлении не работает и не позволяет существенно снизить количество дефектов.

[7]

СУЩНОСТЬ ИЗОБРЕТЕНИЯ

[8]

Задачей заявленного решения является - снизить количество или вообще исключить формирование дефектов, возникающих в результате коррозии (растворения) кобальта (кобальтсодержащего материала) (300) в процессе гальванического осаждения меди (500) при осуществлении химико-механической полировки (ХМП) меди и кобальта (кобальтсодержащего материала) на поверхности канавки (Фиг. 3) при создании структуры устройства, работающего на основе магнитного туннельного перехода типа MRAM, магнитного сенсора и т.п.

[9]

Техническим результатом изобретения, способ формирования медной разводки с толстой кобальтсодержащей вкладкой в структуре устройств, работающих на основе магнитного туннельного перехода, является устранение вышеописанных дефектов в слое кобальта (кобальтсодержащего материала), которые появляются в результате гальванического осаждения меди и/или после процесса химико-механической полировки структуры медной канавки с кобальтовой (кобальтсодержащей) вкладкой. Установлено, что указанный технический результат можно достичь тремя вариантами осуществления способа.

[10]

Для достижения технического результата важно удалить кобальт (кобальтсодержащий материал) (300) с поверхности оксида кремния (100) так, чтобы при этом кобальт (кобальтсодержащий материал) и медь оставались только в канавке. Это можно сделать, используя методы химико-механической полировки (ХМП) или травления перед началом процесса гальванического осаждения меди в определенных сочетаниях. Кобальтсодержащая вкладка может содержать материал из группы Co, CoFe, CoхFeуBz (x+y+z=1), CoхFeуBz TakZl (x+y+z+k+l=1), CoхZryTaz (x+y+z=1), CoхFeySiOz (x+y+z=1). Далее для упрощения изложения сущности и осуществления вариантов изобретения будет упоминаться по тексту просто кобальт как равнозначный кобальтсодержащим материалам или кобальтсодержащей вкладке, поскольку с использованием материалов указанной выше группы достигаются аналогичные результаты.

[11]

Заявленный процесс формирования медной разводки с толстой кобальтсодержащей вкладкой в структуре устройств, работающих на основе магнитного туннельного перехода, характеризуется тем, что может включать в себя технологические этапы в следующей последовательности (Фиг. 4):

[12]

- травление канавки в диоксиде кремния (100) на полупроводнике (кремнии);

[13]

- осаждение кобальтовой вкладки (300);

[14]

- осаждение затравочного слоя меди (400), например, методом магнетронного распыления для последующего осаждения меди методом гальванического осаждения.

[15]

По первому варианту изобретения ХМП затравочного слоя меди и кобальта процесс делится на 2 этапа.

[16]

На первом этапе после осаждения затравочного слоя меди (400), используя ХМП, полностью удаляют кобальт (300) с верхней поверхности SiO2 (100) (Фиг. 5). После этого осуществляют гальваническое осаждение меди (500) (Фиг. 6).

[17]

На втором этапе осуществляют ХМП путем удаления меди с верхней поверхности канавки и верхней поверхности SiO2(Фиг. 7).

[18]

В результате формируется канавка с медью (медной разводкой) и вкладкой кобальта без дефектов.

[19]

По второму варианту изобретения кобальтовую вкладку (300) формируют между двумя барьерными слоями Ta(TaN) или Ti(TiN) (200) под затравочным слоем меди (400), а далее осуществляют осаждение меди, методом гальванического осаждения (500) (Фиг. 8). Для этого варианта осуществляется только один процесс ХМП.

[20]

В результате формируется канавка с медью (медной разводкой) и вкладкой кобальта без дефектов.

[21]

По третьему варианту изобретения в начале создают стандартную структуру с канавкой, заполненной кобальтовой вкладкой (300), далее осаждают толстый затравочный слой меди (400), без дальнейшего использования процесса электрохимического осаждения меди. Это означает, что для потенциальной защиты кобальта от коррозии в верхней части стенки канавки дополнительно увеличивают толщину затравочного слоя, при этом, если величина канавки позволяет, толщина затравочного слоя может быть увеличена до толщины более 2000 нм, что фактически и позволяет избежать процесса гальванического осаждения меди (Фиг. 9), использовать для достижения результата только один процесс ХМП, во время которого удаляют медь и кобальт с поверхности оксида кремния, осуществляют формирование канавки с медью (медной разводкой) и вкладкой кобальта без дефектов.

[22]

ПЕРЕЧЕНЬ ЧЕРТЕЖЕЙ

[23]

Фиг. 1. Схематическое изображение поперечного сечения структуры MRAM при формировании кобальтсодержащей вкладки стандартным способом.

[24]

Фиг. 2. Схематическое изображение поперечного сечения структуры MRAM, изображенной на фиг. 1, но уже с осажденной медью (500) методом гальванического осаждения.

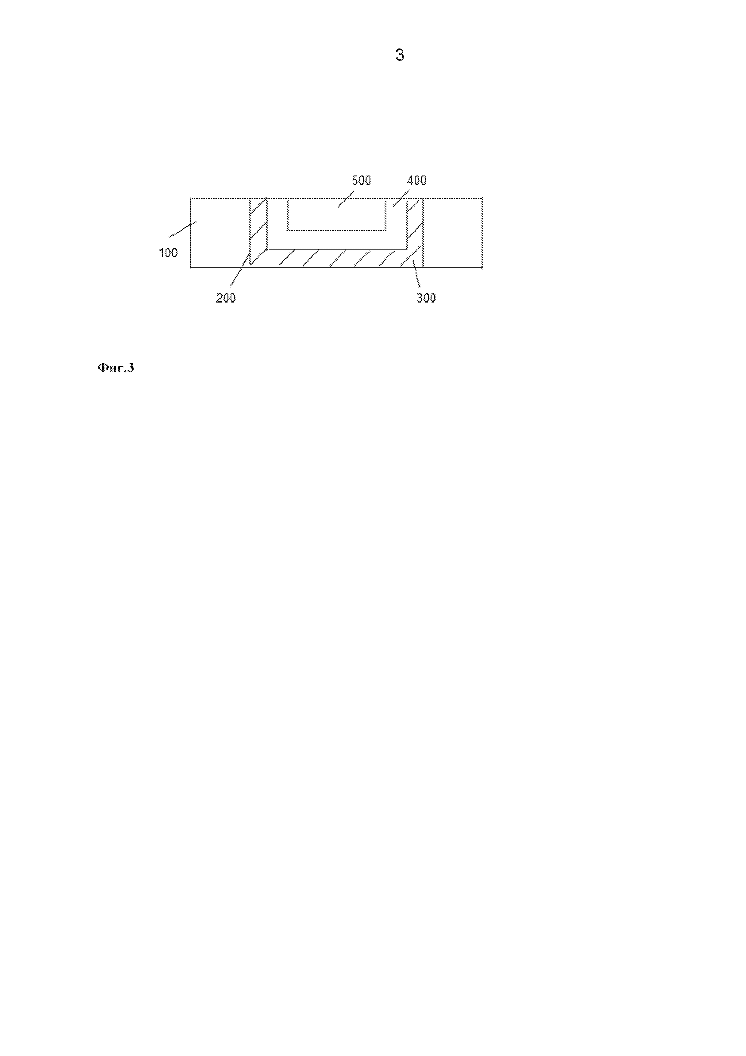
[25]

Фиг. 3. Схематическое изображение поперечного сечения структуры, изображенной на фиг. 2 с кобальтсодержащей вкладкой и удалёнными вследствие химико-механической полировки меди и кобальта с верхней поверхности канавки и SiO2.

[26]

Фиг. 4. Схематическое изображение поперечного сечения структуры MRAM с канавкой, заполненной кобальтсодержащей вкладкой, и затравочным слоем меди в начале технологического процесса по первому варианту изобретения.

[27]

Фиг. 5. Первый этап полировки структуры, изображенной на фиг.4, удаление кобальта и затравочного слоя до оксида кремния по первому варианту изобретения.

[28]

Фиг. 6. Гальваническое осаждение меди после первого этапа полировки структуры, изображенной на фиг. 5 по первому варианту изобретения.

[29]

Фиг. 7. Схематическое изображение поперечного сечения структуры MRAM с канавкой, заполненной медью, после второго этапа ХМП по первому варианту изобретения.

[30]

Фиг. 8. Схематическое изображение поперечного сечения структуры MRAM с канавкой, заполненной кобальтсодержащей вкладкой, заключенной между двумя барьерными слоями Ta(TaN) или Ti(TiN) под затравочным слоем меди, и после гальванического осаждения меди по второму варианту изобретения.

[31]

Фиг. 9. Схематическое изображение поперечного сечения структуры MRAM с канавкой, заполненной кобальтсодержащей вкладкой, и толстым затравочным слоем меди, без процесса электрохимического осаждения меди по третьему варианту изобретения.

[32]

ПРИМЕРЫ ОСУЩЕСТВЛЕНИЯ ИЗОБРЕТЕНИЯ

[33]

Заявленный способ формирования медной разводки с толстой кобальтсодержащей вкладкой в структуре устройств, работающих на основе магнитного туннельного перехода, характеризуется тем, что включает в себя стандартные технологические стадии (могут применяться различные известные стандартные технологические методы формирования слоев и ХМП) в следующей последовательности (Фиг. 4):

[34]

- травление канавки, например, методом плазмо–химического травления, в результате чего в объеме SiO2 кремниевой подложки, протравливается канавка глубиной 300-500 нм (100);

[35]

- осаждение кобальтсодержащей вкладки (300), например, методом магнетронного распыления до достижения толщины слоя 5 – 100 нм (при этом толщина кобальтсодержащего материала на стенках канавки может достигать 5 – 100 нм);

[36]

- осаждение затравочного слоя меди (400), например, методом магнетронного распыления (слой является затравочным для последующего осаждения меди методом гальванического осаждения).

[37]

При осуществлении первого варианта изобретения далее осуществляют ХМП затравочного слоя меди и кобальтсодержащего материала, при этом процесс делится на 2 этапа.

[38]

На первом этапе после осаждения затравочного слоя меди, используя ХМП, полностью удаляют кобальтсодержащий материал (300) и затравочный слой меди (400) с верхней поверхности канавки (Фиг. 5). При этом слой кобальтсодержащего материала удаляется с верхней поверхности SiO2 и канавки (100) и остается только на боковых стенках канавки. Затем осуществляют гальваническое осаждение меди (500) (Фиг. 6). Кобальтсодержащая вкладка по первому варианту осуществления изобретения может содержать любой материал из группы Co, CoFe, CoхFeуBz (x+y+z=1), CoхFeуBz TakZl (x+y+z+k+l=1), CoхZryTaz (x+y+z=1), CoхFeySiOz (x+y+z=1) с достижением аналогичного результата.

[39]

На втором этапе ХМП осуществляют удаление меди. (Фиг. 7).

[40]

В результате формируется канавка с медью и вкладкой кобальта без дефектов по первому варианту осуществления изобретения.

[41]

При осуществлении второго варианта изобретения кобальтсодержащую вкладку формируют между барьерными слоями типа Ta/TaN и/или Ti/TiN (200) (в любой последовательности), которые создают на установке для магнетронного распыления, при этом барьерный слой Ta/TaN или Ti/TiN осаждается толщиной от 5 до 25 нм, а кобальтсодержащий материал толщиной от 5 нм до 100 нм (300). После чего тем же способом осаждается затравочный слой меди (400) толщиной от 400 до 700 для последующего гальванического осаждения меди (500). Далее осаждается медь, методом гальванического осаждения.

[42]

С помощью процесса ХМП, осуществляют удаление меди. В результате осуществления изобретения по второму варианту формируется канавка, заполненная медью и вкладкой из кобальтсодержащего материала, без дефектов в оксиде кремния (Фиг. 8). Более того, использование структуры слоев по второму варианту обеспечивает дополнительные результаты - лучшую адгезию и взаимную диффузию материалов, что в свою очередь повышает надежность электроснабжения создаваемой структуры. Кобальтсодержащая вкладка по второму варианту осуществления изобретения может содержать любой материал из группы Co, CoFe, CoхFeуBz (x+y+z=1), CoхFeуBz TakZl (x+y+z+k+l=1), CoхZryTaz (x+y+z=1), CoхFeySiOz (x+y+z=1) с достижением аналогичного результата.

[43]

При осуществлении третьего варианта изобретения ХМП затравочного слоя меди и кобальтсодержащего материала процесс ХМП осуществляется за один шаг. В начале ХМП создают стандартную структуру с канавкой глубиной 300-500 нм в объеме SiO2кремниевой подложки, заполняют ее кобальтсодержащей вкладкой методом магнетронного распыления до достижения толщиной 5 – 100 нм, и осаждают толстый затравочный слой меди методом магнетронного распыления. В верхней части стенки канавки дополнительно возможно увеличение толщины затравочного слоя, при этом, если величина канавки позволяет, толщина затравочного слоя может быть увеличена до толщины порядка 1000 нм и более 2000 нм, что фактически позволяет избежать процесса гальванического осаждения меди (Фиг. 9). После чего получившийся толстый затравочный слой меди (400) и кобальтcсодержащий слой (300) удаляют в процессе ХМП в рамках одного этапа с поверхности SiO2, при этом медь и кобальтсодержащая вкладка остаются только внутри канавки. Благодаря тому, что гальваническое осаждение меди не потребовалось для заполнения канавки, исключается этап гальванического осаждения меди, который является основной причиной возникновения коррозии кобальтсодержащего материала (роста числа дефектов). В результате чего достигается заявленный результат при осуществлении изобретения по третьему варианту. Кобальтсодержащая вкладка по третьему варианту осуществления изобретения может содержать любой материал из группы Co, CoFe, CoхFeуBz (x+y+z=1), CoхFeуBz TakZl (x+y+z+k+l=1), CoхZryTaz (x+y+z=1), CoхFeySiOz (x+y+z=1) с достижением аналогичного результата.

Как компенсировать расходы
на инновационную разработку
Похожие патенты