Изобретение относится к средствам проверки сходства или различия изображений, в частности изображений товарных знаков. Технический результат заключается в улучшении качества определения сходства или различия изображений до степени смешения и вхождения элементов изображения в состав сравнительных образцов. В способе используется искусственная нейронная сеть, состоящая из искусственных нейронов с нелинейными функциями активации, а также алгоритм преобразования входного изображения к матрицам R, G, В и Gray, для подачи на вход нейронной сети. 3 ил.
Способ определения сходства изображений, заключающийся в использовании искусственной нейронной сети, состоящей из слоев нейронов с нелинейными функциями активации, на вход которой поступают значения элементов матриц компонентов красного, зеленого, синего и серого цветов двух сравниваемых изображений одинаковой размерности, которые обрабатывают нейроны входного слоя искусственной нейронной сети, выходы которых соединены со входами нейронов первого скрытого слоя искусственной нейронной сети, выходы которых соединены со входами нейронов второго скрытого слоя искусственной нейронной сети, выходы которых соединены со входами нейрона выходного слоя искусственной нейронной сети, на выходе которого, являющегося выходом искусственной нейронной сети, представлено число, изменяющееся от 0 до 1 и показывающее степень сходства двух сравниваемых изображений.
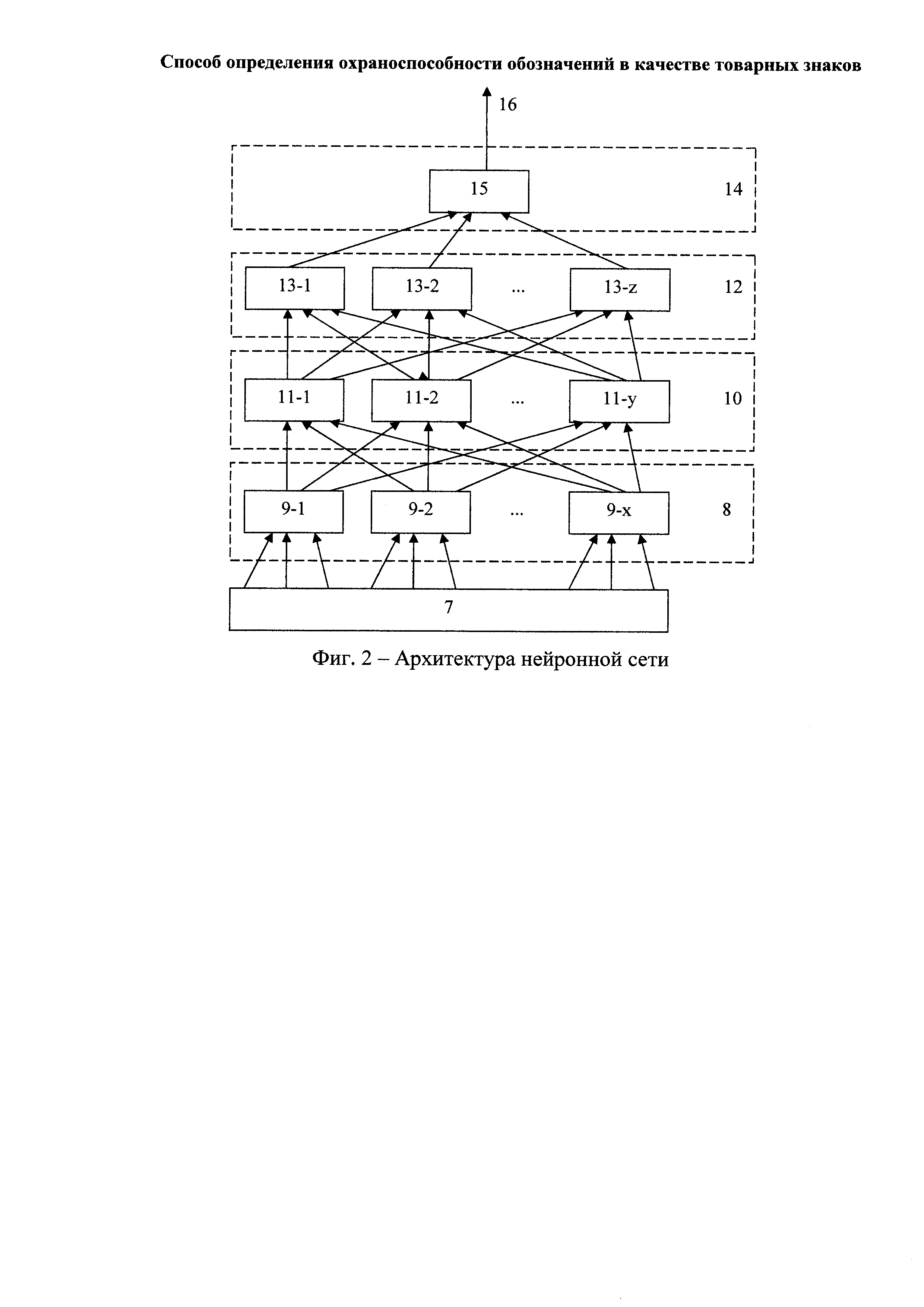
Изобретение относится к вычислительной технике и может быть использовано в компьютерных системах для определения охраноспособности обозначений в качестве товарных знаков. Установление охраноспособности обозначения на основе сравнения его с массивом ранее зарегистрированных товарных знаков представляет собой сложную задачу распознавания и классификации образов, в настоящее время разрешаемую с использованием ручной системы классификации элементов изображений (Венской классификации), корректное использование которой возможно только при достаточно высокой квалификации специалиста-исполнителя. Существующие методы и алгоритмы машинного распознавания образов не могут быть корректно применены к задаче установления охраноспособности обозначения ввиду специфических условий и ограничений, таких как необходимость установления схожести изображений до степени смешения и вхождения элементов изображения в состав сравнительных образцов. Известен способ и система поиска нарушений авторских прав на изображения (патент WO 2014031022 A1), основанный на расчете и сравнении дескрипторов для сравниваемых изображений. Однако такой подход не позволяет проводить нелинейный анализ сравниваемых изображений, что ухудшает качество сравнения изображений на практике. Техническим результатом настоящего изобретения является улучшение качества определения сходства или различия изображений до степени смешения и вхождения элементов изображения в состав сравнительных образцов. Предлагаемый способ состоит из вычисления степени сходства изображения, тестируемого на наличие признака охраноспособности, с каждым изображением из базы зарегистрированных изображений. Степень сходства двух изображений определяется в два этапа. 1 этап. На этом этапе изображение считывается из файла и подготавливается для последующей обработки. Считанное изображение должно быть преобразовано путем масштабирования к разрешению x×y пикселей, заданному пользователем (х - ширина изображения, у - высота изображения). Для этого используется алгоритм бикубической интерполяции. Для полученного массива х×y пикселей формируются следующие матрицы размера х×y: R - матрица уровня красного цвета пикселей изображения (компонента Red в RGB представлении); G - матрица уровня зеленого цвета пикселей изображения (компонента Green в RGB представлении); В - матрица уровня синего цвета пикселей изображения (компонента Blue в RGB представлении); Gray - матрица уровня серого цвета пикселей изображения (уровень яркости пикселя при отображении изображения в оттенках серого Grayscale), рассчитываемая по формуле Gray=0,2989R+0,5870G+0,1140B. Элементы подготовленных матрицы R, G, В и Gray имеют целочисленные значения без знака (формат unsigned integer 8 bit - целочисленные данные, изменяющиеся в диапазоне от 0 до 255). После этого элементы матриц R, G, В и Gray преобразуются к вещественному формату путем деления на 256, то есть преобразованные элементы матриц изменяются в пределах от 0 до 1. Полученные преобразованные матрицы поступают на вход нейронной сети. 2 этап. Две группы матриц R, G, В и Gray одного размера, сформированные для двух сравниваемых изображений при помощи последовательности действий, описанных на этапе 1, поступают на вход нейронной сети. Нейронная сеть из элементарных компонент - нейронов, изображенных на фиг. 1. Изображенный на рисунке 1 нейрон функционирует следующим образом. На входы нейрона поступают сигналы со входов 1-1, 1-2, …, 1-n. Сигнал с каждого входа умножается на соответствующий весовой коэффициент 2-1, 2-2, …, 2-n при помощи блоков умножения 3-1, 3-2, …, 3-n. Все полученные результаты умножений складываются в сумматоре 4. Результат умножения преобразуется функцией активации 5. Полученный результат поступает на выход нейрона 6. Все входы нейрона, весовые коэффициенты и выход нейрона должны иметь вещественное значения, изменяющиеся от 0 до 1. Функция активации может иметь один из следующих видов. A. Линейная функция активации Б. Пороговая передаточная функция где Т - величина порога (вещественная), задаваемая пользователем. B. Сигмоидальная функция где А, В - вещественные параметры, задаваемые пользователем. Г. Гиперболический тангенс где А, В - вещественные параметры, задаваемые пользователем. Весовые коэффициенты 2-1, 2-2, …, 2-n определяются до начала работы, в процессе обучения нейронной сети. На фиг. 2 изображена архитектура нейронной сети. Изображенная на рисунке 2 архитектура нейронной сети содержит входной слой нейронов 8, состоящий из нейронов 9-1, 9-2, …, 9-х; первый скрытый слой нейронов 10, состоящий из нейронов 11-1, 11-2, …, 11-у; второй скрытый слой нейронов 12, состоящий из нейронов 13-1, 13-2, …, 13-z; и выходной слой нейронов 14, состоящий из одного нейрона 15. Каждый нейрон 9-1, 9-2, …, 9-х, 11-1, 11-2, …, 11-у, 13-1, 13-2, …, 13-z представляет собой устройство, изображенное на фиг. 1. Каждый слой нейронов связан только с двумя слоями: предшествующим и последующим. Связь между двумя соседними слоями осуществляется следующим образом: единственный выход каждого нейрона предыдущего слоя подается на вход каждому нейрону последующего слоя. Количество нейронов во входном слое, а также в каждом из скрытых слоев определяется пользователем до начала использования работы изобретения. Выход 16 нейрона 15 считается выходом всей сети и является результатом ее работы. На входы нейронов 9-1, 9-2, …, 9-х входного слоя нейронов 8 поступает информация о двух сравниваемых изображениях в соответствии со схемой, изображенной на рисунке 3. На рисунке 3 изображено подробно описание входного слоя 8 и его взаимодействие с поступающими на вход 7 матрицами пикселей изображений модуля, сформированными на первом этапе. Все нейроны входного слоя 8 делятся на 4 группы: группа нейронов 21 для обработки матриц R двух сравниваемых изображений, подаваемых через входы 17-1 и 17-2, соответственно; группа нейронов 22 для обработки матриц G двух сравниваемых изображений, подаваемых через входы 18-1 и 18-2, соответственно; группа нейронов 23 для обработки матриц В двух сравниваемых изображений, подаваемых через входы 19-1 и 19-2, соответственно; группа нейронов 24 для обработки матриц Gray двух сравниваемых изображений, подаваемых через входы 20-1 и 20-2, соответственно. Количество нейронов каждой группы определяется пользователем в отдельности до начала использования работы изобретения. Нейроны каждой группы должны обрабатывать все элементы двух матриц двух сравниваемых изображений. Это означает, что каждый нейрон из группы 21 получает на вход все элементы матрицы R первого изображения и все элементы матрицы R второго изображения; каждый нейрон из группы 22 получает на вход все элементы матрицы G первого изображения и все элементы матрицы G второго изображения; каждый нейрон из группы 23 получает на вход все элементы матрицы В первого изображения и все элементы матрицы В второго изображения; каждый нейрон из группы 24 получает на вход все элементы матрицы Gray первого изображения и все элементы матрицы Gray второго изображения. Если подготовленные на первом этапе матрицы R, G, В, Gray каждого изображения имели х×у элементов, то каждый нейрон групп 21-24 должен иметь 2xy входов и 2xy весовых коэффициентов для них. Результатом данного этапа является значение 16, полученное на выходе нейронной сети, которое изменяется от 0 до 1. Результатом применения нейронной сети является числовое значение от 0 до 1, показывающее степень схожести сравниваемых изображений. Для определения охраноспособности изображения необходимо произвести сравнение тестируемого изображения с каждым изображением из базы зарегистрированных изображений. Изображение считается охраноспособным, если ни для какой пары сравниваемых изображений не было превышено пороговое значение степени сходства, заданное до начала использования работы изобретения. Предложенный способ позволяет осуществлять нелинейное сравнение изображений за счет искусственной нейронной сети, нейроны которой имеют нелинейные функции активации. Результатом такого подхода является улучшение качества определения сходства или различия изображений, в том числе установление схожести изображений до степени смешения и вхождения элементов изображения в состав сравнительных образцов.


