патент
№ RU 2637053
МПК F16D21/06
Номер заявки
2016145457
Дата подачи заявки
21.11.2016
Опубликовано
29.11.2017
Страна
RU
Как управлять
интеллектуальной собственностью
Чертежи 
4
Реферат

Изобретение относится к области машиностроения, а более конкретно к трансмиссиям. Сцепляющий узел трансмиссии транспортного средства содержит меньшую и большую многодисковые фрикционные муфты с гидравлическим управлением посредством гидроцилиндров. Ступица (25) гидроцилиндра меньшей муфты установлена на ступице (11) гидроцилиндра большей муфты, связана с ней шлицевым соединением и закреплена на ней при помощи фиксатора (29). Фиксатор (29) выполнен в виде резьбовой втулки, ввернутой в ступицу (11) и имеющей фланец с буртиком (31), примыкающий к торцу ступицы (25). На торце ступицы (25) сделано радиальное углубление (30), в которое вставлен пластически изогнутый участок (32) буртика (31). Достигается повышение ремонтопригодности. 1 з.п. ф-лы, 4 ил.

Формула изобретения

1. Сцепляющий узел трансмиссии транспортного средства, содержащий меньшую и большую многодисковые фрикционные муфты с гидравлическим управлением посредством гидроцилиндров, отличающийся тем, что ступица гидроцилиндра меньшей муфты установлена на ступице гидроцилиндра большей муфты, связана с ней шлицевым соединением и закреплена на ней при помощи фиксатора, выполненного в виде резьбовой втулки, ввернутой в ступицу гидроцилиндра большей муфты и имеющей фланец с буртиком, примыкающий к торцу ступицы гидроцилиндра меньшей муфты, на этом торце ступицы гидроцилиндра сделано радиальное углубление, в которое вставлен пластически изогнутый участок буртика.

2. Сцепляющий узел по п. 1, отличающийся тем, что на ступице гидроцилиндра меньшей муфты размещена и закреплена гайкой деталь, образующая опору пружин, установленных напротив поршня этого гидроцилиндра, при этом гайка имеет на торце хвостовик с пластически изогнутым участком, расположенным в продольном пазу, сделанном в ступице гидроцилиндра меньшей муфты.

Описание

[1]

Техническое решение относится к трансмиссиям транспортных средств, в частности к сцепляющим узлам, применяемым в автоматических трансмиссиях для передачи крутящего момента от двигателя внутреннего сгорания к коробке передач.

[2]

В авторском свидетельстве №1815441, опубликованном 15.05.1993 г., а также в заявке №20160042387 на выдачу патента, опубликованной 19.04.2016 г. в Корее, показано устройство сцепляющего узла трансмиссии транспортного средства, содержащее две фрикционные муфты, расположенные последовательно друг за другом. Однако такой сцепляющий узел имеет большие осевые размеры, что затрудняет его размещение в трансмиссии транспортного средства.

[3]

Наиболее близким к заявляемому сцепляющему узлу является сцепляющий узел трансмиссии транспортного средства, представленный в патенте США №6523657 В1, опубликованном 25.02.2003 г. Этот сцепляющий узел содержит меньшую и большую многодисковые фрикционные муфты с гидравлическим управлением посредством гидроцилиндров. Гидроцилиндр меньшей муфты жестко связан со ступицей гидроцилиндра большей муфты, образуя единое неразъемное соединение, выполненное при помощи сварки. Это исключает доступ к пружине и уплотнительным элементам поршня гидроцилиндра большей муфты для их замены при износе, что приводит к снижению ремонтопригодности сцепляющего узла. Кроме того, отсутствие возможности регулирования предварительного усилия сжатия пружины поршня гидроцилиндра меньшей муфты требует высокой точности изготовления элементов конструкции и тщательного контроля размеров деталей в размерной цепи. Технологические ошибки, возникающие при изготовлении деталей, и термические деформации, возникающие при проведении сварочных операций по сборке сцепляющего узла, изменяют численное значение размерных цепей, определяющих степень деформации пружин. Разброс осевых размеров приводит к изменению диапазона сил сжатия пружин, что искажает начальные условия и параметры управления элементами сцепляющего узла, ухудшая его работоспособность.

[4]

Технические проблемы, на решение которых направлено заявленное изобретение, состоят в обеспечении доступа к пружинам и уплотнительным элементам поршней гидроцилиндров большей и меньшей муфт и обеспечении возможности регулирования предварительного усилия сжатия пружин поршня гидроцилиндра меньшей муфты.

[5]

Решение технической проблемы обеспечения доступа к пружинам и уплотнительным элементам поршней гидроцилиндров большей и меньшей муфт достигается тем, что в сцепляющем узле трансмиссии транспортного средства, содержащем меньшую и большую многодисковые фрикционные муфты с гидравлическим управлением посредством гидроцилиндров, ступица гидроцилиндра меньшей муфты установлена на ступице гидроцилиндра большей муфты, связана с ней шлицевым соединением и закреплена на ней при помощи фиксатора. Фиксатор выполнен в виде резьбовой втулки, ввернутой в ступицу гидроцилиндра большей муфты и имеющей фланец с буртиком, примыкающий к торцу ступицы гидроцилиндра меньшей муфты. На этом торце ступицы гидроцилиндра сделано радиальное углубление, в которое вставлен пластически изогнутый участок буртика.

[6]

Благодаря тому что ступица гидроцилиндра меньшей муфты связана со ступицей гидроцилиндра большей муфты шлицевым соединением и закреплена на ней при помощи фиксатора, выполненного в виде резьбовой втулки, ввернутой в ступицу гидроцилиндра большей муфты и имеющей фланец с буртиком, примыкающий к торцу ступицы гидроцилиндра меньшей муфты, а на торце ступицы гидроцилиндра меньшей муфты сделано радиальное углубление, в которое вставлен пластически изогнутый участок буртика, упрощаются работы по сборке и разборке сцепляющего узла и обеспечивается доступ к пружинам и уплотнительным элементам поршней гидроцилиндров большей и меньшей муфт, что позволяет проводить дефектовку и замену как отдельно изношенных деталей, так и сборочных единиц сцепляющего узла, что повышает его ремонтопригодность.

[7]

Решение технической проблемы обеспечения возможности регулирования предварительного усилия сжатия пружин поршня гидроцилиндра меньшей муфты достигается тем, что на ступице гидроцилиндра меньшей муфты размещена и закреплена гайкой деталь, образующая опору пружин, установленных напротив поршня этого гидроцилиндра. Гайка имеет на торце хвостовик с пластически изогнутым участком, расположенным в продольном пазу, сделанном в ступице гидроцилиндра меньшей муфты.

[8]

Благодаря тому, что на ступице гидроцилиндра меньшей муфты размещена и закреплена гайкой деталь, образующая опору пружин, установленных напротив поршня этого гидроцилиндра, а гайка имеет на торце хвостовик с пластически изогнутым участком, расположенным в продольном пазу, сделанном в ступице гидроцилиндра меньшей муфты, обеспечивается возможность оптимизировать условия регулировки и параметры управления поршнем гидроцилиндра меньшей муфты, что способствует улучшению работоспособности сцепляющего узла.

[9]

Таким образом, изобретением обеспечивается достижение таких технических результатов как повышение ремонтопригодности сцепляющего узла и улучшение его работоспособности.

[10]

На фигуре 1 показан сцепляющий узел трансмиссии транспортного средства, часть продольного разреза.

[11]

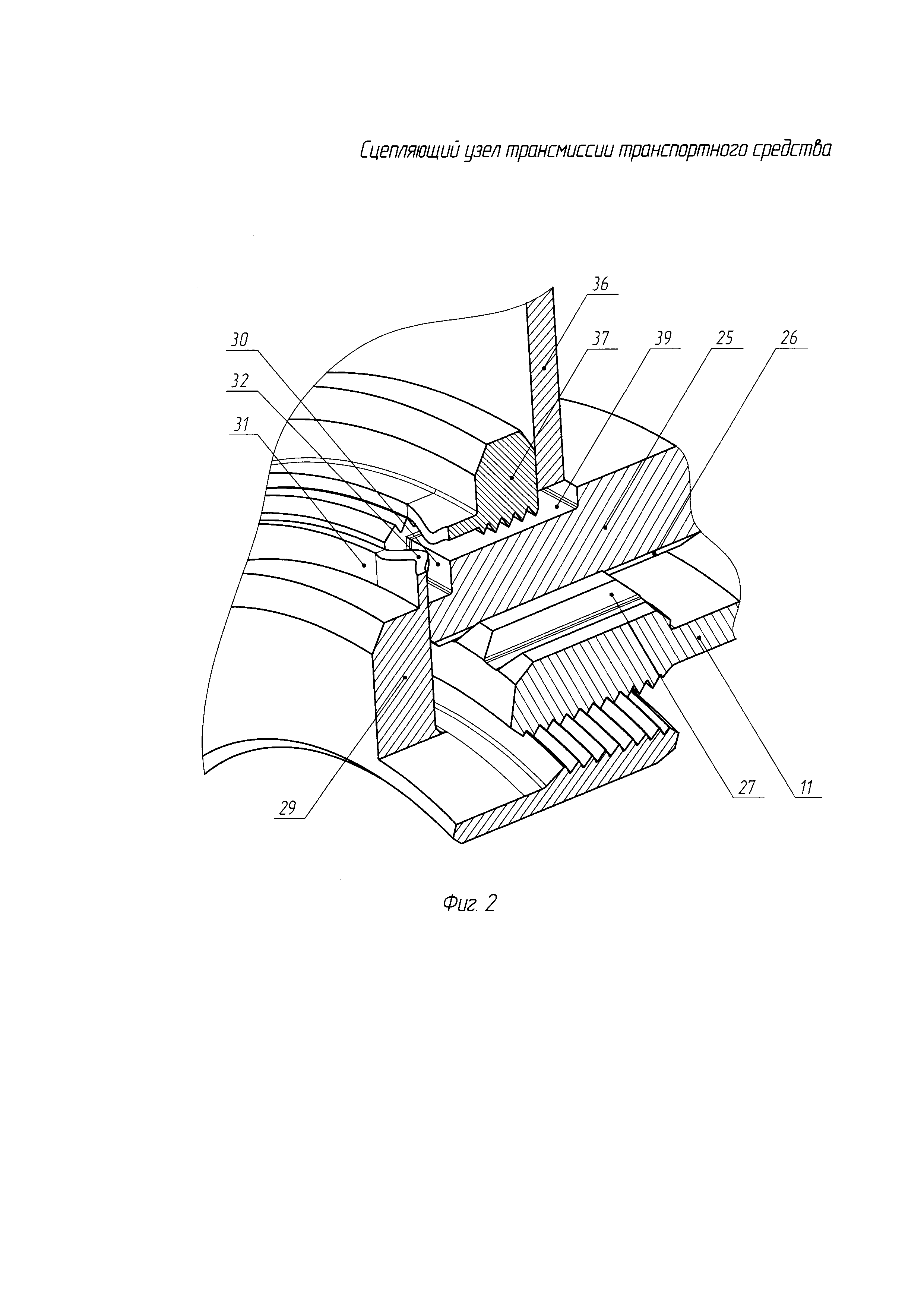
На фигуре 2 показан фрагмент изометрической проекции сцепляющего узла в месте соединения ступиц гидроцилиндров.

[12]

На фигуре 3 показана отдельно меньшая муфта сцепляющего узла, часть продольного разреза.

[13]

На фигуре 4 показан сцепляющий узел в разрезе при его последовательной разборке.

[14]

Сцепляющий узел трансмиссии транспортного средства, показанный на фигуре 1, содержит ведущий вал 1, соединенный с корпусом гидроцилиндра 2. В образованном ими внутреннем пространстве 3 размещены другой гидроцилиндр 4 и многодисковые фрикционные муфты 5, 6, работающие со смазкой. Большая муфта 5 состоит из опорного диска 7, удерживаемого стопорным кольцом 8, наружных дисков 9, зацепленных поводками 10 с корпусом гидроцилиндра 2, соединенного со ступицей 11, и внутренних дисков 12, собранных на барабане 13, установленном на входном валу 14 коробки передач (не показана). Меньшая муфта 6 состоит из опорного диска 15, удерживаемого стопорным кольцом 16, и наружных дисков 17, зацепленных поводками 18 с корпусом гидроцилиндра 4. Между наружными дисками 17 расположены внутренние диски 19, собранные на барабане 20, установленном на входном валу 21 коробки передач.

[15]

На ступице 11 гидроцилиндра 2 установлен поршень 22. Между поршнем 22 и корпусом гидроцилиндра 2 образована камера 23, сообщаемая с источником давления рабочей жидкости через каналы, выполненные в ступице 11. Герметичность камеры 23 обеспечивается уплотнительным элементом поршня 22. Напротив камеры 23 расположена компенсационная камера, отделенная от камеры 23 поршнем 22 гидроцилиндра 2. С противоположной стороны компенсационную камеру ограничивает стенка 24 корпуса гидроцилиндра 4. Герметичность компенсационной камеры обеспечивается уплотнительными элементами поршня 22 и гидроцилиндра 4.

[16]

На ступице 11 гидроцилиндра 2 установлена ступица 25 гидроцилиндра 4, которая имеет с ней шлицевое соединение. Для их соединения ступица 25 имеет внутреннюю шлицевую поверхность 26, соединенную с наружной шлицевой поверхностью 27, выполненной на полом конце 28 ступицы 11 гидроцилиндра 2. Ступица 25 закреплена на ступице 11 при помощи фиксатора 29, выполненного в виде резьбовой втулки, ввернутой в ступицу 11 гидроцилиндра 2. Резьбовая втулка фиксатора 29 имеет фланец, примыкающий к торцу ступицы 25 гидроцилиндра 4.

[17]

На торце ступицы 25 сделано радиальное углубление 30 (фигура 2), а фиксатор 29 снабжен буртиком 31. Буртик 31 имеет возможность пластического деформирования части его торца до образования изогнутого участка 32, размещаемого в радиальном углублении 30 торца ступицы 25, предотвращая вращение фиксатора 29. Фиксатор 29 через ступицу 25 и гидроцилиндр 4 поджимает пружины 33 (фигура 1), установленные между поршнем 22 гидроцилиндра 2 большей муфты 5 и гидроцилиндром 4 меньшей муфты 6.

[18]

Гидроцилиндр 4 меньшей муфты 6 содержит поршень 34, напротив которого установлены пружины 35. На ступице 25 гидроцилиндра 4 размещена деталь 36 в виде чаши, образующая опору для упомянутых пружин 35, установленных напротив поршня 34. Деталь 36 закреплена на ступице 25 гайкой 37 (фигура 3). Гайка 37 имеет на торце кольцевой выступ, образующий хвостовик 38 с пластически изогнутым участком, расположенным в продольном пазу 39 ступицы 25. Гайка 37 установлена на наружной резьбовой поверхности 40 ступицы 25 с возможностью перемещения в осевом направлении совместно с деталью 36.

[19]

Между поршнем 34 и стенкой корпуса гидроцилиндра 4 образована камера 41 (фигура 1). Герметичность камеры 41 обеспечивается уплотнительным элементом поршня 34. Напротив камеры 41 расположена компенсационная камера, отделенная от камеры 41 поршнем 34 гидроцилиндра 4. С противоположной стороны компенсационную камеру ограничивает деталь 36. Герметичность компенсационной камеры обеспечивается уплотнительными элементами поршня 34 и детали 36.

[20]

Сцепляющий узел трансмиссии транспортного средства установлен в полости 42 картера 43 коробки передач (фигура 1) и закрыт крышкой 44. Для проведения разборки сцепляющего узла его демонтируют из полости 42 картера 43 коробки передач при снятой крышке 44.

[21]

Разборку сцепляющего узла осуществляют в следующей последовательности (фигура 4). Снимают кольцо 45 и отсоединяют ведущий вал 1 от гидроцилиндра 2. Барабаны 13, 20 демонтируют из внутреннего пространства 3 между ведущим валом 1 и гидроцилиндром 2, обеспечивая доступ к фиксатору 29. Изогнутый участок буртика 31 выгибают из радиального углубления 30 торца ступицы 25, освобождая фиксатор 29 от стопорения. Фиксатор 29 выворачивают из полого конца 28 ступицы 11 гидроцилиндра 2. Гидроцилиндр 4 с фрикционной муфтой 6 в сборе отсоединяют от ступицы 11 гидроцилиндра 2 путем его перемещения в осевом направлении из внутреннего пространства 3. Затем вынимают пружины 33. В результате гидроцилиндр 4 меньшей муфты 6 в сборе отделяется от гидроцилиндра 2 большей муфты 5 в сборе, дальнейшую разборку которых производят подетально. Сборку сцепляющего узла осуществляют в обратной последовательности.

[22]

Сцепляющий узел трансмиссии транспортного средства работает при попеременной подаче рабочей жидкости под давлением в камеры 23, 41 гидроцилиндров 2, 4 соответственно в зависимости от включенной передачи в коробке передач.

[23]

При включении большей муфты 5 в камеру 23 гидроцилиндра 2 подается рабочая жидкость под давлением. Под воздействием давления рабочей жидкости поршень 22 перемещается в осевом направлении, сжимая пружины 33, и прижимает наружные диски 9 и внутренние диски 12 муфты 5 к опорному диску 7, удерживаемому от осевого перемещения стопорным кольцом 8. За счет действия сил трения между наружными дисками 9 и внутренними дисками 12 последние начинают также вращаться вместе с барабаном 13, передавая тем самым крутящий момент с ведущего вала 1 на входной вал 14 коробки передач. В момент включения муфты 5 при вращении гидроцилиндра 2 в камере 23, заполненной рабочей жидкостью, возникают центробежные силы, воздействующие на поршень 22. Для компенсации этих центробежных сил конструкцией сцепляющего узла предусмотрена компенсирующая камера, также заполненная рабочей жидкостью. Возникающие в этой камере центробежные силы действуют на поршень 22 с обратной стороны, уравновешивая таким образом центробежные силы, действующие в противоположном направлении. При отсутствии давления в камере 23 муфта 5 выключается. Пружины 33, разжимаясь, перемещают поршень 22 в исходное положение, расцепляя наружные диски 9 и внутренние диски 12 муфты 5. Вращение внутренних дисков 12 и барабана 13 прекращается, и входной вал 14 коробки передач отсоединяется от ведущего вала 1.

[24]

При включении меньшей муфты 6 рабочая жидкость подается под давлением в камеру 41 гидроцилиндра 4. Под воздействием давления рабочей жидкости поршень 34 перемещается в осевом направлении, сжимая пружины 35, и прижимает наружные диски 17 и внутренние диски 19 муфты 6 к опорному диску 15, удерживаемому от осевого перемещения стопорным кольцом 16. За счет действия сил трения между наружными дисками 17 и внутренними дисками 19 последние начинают также вращаться вместе с барабаном 20, передавая тем самым крутящий момент с ведущего вала 1 на входной вал 21 коробки передач. В момент включения муфты 6 при вращении гидроцилиндра 4 в камере 41, заполненной рабочей жидкостью, возникают центробежные силы, воздействующие на поршень 34. Для компенсации этих центробежных сил конструкцией сцепляющего узла предусмотрена компенсирующая камера, также заполненная рабочей жидкостью. Возникающие в этой камере центробежные силы действуют на поршень 34 с обратной стороны, уравновешивая таким образом центробежные силы, действующие в противоположном направлении. При отсутствии давления в камере 41 муфта 6 выключается. Пружины 35, разжимаясь, перемещают поршень 34 в исходное положение, расцепляя наружные диски 17 и внутренние диски 19 муфты 6. Вращение внутренних дисков 19 и барабана 20 прекращается, и входной вал 21 коробки передач отсоединяется от ведущего вала 1.

[25]

Таким образом, благодаря тому, что в сцепляющем узле трансмиссии транспортного средства, содержащем меньшую и большую многодисковые фрикционные муфты с гидравлическим управлением посредством гидроцилиндров, ступица гидроцилиндра меньшей муфты установлена на ступице гидроцилиндра большей муфты, связана с ней шлицевым соединением и закреплена на ней при помощи фиксатора, выполненного в виде резьбовой втулки, ввернутой в ступицу гидроцилиндра большей муфты и имеющей фланец с буртиком, примыкающий к торцу ступицы гидроцилиндра меньшей муфты, и вследствие выполнения на этом торце ступицы гидроцилиндра радиального углубления, в которое вставлен пластически изогнутый участок буртика, упрощаются работы по сборке и разборке сцепляющего узла и обеспечивается доступ к пружинам и уплотнительным элементам поршней гидроцилиндров большей и меньшей муфт, что позволяет проводить дефектовку и замену как отдельно изношенных деталей, так и сборочных единиц сцепляющего узла, что повышает его ремонтопригодность. При этом, благодаря тому, что на ступице гидроцилиндра меньшей муфты размещена и закреплена гайкой деталь, образующая опору пружин, установленных напротив поршня этого гидроцилиндра, а гайка имеет на торце хвостовик с пластически изогнутым участком, расположенным в продольном пазу, сделанном в ступице гидроцилиндра меньшей муфты, обеспечена возможность оптимизировать условия регулировки и параметры управления поршнем гидроцилиндра меньшей муфты, что способствует улучшению работоспособности сцепляющего узла.

Как компенсировать расходы
на инновационную разработку
Похожие патенты