патент
№ RU 2192694
МПК H01Q15/16

РЕФЛЕКТОР И УСТРОЙСТВО ДЛЯ ЕГО СБОРКИ

Авторы:
Санников А.Д.
Номер заявки
2000109741/09
Дата подачи заявки
17.04.2000
Опубликовано
10.11.2002
Страна
RU
Как управлять
интеллектуальной собственностью
Чертежи 
8
Реферат

[46]

Изобретения используются в конструкциях сборно-разборных рефлекторов и при их сборке. Техническим результатом является обеспечение высокой точности отражающей поверхности при минимальных производственных затратах. Сущность изобретения заключается в выполнении рефлектора из центральной кольцевой панели и боковых секторных кольцевых панелей, каждая панель трехслойная сотовая, в центральной панели установлены центрирующее кольцо и ряд присоединительных вкладышей, которые расположены концентрично относительно центрирующего кольца, боковые секторные панели соединены с центральной панелью и между собой посредством стоек кронштейнов, а основания кронштейнов установлены в каждой трехслойной сотовой панели. Устройство для сборки рефлектора состоит из стапеля с рабочей поверхностью двойной кривизны, рабочая поверхность стапеля выполнена выпуклой и совпадающей с рабочей поверхностью оправки для формования боковых секторных кольцевых панелей, направляющая выполнена в виде втулки с возможностью перемещения вдоль базовой оси оправки, прижимы выполнены в виде каркаса, который установлен на центральной кольцевой панели посредством ряда присоединительных вкладышей и центрирующего кольца 14 и на втулке через переходник. 2 с.п. ф-лы, 9 ил.

Формула изобретения

1. Рефлектор, состоящий из трехслойных сотовых панелей и установленных в них соединительных элементов, отличающийся тем, что рефлектор содержит центральную кольцевую и боковые секторные кольцевые трехслойные сотовые панели, при этом в центральной кольцевой трехслойной сотовой панели установлены центрирующее кольцо и ряд присоединительных вкладышей, при этом ряд присоединительных вкладышей расположен концентрично относительно центрирующего кольца, а боковые секторные кольцевые трехслойные сотовые панели соединены с центральной кольцевой трехслойной сотовой панелью и между собой посредством стоек кронштейнов, при этом основания кронштейнов установлены в каждой трехслойной сотовой панели.

2. Устройство для сборки рефлектора, состоящее из стапеля с рабочей поверхностью двойной кривизны, направляющей, расположенной в вершине стапеля по его оси, и прижимов, отличающееся тем, что рабочая поверхность стапеля выполнена выпуклой и совпадающей с рабочей поверхностью оправки для формования боковых секторных кольцевых трехслойных сотовых панелей, при этом направляющая выполнена в виде втулки с возможностью перемещения вдоль оси стапеля, кроме того, прижимы выполнены в виде каркаса, каркас установлен на центральной кольцевой трехслойной сотовой панели посредством ряда присоединительных вкладышей и центрирующего кольца и на втулке через переходник.

Описание

[1]

Изобретение относится к радиотехнике и может быть использовано в конструкциях сборно-разборных рефлекторов и при их сборке.

[2]

Известен рефлектор, содержащий центральную и боковые панели, соединенные с нею и между собой посредством винтовых узлов, каждый из винтовых узлов выполнен в виде кольцевого паза и резьбового отверстия, полого штифта и невыпадающего винта, а каждый винтовой узел, соединяющий две боковые панели, выполнен в виде штифта с резьбовым отверстием (а.с. СССР 1608768, H 01 Q 15/16, 1988г.).

[3]

Недостатками данного решения являются:
- проблемность обеспечения требуемой высокой точности отражающих поверхностей,
- применение конструктивно сложных и металлоемких узлов соединения панелей.

[4]

Указанные недостатки частично устраняются в известном рефлекторе, панели которого выполнены в виде наружных и внутренних трехслойных сотовых секторов, соединенных между собой посредством центрального и двух периферийных рядов вкладышей, вкладыши центрального ряда выполнены в виде трех обойм, а периферийных рядов - двух обойм, обоймы всех рядов установлены в трехслойных сотовых секторах, в рефлекторе дополнительно выполнен фланец, содержащий соединенные между собой основание и кольцо, центральный и периферийный ряды втулок, а кольцо и периферийный ряд втулок фланца установлены во внутренних трехслойных сотовых секторах (заявка 98105278/09 от 17.03.98, решение о выдаче патента РФ от 14.12.99, H 01 Q 15/16).

[5]

Однако и данный рефлектор имеет следующие недостатки:
- проблемность создания рецепторов диаметром раскрыва более 3 м в связи с уникальностью оборудования (печи типа АРП и токарно-карусельные станки),
- достижимая масса 1 кв.метра поверхности апертуры рефлектора 7,5-7,8 кг не приемлема для рефлекторов современных наземных следящих антенн высокой точности позиционирования.

[6]

Заявляемая конструкция рефлектора позволяет при минимальных производственных затратах обеспечить:
- высокую точность отражающих поверхностей крупногабаритных рефлекторов диаметром раскрыва 4-7 м (среднеквадратическое отклонение реальной отражающей поверхности от теоретической не более 0,5-0,75 мм),
- массу 1 кв.метра поверхности апертуры 5,0-5,2 кг,
- доставку панелей рефлектора на объект монтажа любым видом транспорта и гарантированную его собираемость в составе антенны.

[7]

Это достигается тем, что рефлектор, состоящий из трехслойных сотовых панелей и установленных в панелях соединительных элементов, содержит центральную кольцевую и боковые секторные кольцевые трехслойные сотовые панели, при этом в центральной кольцевой трехслойной сотовой панели установлены центрирующее кольцо и ряд присоединительных вкладышей, при этом ряд присоединительных вкладышей расположен концентрично относительно центрирующего кольца, а боковые секторные кольцевые трехслойные сотовые панели соединены с центральной кольцевой трехслойной сотовой панелью и между собой посредством стоек кронштейнов, при этом основания кронштейнов установлены в каждой трехслойной сотовой панели.

[8]

Наличие центральной кольцевой и боковых секторных кольцевых трехслойных сотовых панелей, установка в центральной кольцевой трехслойной сотовой панели центрирующего кольца и ряда присоединительных вкладышей, расположение ряда присоединительных вкладышей концентрично относительно центрирующего кольца позволяет решить проблему создания высокоточных крупногабаритных рефлекторов диаметром раскрыва 4-7 м при минимальных производственных затратах и обеспечить транспортабельность таких рефлекторов любым видов транспорта на объект монтажа.

[9]

Соединение боковых секторных кольцевых трехслойных сотовых панелей с центральной кольцевой трехслойной сотовой панелью и между собой посредством стоек кронштейнов, установка оснований кронштейнов в каждой трехслойной сотовой панели позволяет снизить массу 1 кв.метра поверхности апертуры рефлекторов в 1,5 раза при повышенной технологичности конструкции соединительных элементов панелей между собой и обеспечить гарантированную собираемость рефлектора в составе антенны.

[10]

Известно устройство для сборки рефлектора, состоящее из стапеля, выполненного в виде поверхности вращения двойной кривизны, направляющей, расположенной в вершине стапеля по его оси, и прижимов для установки элементов рефлектора на стапеле (а.с. СССР 1633474, H 01 Q 15/14, 1989).

[11]

Известное решение имеет следующие недостатки:
- проблемность обеспечения высокой точности сборки крупногабаритных рефлекторов диаметром раскрыва 4-7 м,
- сложность конструкции устройства и его высокая себестоимость,
- высокие трудоемкость и цикл сборки рефлекторов.

[12]

Заявляемое устройство для сборки рефлектора позволяет:
- обеспечить высокую точность сборки рефлекторов диаметром раскрыва 4-7 м (достижимое среднеквадратическое отклонение реальной отражающей поверхности от теоретической не более 0,5-0,75 мм),
- упростить конструкцию устройства и снизить себестоимость его изготовления в 2-3 раза,
- снизить трудоемкость и цикл сборки рефлекторов диаметром раскрыва 4-7 м в 1,5-2 раза.

[13]

Это достигается тем, что в устройстве для сборки рефлектора, состоящем из стапеля с рабочей поверхностью двойной кривизны, направляющей, расположенной в вершине стапеля по его оси, и прижимов, рабочая поверхность стапеля выполнена выпуклой и совпадающей с рабочей поверхностью оправки для формования боковых секторных кольцевых трехслойных сотовых панелей, при этом оправка установлена на стойке устройства для сборки, направляющая выполнена в виде втулки с возможностью перемещения вдоль оси стапеля, прижимы выполнены в виде каркаса, а каркас установлен на центральной кольцевой трехслойной сотовой панели посредством ряда присоединительных вкладышей и центрирующего кольца и на втулке через переходник.

[14]

Выполнение рабочей поверхности стапеля выпуклой и совпадающей с рабочей поверхностью оправки для формования боковых секторных кольцевых трехслойных сотовых панелей, установка оправки на стойке устройства для сборки позволяют повысить точность сборки рефлектора, упростить конструкцию устройства и процесс сборки рефлектора, снизить себестоимость изготовления устройства в 2-3 раза.

[15]

Выполнение направляющей в виде втулки с возможностью перемещения вдоль оси стапеля, выполнение прижимов в виде каркаса, установка каркаса на центральной кольцевой трехслойной сотовой панели посредством ее ряда присоединительных вкладышей и центрирующего кольца и на втулке через переходник обеспечивает сборку высокоточных крупногабаритных рефлекторов диаметром раскрыва 4-7 м, снижение трудоемкости и цикла сборки крупногабаритных рефлекторов в 1,5-2 раза.

[16]

Изобретение поясняется чертежами, где:
на фиг.1 изображен общий вид рефлектора,
на фиг.2 - сечение А-А на фиг.1,
на фиг.3 - сечение Б-Б на фиг.1,
на фиг.4 - сечение В-В на фиг.3,
на фиг.5 - сечение Г-Г на фиг.1,
на фиг.6 - сечение Д-Д на фиг.1,
на фиг.7 - сечение Е-Е на фиг.1,
на фиг. 8 - общий вид устройства для первоначальной сборки рефлектора с установленными нейтральной и боковой панелью 1,
на фиг.9 - вид А фиг.8.

[17]

Рефлектор выполнен сборно-разборным и состоит из центральной кольцевой панели 1 и боковых секторных кольцевых панелей 2, соединенных с центральной кольцевой панелью 1 и между собой через сборные (основание 3, стойка 4, винт 5) кронштейны посредством болтов 3 с шайбами 7, гаек 8 и штифтов 9.

[18]

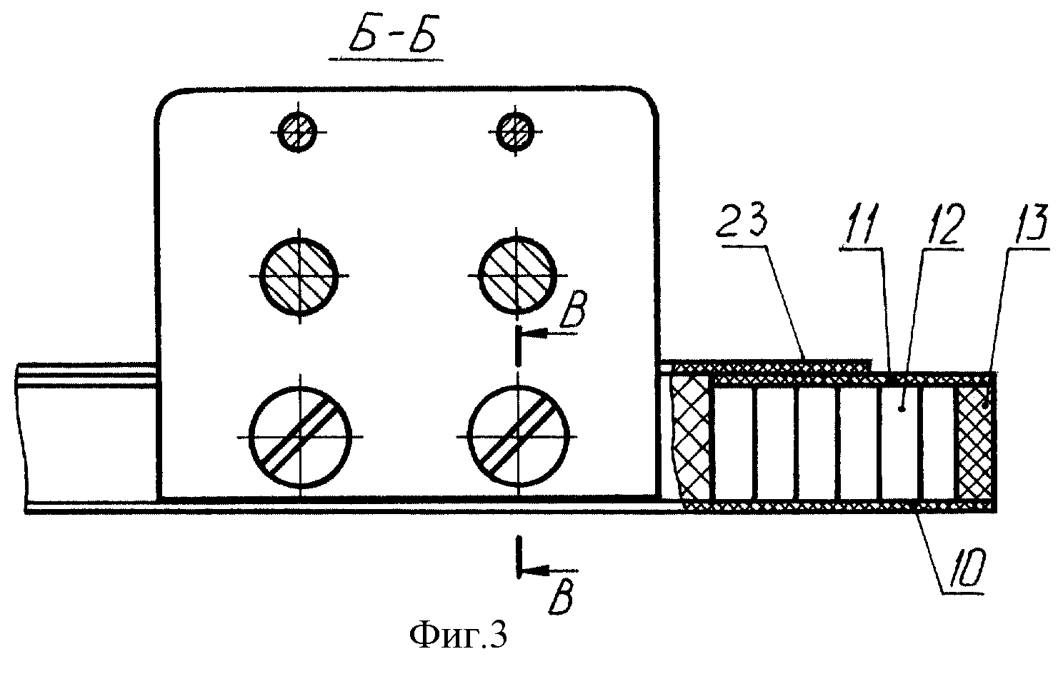
Каждая панель выполнена трехслойной в виде двух обшивок из углепластика - отражающей 10 и силовой 11, соединенных через клеевой состав сотозаполнителем 12. Соты до периферии панелей заполнены подкрепляющим слоем определенной ширины из полимерно-композиционной смеси (ИКС) 13.

[19]

Кронштейны установлены через клеевой состав в каждой трехслойной сотовой панели и подкреплены ПКС.

[20]

В центральной кольцевой панели предусмотрены установленные аналогично кронштейнам центрирующее кольцо 14 и ряд присоединительных периферичных вкладышей 15 для присоединения рефлектора к опорно-поворотному устройству следящей антенны.

[21]

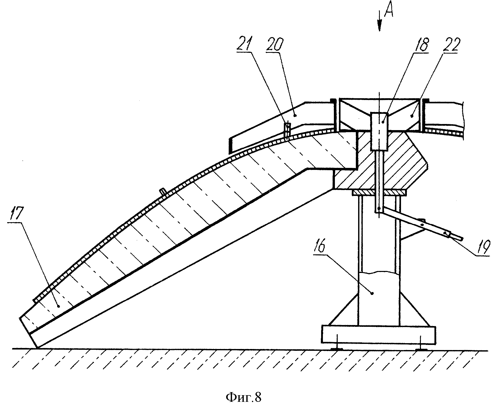
Устройство для сборки рефлектора состоит из стойки 16 и установленной на ней оправки 17, предназначенной для формования боковых секторных кольцевых трехслойных панелей, через втулку 18 с рычагом 19, установленную в свою очередь в базовом отверстии оправки 17, каркаса 20 с угольниками 21 для установки каркаса на центральной кольцевой панели через ряд присоединительных вкладышей 15 и центрирующего кольца 14, а также на втулке 18 через переходник 22.

[22]

Сборку рефлектора на устройстве осуществляют следующим образом.

[23]

1. Окончательно изготовленную центральную кольцевую трехслойную сотовую панель 1 (фиг.1) и изготовленные без кронштейнов пронумерованные по порядку боковые секторные кольцевые трехслойные сотовые панели 2 поставляют на участок первоначальной сборки рефлектора.

[24]

2. На подставку 16 устройства для сборки рефлектора (фиг.8) устанавливают секторную оправку 17, на которой были отформованы боковые секторные кольцевые панели.

[25]

3. Устанавливают втулку 18 в базовое отверстие секторной оправки 17.

[26]

4. Устанавливают и фиксируют на втулке 18 рычаг 19 и переходник 22.

[27]

5. Устанавливают и фиксируют каркас 20 на центральной кольцевой панели через угольники 21, присоединительные вкладыши 15 (фиг.7) и центрирующее кольцо 14 (фиг.6) центральной кольцевой панели.

[28]

6. Устанавливают полученную по переходу 5 сборку на секторную оправку 17 через переходник 22, совмещая штрихи 0-0, как это показано на фиг.9.

[29]

7. Устанавливают боковую секторную кольцевую панель 1 на секторную оправку 17, совмещая штрихи 0-0 панелей.

[30]

8. Проводят разметку боковой панели 1 под установку в ней двух кронштейнов (фиг.4), соответствующих установленным в центральной панели.

[31]

9. Снимают боковую панель 1 с секторной оправки 17.

[32]

10. Вскрывают на боковой панели 1 размеченные места установки кронштейнов со стороны силовой обшивки 11 до отражающей обшивки 10 (фиг.3).

[33]

11. Повторяет переход 7.

[34]

12. Устанавливают в боковую панель 1 через клеевой состав и ПКС 13 кронштейны, соединяя их с кронштейнами центральной панели посредством болтового и штифтового соединений (фиг.5).

[35]

13. Полимеризуют клеевой состав и ПКС в режиме холодного отверждения.

[36]

14. Отживают сборку (каркас, центральная панель, боковая панель 1) от оправки 17 посредством рычага 9 и поворачивают против часовой стрелки на 15o.

[37]

15. Устанавливают боковую панель 2 на секторную справку 17 с пристыковкой ее к центральной панели 1 и боковой панели 1.

[38]

16. Проводят разметку боковой панели 2 под установку в ней кронштейнов, соответствующих установленным в центральной панели, и совместную разметку боковых панелей 1 и 2 для установки кронштейнов между ними (фиг.3, 5).

[39]

17. Снимают боковую панель 2 с секторной оправки 17.

[40]

18. Вскрывают на боковой панели 2 размеченные места установки кронштейнов аналогично переходу 10.

[41]

19. Повторяют переход 15.

[42]

20. Устанавливают в боковые панели 1 и 2 через клеевой состав и ПКС 13 соответствующие кронштейны и соединяют их аналогично переходу 12 и 13.

[43]

21. Повторяют переходы 14-20 для остальных боковых панелей 3-10.

[44]

22. Устанавливают через клеевой состав на места установки кронштейнов боковых панелей (со стороны силовых оболочек) углепластиковые накладки 23 (фиг. 3) с последующей полимеризацией клеевого состава в режиме холодного отверждения.

[45]

23. Демонтируют рефлектор с устройства для его сборки и транспортируют рефлектор для проведения контрольных операций.

Как компенсировать расходы
на инновационную разработку
Похожие патенты