патент
№ RU 2422973
МПК H02K37/02
Номер заявки
2009149415/07
Дата подачи заявки
29.12.2009
Опубликовано
27.06.2011
Страна
RU
Как управлять
интеллектуальной собственностью
Чертежи 
3
Реферат

Изобретение относится к области электротехники, в частности к шаговым двигателям для систем автоматики различных технических объектов. Техническим результатом является повышение надежности работы шагового двигателя увеличением создаваемого момента вращения и упрощением конструкции, а также уменьшение габаритов и массы. Сущность изобретения: в шаговом двигателе, содержащем многополюсный ротор с соосным диском с распределенными вдоль его периферии постоянными магнитами чередующейся полярности и намагниченные параллельно его оси, обмотки возбуждения расположены с обеих сторон диска ротора параллельно оси вращения ротора с возможностью взаимодействия создаваемыми электромагнитными полями с обоими полюсами диаметрально размещенных в отверстиях диска магнитов, имеющих высоту, равную или превышающую толщину диска, при этом обмотки возбуждения каждой фазы размещены симметрично оси ротора, обмотки возбуждения разных фаз размещены с угловым шагом, кратным половине углового шага размещения магнитов на диске ротора, при этом коэффициент кратности одной фазы четный, второй - нечетный, диаметр полюсных наконечников сердечников обмоток возбуждения не меньше диаметра магнитов, но не превышает шага размещения магнитов. 2 з.п. ф-лы, 4 ил.

Формула изобретения

1. Шаговый двигатель, содержащий многополюсный ротор с соосным диском, имеющим распределенные вдоль его периферии и намагниченные параллельно их оси постоянные магниты чередующейся полярности, обмотку возбуждения с сердечником, магнитопроводами и полюсными наконечниками, отличающийся тем, что он снабжен дополнительными обмотками возбуждения, все обмотки возбуждения образуют две фазы возбуждения и расположены с обеих сторон диска параллельно его оси вращения с возможностью взаимодействия создаваемыми электромагнитными полями с обоими полюсами постоянных магнитов, диаметрально размещенных в отверстиях диска, при этом постоянные магниты имеют высоту, равную или превышающую толщину диска, а обмотки возбуждения каждой фазы размещены симметрично оси ротора.

2. Шаговый двигатель по п.1, отличающийся тем, что обмотки возбуждения разных фаз размещены с угловым шагом, кратным половине углового шага размещения магнитов на диске ротора, при этом коэффициент кратности одной фазы четный, второй - нечетный.

3. Шаговый двигатель по п.2, отличающийся тем, что диаметр полюсных наконечников сердечников обмоток возбуждения не меньше диаметра постоянных магнитов, но не превышает шага размещения постоянных магнитов на диске.

Описание

[1]

Изобретение относится к шаговым двигателям для систем автоматики различных технических объектов.

[2]

В настоящее время известны различные конструкции шаговых двигателей, однако они, обладая определенными недостатками, зачастую не могут быть использованы в указанных системах.

[3]

Известен шаговый двигатель нереверсивный, содержащий закрепленный на корпусе магнитопровод со стержнями и наконечниками, между которыми по окружности размещены магниты также с наконечниками. Между зубцами ротора имеются прямоугольные вырезы для взаимодействия с фиксирующими вырезами в наконечниках. Каждый из наконечников магнитов выполнен заодно с крышкой одного из подшипников, при этом плоскость симметрии ротора совмещена с плоскостью симметрии магнитопровода (патент РФ №2030077, Н02К 37/00, 1988).

[4]

Недостаток шагового двигателя заключается в том, что он имеет сложную конструкцию, малый диаметр ротора не позволяет обеспечить большой крутящий момент при работе, форма деталей также сложна и нетехнологична. Конструкция известного шагового двигателя не обеспечивает малые величины угловых шагов ротора и имеет значительные габариты и массу.

[5]

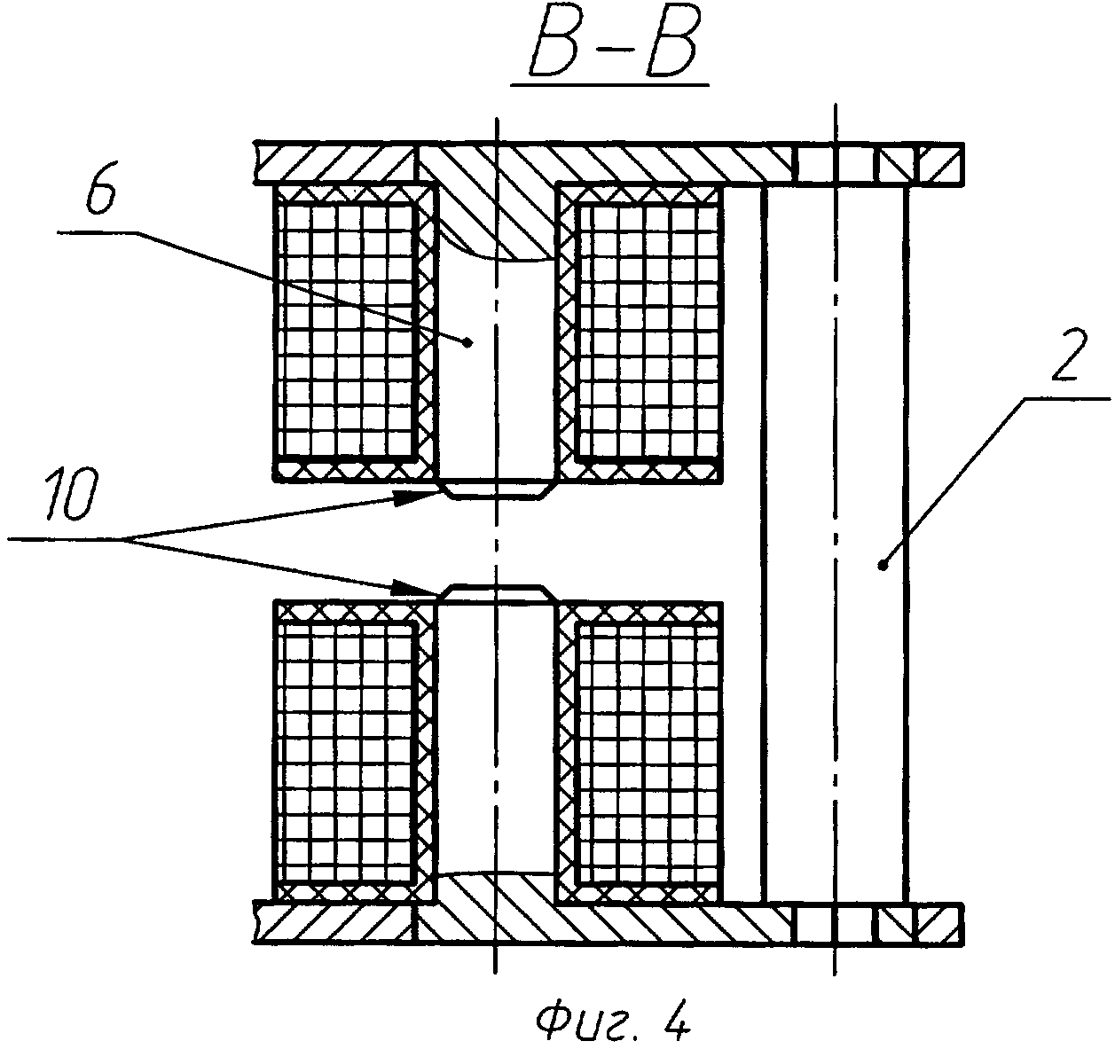
Все эти недостатки снижают надежность работы шагового двигателя и сужают области его применения.

[6]

Известен шаговый двигатель, содержащий многополюсный ротор с соосным диском, имеющим распределенные вдоль его периферии, намагниченные параллельно его оси постоянные магниты с чередующимися полюсами, обмотку возбуждения с сердечником, магнитопроводами и полюсными наконечниками.

[7]

Сердечник, на который установлена катушка, магнитно связывает полюсные наконечники с катушкой. Шаг зубцов полюсных наконечников отличен от шага полюсов ротора (патент РФ №2008757, Н02К 37/00, 1994).

[8]

Известный шаговый двигатель имеет протяженные магнитопроводы с винтовыми соединениями, в которых неизбежно будут потери и рассеивания энергии. Конструкция шагового двигателя не может быть скомпонована в малом объеме, малый диаметр ротора не позволяет обеспечить большой крутящий момент при работе, форма деталей требует для изготовления несколько специальных штампов.

[9]

Этот шаговый двигатель рассматривается в качестве прототипа как наиболее близкий по назначению и имеющий наибольшее количество общих существенных признаков с заявляемым шаговым двигателем.

[10]

Анализ конструкций известных шаговых двигателей позволяет сделать вывод, что известный уровень техники не обеспечивает создания высоконадежного шагового двигателя с упрощенной конструкцией и малыми габаритами, который мог бы работать в различных областях применения.

[11]

Задача, решаемая изобретением, - создание высоконадежного малогабаритного шагового двигателя с простой конструкцией.

[12]

Технический результат, получаемый при использовании изобретения, заключается в повышении надежности, выраженной в повышении создаваемого момента вращения при упрощении конструкции.

[13]

Сущность изобретения заключается в том, что шаговый двигатель, содержащий многополюсный ротор с соосным диском, имеющим распределенные вдоль его периферии и намагниченные параллельно их оси постоянные магниты чередующейся полярности, обмотку возбуждения с сердечником, магнитопроводами и полюсными наконечниками, согласно изобретению, снабжен дополнительными обмотками возбуждения, все обмотки возбуждения образуют две фазы возбуждения и расположены с обеих сторон диска параллельно его оси вращения с возможностью взаимодействия создаваемыми электромагнитными полями с обоими полюсами постоянных магнитов, диаметрально размещенных в отверстиях диска, при этом постоянные магниты имеют высоту, равную или превышающую толщину диска, а обмотки возбуждения каждой фазы размещены симметрично оси ротора.

[14]

Также согласно изобретению, для повышения надежности работы шагового двигателя, обмотки возбуждения разных фаз размещены с угловым шагом, кратным половине углового шага размещения постоянных магнитов на диске ротора, при этом коэффициент кратности одной фазы четный, второй - нечетный.

[15]

Кроме того, для повышения надежности диаметр полюсных наконечников сердечников обмоток возбуждения выбирается не меньшим диаметра постоянных магнитов, но не превышающим углового шага размещения постоянных магнитов.

[16]

Предлагаемое изобретение обеспечивает высокую надежность работы шагового двигателя увеличением создаваемого момента вращения и упрощением конструкции, а также уменьшение габаритов и массы.

[17]

Это достигается тем, что:

[18]

- введение в конструкцию шагового двигателя дополнительных обмоток возбуждения, образующих две фазы возбуждения и расположенных с обеих сторон диска параллельно его оси вращения с возможностью взаимодействия создаваемыми электромагнитными полями с обоими полюсами, диаметрально размещенных в отверстиях диска постоянных магнитов, позволяет обеспечить увеличение создаваемого момента вращения (следовательно и надежности работы шагового двигателя), так как магнитодвижущие силы, создаваемые обмотками возбуждения каждой фазы, прикладываются диаметрально и попарно (в четырех точках);

[19]

- расположение обмоток возбуждения параллельно оси вращения диска позволяет скомпоновать шаговый двигатель в малом объеме с использованием пространства, определяемого радиусом диска;

[20]

- расположение обмоток каждой фазы возбуждения диаметрально с обоих полюсов постоянных магнитов и выполнение постоянных магнитов с высотой, равной или превышающей толщину диска, позволяет создавать высокоэффективную электромагнитную систему с малыми потерями и рассеиваниями энергии, что повышает надежность работы шагового двигателя;

[21]

- размещение обмоток возбуждения каждой фазы симметрично оси ротора позволяет уменьшить воздействия на опоры ротора при его повороте, то есть повысить ресурс и надежность работы шагового двигателя;

[22]

- размещение обмоток возбуждения разных фаз с угловым шагом, кратным половине углового шага размещения постоянных магнитов на диске, при четном коэффициенте кратности для одной фазы и нечетным - для другой, позволяет обеспечить шаг поворота ротора, равный также половине углового шага размещения постоянных магнитов, то есть уменьшить шаг поворота;

[23]

- выполнение полюсных наконечников сердечников обмоток возбуждения диаметром не меньше диаметра постоянных магнитов, но не более углового шага размещения постоянных магнитов на диске, позволяет обеспечить имеющимися элементами магнитных цепей (постоянными магнитами и полюсными наконечниками сердечников обмоток возбуждения) определенность дискретных угловых положений ротора, а также его фиксацию при остановах как при наличии, так и при отсутствии напряжения на обмотках возбуждения.

[24]

Кроме того, в шаговом двигателе небольшое количество деталей, что также обеспечивает высокую надежность заявляемого шагового двигателя.

[25]

Наличие в заявляемом изобретении признаков, отличающих его от прототипа, позволяет считать его соответствующим условию «новизна».

[26]

Новые признаки, которые содержит отличительная часть формулы изобретения, не выявлены в технических решениях аналогичного назначения. На этом основании можно сделать вывод о соответствии заявляемого изобретения условию «изобретательский уровень».

[27]

Изобретение иллюстрируется чертежами.

[28]

На фиг.1 представлен осевой разрез шагового двигателя.

[29]

На фиг.2 - схема взаимодействия обмоток возбуждения и постоянных магнитов ротора.

[30]

На фиг.3 - вид Б на фиг.1, конструкция магнитопроводящих вкладышей.

[31]

На фиг.4 - разрез В-В на фиг.3, конструкция магнитной системы.

[32]

Шаговый двигатель содержит две крышки из магнитопроводящего металла, выполняющие функции магнитопроводов 1, закрепленные относительно друг друга стойками 2 из немагнитного металла. На выступах магнитопроводов 1 размещены катушки 3 с обмотками возбуждения 4, 5, образующими две фазы возбуждения. Выступы магнитопроводов 1 выполняют функции сердечников 6 обмоток возбуждения 4 и 5. В магнитопроводах 1 установлен поворотный ротор 7 с соосным диском 8. В отверстиях диска 8 по периферии диаметрально размещены постоянные магниты 9 чередующейся полярности, направления намагничивания которых параллельны оси ротора 7. Постоянные магниты 9 имеют высоту, равную или превышающую толщину диска 8. Обмотки возбуждения 4 и 5 расположены с обеих сторон диска 8 параллельно его оси вращения с возможностью взаимодействия создаваемыми электромагнитными полями с обоими полюсами постоянных магнитов 9. Диаметрально расположенные каждые четыре обмотки возбуждения 4 и 5 с обоих полюсов магнитов 9 образуют первую и вторую фазы возбуждения, соответственно. Обмотки возбуждения каждой фазы размещены симметрично оси ротора 7. Соседние постоянные магниты 9 намагничены в противоположных направлениях. Обмотки возбуждения 4 первой фазы возбуждения размещены относительно обмоток 5 второй фазы возбуждения на угол, кратный половине углового шага размещения постоянных магнитов 9 на диске 8, но не кратный шагу расположения постоянных магнитов 9, то есть коэффициент кратности одной фазы четный, второй - нечетный. Например, при 18 постоянных магнитах 9 обмотки возбуждения 4 и 5 могут быть расположены через 90°, в этом случае обмотки 4 первой фазы возбуждения совмещены с двумя магнитами 9, а обмотки 5 второй фазы возбуждения расположены между магнитами 9 или наоборот - в зависимости от того, на какие обмотки шагового двигателя последний раз было подано напряжение (фиг.1, 2).

[33]

Шаговый двигатель работает следующим образом.

[34]

Шаговый двигатель управляется последовательной поочередной подачей постоянного напряжения на обмотки 4, 5 первой и второй фаз возбуждения. Ротор 7 начнет пошаговый поворот при подаче напряжения на обмотки 4 или 5, с полюсными наконечниками 10 которых не совмещены постоянные магниты 9, при этом ротор 7 повернется на один угловой шаг ϕ, равный половине углового шага расположения магнитов 9 - до совмещения полюсных наконечников 10 этих обмоток с соседними магнитами 9. При подаче напряжения на обмотки другой фазы возбуждения ротор 7 повернется на очередной угловой шаг ϕ, также равный половине углового шага расположения магнитов 9, при этом шаг поворота всегда строго фиксирован. Далее процесс подачи постоянного напряжения на обмотки первой и второй фаз возбуждения повторяется.

[35]

Расположение магнитов 9 на максимальном радиусе увеличивает создаваемый момент поворота. Диаметральное расположение обмоток 4 и 5 с обоих полюсов магнитов 9 обеспечивает минимальную протяженность магнитопроводов 1, а следовательно, снижает потери энергии в магнитной системе и повышает надежность работы шагового двигателя.

[36]

Расположение обмоток возбуждения 4 и 5 параллельно оси вращения ротора 7 позволяет существенно уменьшить диаметр шагового двигателя без существенного увеличения его высоты.

[37]

Расположение обмоток 4 и 5 каждой фазы возбуждения диаметрально с обоих полюсов магнитов 9 и выполнение магнитов 9 с высотой, равной или превышающей толщину диска 8, также позволяет создавать высокоэффективную электромагнитную систему с малыми потерями и рассеиваниями энергии.

[38]

Размещение обмоток возбуждения 4 и 5 каждой фазы симметрично оси ротора 7 позволяет уменьшить воздействия на опоры 11 ротора 7.

[39]

Выполнение полюсных наконечников 10 сердечников 6 обмоток возбуждения 4 и 5 диаметром не меньше диаметра магнитов 9, но не более шага размещения магнитов 9 на диске 8 позволяет обеспечивать имеющимися элементами магнитных цепей (магнитами 9 и полюсными наконечниками 10 сердечников 6 обмоток возбуждения) определенность дискретных угловых положений неподвижного ротора 7, а также его фиксацию при остановах как при наличии, так и при отсутствии напряжения на обмотках возбуждения (фиг.2).

[40]

Для исключения взаимного влияния обмоток 4 и 5 различных фаз возбуждения их возможно магнитно соединить для организации отдельных магнитных цепей только магнитопроводящими вкладышами 12, при этом стойки 2 также должны выполняться из магнитопроводящего металла (фиг.3).

[41]

Шаговый двигатель может быть выполнен и с большим числом фаз, как и с большим количеством обмоток возбуждения в каждой фазе.

[42]

Таким образом, применение заявляемого шагового двигателя позволит:

[43]

- увеличить создаваемый момент поворота;

[44]

- упростить конструкцию;

[45]

- повысить надежность работы;

[46]

- уменьшить габариты и массу.

[47]

Следовательно, заявляемое изобретение соответствует условию «промышленная применимость».

Как компенсировать расходы
на инновационную разработку
Похожие патенты