патент
№ RU 2687892
МПК G01N1/28

Плоский металлический образец для механических испытаний

Авторы:
Морошкин Ярослав Владимирович Фигуровский Дмитрий Константинович Грама Владимир Сергеевич
Все (8)
Номер заявки
2018132106
Дата подачи заявки
07.09.2018
Опубликовано
16.05.2019
Страна
RU
Как управлять
интеллектуальной собственностью
Чертежи 
2
Реферат

Изобретение относится к области испытательной техники и может быть использовано для получения информации об изменении электромагнитных свойств металлических образцов при их механических испытаниях, например, на растяжение или степени усталости при циклических нагрузках. Плоский металлический образец для механических испытаний выполнен в виде вытянутой прямоугольной рабочей части и находящихся на его торцах головок, с закрепленными на их поверхности диэлектрическими пластинами, предназначенных для захвата зажимами испытательной машины. Каждая из головок на части своей длины выполнена с превышающими ширину зажимов испытательной машины выступами, служащими контактными площадками для электрического соединения образца с токовыми проводами источника тока блока измерения электропотенциального сигнала. Технический результат настоящего изобретения заключается в уменьшении погрешности измерения удельного электрического сопротивления образца в процессе его механических испытаниях. 1 з.п. ф-лы, 2 ил.

Формула изобретения

1. Плоский металлический образец для механических испытаний, выполненный в виде вытянутой прямоугольной рабочей части и находящихся на его торцах головок с закрепленными на их поверхности диэлектрическими пластинами, предназначенных для захвата зажимами испытательной машины, отличающийся тем, что каждая из головок на части своей длины выполнена с превышающими ширину зажимов испытательной машины выступами, служащими контактными площадками для электрического соединения образца с токовыми проводами источника тока блока измерения электропотенциального сигнала.

2. Плоский металлический образец для механических испытаний, по п. 1, отличающийся тем, что на контактных площадках выполнены отверстия для электрического соединения с токовым проводом через болтовое соединение.

Описание

[1]

Изобретение относится к области испытательной техники и может быть использовано для получения информации об изменении электромагнитных свойств металлических образцов при их механических испытаниях, например, на растяжение или степени усталости при циклических нагрузках.

[2]

Для оценки методами неразрушающего контроля технического состояния металла необходимо иметь взаимосвязь между механическими характеристиками металла (степенью усталости, уровнем механических напряжений, степенью деформации) и регистрируемыми соответствующими методами неразрушающего контроля свойствами металла.

[3]

Одним из наиболее эффективных и простых в реализации методов неразрушающего контроля, используемых для оценки технического состояния металла, является электропотенциальный метод неразрушающего контроля. Возможность его применения связана с тем, что удельное электрическое сопротивление металла в процессе циклической нагрузки, при деформации и с увеличением механических напряжений изменяется [Наумов Н.М., Микляев П.Г. Резистометрический неразрушающий контроль деформируемых алюминиевых сплавов. - М.: Металлургия, - 1974. - С. 166-172.]. Это отражается на распределении электрического потенциала на поверхности металла при пропускании по нему электрического тока. Измеряя величину электрического напряжения U12 между точками 1 и 2 на поверхности контролируемого участка (электропотенциальный сигнал) и имея взаимосвязь между величиной U12 и контролируемым механическим параметром Рм металла, можно оценить величину Рм на контролируемом участке.

[4]

Для получения зависимости U12=U12м) в процессе механических испытаний образца, по нему через токовые проводники, электрически соединенные с образцом, пропускают электрический ток известной величины и измеряют изменение электрического напряжения U12 между потенциальными электродами, электрически соединенными с поверхностью образца. Для проведения соответствующих измерений при механических испытаниях применяют различные типы образцов, в том числе, и плоские.

[5]

Известен плоский металлический образец для механических испытаний, выполненный в виде вытянутой прямоугольной рабочей части и находящихся на его торцах головок, предназначенных для захвата зажимами испытательной машины [ГОСТ 11701-84 Металлы. Методы испытаний на растяжение тонких листов и лент (с Изменениями №1, 2) Постановление Госстандарта СССР от 17.07.1984 №2514ГОСТ от 17.07.1984 №11701-841. Приложение 1, черт. 1 и 2.].

[6]

Головки могут иметь ту же ширину, что и рабочая часть образца или иметь большую ширину. Обычно переход от более широкой части головки к более узкой рабочей части образца выполняется плавно и имеет форму четверти окружности соответствующего радиуса. Наличие головок позволяет увеличить площадь механического контакта захвата испытательной машины с образцом, повышая надежность его фиксации. При этом ширина головки выбирается меньше и равной ширине захватов испытательной машины.

[7]

Недостаток известного образца состоит в невозможности обеспечения оптимальных условий измерения, достигаемых при равномерном распределении плотности тока по всей длине рабочей части образца и обеспечении ее стабильной величины в процессе измерений.

[8]

Это связано с тем, что электрический ток через известный образец во время испытаний может быть создан только с помощью проводов, подключаемых к его участкам, находящимся между головками. Соединение может выполнено, например, при помощи сварки или через зажимы.

[9]

При вводе тока в образец через приваренную к нему проволоку в зоне приварки нарушается однородность металла, что может стать концентратором механических напряжений. При малой площади приварки в зоне контакта возрастает плотность тока, что приводит к локальному перегреву, влияющему на измеряемую величину - удельную электрическую проводимость. При увеличении площади приварки возрастает неоднородность металла.

[10]

При вводе тока через зажимы надежность контакта в процессе испытаний уменьшается, так как по мере растяжения образца, он становится более тонким. Это приводит к необходимости выполнять контакт подпружиненным, что не обеспечивает необходимого усилия и неизменной площади контакта, достигаемой при болтовом соединении с образцом.

[11]

Также следует отметить, что потенциальные электроды необходимо размещать в зоне с равномерным распределением плотности тока, с целью исключения неоднозначности измерений. Для размещения потенциальных электродов в зоне с равномерным распределением плотности тока необходимо смещать соответствующие потенциальные электроды, находящиеся между точками ввода тока, на расстояние не менее ширины образца. Смещать потенциальные электроды относительно точек ввода тока необходимо и из-за неизбежного нагрева образца в точках ввода тока, так как величина пропускаемого тока, для обеспечения требуемой чувствительности, составляет порядка 10…20 А. В связи с необходимостью смещения потенциальных электродов относительно точек ввода тока допустимое расстояние между потенциальными электродами уменьшается, что приводит к уменьшению абсолютной чувствительности измерений, пропорциональной расстоянию между потенциальными электродами.

[12]

Следует отметить, что при закреплении известного образца между зажимами испытательной машины возникает вторая замкнутая электрическая цепь, шунтирующая образец. Эта цепь проходит через корпус машины и содержит детали, соединяемые между собой через подшипники, шарниры и т.п. Из-за этого электрическое сопротивление шунтирующей цепи при изменении нагрузки изменяется, так как изменяется давление между соединяемыми деталями. Это приводит к изменению шунтирующего тока Iш, а соответственно и тока через образец Iобр, так как измерения проводятся при работе источника в режиме тока, при котором ток создаваемый источником Iист=const и, следовательно, Iобр=Iист-Iш.

[13]

Отмеченные факторы оказывают существенное влияние на увеличение погрешности измерений, так как регистрируемая величина изменения напряжения между потенциальными электродами за счет изменения удельной электрической проводимости изменяется, как правило, не более, чем на десятые части процента.

[14]

Наиболее близок к изобретению по технической сущности плоский металлический образец для механических испытаний, выполненный в виде вытянутой вдоль одной из осей симметрии прямоугольной рабочей части и головок, с закрепленными на их поверхности диэлектрическими пластинами, предназначенных для захвата зажимами испытательной машины [Zhang S.J. Zhou С. Xia Q.X. Che S.M. Quantification and Characterization of Full Field Ductile Damage Evolution for Sheet Metals Using an Improved Direct Current Potential Drop Method. - Experimental Mechanics (2015), - pp. 611-621.].

[15]

При использовании данного образца для измерения изменения удельной электрической проводимости металла при растяжении, благодаря наличию на поверхности головок образца изолирующих диэлектрических пластин, исключается влияние шунтирующей цепи испытательной машины. Однако и этот известный образец не обеспечивает оптимальных условий измерения, достигаемых при равномерном распределении плотности тока по всей длине рабочей части образца, так как ввод тока в образец необходимо выполнять на части образца, находящейся между его головками.

[16]

Технический результат настоящего изобретения заключается в уменьшении погрешности измерения удельного электрического сопротивления образца в процессе его механических испытаниях.

[17]

Указанный технический результат в плоском металлическом образце для механических испытаний, выполненном в виде вытянутой прямоугольной рабочей части и находящихся на его торцах головок, с закрепленными на их поверхности диэлектрическими пластинами, предназначенных для захвата зажимами испытательной машины, достигается благодаря тому, что каждая из головок на части своей длины выполнена с превышающими ширину зажимов испытательной машины выступами, служащими контактными площадками для электрического соединения образца с токовыми проводами источника тока блока измерения электропотенциального сигнала.

[18]

Дополнительно указанный технический результат достигается благодаря тому, что на контактных площадках выполнены отверстия для электрического соединения с токовым проводом через болтовое соединение.

[19]

На фиг. 1 показан предлагаемый плоский металлический образец для механических испытаний, на фиг. 2 - вариант подключения образца к блоку измерения электропотенциального сигнала.

[20]

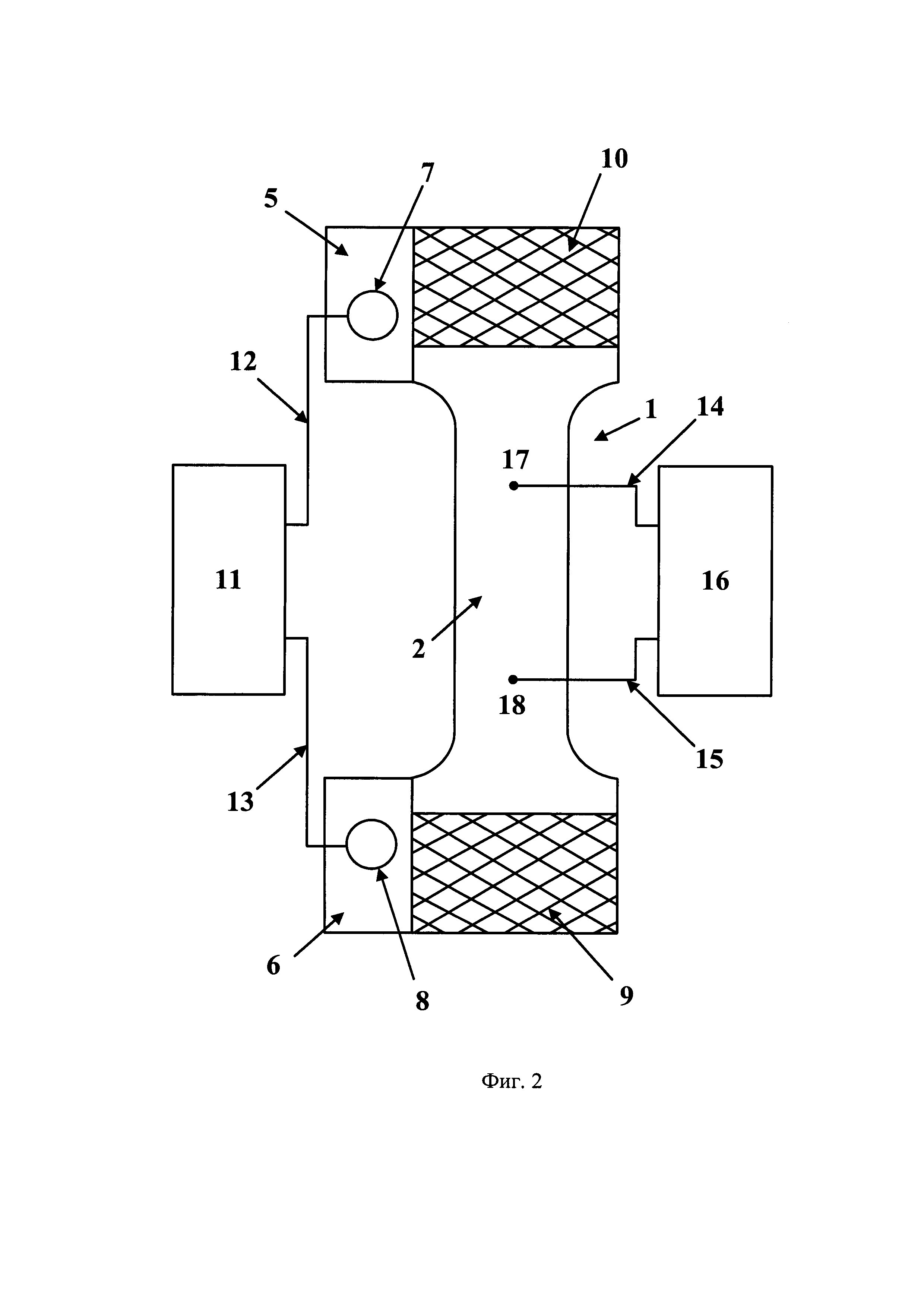
Предлагаемый плоский металлический образец 1 для механических испытаний, выполнен в виде вытянутой прямоугольной рабочей части 2 и находящихся на его торцах головок 3 и 4. Головки 3 и 4 на части своей длины выполнены с превышающими ширину зажимов испытательной машины выступами 5 и 6, соответственно, служащими контактными площадками для электрического соединения образца 1 с токовыми проводами, от блока измерения электропотенциального сигнала. На выступах 5 и 6 рекомендуется выполнить отверстия 7 и 8, соответственно, для надежного подключения токовых проводов к выступам 5 и 6 через болтовое соединения, обеспечивающее надежный электрический контакт. Выполнение отверстий на части образца 1 между головками 3 и 4 невозможно, так как они являлись бы концентраторами механических напряжений и влияли на исследуемые характеристики, в то время как отверстия на выступах 5 и 6 не подвержены механической нагрузке.

[21]

Для предотвращения протекания тока через корпус испытательной машины ее захваты должны быть электрически изолированы относительно образца 1. Для этого часть поверхности, по меньшей мере, одной головки, предназначенной для захвата зажимами испытательной машины, снабжена электрической изоляцией, размещенных на ее обеих поверхностях. На фиг. 1 показан вариант, когда электрическая изоляция, создаваемая диэлектрическими пластинами 9, 9' (9' размещена с тыльной стороны и не показана) и 10, 10' (10' размещена с тыльной стороны и не показана) наклеенными на обеих головках - 3 и 4 с каждой из сторон.

[22]

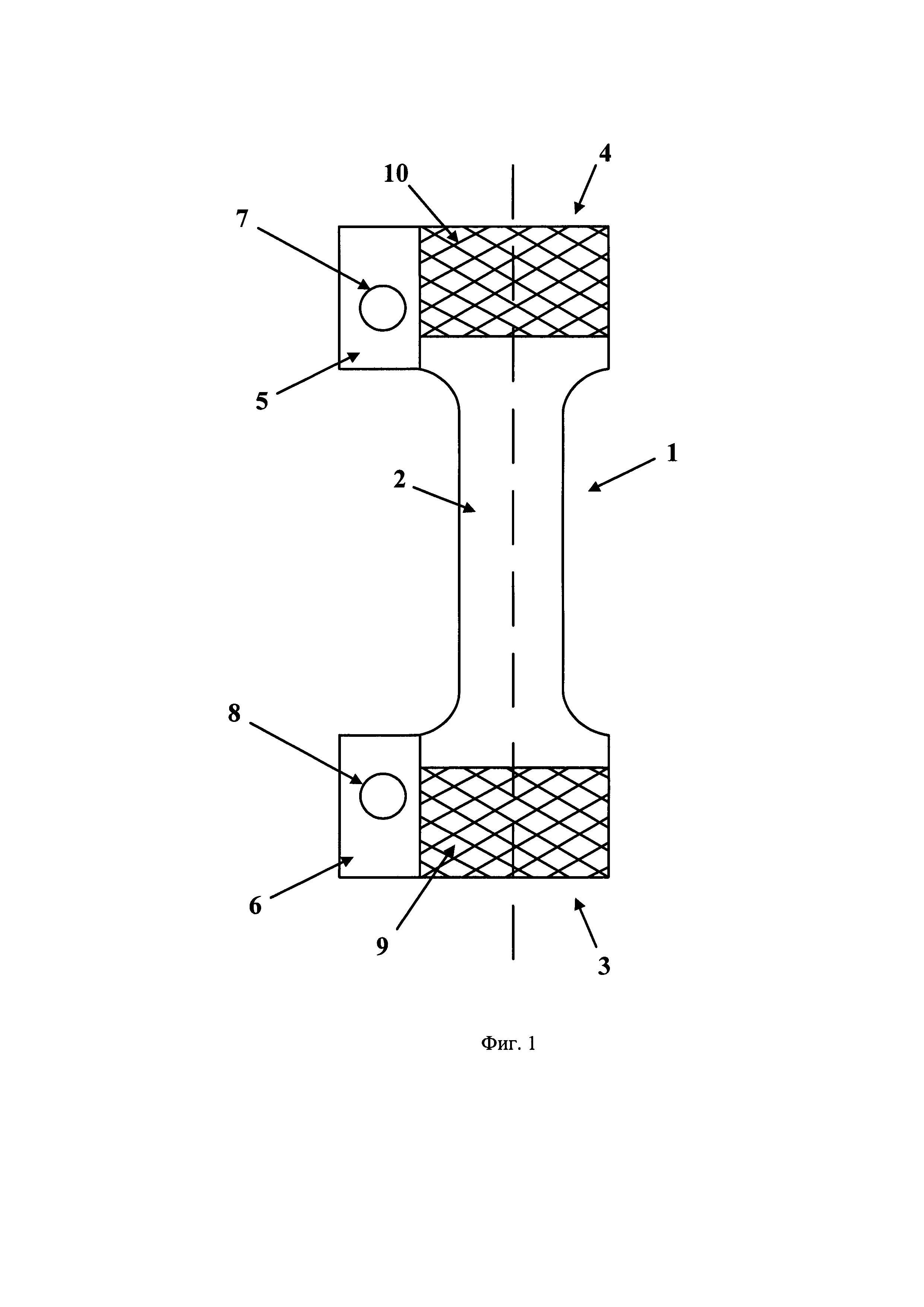
Предложенный плоский металлический образец 1 для механических испытаний используется следующим образом. Образец 1 размещается между зажимами испытательной машины (не показаны), при этом образец изолирован относительно машины наклеенными на него диэлектрическими пластинами 9, 9', 10, 10'. Источник тока 11 блока измерения электропотенциального сигнала через токовые провода 12 и 13 подключается к образцу 1. Для этого используются отверстия 7 и 8 на выступах 5 и 6, выходящих за части площадей головок 3 и 4 занятых захватами испытательной машины. Сигнальные провода 14 и 15, идущие от измерителя 16 блока электропотенциального измерителя сигнала, соединяются в точках 17 и 18 с рабочей частью 2 образца, например, с помощью контактной сварки. Так как ток по сигнальным проводам 14 и 15 пренебрежимо мал, контакт, обеспечиваемый контактной сваркой вполне достаточен.

[23]

Отметим, что токонесущие провода 13 и 14 могут быть выполнены жесткими и пространственно удалены от сигнальных проводов 14 и 15. Это обеспечивает слабую электромагнитную связь токовой и измерительных цепей, уменьшая уровень помех, возникающих при использовании переменного или импульсного тока.

[24]

В процессе испытаний к образцу 1 прикладывается растягивающая нагрузка от зажимов испытательной машины (не показана) и в процессе деформации регистрируется изменение электрического напряжения между точками 17 и 18, регистрируемого измерителем 16. Регистрируемое напряжение несет информацию об удельной электрической проводимости образца.

[25]

Техническое преимущество предлагаемого плоского металлического образца для механических испытаний состоит в обеспечении возможности измерения удельного электрического сопротивления образца с меньшей, чем у прототипа погрешностью при его механических испытаниях. Это достигается за счет создания надежного электрического контакта в специально созданных зонах образца на выступах его головок, не подвергающихся механической нагрузке при механических испытаниях. За счет этого обеспечивается равномерное распределение плотности тока более стабильной величины по всей длине рабочей части образца и исключение зон с локальным нагревом образца в зонах ввода тока, приводящим к паразитному изменению измеряемой удельной электрической проводимости.

Как компенсировать расходы
на инновационную разработку
Похожие патенты