патент
№ RU 2652665
МПК B62D5/00

Система и способ управления транспортным средством

Авторы:
Коноплев Сергей Валерьевич Дякин Павел Владимирович Духвалов Андрей Петрович
Все (6)
Номер заявки
2016148487
Дата подачи заявки
12.12.2016
Опубликовано
28.04.2018
Страна
RU
Как управлять
интеллектуальной собственностью
Чертежи 
6
Реферат

Изобретение относится к системам управления транспортным средством. Транспортное средство содержит по меньшей мере одно исполнительное средство и по меньшей мере одно средство измерения. Система управления транспортным средством содержит мобильное устройство, по меньшей мере одно средство безопасности. Мобильное устройство предназначено для управления исполнительным средством транспортного средства, при этом мобильное устройство формирует команды для управления исполнительным средством на основании данных, полученных от по меньшей мере одного средства измерения. Средство безопасности предназначено для подключения транспортного средства к мобильному устройству в качестве периферийного устройства, безопасной передачи данных от средства измерения транспортного средства к мобильному устройству и обеспечения безопасной передачи сформированных команд от мобильного устройства к исполнительному средству транспортного средства. Достигается повышение безопасности управления автомобилем с использованием мобильного устройства. 2 н. и 10 з.п. ф-лы, 6 ил.

Формула изобретения

1. Система управления транспортным средством, которое содержит по меньшей мере одно исполнительное средство и по меньшей мере одно средство измерения, при этом указанная система содержит:

- мобильное устройство, предназначенное для управления по меньшей мере одним исполнительным средством транспортного средства, при этом мобильное устройство формирует команды для управления по меньшей мере одним исполнительным средством на основании данных, полученных от по меньшей мере одного средства измерения;

- по меньшей мере одно средство безопасности, предназначенное для:

• подключения транспортного средства к мобильному устройству, при этом транспортное средство является периферийным устройством по отношению к мобильному устройству;

• безопасной передачи данных от по меньшей мере одного средства измерения транспортного средства к мобильному устройству;

• обеспечения безопасной передачи сформированных команд от мобильного устройства к по меньшей мере одному исполнительному средству транспортного средства.

2. Система по п. 1, в которой исполнительное средство представляет собой электронное исполнительное устройство.

3. Система по п. 1, в которой средство измерения представляет собой электронное устройство измерения.

4. Система по п. 1, в которой команда представляет собой блок данных, передаваемый по электронной шине транспортного средства.

5. Система по п. 1, в которой мобильное устройство содержит по меньшей мере один способ формирования команд управления по меньшей мере одним исполнительным средством транспортного средства.

6. Система по п. 1, в которой мобильное устройство содержит способы формирования команд управления всеми исполнительными средствами транспортного средства.

7. Способ управления транспортным средством, которое содержит по меньшей мере одно исполнительное средство и по меньшей мере одно средство измерения, в котором:

- подключают с помощью средства безопасности транспортное средство к мобильному устройству, при этом транспортное средство является периферийным устройством по отношению к мобильному устройству;

- выполняют с помощью средства безопасности безопасную передачу данных от по меньшей мере одного средства измерения к мобильному устройству;

- на основании полученных данных формируют с помощью мобильного устройства по меньшей мере одну команду управления по меньшей мере одним исполнительным средством;

- выполняют с помощью средства безопасности безопасную передачу сформированной команды управления от упомянутого мобильного устройства к упомянутому исполнительному средству.

8. Способ по п. 7, в котором исполнительное средство представляет собой электронное исполнительное устройство.

9. Способ по п. 7, в котором средство измерения представляет собой электронное устройство измерения.

10. Способ по п. 7, в котором команда представляет собой блок данных, передаваемый по электронной шине автомобиля.

11. Способ по п. 7, в котором мобильное устройство содержит по меньшей мере один способ формирования команд управления по меньшей мере одним исполнительным средством транспортного средства.

12. Способ по п. 7, в котором мобильное устройство содержит способы формирования команд управления всеми исполнительными средствами транспортного средства.

Описание

[1]

Область техники

[2]

Изобретение относится к решениям для управления транспортными средствами.

[3]

Уровень техники

[4]

В настоящее время вместе с развитием технологий бурно развивается автомобильная промышленность. В автомобили внедряются новые системы, позволяющие сделать управление автомобилем более комфортным. Обычно эти системы основаны на компьютерных технологиях. Различными системами автомобиля управляют блоки управления, которые в свою очередь содержат различные алгоритмы. Так, например, для соблюдения норм ЕВРО (ЕВРО-4, ЕВРО-5) автопроизводителям приходится оптимизировать не только двигатели, но и системы управления этими двигателями для обеспечения более экологичного выхлопа при неухудшении мощностных характеристик. Для более адаптивного хода оптимизируются системы управления коробками передач, которые адаптируются под стиль вождения, дорожные условия, погодные условия, переключая передачи плавнее или резче, подключая задние или передние колеса и изменяя момент передачи усилия между осями колес. Повсеместно внедряются более сложные системы, например система автоматизированной парковки (по датчикам, регистрирующим расстояние от автомобиля до препятствия), система-ассистент при движении (например, распознавание по камере положения автомобиля в полосе и в общем на дороге),система автоматизированного экстренного торможения (например, при обнаружении препятствия с помощью инфракрасных датчиков). Кроме того, набирают популярность электромобили, которые управляются при движении компьютерными системами, размещенными на борту автомобиля (описано в публикации «https://www.google.com/selfdrivingar/»).

[5]

Стоит отметить, что системы современных автомобилей содержат объекты управления (непосредственно механические части автомобиля, например двигатель или тормоза), блоки управления (электронные устройства, содержащие способы формирования команд управления), исполнительные устройства (например, реле и простые блоки, способные реагировать на команды от блока управления) и измерительные устройства (обычно датчики, способные передавать устройствам управления данные о состоянии объектов управления).

[6]

Зачастую все системы (и электронные устройства, входящие в состав систем) автомобиля подключены к общей шине и обмениваются данными друг с другом посредством данной шины, что еще более усложняет алгоритмы управления автомобилем.

[7]

Производители предоставляют возможности настройки автомобилей для водителей, но зачастую это требует специальных программно-аппаратных средств. Например, с помощью шины автомобиля можно изменять параметры прошивки (англ. firmware) блока управления автомобилем или обновлять прошивку целиком. Также подключившись к шине автомобиля, водитель с помощью мобильного телефона может сам увидеть все ошибки, которые содержатся в памяти блока управления, и принять решение о техническом состоянии автомобиля. Таким образом, существует тенденция для упрощения доступа к различным системам автомобиля, имеются технологии, когда более привычное пользователю устройство (например, мобильный телефон) подключается к автомобилю.

[8]

Так, публикация US 20140066039 A1 описывает систему повышения безопасности движения, в которой присутствует датчик и мобильное устройство. Мобильное устройство может быть подключено к автомобилю. Датчик следит за состоянием здоровья водителя, в случае отклонения каких-либо параметров выдается предупреждение. Кроме того, датчик может следить за жестами водителя (например, покачивание головой). В результате обработки таких жестов может быть выполнено какое-либо действие, например проигрывание другой музыкальной композиции. Управление жестами помогает повысить безопасность управления автомобилем.

[9]

Публикация US 20040257209 A1 описывает систему «анти-вор», при этом мобильное устройство с использованием технологии Bluetooth заменяет дистанционный пульт сигнализации.

[10]

Однако при упрощении доступа могут возникнуть проблемы с безопасностью, так как у злоумышленников появляются новые возможности подключения к автомобилю. Кроме того, вместе с внедрением новых систем также падает и безопасность автомобиля в целом. Автомобиль становится все более сложным, содержит множество блоков управления, зачастую блоки управления содержат различные компоненты, разработка управляющих алгоритмов ведется различными группами людей в различных средах. Не исключены ошибки и недоработки, а также различные уязвимости. С учетом того, что блоки управления подключены к общей шине, злоумышленник, подключившись к шине, может вывести из строя блоки управления или подменить алгоритмы управления, что намного снижает безопасность водителя при управлении автомобилем. Пример последствий подобного подключения описан в публикации «https://www.wired.com/2015/07/hackers-remotely-kill-jeep-highwav/».

[11]

По-прежнему автомобили регулярно угоняются злоумышленниками, недобросовестные продавцы легко «скручивают» пробеги, а из двух автомобилей (например, битого и угнанного) без каких-либо сложностей собирают один, который в дальнейшем и продают.

[12]

Для решения вышеописанных проблем можно использовать подход, в котором блоки управления автомобиля частично или полностью вынесены в мобильное устройство (например, в мобильный телефон), для защиты которого уже существует множество средств защиты, и постоянно появляются новые. В таком подходе автомобиль по-прежнему содержит набор систем, но не содержит блоков управления, по сути являясь периферийным устройством по отношению к мобильному устройству. При подключении автомобиля к мобильному устройству все системы автомобиля получают обычную функциональность. Подключение можно выполнять с помощью средства безопасности, гарантирующего безопасную передачу данных от мобильного устройства система автомобиля и обратно. Настоящее изобретение описывает систему и способ управления автомобилем, реализующие упомянутый выше подход.

[13]

Сущность изобретения

[14]

Технический результат настоящего изобретения заключается в обеспечении безопасного управления системами автомобиля с использованием мобильного устройства.

[15]

Согласно одному из вариантов реализации предоставляется система управления транспортным средством, которое содержит по меньшей мере одно исполнительное средство и по меньшей мере одно средство измерения, при этом указанная система содержит мобильное устройство, предназначенное для управления по меньшей мере одним исполнительным средством транспортного средства, при этом мобильное устройство формирует команды для управления по меньшей мере одним исполнительным средством на основании данных, полученных от по меньшей мере одного средства измерения; по меньшей мере одно средство безопасности, предназначенное для подключения транспортного средства к мобильному устройству; безопасной передачи данных от по меньшей мере одного средства измерения транспортного средства к мобильному устройству; обеспечения безопасной передачи сформированных команд от мобильного устройства к по меньшей мере одному исполнительному средству транспортного средства.

[16]

Согласно другому частному варианту реализации предлагается система, в которой исполнительное средство представляет собой электронное исполнительное устройство.

[17]

Согласно еще одному частному варианту реализации предлагается система, в которой средство измерения представляет собой электронное устройство измерения.

[18]

Согласно еще одному частному варианту реализации предлагается система, в которой команда представляет собой блок данных, передаваемый по электронной шине транспортного средства.

[19]

Согласно еще одному частному варианту реализации предлагается система, в которой мобильное устройство содержит по меньшей мере один способ формирования команд управления по меньшей мере одним исполнительным средством транспортного средства.

[20]

Согласно еще одному частному варианту реализации предлагается система, в которой мобильное устройство содержит способы формирования команд управления всеми исполнительными средствами транспортного средства.

[21]

Согласно еще одному частному варианту реализации предлагается способ, в котором подключают с помощью средства безопасности транспортное средство к мобильному устройству; выполняют с помощью средства безопасности безопасную передачу данных от по меньшей мере одного средства измерения к мобильному устройству; на основании полученных данных формируют с помощью мобильного устройства по меньшей мере одну команду управления по меньшей мере одним исполнительным средством; выполняют с помощью средства безопасности безопасную передачу сформированной команды управления от упомянутого мобильного устройства к упомянутому исполнительному средству.

[22]

Согласно еще одному частному варианту реализации предлагается способ, в котором исполнительное средство представляет собой электронное исполнительное устройство.

[23]

Согласно еще одному частному варианту реализации предлагается способ, в котором средство измерения представляет собой электронное устройство измерения.

[24]

Согласно еще одному частному варианту реализации предлагается способ, в котором команда представляет собой блок данных, передаваемый по электронной шине автомобиля.

[25]

Согласно еще одному частному варианту реализации предлагается способ, в котором мобильное устройство содержит по меньшей мере один способ формирования команд управления по меньшей мере одним исполнительным средством транспортного средства.

[26]

Согласно еще одному частному варианту реализации предлагается способ, в котором мобильное устройство содержит способы формирования команд управления всеми исполнительными средствами транспортного средства.

[27]

Краткое описание чертежей

[28]

Дополнительные цели, признаки и преимущества настоящего изобретения будут очевидными из прочтения последующего описания осуществления изобретения со ссылкой на прилагаемые чертежи, на которых:

[29]

Фиг. 1А изображает структуру систем автомобиля.

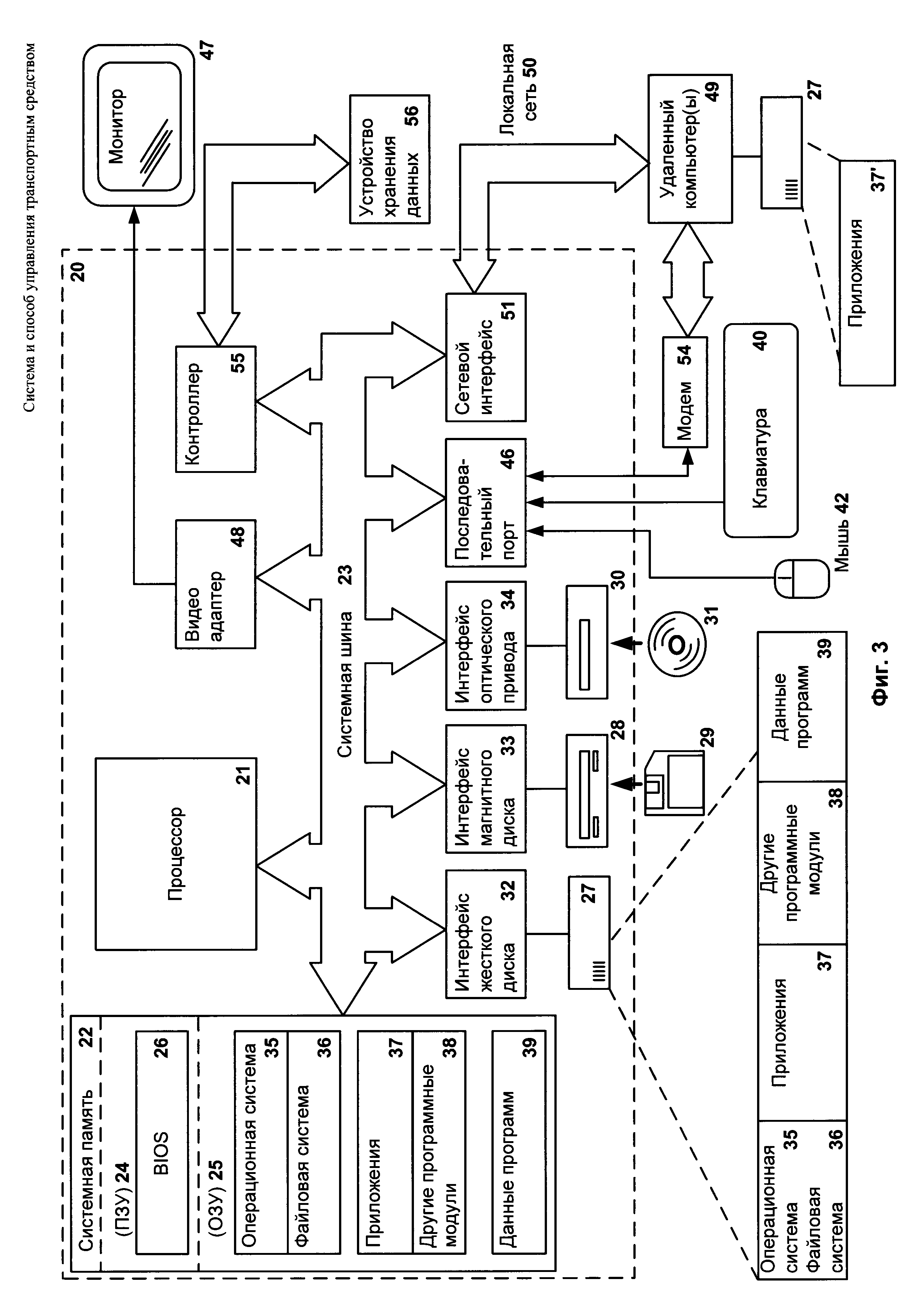
[30]

Фиг. 1Б изображает структуру системы управления автомобилем.

[31]

Фиг. 1В отображает варианты размещения средства безопасности.

[32]

Фиг. 1Г отображает пример выполнения мобильного устройства.

[33]

Фиг. 2 изображает схему способа управления автомобилем.

[34]

Фиг. 3 представляет пример компьютерной системы общего назначения, которая позволяет реализовать настоящее изобретение.

[35]

Описание вариантов осуществления изобретения

[36]

Объекты и признаки настоящего изобретения, способы для достижения этих объектов и признаков станут очевидными посредством отсылки к примерным вариантам осуществления. Однако настоящее изобретение не ограничивается примерными вариантами осуществления, раскрытыми ниже, оно может воплощаться в различных видах. Сущность, приведенная в описании, является ничем иным, как конкретными деталями, обеспеченными для помощи специалисту в области техники в исчерпывающем понимании изобретения, и настоящее изобретение определяется только в объеме приложенной формулы.

[37]

Введем ряд определений и понятий, которые будут использоваться при описании вариантов осуществления изобретения.

[38]

Исполнительное устройство - устройство системы автоматического управления или регулирования, воздействующее на процесс в соответствии с получаемой командной информацией (ГОСТ 14691-6). Под исполнительным устройством в теории автоматического управления понимают устройство, передающее воздействие с управляющего устройства на объект управления.

[39]

Объект управления - устройство или динамический процесс, управление поведением которого является целью создания системы автоматического управления.

[40]

Управляющее устройство - устройство, которое следит за состоянием объекта управления как системы и вырабатывает для нее управляющие сигналы. Управляющее устройство следит за изменением параметров объекта управления непосредственно, либо с помощью устройств измерения и реагирует на изменение параметров с помощью алгоритмов управления в соответствии с заданным качеством управления.

[41]

Стоит отметить, что настоящее изобретение применимо ко всем видам транспортных средств, использующих двигатели (двигатели внутреннего сгорания, водородные двигатели, электродвигатели) и содержащих по меньшей мере одно управляющее устройство. Далее по тексту транспортным средством будем называть автомобиль.

[42]

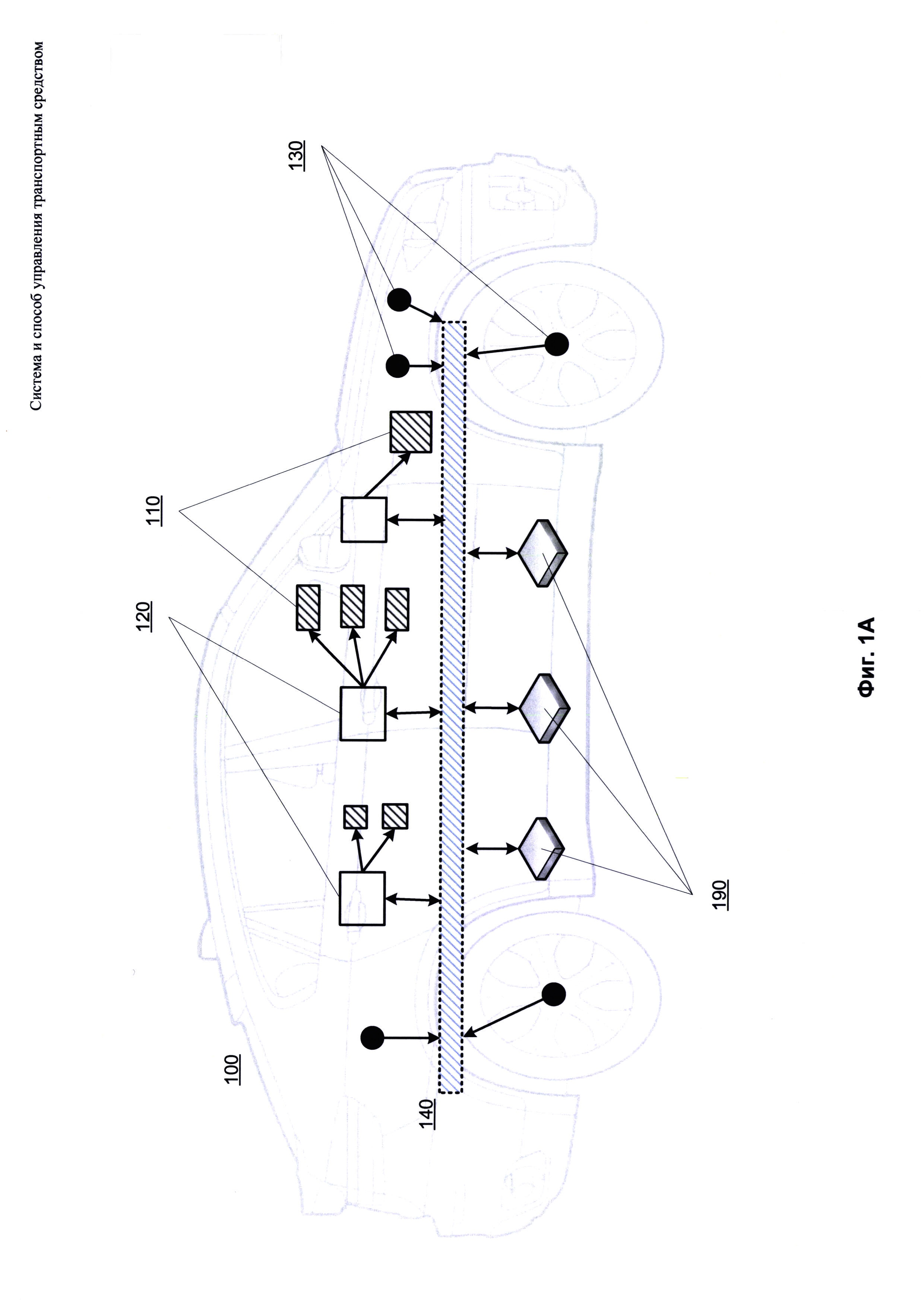
Фиг. 1А изображает структуру систем автомобиля.

[43]

В общем случае реализации настоящего изобретения автомобиль 100 содержит по меньшей мере один объект управления 110.

[44]

Объектом управления 110 в рамках настоящего изобретения может выступать какая-либо функциональная часть автомобиля в целом, например:

[45]

- двигатель;

[46]

- электродвигатель;

[47]

- автоматическая или роботизированная коробка передач;

[48]

- антиблокировочная система торможения (англ. Anti-lock Braking System, ABS);

[49]

- электроусилитель рулевого управления;

[50]

- гидроусилитель рулевого управления;

[51]

- и т.д.

[52]

В частном случае реализации объектом управления 110 может являться часть какой-либо функциональной части автомобиля, например:

[53]

- топливная система двигателя;

[54]

- система зажигания двигателя;

[55]

- система управления переключением передач;

[56]

- система курсовой устойчивости;

[57]

- электроклапан для регулирования усилия на насосе гидроусилителя и/или рулевой рейке (система изменения усилия на рулевом колесе в зависимости от скорости);

[58]

- индуктивный элемент для регулирования усилия на электрической рулевой рейке;

[59]

- и т.д.

[60]

Кроме того, для каждого объекта управления 110 автомобиль 100 содержит по меньшей мере одно электронное исполнительное средство 120. В общем случае исполнительным средством 120 является электронное исполнительное устройство (далее по тексту - исполнительное устройство), передающее воздействие с электронного управляющего устройства 190 (далее по тексту - управляющее устройство). Исполнительным устройством 120 в рамках настоящего изобретения является, например:

[61]

- реле;

[62]

- программируемая логическая интегральная схема (ПЛИС), запрограммированная на передачу воздействия однотипным объектам управления 110, при этом не имеющая собственных алгоритмов управления;

[63]

- аналогово-цифровой преобразователь (АЦП);

[64]

- цифроаналоговый преобразователь (ЦАП) и т.п.

[65]

Кроме того, в общем случае реализации автомобиль содержит по меньшей мере одно средство измерения 130. В общем случае средством измерения 120 является электронное устройство измерения (далее по тексту - устройство измерения). В рамках настоящего изобретения устройством измерения 130 может являться, например:

[66]

- датчик, имеющий любую известную из уровня техники реализацию и измеряющий любую известную из уровня техники характеристику (например, датчик температуры охлаждающей жидкости, датчик Холла);

[67]

- ПЛИС, преобразующая (например, кодирующая) тип (форму, частоту, амплитуду) сигнала датчика в другой тип, понятный управляющему устройству 190 (например, большинство современных датчиков массового расхода воздуха содержат АЦП внутри себя).

[68]

В общем случае реализации все исполнительные устройства 120 и все устройства измерения 130 подключены к электронной шине 140 (например, англ. Controller Area Network, CAN) автомобиля 100. В частном случае реализации к электронной шине 140 (далее - шина) автомобиля 100 подключена только часть исполнительных устройств 120 (например, реле звукового сигнала замыкается воздействием водителя на рулевое колесо, минуя шину CAN) и часть устройств измерения 130 (например, датчик уровня омывающей жидкости подключен к панели приборов напрямую).

[69]

В частном варианте реализации исполнительное устройство 120 автомобиля 100 передает посредством шины 140 результат выполнения команды (например, когда исполнительное устройство 120 реализовано в виде ПЛИС).

[70]

В общем случае автомобиль 100 также содержит управляющие устройства 190. Обычно управляющие устройства 190 содержат алгоритмы управления системами автомобиля и формируют команды управления (управляющие команды), которые передают исполнительным устройствам 120 посредством шины 140.

[71]

Примерами управляющих устройств 190 автомобиля 100 являются:

[72]

- электронный блок управления (англ. Electronic Control Unit, ECU),

[73]

- блок управления автоматической коробкой переключения передач,

[74]

- блок управления антиблокировочной системой торможения,

[75]

- головное устройство (англ. Head Unit),

[76]

- прочие.

[77]

Фиг. 1Б изображает структуру системы управления автомобилем. Управляющим устройством 190 в рамках настоящего изобретения является мобильное устройство 191. Мобильным устройством 191 может выступать смартфон, планшет, умный ключ (англ. smart-key), а также любое другое мобильное устройство, известное из уровня техники. В одном из вариантов реализации мобильное устройство 191 является модулем, который подключается к компьютерной системе общего назначения. В еще одном варианте реализации мобильное устройство 191 является модулем модульного устройства, например модульного смартфона. В частном случае реализации мобильное устройство 191 является мобильной компьютерной системой общего назначения (например, ноутбуком).

[78]

В общем случае реализации автомобиль 100 подключается к мобильному устройству 191, например, посредством упомянутой шины 140. Известно, что шина CAN для передачи данных использует кадры - блоки данных определенной структуры. Это позволяет мобильному устройству 191 принимать данные от устройств измерения 130 и передавать управляющие команды исполнительным устройствам 120. В общем случае реализации данные от устройств измерения 130 передаются блоками по шине 140 автомобиля 100. Кроме того, команда также представляет собой блок данных, передаваемый по шине 140 автомобиля 100. В одном из вариантов реализации мобильное устройство 191 содержит по меньшей мере один способ формирования команд управления по меньшей мере одним исполнительным устройством 120. В данном случае реализации автомобиль 100 не содержит по меньшей мере одно устройство управления 190. При этом мобильное устройство 191 формирует команды с использованием упомянутого способа формирования команд управления для управления исполнительным устройством 120 на основании данных, полученных от по меньшей мере одного устройства измерения 130.

[79]

В частном варианте реализации мобильное устройство 191 содержит способы формирования команд управления всеми исполнительными устройствами 120 автомобиля 100. При этом мобильное устройство 191 управляет (формирует команды управления) всеми исполнительными устройствами 120 автомобиля 100. Стоит отметить, что это - предпочтительный вариант реализации настоящего изобретения.

[80]

В данном случае автомобиль 100 не содержит устройств управления 190. Стоит отметить, что в общем варианте реализации в соответствии с вышеизложенным мобильное устройство 191 не передает команды управления другим устройствам управления 190, а передает их именно исполнительным устройствам 120.

[81]

В одном из вариантов реализации подключение автомобиля 100 к мобильному устройству 191 выполняется с использованием средства безопасности 150. При этом автомобиль 100 подключается к средству безопасности 150 посредством шины 140 автомобиля 100, а средство безопасности 150 к мобильному устройству 191. Примером подобной реализации является устройство с печатной платой, имеющей выход на шину 140 и разъем соединения с мобильным устройством 191. При этом на упомянутой печатной плате имеется процессор и защищенная (например, readonly) память для проверки подлинности мобильного устройства 191 и (опционально) автомобиля 100 посредством шины 140. В одном из вариантов реализации средство безопасности 150 также можно снимать с автомобиля 100 (отсоединять от шины 140). В другом варианте реализации средство безопасности 150 размещено внутри (является частью) мобильного устройства 191. Примером данного варианта реализации может являться использование защищенного чипа, размещенного внутри мобильного устройства 191, и специальное программное обеспечение, работающее с контейнерами безопасности (например, аналогично технологии KNOX) для проверки выполняемых действий со стороны приложений мобильного устройства 191. Другим примером реализации является использование гипервизора на мобильном устройстве 191, при этом гипервизор обеспечивает исполнение двух операционных систем: одна операционная система выполняет функции мобильного устройства 191, вторая работает в режиме реального времени (англ. real-time operating system, RTOS) и выполняет управление автомобилем 100.

[82]

На Фиг. 1В представлены варианты размещения средства безопасности.

[83]

В одном варианте реализации средство безопасности 150 размещено совместно с по меньшей мере одним исполнительным устройством 120. Например, внутри исполнительного устройства 120 или последовательно с одним или с несколькими исполнительными устройствами 120 таким образом, что исполнительное устройство 120 подключается к шине 140 автомобиля 100 посредством устройства безопасности 150. В частном варианте реализации - средство безопасности размещено совместно со всеми исполнительными устройствами 120 автомобиля 100. В еще одном варианте реализации средство безопасности 150 размещено совместно с по меньшей мере одним устройством измерения 130. В частном варианте реализации - совместно со всеми устройствами измерения 130 автомобиля 100. Примером упомянутых вариантов реализации может являться контроллер, размещенный в исполнительных устройствах 120 и устройствах измерения 130 и использующий защищенный чип, содержащий набор разрешенных политик, настроек и значений параметров.

[84]

В общем случае средство безопасности 150 выполняет безопасную передачу данных от устройства измерения 130 автомобиля 100 к мобильному устройству 191 и безопасную передачу команд от мобильного устройства 191 к исполнительному устройству 120 автомобиля 100. Безопасная передача в рамках настоящего изобретения гарантирует, что данные, переданные устройством измерения 130 к мобильному устройству 191, и команда, переданная от мобильного устройства 191 к исполнительному устройству 120, будут доставлены в неизменном и не подмененном виде, то есть не будут изменены или модифицированы, например, злоумышленниками или сторонними (англ. third party) устройствами, подключенными к шине 140 автомобиля 100.

[85]

Средство безопасности 150 может быть реализовано с использованием любого известного из уровня техники решения для обеспечения безопасной передачи данных. В одном из вариантов реализации могут быть использованы синхронные и асинхронные способы шифрования данных. Кроме того, средство безопасности 150 может быть реализовано как программно, так и аппаратно, а также программно-аппаратным комплексом. В одном из вариантов реализации средство безопасности 150 реализовано по принципу «черной коробки» (англ. black box), то есть в виде устройства, имеющего входы и выходы, но со скрытыми от третьих лиц способами обработки данных. Стоит отметить, что в вариантах реализации, когда средство безопасности 150 размещено совместно с устройствами измерения 130 и исполнительными устройствами 120 автомобиля 100, возможна проверка целостности настоящей системы управления. В результате проверки целостности средство безопасности 150 выявляет, не подключено ли к шине 140 автомобиля 100 неизвестное устройство. Данная проверка может проводиться с использованием пар ключей и известных из уровня техники способов шифрования. В случае, если неизвестных устройств, подключенных к шине 140 автомобиля 100, не выявлено, устройства безопасности, размещенные совместно с устройствами измерения 130 и исполнительными устройствами 120, не участвуют (отключаются или не выполняют функции шифрования и расшифровки) в работе системы до следующей проверки целостности.

[86]

В одном из вариантов реализации мобильное устройство 191 передает по меньшей мере один способ формирования команд по меньшей мере одному устройству безопасности 150.

[87]

В одном из вариантов реализации средство безопасности 150 передает результат выполнения команды от исполнительного устройства 120 автомобиля 100 к мобильному устройству 191.

[88]

Стоит отметить, что в частном варианте реализации к мобильному устройству 191 могут быть подключены несколько различных автомобилей 100, автомобили 100 могут быть подключены к мобильному устройству 191 как одновременно, так и поочередно (в отдельный временной интервал подключен только один автомобиль 100). Примером одновременного подключения является ситуация, когда, например, несколько автомобилей 100 прибыли на погрузчике, и с помощью одного мобильного устройства 191 выполняется управление их съездом с погрузчика (например, передаются команды поочередно или сразу всем автомобилям 100 с мобильного устройства 191). Примером поочередного подключения является ситуация, когда в семье есть одно мобильное устройство 191 у супруга, второе мобильное устройство 191 у супруги, а семья владеет тремя автомобилями 100. В одном из вариантов реализации автомобиль 100 становится связанным с мобильным устройством 191 (например, автомобиль 100 является периферийным устройством по отношению к мобильному устройству 191), то есть повторное подключение автомобиля 100 к мобильному устройству 191 происходит автоматически.

[89]

Фиг. 2 изображает схему способа управления автомобилем.

[90]

На начальном этапе 210 подключают с помощью средства безопасности 150 автомобиль 100, содержащий объекты управления 110, исполнительные средства 120 и средства измерения 130, к мобильному устройству 191. В общем случае исполнительное средство 120 представляет собой электронное исполнительное устройство, а средство измерения 130 представляет собой электронное устройство измерения. В общем случае все исполнительные устройства 120 и все устройства измерения 130 подключены к шине 140 автомобиля 100. В частном случае реализации к шине 140 автомобиля 100 подключена только часть исполнительных устройств 120 и часть устройств измерения 130.

[91]

В одном из вариантов реализации автомобиль 100 подключается к средству безопасности 150 посредством шины 140 автомобиля 100, а средство безопасности 150 к мобильному устройству 191. Средство безопасности 150 может быть реализовано с использованием любого известного из уровня техники решения для обеспечения безопасной передачи данных.

[92]

В одном из вариантов реализации мобильное устройство 191 содержит способ формирования команд управления по меньшей мере одним исполнительным устройством 120. В одном из вариантов реализации мобильное устройство 191 содержит способы формирования команд управления всеми электронными исполнительными устройствами 120 автомобиля 100.

[93]

На этапе 220 выполняют с помощью средства безопасности 150 безопасную передачу данных от упомянутого устройства измерения 130 к мобильному устройству 191. В общем случае реализации данные от устройств измерения 130 передаются блоками по шине 140 автомобиля 100.

[94]

На этапе 230 на основании полученных данных, используя упомянутый способ формирования команд управления, формируют с помощью мобильного устройства 191 команду управления по меньшей мере одним исполнительным устройством 130. В одном из вариантов реализации команда представляет собой блок данных, передаваемый по шине 140 автомобиля 100.

[95]

На этапе 240 выполняют с помощью средства безопасности 150 безопасную передачу сформированной команды управления от упомянутого мобильного устройства 191 к упомянутому исполнительному устройству 120.

[96]

Рассмотрим пример реализации настоящего изобретения.

[97]

Водитель подключает автомобиль 100 к мобильному устройству 191 с помощью средства безопасности 150 посредством беспроводного интерфейса. Двигатель автомобиля 100 заглушен, является бензиновым. Водитель нажимает кнопку открытия двери мобильном устройстве 191. Мобильное устройство 191 формирует команду для исполнительного устройства 120 (например, реле замка двери) и посылает ее, средство безопасности 150 передает команду на шину 140 автомобиля 100, исполнительное устройство 120 исполняет команду (реле замыкается), объект управления 110 в свою очередь также срабатывает (замок двери открывается). Далее, водитель садится в автомобиль 100, подключает автомобиль 100 к мобильному устройству 191 с помощью средства безопасности 150 посредством проводного интерфейса, мобильное устройство 191 рассылает команды для диагностики объектов управления 110 автомобиля 100 и получает в ответ данные о диагностике от устройств измерения 130 и исполнительных устройств 120. После водитель нажимает кнопку "Start-Stop". По данным датчика коленчатого вала (устройства измерения 130) мобильное устройство 191 определяет, что двигатель (объект управления 110) заглушен (например, нет вращения в течение одной секунды), формирует команду для реле стартера (исполнительного устройства 120). Реле стартера замыкается, стартер (объект управления 110) начинает вращение. Вместе со стартером вращение начинает и коленчатый вал двигателя автомобиля 100. Мобильное устройство 191 на основании данных от устройств измерения 130 (например, датчика коленчатого вала и датчика распределительного вала) формирует команды для исполнительных устройств 120 систем зажигания (например, импульс на катушку зажигания) и топливоподачи (импульс на топливную форсунку). Такая последовательность повторятся на каждом обороте двигателя до тех пор, пока двигатель не заведется. Дальнейшее управление объектами управления 110 с использованием команд для исполнительных устройств 120 автомобиля 100 мобильное устройство 191 осуществляет в подобном описанному выше порядке.

[98]

Фиг. 1В отображает пример выполнения мобильного устройства. Устройство 191 содержит следующие средства для реализации настоящего изобретения: средство аутентификации 301, средство хранения способов формирования команд управления 302, управляющий модуль 303, средство проверки безопасности выполнения 304, средство проверки безопасности движения 305 и одно или несколько средств формирования команд. Данные средства работают под управлением одной операционной система реального времени.

[99]

После того, как устройство 191 было подключено к средству безопасности 150, включается управляющий модуль 303 (может быть выполнен как в виде программной части, так и программно-аппаратной), который запускает модуль средство аутентификации 301. Средство 301 использует известный из уровня техники криптографические алгоритмы для аутентификации или подтверждения доступа к автомобилю 100 посредством средства 150 и с целью определения, к какому автомобилю 100 в настоящий момент подключено устройство 191. Средство хранения способов формирования команд управления 302 содержит известные способы формирования команд для управления исполнительными устройствами 120. Способы могут быть загружены из облачного сервиса 307 как конкретно под данный автомобиль 100, так и более обобщенные. Пользователь имеет право изменять данные способы формирования команд в рамках, которые задаются с помощью средства проверки безопасности движения 305. Примером подобных ограничений может быть ограничение скорости на дорогах общего пользования.

[100]

Для управления отдельным исполнительным устройством 120 управляющий модуль 303 создает (запускает) отдельное средство формирования команд 306. Предпочтительней вариант реализации данного средства - процесс в рамках операционной системы реального времени. Все средства 306 разделены между собой на уровне операционной системы, что позволит избежать атак, связанных с внедрением вредоносного кода в адресное пространство. Средство проверки безопасности выполнения 304 отслеживает все данные, которые поступают к средству 306 и команды, сформированные средством 306, для проверки целостности данных.

[101]

Сервер 307 может обновлять данные средства 302 и средства 305 (например, после обновления правил дорожного движения или для конкретной дороги/местности/автомобиля 100).

[102]

Фиг. 3 представляет пример компьютерной системы общего назначения, персональный компьютер или сервер 20, содержащий центральный процессор 21, системную память 22 и системную шину 23, которая содержит разные системные компоненты, в том числе память, связанную с центральным процессором 21. Системная шина 23 реализована, как любая известная из уровня техники шинная структура, содержащая в свою очередь память шины или контроллер памяти шины, периферийную шину и локальную шину, которая способна взаимодействовать с любой другой шинной архитектурой. Системная память содержит постоянное запоминающее устройство (ПЗУ) 24, память с произвольным доступом (ОЗУ) 25. Основная система ввода/вывода (BIOS) 26 содержит основные процедуры, которые обеспечивают передачу информации между элементами персонального компьютера 20, например, в момент загрузки операционной системы с использованием ПЗУ 24.

[103]

Персональный компьютер 20 в свою очередь содержит жесткий диск 27 для чтения и записи данных, привод магнитных дисков 28 для чтения и записи на сменные магнитные диски 29 и оптический привод 30 для чтения и записи на сменные оптические диски 31, такие как CD-ROM, DVD-ROM и иные оптические носители информации. Жесткий диск 27, привод магнитных дисков 28, оптический привод 30 соединены с системной шиной 23 через интерфейс жесткого диска 32, интерфейс магнитных дисков 33 и интерфейс оптического привода 34 соответственно. Приводы и соответствующие компьютерные носители информации представляют собой энергонезависимые средства хранения компьютерных инструкций, структур данных, программных модулей и прочих данных персонального компьютера 20.

[104]

Настоящее описание раскрывает реализацию системы, которая использует жесткий диск 27, сменный магнитный диск 29 и сменный оптический диск 31, но следует понимать, что возможно применение иных типов компьютерных носителей информации 56, которые способны хранить данные в доступной для чтения компьютером форме (твердотельные накопители, флеш карты памяти, цифровые диски, память с произвольным доступом (ОЗУ) и т.п.), которые подключены к системной шине 23 через контроллер 55.

[105]

Компьютер 20 имеет файловую систему 36, где хранится записанная операционная система 35, а также дополнительные программные приложения 37, другие программные модули 38 и данные программ 39. Пользователь имеет возможность вводить команды и информацию в персональный компьютер 20 посредством устройств ввода (клавиатуры 40, манипулятора «мышь» 42). Могут использоваться другие устройства ввода (не отображены): микрофон, джойстик, игровая консоль, сканнер и т.п. Подобные устройства ввода по своему обычаю подключают к компьютерной системе 20 через последовательный порт 46, который в свою очередь подсоединен к системной шине, но могут быть подключены иным способом, например, при помощи параллельного порта, игрового порта или универсальной последовательной шины (USB). Монитор 47 или иной тип устройства отображения также подсоединен к системной шине 23 через интерфейс, такой как видеоадаптер 48. В дополнение к монитору 47, персональный компьютер может быть оснащен другими периферийными устройствами вывода (не отображены), например колонками, принтером и т.п.

[106]

Персональный компьютер 20 способен работать в сетевом окружении, при этом используется сетевое соединение с другим или несколькими удаленными компьютерами 49. Удаленный компьютер (или компьютеры) 49 являются такими же персональными компьютерами или серверами, которые имеют большинство или все упомянутые элементы, отмеченные ранее при описании существа персонального компьютера 20, представленного на Фиг. 3. В вычислительной сети могут присутствовать также и другие устройства, например маршрутизаторы, сетевые станции, пиринговые устройства или иные сетевые узлы.

[107]

Сетевые соединения могут образовывать локальную вычислительную сеть (LAN) 50 и глобальную вычислительную сеть (WAN). Такие сети применяются в корпоративных компьютерных сетях, внутренних сетях компаний и, как правило, имеют доступ к сети Интернет. В LAN- или WAN-сетях персональный компьютер 20 подключен к локальной сети 50 через сетевой адаптер или сетевой интерфейс 51. При использовании сетей персональный компьютер 20 может использовать модем 54 или иные средства обеспечения связи с глобальной вычислительной сетью, такой как Интернет. Модем 54, который является внутренним или внешним устройством, подключен к системной шине 23 посредством последовательного порта 46. Следует уточнить, что сетевые соединения являются лишь примерными и не обязаны отображать точную конфигурацию сети, т.е. в действительности существуют иные способы установления соединения техническими средствами связи одного компьютера с другим.

[108]

В заключение следует отметить, что приведенные в описании сведения являются примерами, которые не ограничивают объем настоящего изобретения, определенного формулой. Специалисту в данной области становится понятным, что могут существовать и другие варианты осуществления настоящего изобретения, согласующиеся с сущностью и объемом настоящего изобретения.

Как компенсировать расходы
на инновационную разработку
Похожие патенты