патент
№ RU 2671822
МПК C10G47/22

УСТРОЙСТВО И СПОСОБ ДЛЯ ПЛАЗМОХИМИЧЕСКОГО ГИДРОКРЕКИНГА, А ТАКЖЕ УСТАНОВКА С ТАКИМ УСТРОЙСТВОМ

Авторы:
ТВЕРСКОЙ Владимир Семенович
Номер заявки
2018128013
Дата подачи заявки
31.07.2018
Опубликовано
07.11.2018
Страна
RU
Как управлять
интеллектуальной собственностью
Чертежи 
6
Реферат

Заявленное изобретение касается устройства и способа плазмохимического гидрокрекинга высококипящих углеводородов. Описано устройство для плазмохимического гидрокрекинга, содержащее реактор, имеющий корпус реактора, камеру для непрореагировавших углеводородов, камеру для прореагировавших углеводородов, рабочую камеру и перегородку, разделяющую камеру для непрореагировавших углеводородов и рабочую камеру, причем в перегородке имеются каналы для сообщения рабочей камеры с камерой для непрореагировавших углеводородов, плазмотрон, размещенный с возможностью подачи потока плазмы в рабочую камеру реактора, трубообразный элемент для окружения по меньшей мере части продольной протяженности потока плазмы внутри реактора, причем трубообразный элемент имеет наружную окружную стенку, внутреннюю окружную стенку и щелевое пространство между обеими окружными стенками, соединенное с подводом водородсодержащей среды, причем внутренняя окружная стенка имеет сквозные каналы для прохода водородсодержащей среды из щелевого пространства к потоку плазмы и тем самым определяет в рабочей камере зону смешения для смешивания потока плазмы и водородсодержащей среды, причем зона смешения вместе с перегородкой по меньшей мере частично определяют реакционную зону внутри рабочей камеры, имеющую сужение по типу газодинамического сопла, подвод для подачи жидких углеводородов в ограниченную перегородкой камеру непрореагировавших углеводородов, причем перегородка на своей стороне, обращенной к реакционной зоне рабочей камеры, образует поверхность для растекания слоя жидких углеводородов, отвод для полученных газообразных углеводородов, расположенный в камере для прореагировавших углеводородов, причем сужение реакционной зоны рабочей камеры расположено перед отводом для полученных газообразных углеводородов по ходу технологического потока, отвод для непрореагировавших жидких углеводородов, расположенный в камере для непрореагировавших углеводородов. Способ плазмохимического гидрокрекинга, осуществляемый с применением указанного устройства включает в себя следующие этапы: создание потока плазмы, ввод водородсодержащей среды в поток плазмы и их реакцию с получением вторичного водородсодержащего теплоносителя, ввод в реактор жидких углеводородов, воздействие вторичного водородсодержащего теплоносителя на слой жидких углеводородов для перегрева и взрывного вскипания и на полученную в результате взрывного вскипания парокапельную смесь с получением реагирующей парогазовой смеси из парокапельной смеси углеводородов и компонентов вторичного водородсодержащего теплоносителя, направление потока указанной реагирующей парогазовой смеси в выполненное по типу газодинамического сопла сужение и перемешивание компонентов смеси в указанном газодинамическом сопле с увеличением степени перемешивания по мере приближения к выходу газодинамического сопла и получением газообразных углеводородов, выпуск газообразных углеводородов из газодинамического сопла и тем самым их расширение, отвод газообразных углеводородов из реактора. Кроме того, описано изобретение, касающееся установки для плазмохимического гидрокрекинга, содержащей указанное устройство для плазмохимического гидрокрекинга. Технический результат - повышение интенсивности парообразования углеводородов при плазмохимическом гидрокрекинге и увеличение скорости перемешивания компонентов парообразных углеводородов и водородсодержащей среды со значительным ускорением скорости химических реакций этих компонентов. 3 н. и 19 з.п. ф-лы, 6 ил.

Формула изобретения

1. Устройство для плазмохимического гидрокрекинга, содержащее

реактор, имеющий корпус реактора, камеру для непрореагировавших углеводородов, камеру для прореагировавших углеводородов, рабочую камеру и перегородку, разделяющую камеру для непрореагировавших углеводородов и рабочую камеру, причем в перегородке имеются каналы для сообщения рабочей камеры с камерой для непрореагировавших углеводородов,

плазмотрон, размещенный с возможностью подачи потока плазмы в рабочую камеру реактора,

трубообразный элемент для окружения по меньшей мере части продольной протяженности потока плазмы внутри реактора, причем трубообразный элемент имеет наружную окружную стенку, внутреннюю окружную стенку и щелевое пространство между обеими окружными стенками, соединенное с подводом водородсодержащей среды, причем внутренняя окружная стенка имеет сквозные каналы для прохода водородсодержащей среды из щелевого пространства к потоку плазмы и тем самым определяет в рабочей камере зону смешения для смешивания потока плазмы и водородсодержащей среды, причем зона смешения вместе с перегородкой по меньшей мере частично определяют реакционную зону внутри рабочей камеры, имеющую сужение по типу газодинамического сопла,

подвод для подачи жидких углеводородов в ограниченную перегородкой камеру непрореагировавших углеводородов, причем перегородка на своей стороне, обращенной к реакционной зоне рабочей камеры, образует поверхность для растекания слоя жидких углеводородов,

отвод для полученных газообразных углеводородов, расположенный в камере для прореагировавших углеводородов, причем сужение реакционной зоны рабочей камеры расположено перед отводом для полученных газообразных углеводородов по ходу технологического потока,

отвод для непрореагировавших жидких углеводородов, расположенный в камере для непрореагировавших углеводородов.

2. Устройство по п.1, отличающееся тем, что плазмотрон расположен вертикально или под углом к горизонтали.

3. Устройство по п.1, отличающееся тем, что трубообразный элемент выполнен в виде отдельной части, устанавливаемой в реакторе.

4. Устройство по п.1, отличающееся тем, что трубообразный элемент выполнен за одно целое с корпусом реактора.

5. Устройство по п.1, отличающееся тем, что перегородка выполнена в виде чаши.

6. Устройство по п.1, отличающееся тем, что перегородка выполнена в виде плоской пластины.

7. Устройство по п.1, отличающееся тем, что газодинамическое сопло выполнено в виде кольцевого газодинамического сопла с центральным телом, плоского щелевого сопла, трубчатого или конического осесимметричного сопла.

8. Устройство по п.1, отличающееся тем, что сопло образовано в перегородке.

9. Устройство по п.1, отличающееся тем, что сопло образовано перегородкой и трубообразным элементом.

10. Устройство по п.1, отличающееся тем, что сопло образовано с помощью расположенных внутри реактора внутренних стенок.

11. Устройство по п.1, отличающееся тем, что в нем предусмотрен сепаратор, который сообщается с упомянутым отводом для отвода газообразных углеводородов и служит для разделения полученных горячих газообразных углеводородов посредством конденсации.

12. Устройство по п.1, отличающееся тем, что предусмотрен дополнительный подвод для подвода водородсодержащей среды в зону смешения непосредственно или через трубообразный элемент.

13. Способ плазмохимического гидрокрекинга, осуществляемый с применением устройства по п. 1, включающий в себя следующие этапы:

создание потока плазмы,

ввод водородсодержащей среды в поток плазмы и их реакция с получением вторичного водородсодержащего теплоносителя,

ввод в реактор жидких углеводородов,

воздействие вторичного водородсодержащего теплоносителя на слой жидких углеводородов для перегрева и взрывного вскипания и на полученную в результате взрывного вскипания парокапельную смесь с получением реагирующей парогазовой смеси из парокапельной смеси углеводородов и компонентов вторичного водородсодержащего теплоносителя,

направление потока указанной реагирующей парогазовой смеси в выполненное по типу газодинамического сопла сужение и перемешивание компонентов смеси в указанном газодинамическом сопле с увеличением степени перемешивания по мере приближения к выходу газодинамического сопла и получением газообразных углеводородов,

выпуск газообразных углеводородов из газодинамического сопла и тем самым их расширение,

отвод газообразных углеводородов из реактора.

14. Способ по п.13, отличающийся тем, что он включает в себя этап предварительного нагрева жидких углеводородов перед их подачей в реактор.

15. Способ по п.13, отличающийся тем, что отводимые из реактора непрореагировавшие углеводороды вновь возвращают в реактор на обработку.

16. Способ по п.13, отличающийся тем, что отводимые из реактора газообразные углеводороды разделяют на конденсируемые и неконденсируемые продукты.

17. Способ по п.16, отличающийся тем, что по меньшей мере часть конденсируемых или неконденсируемых продуктов возвращают обратно в реактор в качестве водородсодержащей среды для ввода в поток плазмы.

18. Способ по п.16, отличающийся тем, что по меньшей мере часть неконденсируемых продуктов отводят в качестве целевого продукта.

19. Способ по п.16, отличающийся тем, что по меньшей мере часть конденсируемых продуктов отводят в качестве целевого продукта.

20. Способ по п.16, отличающийся тем, что часть конденсируемых продуктов возвращают обратно в реактор в качестве жидких углеводородов для повторной обработки.

21. Установка для плазмохимического гидрокрекинга, включающая в себя по меньшей мере одно устройство для плазмохимического гидрокрекинга по п.1.

22. Установка по п.21, отличающаяся тем, что она смонтирована внутри транспортного контейнера.

Описание

[1]

Заявленное изобретение касается устройства и способа плазмохимического гидрокрекинга высококипящих углеводородов. Кроме того, изобретение касается установки для плазмохимического гидрокрекинга, содержащей указанное устройство для плазмохимического гидрокрекинга.

[2]

В качестве примера подобного рода технологии можно рассматривать публикацию RU 2 411 286. В этой публикации раскрыто устройство для плазменного гидрокрекинга, которое содержит реактор с трубчатым корпусом, плазмотрон, подвод углеводородов в нижнюю часть реактора, отвод непрореагировавших жидких углеводородов из реактора, отвод полученных газообразных углеводородов из реактора. В реакторе предусмотрена перегородка, которая разделяет реактор на нижнюю и верхнюю камеры. Через перегородку с зазором проходит подвод (труба) для подачи водяного газа (пара), а через указанный зазор между трубой и перегородкой из нижней камеры реактора в верхнюю камеру поступают жидкие углеводороды. Водяной пар через подвод для подачи водяного газа в противотоке подается в поток плазмы так, что поток плазмы конусообразно расходится и попадает точно на кольцеобразный зазор, через который поступают жидкие углеводороды.

[3]

Указанное устройство направлено на конструктивное отделение источника водяного газа от плазмотрона, что реализовано за счет расположения плазмотрона и подвода водяного пара на разных сторонах реактора.

[4]

При этом в RU 2 411 286 дополнительно отмечено, что водяной пар является не только средством для изменения направления потока плазменной струи с осевого на радиальный, но и служит в качестве источника дополнительных ионов, получаемых в результате пиролиза водяного газа при столкновении с плазменным потоком, что в свою очередь по мнению авторов должно повысить интенсивность процесса гидрокрекинга.

[5]

Однако, данному решению присущ недостаток, состоящий в низкой производительности ввиду перевода углеводородов в парообразное состояние в процессе испарения, интенсивность которого значительно уступает процессу кипения.

[6]

Эта проблема признается и самими авторами решения согласно RU 2 411 286, которые в своей последующей разработке, раскрытой в RU 2 574 732 попытались решить эту проблему за счет изменения принципа работы устройства. Согласно RU 2 574 732 вода распыляется потоком плазмы так, что в виде отдельных капель попадает на поверхность жидких углеводородов. За счет этого образуются микрозоны с перепадом температур между поверхностным слоем углеводородов и водой, что приводит к появлению по границам таких зон углеводородных молекул с более высокой кинетической энергией, чем у соседних молекул воды, что, в свою очередь, приводит к разрыву межмолекулярных связей и испарению этих углеводородных молекул.

[7]

Однако, данный процесс носит лишь локальный характер и связан с дополнительными сложностями по поддержанию необходимых специфических условий для непрерывного протекания процесса испарения. Соответственно, данное решение также не обеспечивает должной интенсивности парообразования углеводородов.

[8]

Кроме того, проблема невысокой интенсивности процесса из-за неэффективного процесса испарения в обоих известных решениях усугубляется недостаточной скоростью реакции парообразных углеводородов и ионов плазмы/водяного пара (расщепление и гидрирование). Это обусловлено незначительным временем воздействия для осуществления этих реакций из-за быстрого вывода продуктов из зоны реакции и высоким затухающим эффектом протекающих в парообразной смеси химических реакций, связанных с незначительным перемешиванием компонентов парообразной смеси.

[9]

Задача настоящего изобретения состоит в разработке решения, которое позволило бы повысить интенсивность парообразования углеводородов при плазмохимическом гидрокрекинге и обеспечить увеличенную скорость перемешивания компонентов парообразных углеводородов и водородсодержащей среды и тем самым значительно ускорить скорость химических реакций этих компонентов.

[10]

Указанная задача решается с помощью устройства для плазмохимического гидрокрекинга, содержащего

[11]

реактор, имеющий корпус реактора, камеру для непрореагировавших углеводородов, камеру для прореагировавших углеводородов, рабочую камеру и перегородку, разделяющую камеру для непрореагировавших углеводородов и рабочую камеру, причем в перегородке имеются каналы для сообщения рабочей камеры с камерой для непрореагировавших углеводородов,

[12]

плазмотрон, размещенный с возможностью подачи потока плазмы в рабочую камеру реактора,

[13]

трубообразный элемент для окружения по меньшей мере части продольной протяженности потока плазмы внутри реактора, причем трубообразный элемент имеет наружную окружную стенку, внутреннюю окружную стенку и щелевое пространство между обеими окружными стенками, соединенное с подводом водородсодержащей среды, причем внутренняя окружная стенка имеет сквозные каналы для прохода водородсодержащей среды из щелевого пространства к потоку плазмы и тем самым определяет в рабочей камере зону смешения для смешивания потока плазмы и водородсодержащей среды, причем зона смешения вместе с перегородкой по меньшей мере частично определяют реакционную зону внутри рабочей камеры, имеющую сужение по типу газодинамического сопла,

[14]

подвод для подачи жидких углеводородов (называемых также сырьем или исходными углеводородами) в ограниченную перегородкой камеру непрореагировавших углеводородов, причем перегородка на своей стороне, обращенной к реакционной зоне рабочей камеры, образует поверхность для растекания слоя жидких углеводородов,

[15]

отвод полученных газообразных углеводородов, расположенный в камере для прореагировавших углеводородов, причем сужение реакционной зоны рабочей камеры расположено перед отводом полученных газообразных углеводородов по ходу технологического потока,

[16]

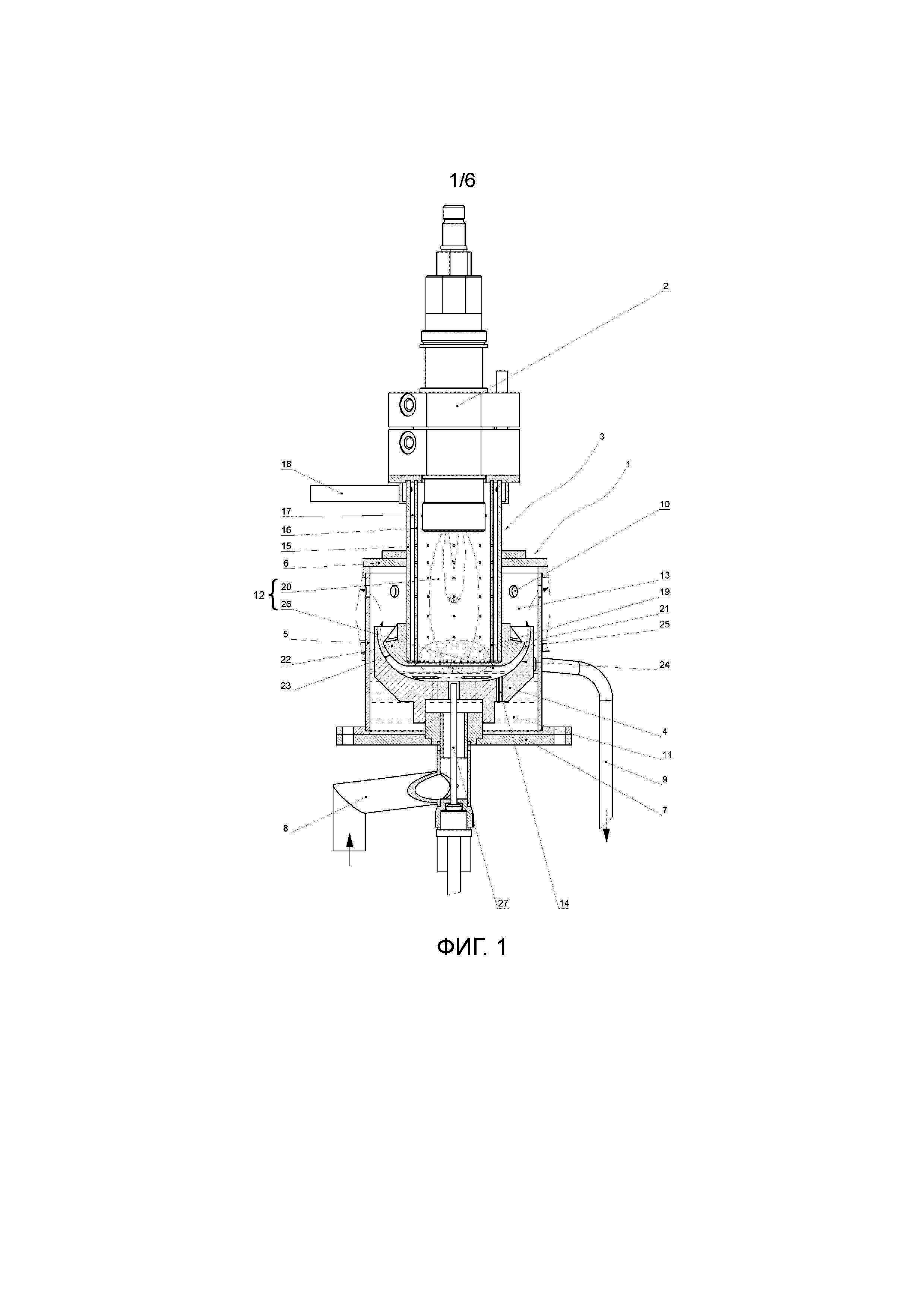
отвод непрореагировавших жидких углеводородов, расположенный в камере для непрореагировавших углеводородов.

[17]

В основе изобретения лежит идея использования для воздействия на углеводороды не собственно плазмы, а полученной при ее участии и водородсодержащей среды высокотемпературного и более реакционноспособного водородсодержащего вторичного теплоносителя (далее – факел вторичного теплоносителя). При этом указанное воздействие осуществляют таким образом, что испарение жидких углеводородов происходит в виде взрывного вскипания, а высокая колебательная энергия компонентов вторичного теплоносителя, возникающая при его образовании, используется для проведения химических реакций с компонентами испаренных углеводородов в условиях, в которых скорость перемешивания достаточно велика.

[18]

Для указанного получения факела вторичного теплоносителя в поток плазмы вводят водородсодержащую среду. Ввод водородсодержащей среды в поток плазмы осуществляется с помощью указанного трубообразного элемента, состоящего из двух окружных стенок и щелевого пространства между ними. В качестве указанной водородсодержащей среды используется жидкая и/или газообразная водородсодержащая среда.

[19]

Поскольку для обеспечения указанного ввода среды трубообразный элемент охватывает плазменную струю, то его надо охлаждать до создания на его поверхности условий, при которых температура внутренней окружной стенки не будет превышать допустимую, выше которой стенка может прогореть. Для этого охлаждения используется та же водородсодержащая среда, которая подается в поток плазмы. Как указано выше водородсодержащая среда может быть газообразной, но в целях наилучшего охлаждения трубообразного элемента предпочтительной является жидкая водородсодержащая среда.

[20]

Проходя по щелевому пространству, указанная водородсодержащая среда воспринимает тепло внутренней стенки трубообразного элемента и частично или почти полностью испаряется и через сквозные каналы поступает во внутреннюю полость трубообразного элемента, создавая при этом слой еще имеющейся жидкости на поверхности внутренней стенки. Под действием теплового потока со стороны плазменной струи жидкая водородсодержащая среда испаряется и над слоем жидкости создается защитный слой из паров жидкости, то есть получают два защитных слоя: жидкости и пара. Поступающая жидкая водородсодержащая среда, увлекаемая струей плазмы, растекается по внутренней стенке очень тонким слоем. За счет испарения толщина парового слоя над жидкостью нарастает по направлению движения потока плазмы до участка, где жидкость испаряется полностью. Так как плотность пара во много раз меньше плотности жидкости, то толщина парового слоя больше толщины слоя жидкости. Поскольку теплопроводность пара во много раз меньше теплопроводности жидкости, термическое сопротивление парового слоя в несколько раз выше термического сопротивления жидкого слоя. Поэтому слой пара является основным защитным слоем внутренней стенки трубообразного элемента. При этом должно быть понятно, что в случае использования газообразной водородсодержащей среды здесь будет иметь место только паровой/газовый защитный слой.

[21]

Пар жидкой водородсодержащей среды и/или газообразная водородсодержащая среда смешиваются с плазменной струей, нагреваются при этом до высоких температур и претерпевают пиролиз с формированием радикалов водорода и с получением высокотемпературного факела вторичного водородсодержащего теплоносителя.

[22]

Таким образом, трубообразный элемент является частью рабочей камеры и средством, ограничивающим в пространстве плазменную струю, воспринимающим тепловой поток от плазменной струи и препятствующим утечкам тепла от плазменной струи, подающим водородсодержащую среду для смешивания с плазмой, а также средством интенсификации массо- и теплообмена водородсодержащей среды и плазмы и средством фокусирования факела вторичного теплоносителя, в том числе, путем возможного профилирования поперечного сечения трубообразного элемента.

[23]

Полученный и направляемый с помощью трубообразного элемента высокотемпературный факел вторичного теплоносителя является чрезвычайно эффективным средством нагрева жидких углеводородов, приводящим к их взрывному вскипанию, являющемуся наиболее интенсивным процессом испарения жидких углеводородов в процессе их крекинга.

[24]

Ввод в реактор указанных жидких углеводородов осуществляют через каналы, выполненные для сообщения рабочей камеры с камерой для непрореагировавших углеводородов, в перегородке, разделяющей камеру для непрореагировавших углеводородов и рабочую камеру. Таким образом, перегородка предоставляет поверхность для растекания жидких углеводородов, так что образуется свободная поверхность жидких углеводородов.

[25]

На эту поверхность жидких углеводородов воздействует описанный выше высокотемпературный факел вторичного теплоносителя. Жидкая фаза углеводородов вследствие сравнительно низкой теплопроводности и высокого теплового потока со стороны факела водородсодержащего теплоносителя в тонком поверхностном слое переходит в перегретое состояние, сопровождающееся периодическим взрывным вскипанием с получением потока парокапельной смеси. Под термином «парокапельная смесь» понимается полученная в результате взрывного вскипания смесь из капель жидкости и пара еще непрореагировавших углеводородов.

[26]

Поверхностное взрывное вскипание предотвращает перегрев более глубоких слоев жидкой фазы углеводородов и их коксование.

[27]

Большая часть тепловой энергии, потраченной на перегрев жидкости, преобразуется в механическую энергию сжатия и кинетическую энергию движущейся указанной парокапельной смеси. Следствием взрывного вскипания сырья является возникающий при этом импульс давления. Эксперименты показали, что процесс взрывного вскипания жидкости сопровождается характерными незатухающими периодическими колебаниями температуры и давления в реакционной зоне. Физический механизм колебаний температуры можно объяснить осуществляемым за счет парокапельной смеси экранированием теплового потока от факела вторичного водородсодержащего теплоносителя к поверхности жидкого углеводорода, а механизм колебаний давления вниз по потоку – упомянутым выше импульсом давления при взрывном вскипании. Возникающие при взрывном вскипании волны давления ускоряют процесс расщепления длинных молекул углеводородов.

[28]

После сноса парокапельной смеси углеводородов потоком факела вторичного теплоносителя происходит повторение процесса – место удаленной жидкости занимает новый подслой углеводородов, быстрый нагрев и повторное взрывное вскипание жидкой фазы углеводородов. Процесс повторяется в непрерывном режиме.

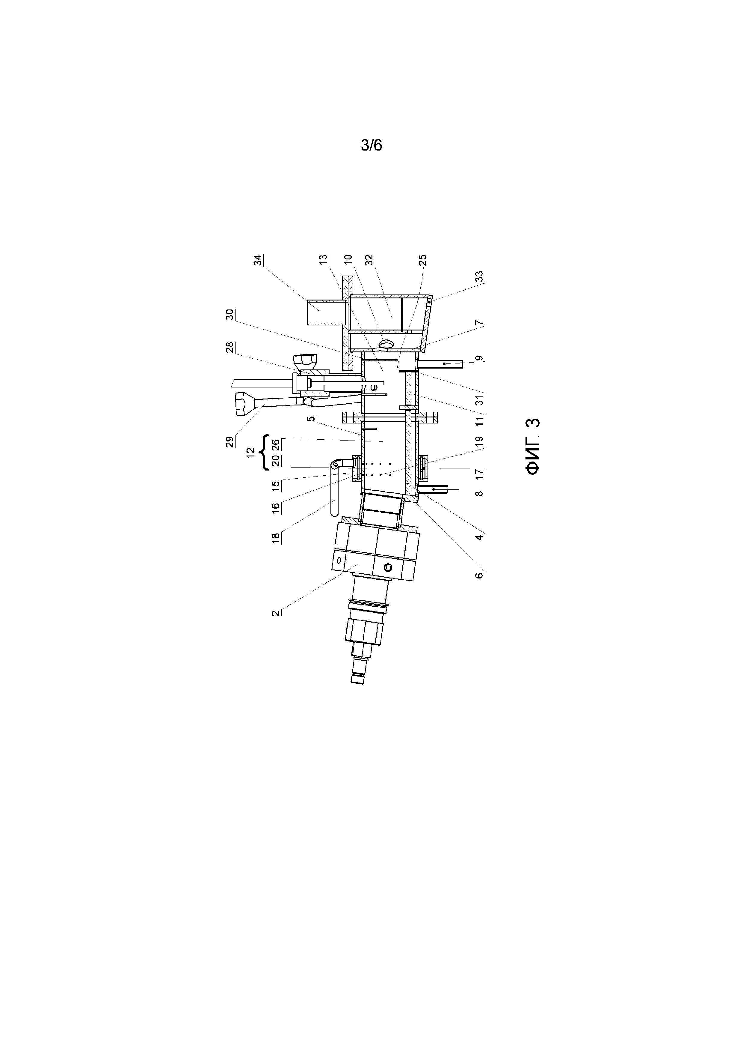
[29]

Эффективному сносу образующейся парокапельной смеси из зоны действия факела способствует также указанный трубообразный элемент за счет своего направляющего вторичный теплоноситель действия. Другими словами, трубообразный элемент не только является средством, обеспечивающим получение эффективного теплового и реакционного воздействия на жидкие углеводороды, но и одновременно средством для эффективного удаления полученной парокапельной смеси и тем самым для более быстрого последующего вскипания новой порции жидких углеводородов, то есть средством интенсификации процесса.

[30]

Протекающий процесс гидрокрекинга условно можно разделить на следующие стадии: смешение компонентов, реакции крекинга и реакции гидрирования.

[31]

Одним из факторов, обусловливающих перемешивание компонентов, является взаимное расположение поверхности жидких углеводородов и потока факела вторичного теплоносителя. В связи с тем, что взрывное вскипание происходит с выбросом парокапельной смеси разрушенного тонкого поверхностного слоя жидких углеводородов по меньшей мере частично в направлении потока теплоносителя, происходит также частичное взаимное проникновение факела водородсодержащего теплоносителя и образованной вследствие взрывного вскипания парокапельной смеси углеводородов.

[32]

Вторым фактором, способствующим перемешиванию компонентов, является турбулентность, возникающая при взрывном вскипании.

[33]

За счет большой разницы в температурах вторичного теплоносителя и поступающей вследствие взрывного вскипания парокапельной смеси углеводородов интенсивность смешения в этой зоне велика. Одновременно в зоне смешения происходит гидрокрекинг уже частично перемешанного сырья с получением газообразных углеводородов в качестве целевых продуктов. Понятно, что для непрерывности процесса фазового перехода требуется постоянный подвод энергии, что осуществляется указанным факелом теплоносителя на поверхность жидких углеводородов при определенных давлении и температуре на этой поверхности, расходе жидких углеводородов и параметрах плазменной струи (плазмообразующая среда, газодинамический напор струи, расстояние от среза сопла, расход плазмообразующей среды, полезная мощность плазмотрона, геометрия плазменной струи и др.). Выбор параметров процесса позволяет настраивать устройство гидрокрекинга на определенное соотношение получаемых продуктов. Распределение процессов получения вторичного водородсодержащего теплоносителя, взрывного вскипания, перемешивания, крекинга и гидрирования по пространству рабочей камеры является основой активного управления процессом гидрокрекинга.

[34]

Скорость протекания реакций крекинга и гидрирования определяется температурой и давлением. При низких температурах скорость реакций относительно невелика и меньше скорости смешения компонентов. Вниз по потоку за счет теплообмена с теплоносителем развивается более высокая температура. Здесь уже реакции крекинга и гидрирования протекают с высокой скоростью, при этом скорость процесса определяется скоростью смешения.

[35]

Для достижения эффективности и высокой производительности процесса гидрокрекинга в изобретении предусмотрено выполненное по типу газодинамического сопла сужение, в которое направляется сносимый факелом вторичного теплоносителя поток парокапельной смеси и в котором осуществляется перемешивание компонентов смеси с получением реагирующей парогазовой смеси, причем в указанном газодинамическом сопле происходит увеличение степени перемешивания по мере приближения к выходу газодинамического сопла.

[36]

Таким образом, основное назначение соответствующего изобретению газодинамического сопла – это создание режима эффективного смешивания (перемешивания) компонентов парокапельной смеси углеводородов с компонентами факела вторичного теплоносителя с получением реагирующей парогазовой смеси.

[37]

Достигается это тем, что сечение по длине газодинамического сопла изменяется путем сужения вплоть до пережима сопла. При этом до пережима предпочтительно реализуется по существу турбулентный режим течения с ускорением потока, а за пережимом имеет место течение, сопровождающееся торможением потока вследствие его расширения. Сужение создает отрицательный градиент давления (ускоряющийся поток), расширение за пережимом создает положительный градиент давления (замедляющийся поток). Оба эффекта интенсифицируют турбулентность в потоке, обеспечивают высокую скорость смешения и, следовательно, скорость протекания реакций гидрокрекинга, то есть влияют на саму реакцию крекинга и гидрирования углеводородов, и по крайней мере частично влияют на состав получаемых продуктов гидрокрекинга. Это в свою очередь уменьшает время превращения сырья (исходных углеводородов) и, соответственно, время пребывания в рабочей камере сырья и продуктов гидрокрекинга, повышает производительность устройства и уменьшает его размеры, в частности, размеры реактора.

[38]

Расширение и затормаживание вышедшего из газодинамического сопла потока прореагировавшей смеси приводит к завершению в нем реакций гидрокрекинга и тем самым к фиксации состава продуктов гидрокрекинга (так называемая «закалка») в виде газообразных углеводородов, причем завершение реакции происходит главным образом на начальном этапе торможения за счет резкого увеличения турбулентности потока. Под «газообразными углеводородами» в данном описании понимается смесь конденсируемых и неконденсируемых продуктов гидрокрекинга при температуре на выходе из реактора.

[39]

Для создания потока плазмы в рамках изобретения можно использовать любой тип генератора низкотемпературной плазмы, позволяющий получить струю плазмы, например, электродуговой генератор плазмы постоянного или переменного тока, ВЧ генератор, СВЧ генератор и/или их комбинации.

[40]

В качестве плазмообразующей среды могут быть использованы различные газы, например, воздух, азот, водород, газообразные углеводороды, инертные газы, смеси газов, например, смесь оксида углерода и водорода известная под названием синтез-газа, а также водяной пар. Однако, использование водяного пара в качестве плазмообразующей среды для получения плазменной струи в заявленном изобретении является предпочтительным, поскольку пароводяная плазменная струя имеет следующие особенности:

[41]

- пароводяная плазма содержит многокомпонентную смесь химически, каталитически, электрически активных частиц, включающую кислород, водород, гидроксильные группы, кластеры молекул воды в молекулярном, атомарном и ионизированном состоянии;

[42]

- в плазмотроне с паровихревой стабилизацией электрической дуги имеет место сепарация компонентов плазмы, а именно, по оси плазмотрона и вблизи нее сконцентрирован водород, и электрическая дуга по свойствам является преимущественно горящей в водороде; более тяжелые молекулы кислорода собираются на периферии дугового канала; промежуточное положение занимают гидроксильные группы; непосредственно на периферии вблизи стенок дуговой камеры присутствует перегретый пар воды в виде кластеров (ассоциатов) молекул воды; то есть пароводяная плазма является носителем активного водорода, необходимого для реакции гидрирования;

[43]

- в пароводяной плазменной струе, истекающей из сопла плазмотрона, в связи с затуханием вихревой закрутки и теплообменом с окружающей средой имеет место уменьшение среднемассовой температуры вдоль струи, частичная рекомбинация компонентов плазмы, вынос и рассеяние в окружающем пространстве многокомпонентного факела активных частиц, нисходящего из плазменной струи;

[44]

- пароводяная плазменная струя окружена шубой перегретого водяного пара, который в факеле, нисходящем из плазменной струи, присутствует в виде кластеров – больших групп молекул воды, несущих значительный электрический заряд, выносимый из плазменной струи;

[45]

- пароводяная плазменная струя является мощным источником ультрафиолетового излучения, которое является активатором крекинга углеводородного сырья.

[46]

Как уже отмечалось, в качестве водородсодержащей среды может быть использована жидкая или газообразная среда, или их сочетание. В качестве жидкой водородсодержащей среды используют воду, легкие углеводороды, кислородсодержащие соединения углеводородов, а в качестве газообразной водородсодержащей среды используют водяной пар, газообразные углеводороды.

[47]

Предпочтительным оказалось использование воды/водяного пара в качестве водородсодержащей среды, поскольку входящий в ее состав кислород участвует в реакции окисления с компонентами реагирующей парогазовой смеси, которая происходит с выделением тепла, вследствие чего мощность плазмотрона может быть выбрана более низкой.

[48]

При этом может быть предусмотрено, что подача водородсодержащей среды происходит только через щелевое пространство трубообразного элемента. Альтернативно, возможна подача водородсодержащей среды в зону смешения рабочей камеры как через щелевое пространство трубообразного элемента, так непосредственно в зону смешения. В частности, может быть предпочтительной подача жидкой водородсодержащей среды через щелевое пространство трубообразного элемента, а газообразной водородсодержащей среды непосредственно в зону смешения через расположенный, например, рядом с соплом плазмотрона ввод.

[49]

В рамках изобретения жидкие углеводороды подают противотоком к факелу водородсодержащего теплоносителя таким образом, что свободная поверхность жидкой фазы углеводородов относительно оси факела водородсодержащего теплоносителя расположена под углом 0…90°. Это может быть реализовано за счет того, что плазмотрон располагается вертикально или под некоторым углом к горизонтали.

[50]

В соответствии с изобретением, использование газодинамического сопла для отвода реагирующей парогазовой смеси в сочетании с пространственным положением трубообразного элемента позволяет выполнить устройство в горизонтальном, наклонном или вертикальном исполнении, использовать различные виды сопел (кольцевое газодинамическое сопло с центральным телом, плоское щелевое сопло, трубчатое или коническое осесимметричное сопло и др.). Выбор вида газодинамического сопла определяется в зависимости от компоновки устройства.

[51]

В рамках изобретения может быть предусмотрено, что трубообразный элемент выполнен в виде отдельной части, которая устанавливается в плазмотроне. Альтернативно, трубообразный элемент может быть выполнен за одно целое с корпусом реактора. Также может быть предусмотрено, что трубообразный элемента расположен на расстоянии окружной стенки корпуса реактора или может своей наружной окружной стенкой или внутренней окружной стенкой образовывать часть корпуса реактора/его окружной стенки.

[52]

В рамках изобретения может быть предусмотрено выполнение перегородки в виде чаши, конусообразного тела, плоской пластины, изогнутой пластины. Выбор формы перегородки может быть обусловлен желаемой формой газодинамического сопла и необходимыми условиями испарения жидких углеводородов и их протекания в сопле и/или направления к нему.

[53]

Также в рамках изобретения предусмотрено, перегородка может полностью образовывать газодинамическое сопло, то есть сопло выполнено в виде внутреннего канала (предпочтительно, но необязательно, для случая относительно массивной перегородки) или отверстия (предпочтительно, но необязательно, для случая относительно тонкой или тонкостенной перегородки). Альтернативно, перегородка может образовывать газодинамическое сопло лишь частично, а другая часть образуется трубообразным элементом и/или расположенными внутри реактора дополнительными элементам, например, дополнительными внутренними стенками реактора. Таким образом, газодинамическое сопло, как уже частично указывалось выше, может быть в форме кольцевое газодинамическое сопла с центральным телом, плоского щелевого сопла, трубчатого или конического осесимметричного сопла и др.

[54]

Соответствующее изобретению устройство может в виде опции содержать сепаратор, который служит для разделения полученных горячих газообразных углеводородов посредством конденсации. Для этого указанный сепаратор сообщается с предусмотренным отводом для отвода газообразных углеводородов из реактора. Сепарация может осуществляться с принудительным охлаждением или без него. Подобный сепаратор позволяет возвращать часть полученных углеводородов обратно в процесс в виде водородсодержащей среды или в виде жидких углеводородов. Это способствует непрерывности процесса и поддержки необходимых условий процесса, в частности, возвращаемые углеводороды уже имеют повышенную температуру, так как не требуется их предварительный нагрев и отсутствует их возможно излишнее охлаждающее влияние на процесс. Кроме того, сепаратор может предотвращать нежелательный отвод еще слишком тяжелых фракций углеводородов вместе с уже удовлетворяющими требованиям легкими углеводородами.

[55]

В рамках изобретения также может быть предусмотрено наличие дополнительного подвода для подвода водородсодержащей среды в зону смешения рабочей камеры реактора. Этот подвод может быть пригоден для ввода водородсодержащей среды непосредственно в зону смешения или через трубообразный элемент. Непосредственный подвод в зону смешения может быть особенно предпочтительным, если в качестве водородсодержащей среды используются возвращаемые из подключенного после реактора сепаратора углеводороды, поскольку эти углеводороды уже являются достаточно нагретыми (особенно, в случае произведенной сепарации без принудительного охлаждения) и их подвод через трубообразный элемент может не оказать желаемого охлаждения для трубообразного элемента.

[56]

Для регулирования рабочего процесса в заявленном изобретении может быть предусмотрено регулирование за счет изменения начальной температуры (подогрев) сырья; изменения времени пребывания сырья в реакторе; изменения мощности генератора плазмы, расхода водородсодержащей жидкости и водородсодержащего газа, давления в реакторе, уровня сырья в реакторе и т.п. Указанное регулирование может быть осуществлено известными для специалиста средствами.

[57]

Для осуществления контроля за рабочим процессом в изобретении могут использоваться различные датчики, в частности, датчик уровня сырья в реакторе; датчик расхода сырья; датчик температуры сырья на входе в реактор, датчик температуры сырья в реакционной зоне устройства; датчик температуры отходящих газообразных углеводородов; датчик давления в реакторе.

[58]

В рамках изобретения может быть предусмотрено, что толщина или максимальная толщина растекающегося по перегородке слоя жидких углеводородов задается геометрической формой перегородки, например, вогнутой, выгнутой или плоской формой, или уровнем расположения отвода непрореагировавших жидких углеводородов.

[59]

В рамках изобретения, позиционирование генератора плазмы в торце трубообразного элемента в сочетании с мощностью генератора плазмы, вкладываемой в плазменную струю, позволяет регулировать температуру и газодинамический напор плазменной струи и факела вторичного водородсодержащего теплоносителя на срезе открытого (обращенного к подлежащим обработке жидким углеводородам) конца трубообразного элемента.

[60]

Позиционирование трубообразного элемента, окружающего плазменную струю, относительно поверхности жидкого углеводородного сырья позволяет создавать реакторы различной пространственной ориентации и конфигурации. Позиция трубообразного элемента относительно перегородки и тем самым относительно поверхности жидких углеводородов может быть постоянно заданной или может быть изменяемой в зависимости от необходимых параметров процесса.

[61]

Поставленная задача также решается способом плазмохимического гидрокрекинга, который осуществляется с помощью описанного выше устройства и характеризуется следующими этапами:

[62]

Создание потока плазмы,

[63]

Ввод водородсодержащей среды в поток плазмы и их реакция с получением вторичного водородсодержащего теплоносителя,

[64]

Ввод в реактор жидких углеводородов,

[65]

Воздействие вторичного водородсодержащего теплоносителя на слой жидких углеводородов для перегрева и взрывного вскипания и на полученную в результате взрывного вскипания парокапельную смесь с получением реагирующей парогазовой смеси из парокапельной смеси углеводородов и компонентов вторичного водородсодержащего теплоносителя,

[66]

Направление потока указанной реагирующей парогазовой смеси в выполненное по типу газодинамического сопла сужение и перемешивание компонентов смеси в указанном газодинамическом сопле с увеличением степени перемешивания по мере приближения к выходу газодинамического сопла и получением газообразных углеводородов,

[67]

Выпуск газообразных углеводородов из газодинамического сопла и тем самым их расширение, и затем

[68]

Отвод газообразных углеводородов из реактора.

[69]

Данному способу в равной степени свойственны все преимущества, указанные выше для устройства плазмохимического гидрокрекинга.

[70]

Согласно изобретению, возможно направлять реагирующую парогазовую смесь в сужении сопла с различной скоростью, причем максимально возможная скорость потока реагирующей парогазовой смеси равна скорости звука. Конкретная скорость и ее настройка определяется химическим составом реагирующей парогазовой смеси и ее температурой. Таким образом, рабочая камера реактора может быть настроена как на режим, когда звуковая скорость потока в сопле не достигается, и на режим, когда в сопле достигается скорость звука. Изменяя мощность генератора плазмы и соответственно интенсивность процесса перевода жидкого углеводорода в реагирующую парогазовую смесь реализуется широкий диапазон изменения перепадов давления на сопле. Это дает возможность настраивать работу устройства во многих режимах и управлять составом продуктов гидрокрекинга.

[71]

Образующиеся продукты гидрокрекинга в виде газообразных углеводородов, как уже отмечалось, содержат конденсируемую фазу (конденсируемые продукты) и неконденсируемые углеводородные газы (неконденсируемые продукты). Поэтому, предпочтительно в способе может быть предусмотрен этап отделения конденсируемой фазы от углеводородных газов. Как конденсируемые, так и неконденсированные продукты (легкие углеводороды) могут являться целевыми продуктами гидрокрекинга и соответствующим образом отводиться.

[72]

Предпочтительно также может быть предусмотрено, что по меньшей мере часть газообразных углеводородов может быть возвращена обратно в процесс. Так, часть газообразных углеводородов может в виде газообразной водородсодержащей среды подаваться обратно в полость трубообразного элемента, то есть в зону смешения рабочей камеры заявленного устройства. В случае использования сепаратора для разделения газообразных углеводородов на конденсируемые и неконденсируемые продукты, по меньшей мере часть, неконденсируемых продуктов может возвращаться в процесс в виде газообразной водородсодержащей среды, а по меньшей мере часть конденсируемых продуктов может возвращаться в процесс в виде жидкой водородсодержащей среды и/или часть конденсируемых продуктов - в виде жидких углеводородов (сырье). Подача конденсируемых продуктов обратно в процесс в качестве жидких углеводородов предпочтительна в случае первоначального получения и выделения в сепараторе относительно тяжелых углеводородов, которые требуют дополнительной переработки в более легкие углеводороды.

[73]

Для повышения эффективности процесса гидрокрекинга предпочтительно может быть предусмотрен предварительный нагрев углеводородного сырья в качестве предварительного этапа заявленного способа. При этом исходят из установленного факта, что чем ближе температура жидких углеводородов, подаваемых в реактор, к температуре поверхности жидкости при взрывном вскипании, тем больше массоотдача жидкости (плотность потока массы вещества жидкости). Например, для мазута, в интервале температур от +25 °С до 400 °С зависимость давления насыщенных паров от температуры имеет экспоненциальный характер и отличается большим градиентом начиная с 250-280 °С, вследствие чего предпочтительно сырье подавать в реактор с температурой 280-300 °С, в то время как сам процесс гидрокрекинга ведут при температуре в тонком приповерхностном слое жидкой фазы сырья в зоне испарения предпочтительно от 430 до 570 °С.

[74]

Также поставленная задача решается с помощью установки для осуществления плазмохимического гидрокрекинга, которая включает в себя по меньшей мере одно описанное выше устройство для плазмохимического гидрокрекинга.

[75]

Данная установка имеет преимущества, которые выше были рассмотрены при описании заявленного устройства и способа.

[76]

Установка может включать устройство или устройства для подачи газообразной и/или жидкой водородсодержащей среды, которая подается в зону смешения реактора и используется в качестве донора водорода, устройство для подачи жидких углеводородов в реактор, устройство для вывода из реактора непрореагировавшей углеводородов.

[77]

Предпочтительно, заявленная установка также может включать в себя устройство для предварительного подогрева жидких углеводородов перед их подачей в реактор.

[78]

Также установка в виде опции может включать в себя устройство для хранения и подачи в реактор дополнительной водородсодержащей среды, например, газообразной водородсодержащей среды, которая подается непосредственно в зону смешения рабочей камеры заявленного устройства.

[79]

Предпочтительным образом, установка может включать в себя устройство для разделения конденсируемых и неконденсируемых продуктов гидрокрекинга, которые содержатся в выходящей из реактора смеси газообразных углеводородов.

[80]

Также заявленная установка может включать в себя различные средства контроля и регулирования/управления процессом, например, датчики давления в реакторе, датчики температуры в реакторе, датчики уровня жидких углеводородов в реакторе и т.п.

[81]

Далее, заявленное изобретение поясняется на примерах осуществления с помощью чертежей, на которых показано:

[82]

Фиг.1 один вариант осуществления устройства для плазмохимического гидрокрекинга на виде в разрезе;

[83]

Фиг.2 устройство для плазмохимического гидрокрекинга с фиг.1 на виде в перспективе;

[84]

Фиг.3 другой вариант осуществления устройства для плазмохимического гидрокрекинга на виде в разрезе;

[85]

Фиг.4 устройство для плазмохимического гидрокрекинга с фиг.3 на виде в перспективе;

[86]

Фиг.5 установка для плазмохимического гидрокрекинга, включающая в себя соответствующее изобретению устройство для плазмохимического гидрокрекинга;

[87]

Фиг.6 принципиальная схема установки для плазмохимического гидрокрекинга.

[88]

На фиг.1 и 2 представлен один вариант осуществления соответствующего изобретению устройства для плазмохимического гидрокрекинга в вертикальном исполнении. В качестве основных компонентов устройство для плазмохимического гидрокрекинга содержит реактор 1, плазмотрон 2, трубообразный элемент 3 и перегородку 4 реактора.

[89]

Реактор 1 имеет или представляет собой корпус, состоящий из боковой стенки 5 и торцевых стенок 6, 7, а именно верхней и нижней торцевых стенок. Боковая стенка 5 является замкнутой по периметру и может иметь любую форму, но предпочтительно является цилиндрической. Боковая стенка 5 и торцевые стенки 6, 7 соединены друг с другом и образуют замкнутое внутреннее пространство реактора.

[90]

В торцевой стенке 7 реактора 1 расположен подвод 8 для подвода подлежащих обработке жидких углеводородов. Альтернативно или дополнительно подвод 8 может быть установлен в боковой стенке 5 реактора.

[91]

В боковой стенке 5 реактора расположен отвод 9 для отвода непрореагировавших жидких углеводородов, а также отвод 10 для отвода полученных в результате обработки газообразных углеводородов. Дополнительно или альтернативно отвод 9 также может быть расположен в торцевой стенке 7 реактора, а отвод 10 может быть расположен в торцевой стенке 6 реактора. Пропускная способность указанных отводов 9, 10 может быть нерегулируемой или регулируемой за счет использования известных специалистам традиционных средств регулирования, например, за счет клапанов.

[92]

Реактор 1 также имеет перегородку 4, которая расположена внутри реактора и разделяет его внутреннее пространство на нижнюю и верхнюю области.

[93]

Указанная нижняя область реактора образует камеру 11 для непрореагировавших жидких углеводородов, которая заполняется жидкими углеводородами через подвод 8, а излишки жидких углеводородов отводятся посредством указанного отвода 9.

[94]

Верхняя область реактора включает в себя рабочую камеру 12 реактора, в которой происходит формирование факела вторичного теплоносителя и обработка жидких углеводородов и их преобразование в более легкие газообразные фракции углеводородов, и камеру 13 для прореагировавших углеводородов, которая связана с рабочей камерой 12 и которая принимает выходящие из рабочей камеры 12 газообразные углеводороды. Далее это еще будет пояснено подробнее.

[95]

Перегородка 4 в данном случае выполнена по существу в виде открытой вверх чаши, которая образует приемное пространство для приема подлежащего обработке заданного объема непрореагировавших жидких углеводородов, который в виде слоя растекается по обращенной вверх поверхности перегородки/чаши. Для этого перегородка 4 имеет сквозные каналы 14, по которым жидкие углеводороды проходят из расположенной под перегородкой 4 камеры 11 для непрореагировавших углеводородов в указанное приемное пространство перегородки.

[96]

Форма перегородки может отличаться от показанной на фиг.1 формы. Например, перегородка может представлять собой плоскую пластину, плиту с углублением, пластину с отогнутым по периметру краем, плоский диск и т.п.

[97]

Отвод 10 для отвода газообразных углеводородов, полученных после обработки в рабочей камере 12, расположен предпочтительно выше перегородки 4.

[98]

Далее, в показанном варианте осуществления в торцевой стенке 6 реактора установлен трубообразный элемент 3, нижний конец которого расположен во внутреннем пространстве реактора 1, а верхний конец которого соединен с плазмотроном 2. Очевидно, что возможны и другие схемы установки плазмотрона и трубообразного элемента. Например, плазмотрон может быть закреплен на верхней торцевой стенке реактора, а трубообразный элемент может быть закреплен на плазмотроне. Хотя на фиг.1 и 2 показано, что плазмотрон и трубообразный элемент расположены строго вертикально, должно быть понятно, что возможно и определенное наклонное расположение плазмотрона и/или трубообразного элемента.

[99]

В качестве плазмотрона можно использовать, например, электродуговой плазмотрон, СВЧ плазмотрон, индукционный плазмотрон и т.п. При этом плазмотрон производит плазменную струю со среднемассовой температурой до 3000-6000 К. В качестве плазмообразующей среды используют воздух, инертные газы, газообразные углеводороды, но предпочтительно водяной пар.

[100]

Трубообразный элемент 3 выполнен в виде двустенной трубы, у которой внешняя окружная стенка 15 и внутренняя окружная стенка 16 образуют между собой щелевое пространство 17, которое закрыто снизу.

[101]

Трубообразный элемент 3 окружает поток плазмы, создаваемый плазмотроном 2, и вводит в него водородсодержащую среду. Для этого, трубообразный элемент 3 соединен с подводом 18 водородсодержащей среды, посредством которого водородсодержащая среда поступает в указанное щелевое пространство 17, а внутренняя окружная стенка 16 трубообразного элемента 3 снабжена сквозными каналами 19 для прохода водородсодержащей среды из щелевого пространства 17 к потоку плазмы и смешивания с ним. Таким образом, трубообразный элемент 3 в рабочей камере 12 реактора образует зону 20 смешения, в которой водородсодержащая среда смешивается с потоком плазмы с образованием факела 21 вторичного теплоносителя, с помощью которого происходит собственно обработка жидких углеводородов.

[102]

Трубообразный элемент 3 экранирует поток плазмы от окружающего внутреннего пространства реактора и тем самым позволяет избежать излишних тепловых потерь. Водородсодержащая среда, как уже указывалось выше, может вводиться в щелевое пространство 17 трубообразного элемента 3 в жидком и/или газообразном виде и, кроме того, выполняет функцию охлаждения внутренней окружной стенки 16 трубообразного элемента 3, что способствует предотвращению ее прогорания.

[103]

Нижняя концевая область трубообразного элемента 3 оканчивается в указанном приемном пространстве перегородки 4 выше уровня растекшихся там жидких углеводородов. В этой нижней концевой области предусмотрен внешней кольцевой элемент 22, который в показанном случае является отдельным элементом, который может известным сами по себе образом разъемно или неразъемно соединяться с трубообразным элементом 3. Альтернативно, кольцевой элемент может быть выполнен за одно целое с трубообразным элементом 3.

[104]

Кольцевой элемент 22 имеет дугообразный участок 23, который вместе с дугообразным участком 24 внутренней поверхности перегородки/чаши образует сужающийся канал в виде газодинамического сопла 25 (так называемое кольцевое сопло с центральным телом), что хорошо видно на фиг.1.

[105]

Нужно отметить, что указанное газодинамическое сопло может быть образовано дугообразным участком только одного из элементов (кольцевой элемент или перегородка), в то время как другой элемент имеет ответный участок, который выполнен не дугообразным, а, например, плоским. Кроме того, образующие газодинамическое сопло участки не обязательно должны иметь дугообразный контур, а могут быть выполнен с прямым непрерывным контуром, или иметь контур, образованный чередующимися прямыми и/или криволинейными частями разного наклона. Кроме того, указанный сужающийся канал или газодинамическое сопло может выполняться не сплошным кольцевым проходом (так называемое кольцевое сопло), а, например, в виде спирального канала, для чего на одном или обоих образующих этот канал участках должны иметься соответствующие спиральные выступы.

[106]

Таким образом, указанный трубообразный элемент 3 с кольцевым элементом 22 и перегородка 4 совместно задают реакционную зону 26 рабочей камеры 12 реактора, в которой происходит воздействие созданного выше по потоку в трубообразном элементе факела 21 вторичного теплоносителя на жидкие углеводороды, их быстрый нагрев и взрывное вскипание и перемещение (показано стрелками на фиг.1) полученной реагирующей парогазовой смеси по газодинамическому соплу 25 и, наконец, выход из этого сопла. Указанная выше в виде опции спиральная форма сопла или его участков может способствовать дополнительному перемешиванию и тем самым более полному протеканию реакций между компонентами парогазовой смеси.

[107]

Указанный выход из газодинамического сопла и, соответственно, из указанной реакционной зоны рабочей камеры оканчивается в камере 13 для прореагировавших углеводородов. Камера 13 для прореагировавших углеводородов служит для приема полученных газообразных углеводородов из рабочей камеры и их расширения, в результате которого в значительной мере прекращаются реакции в реагирующей парогазовой смеси и тем самым исключаются нежелательные обратные реакции.

[108]

Зафиксированные таким образом горячие газообразные углеводороды далее отводятся из камеры 13 для прореагировавших углеводородов через отвод 10 для полученных газообразных углеводородов.

[109]

В показанном варианте осуществления в виде опции предусмотрено, что указанной отвод 10 для полученных газообразных углеводородов реализован в виде множества отверстий в боковой стенке 4 реактора, который в виде опции может вести в примыкающий горячий сепаратор для предотвращения уноса паров наиболее тяжелых углеводородов с быстро движущимся потоком легких газообразных углеводородов. Горячая сепарация предполагает конденсацию и механическое отделение тяжелой углеводородной фракции за счет незначительного и естественного снижения давления на выходе из реактора. Принудительное охлаждение в горячем сепараторе отсутствует. Отделенная углеводородная фракция может представлять собой целевой продукт крекинга или возвращается в процесс в качестве сырья. Однако, как уже отмечено, наличие горячего сепаратора не является обязательно необходимым, а предусмотрено лишь в качестве одной из предпочтительных опций данного изобретения.

[110]

Смесь газообразных углеводородов поступает в холодный сепаратор, где принудительным охлаждением из нее выделяют углеводородные газы и конденсат легких углеводородов.

[111]

Горячая и холодная сепарации могут быть осуществлены как части известного процесса ректификации. В виде опции также может быть предусмотрено, что часть газообразных и/или сконденсированных легких углеводородов может возвращаться обратно в процесс в качестве водородсодержащей среды, подаваемой в зону смешения.

[112]

Для контроля процесса в устройстве для плазмохимического гидрокрекинга могут использоваться известные специалисту средства. В частности, на фиг.1 и 2 показан датчик 27 температуры реакционной зоны, а также порт 28 для датчика температуры парогазовой смеси и порт 29 для датчика давления парогазовой смеси. Эти и другие датчики могут быть предусмотрены в виде опции. Также могут быть предусмотрены различные возможности регулирования, например, могут быть предусмотрены средства для подъема/опускания перегородки и/или трубообразного средства, чтобы регулировать объем заполнения реакционной камеры жидкими углеводородами и/или для регулирования величины газодинамического сопла. Также могут быть предусмотрены средства для изменения поступления и/или отвода непрореагировавших жидких углеводородов и средства для изменения других параметров заявленного устройства. Эти средства контроля или регулирования, однако, не являются предметом заявленного изобретения и поэтому более подробно здесь не описываются.

[113]

На фиг.3 и 4 представлен другой вариант осуществления заявленного изобретения, который отличается от варианта осуществления согласно фиг.1 и 2 горизонтальной ориентацией устройства для плазмохимического гидрокрекинга.

[114]

Реактор 1 здесь также представляет собой корпус с боковой, предпочтительно цилиндрической стенкой 5 и двумя торцевыми стенками 6, 7, а именно левой и правой торцевыми стенками.

[115]

В первой торцевой стенке 6 установлен плазмотрон 2, который расположен под некоторым углом к горизонтали. Во второй торцевой стенке 7 реактора предусмотрен отвод 10 для полученных газообразных углеводородов.

[116]

Трубообразный элемент 3, как в варианте с фиг.1, также является двустенным, с образованным между двумя окружными стенками 15, 16 щелевым пространством 17. Однако, внутренняя окружная стенка 16 выполнена здесь за одно целое с боковой стенкой 5 реактора, в частности, образована участком боковой стенки 5 реактора. Альтернативно, внутренняя окружная стенка трубообразного элемента может встраиваться в боковую стенку реактора в специально предусмотренное приемное место.

[117]

Через выполненные во внутренней окружной стенке 16 трубообразного элемента 3 сквозные отверстия 19 водородсодержащая среда вводится из щелевого пространства 17 трубообразного элемента 3 в поток плазмы, созданный плазмотроном 2.

[118]

Перегородка 4 здесь выполнена в виде плоской пластины, хотя альтернативно также могут быть выбраны другие формы перегородки (например, вогнутая пластина, желобообразная пластины и т.д.).

[119]

Под перегородкой 4 расположена камера 11 для непрореагировавших углеводородов, которые поступают через подвод 8, а их излишки отводятся через отвод 9 для непрореагировавших углеводородов.

[120]

Над перегородкой 4 расположена рабочая камера 12 реактора, причем перегородка 4 здесь проходит от одной торцевой стенки 6 реактора через зону 20 смешения, в которой вводимая водородсодержащая среда смешивается с потоком плазмы, далее вдоль реактора в направлении другой торцевой стенки 7 реактора и заканчивается на некотором удалении от второй торцевой стенки 7.

[121]

Таким образом, реакционная зона 26 рабочей камеры 12 определяется здесь по существу зоной 20 смешения, перегородкой 4 и боковой стенкой 5 реактора.

[122]

Перегородка 4 между зоной 20 смешения и своим концом, обращенным ко второй торцевой стенке 7, по меньшей мере в отдельных областях снабжена сквозными каналами 14 (здесь не показаны) для пропускания жидких углеводородов из камеры 11 для непрореагировавших углеводородов в рабочую камеру 12 и растекания там по поверхности перегородки 4.

[123]

На участке реактора между концом перегородки 4 и второй торцевой стенкой 7 предусмотрена по меньшей мере одна, но в данном случае две дополнительные внутренние стенки 30, 31 реактора, которые образуют сужение в виде щелеобразного газодинамического сопла 25, в которое направляется сносимый образованным в зоне смешения факелом вторичного теплоносителя поток реагирующей парогазовой смеси. Это щелевое газодинамическое сопло 25 служит для предварительного сжатия и ускорения потока, а также последующего расширения и торможения потока и тем самым обеспечивает условия для очень интенсивного перемешивания компонентов внутри потока реагирующей парогазовой смеси и тем самым ускоренное и более полное протекание реакции гидрокрекинга.

[124]

Указанное расширение и торможение парогазовой смеси, как и в случае газодинамического сопла 25 в устройстве с фиг.1, происходит уже за щелевым газодинамическим соплом 25 и тем самым во входной зоне камеры 13 для прореагировавших углеводородов, которая образована – если смотреть в направлении потока – между газодинамическим соплом 25 и второй торцевой стенкой 7 реактора, как и в устройстве на фиг.1. Это расширение и затормаживание вышедшего из газодинамического сопла потока приводит к в значительной степени завершенному в нем процессу гидрокрекинга и тем самым к фиксации («закалка») полученных в результате гидрокрекинга газообразных углеводородов, которые потом через отвод для прореагировавших углеводородов выходят из реактора.

[125]

Дополнительные внутренние стенки 30, 31 реактора согласно фиг.3 проходят поперечно, однако также возможно их наклонное прохождение, так что перед выходом из сопла 25 возникает более продолговатый канал, в котором могут дополнительно протекать реакции в реагирующей парогазовой смеси.

[126]

Упомянутый отвод 9 для непрореагировавших углеводородов согласно фиг.3 расположен после перегородки 4 в зоне перехода газодинамического сопла 25 к камере 13 для прореагировавших углеводородов. Однако, альтернативно, он также может быть расположен под перегородкой 4.

[127]

Понятно, что газодинамическое сопло может быть выполнено здесь не только в виде плоского щелевого сопла, но в другой форме, например, в виде трубчатого сопла, кольцевого сопла или т.п.

[128]

На фиг.3 также показан предусмотренный в виде опции горячий сепаратор 32, присоединенный к реактору 1 и сообщающийся с отводом 10. Горячий сепаратор 32 обеспечивает расширение выходящих из реактора газообразных углеводородов и их частичную конденсацию. Сконденсированная часть углеводородов отводится через слив 33, а несконденсированная часть углеводородов выводится через отвод 34.

[129]

На фиг.5 представлен общий вид установки для плазмохимического гидрокрекинга, которая включает в себя соответствующее изобретению устройство для плазмохимического гидрокрекинга.

[130]

Установка для плазмохимического гидрокрекинга в данном случае смонтирована внутри несущего каркаса, включающего в себя основание 35, а также вертикальные 36 и горизонтальные балки 37. Указанный каркас может быть оснащен стенками и тем самым может представлять собой готовый транспортировочный контейнер. Альтернативно, каркас может быть смонтирован внутри производственного помещения или установка может быть выполнена без указанного каркаса, так что ее узлы монтируются прямо в производственном помещении.

[131]

Установка для плазмохимического гидрокрекинга содержит соответствующее изобретению устройство для плазмохимического гидрокрекинга, которое в представленном варианте выполнено в соответствии с фиг.1. Так, на фиг.5 можно видеть плазмотрон 2 и реактор 1.

[132]

В показанном на фиг.5 выполнении, установка для плазмохимического гидрокрекинга содержит устройство 38 для предварительного нагрева жидких углеводородов, насос 39 для подачи жидких углеводородов в реактор 1, устройство для подачи жидкой водородсодержащей среды в реактор 1, устройство для подачи газообразной водородсодержащей среды в реактор 1, устройство 41 для разделения конденсируемых и неконденсируемых продуктов (например, в виде отделенного от реактора 1 холодного сепаратора), резервуар 42 для сбора продуктов крекинга, устройство 43 для вывода непрореагировавших углеводородов из реактора (например, отвод 9), средства 44 (генератор плазмообразующего пара), 45 (источник электропитания генератора плазмы), 46 (система оборотного водоснабжения для охлаждения генератора плазмы, источника электропитания, холодного сепаратора) и т.п. в виде оборудования, объединенного конструктивно и функционально для преобразования электрической энергии в тепловую с получением потока плазмы.

[133]

Понятно, что вполне возможны более простые варианты заявленной установки, в которых от некоторых из указанных устройств можно отказаться. Например, можно использовать оборудование, которое уже имеется на месте использования установки для плазмохимического гидрокрекинга, в частности, насос, подогреватель и т.п. В виде опции, указанная установка также может быть оснащена собственной силовой установкой для обеспечения необходимой для ее работы энергией.

[134]

На фиг.6 показана принципиальная технологическая схема установки для плазмохимического гидрокрекинга, на примере которой ниже будет пояснен процесс ее функционирования и некоторые дополнительные технические особенности установки.

[135]

По линии I жидкие углеводороды поступают к насосу 39, который подает их через устройство 38 предварительного нагрева в реактор 1. В реакторе жидкие углеводороды заполняют камеру для непрореагировавших углеводородов и затем поступают в рабочую камеру 12 реактора.

[136]

Заданный расход углеводородов обеспечивается насосом 39. Вся линия транспортировки углеводородов предпочтительно теплоизолирована, рабочая часть насоса, а также соединительные трубопроводы предпочтительно снабжены электрообогревом.

[137]

По линии II в плазмотрон 2 подают плазмообразующую среду (например, воздух, инертные газы, газообразные углеводороды, но предпочтительно водяной пар). Поток плазмы, сформированный плазмотроном 2, подают в зону смешения рабочей камеры реактора 1.

[138]

По линии III с помощью устройства 47 для подачи жидкой водородсодержащей среды (например, насос с регулятором расхода) жидкую водородсодержащую среду, предпочтительно воду, подают в реактор 1 (в зону смешения рабочей камеры).

[139]

По линии IV газообразная водородсодержащая среда с помощью подходящего устройства 48 для подачи газообразной водородсодержащей среды подается в реактор 1 (в зону смешения рабочей камеры). Данная линия предусмотрена здесь в виде опции или только для периодического использования.

[140]

Продукты крекинга (газообразные углеводороды) из реактора поступают в устройство 41 для разделения конденсируемых и неконденсируемых продуктов, в котором на первой стадии происходит охлаждение газообразных углеводородов и конденсация легких фракций, а на второй стадии полученная газожидкостная смесь углеводородов разделяется на две части - жидкую и газообразную. Устройство 41 может быть выполнено, например, в виде упомянутого выше холодного сепаратора или иметь его в виде одного из узлов. В виде опции, расход газообразных углеводородов и давление в реакторе регулируются здесь посредством регулирующего устройства 49 (например, игольчатый вентиль), включенного в линию между реактором 1 и устройством 41.

[141]

После разделения конденсируемых и неконденсируемых продуктов крекинга, конденсируемые продукты поступают по линии VI в резервуар 42 для сбора (жидких) продуктов крекинга, а неконденсируемые продукты (газообразные углеводороды) могут частично или полностью возвращаться в реактор 1 в качестве водородсодержащей среды с помощью упомянутого устройства 48 или могут выводиться из процесса по линии V. В линии V может быть предусмотрен фильтр (например, для предотвращения уноса газом жидкой фракции), счетчик газа для определения его количества, огнепреградитель и сжигатель газа, или сброс в атмосферу.

[142]

Жидкие углеводороды подают в реактор 1 в непрерывном режиме. Непрореагировавшие углеводороды выводят из реактора и с помощью устройства 43 для вывода непрореагировавших углеводородов и направляют на повторную обработку.

Как компенсировать расходы
на инновационную разработку
Похожие патенты