патент
№ RU 2630324
МПК E21B43/20

СПОСОБ РАЗРАБОТКИ ЗАЛЕЖИ НЕФТИ В КАРБОНАТНЫХ КОЛЛЕКТОРАХ, ОСЛОЖНЕННОЙ ЭРОЗИОННЫМ ВРЕЗОМ

Авторы:
Оснос Владимир Борисович
Номер заявки
2016131094
Дата подачи заявки
27.07.2016
Опубликовано
07.09.2017
Страна
RU
Как управлять
интеллектуальной собственностью
Чертежи 
1
Реферат

Изобретение относится к нефтяной промышленности и может найти применение при разработке залежи нефти в карбонатных коллекторах, осложненной эрозионным врезом. Способ включает уточнение контура нефтеносности залежи и борта вреза, определение нефтенасыщенной толщины продуктивных терригенных пластов в эрозионном врезе, бурение добывающих, в том числе горизонтальных скважин в продуктивных терригенных пластах эрозионного вреза со вскрытием его борта, и нагнетательных скважин. Изначально определяют количество пластов в эрозионном врезе. Добывающую скважину бурят из залежи нефти в карбонатных коллекторах с несколькими горизонтальными участками, вскрывающими соответствующий продуктивный пласт в эрозионном врезе. Производят вторичное вскрытие в каждом горизонтальном участке скважины в интервалах пластов эрозионного вреза и залежи нефти в карбонатном коллекторе. Отбор продукции производят при помощи устройства для одновременно-раздельной эксплуатации независимо от вреза и карбонатного коллектора. Закачку рабочего агента производят через нагнетательные скважины. Способ позволяет увеличить нефтеотдачу пластов-коллекторов, повысить охват выработкой запасов нефти залежи в карбонатных коллекторах, а также в продуктивных терригенных пластах-коллекторах, расположенных в эрозионном врезе. 2 ил., 1 пр.

Формула изобретения

Способ разработки залежи нефти в карбонатных коллекторах, осложненной эрозионным врезом, включающий уточнение контура нефтеносности залежи и борта вреза, определение нефтенасыщенной толщины продуктивных терригенных пластов в эрозионном врезе, бурение добывающих, в том числе горизонтальных скважин в продуктивных терригенных пластах эрозионного вреза со вскрытием его борта, и нагнетательных скважин, причем горизонтальные скважины бурят из залежи нефти в карбонатных коллекторах в продуктивный пласт эрозионного вреза, производят отбор продукции из добывающей скважины и закачку рабочего агента через нагнетательные скважины в пласт, отличающийся тем, что определяют количество пластов в эрозионном врезе, добывающую скважину бурят с несколькими горизонтальными участками, вскрывающими соответствующий продуктивный пласт в эрозионном врезе, производят вторичное вскрытие в каждом горизонтальном участке скважины в интервалах пластов эрозионного вреза и залежи нефти в карбонатном коллекторе, а отбор продукции производят при помощи устройства для одновременно-раздельной эксплуатации независимо от вреза и карбонатного коллектора.

Описание

[1]

Предложение относится к нефтедобывающей промышленности, а именно к области разработки залежи нефти, представленной слабопроницаемыми карбонатными коллекторами, осложненной эрозионным врезом.

[2]

Известен способ разработки залежей нефти, осложненных эрозионным врезом, включающий уточнение контуров нефтеносности залежей и определение нефтенасыщенной толщины коллекторов в эрозионном врезе, бурение добывающих и нагнетательных скважин, отбор продукции скважины и закачку рабочего агента в пласт (патент RU №2334087, Е21В 43/20, опубл. 20.09.2008, Бюл. №26). В высокопроницаемой врезовой зоне бурят разветвленную горизонтальную добывающую скважину с выходом разветвлений за пределы вреза в слабопроницаемую зону турнейского объекта на расстояние, не превышающее двух третьих длины одного разветвления. При этом разветвления размещают в одной горизонтальной плоскости с основным горизонтальным стволом или по восходящей или нисходящей траектории и направляют перпендикулярно вытесняющему потоку рабочего агента от вертикальных или наклонно направленных нагнетательных скважин.

[3]

Недостатком способа является то, что имеется ряд ограничений по геологическим условиям и техническим возможностям при бурении скважин таких конструкций.

[4]

Наиболее близким по технической сущности и достигаемому результату является способ разработки залежи нефти в карбонатных коллекторах, осложненной эрозионным врезом (патент RU №2434124, МПК Е21В 43/20, опубл. в Бюл. №32 от 20.11.2011), включающий уточнение контура нефтеносности залежи, определение нефтенасыщенной толщины продуктивных терригенных пластов в эрозионном врезе, бурение добывающих, в том числе горизонтальных скважин в продуктивных терригенных пластах эрозионного вреза со вскрытием его борта, и нагнетательных скважин, отбор продукции из скважины и закачку рабочего агента в пласт, дополнительно определяют расположение борта вреза, горизонтальные скважины бурят из залежи нефти в карбонатных коллекторах в эрозионный врез, в прикровельную часть продуктивного терригенного пласта, производят закачку рабочего агента в продуктивный терригенный пласт эрозионного вреза и отбор продукции из него, при снижении давления в залежи нефти в карбонатных коллекторах производят периодическую закачку рабочего агента в залежь до выравнивания пластового давления в ней с давлением в продуктивном терригенном пласте эрозионного вреза, при этом при наличии нескольких продуктивных пластов в эрозионном врезе горизонтальную скважину строят ступенчато, последовательно охватывая все пласты, начиная с верхнего, причем при обводнении продукции горизонтальную скважину изолируют ступенчато, последовательно, начиная с нижней ступени.

[5]

Недостатком способа является то, что при наличии нескольких продуктивных пластов в эрозионном врезе горизонтальная скважина разрабатывает пласты последовательно, а при различных свойствах добываемой нефти или большого перепада давлений это недопустимо, при этом малая площадь фильтрации скважины в каждом пласте эрозионного вреза не позволяет добиться высокого коэффициента извлечения нефти (КИН обычно не выше 15-18%).

[6]

Техническими задачами предлагаемого способа являются расширение функциональных возможностей способа за счет возможности использования одновременно-раздельной добычи в участках пласта с различными пластовыми давлениями и различными свойствами нефти, а также повышение эффективности разработки залежи нефти за счет увеличения площади фильтрации каждого пласта эрозионного вреза.

[7]

Технические задачи решаются способом разработки залежи нефти в карбонатных коллекторах, осложненной эрозионным врезом, включающим уточнение контура нефтеносности залежи и борта вреза, определение нефтенасыщенной толщины продуктивных терригенных пластов в эрозионном врезе, бурение добывающих, в том числе горизонтальных, скважин в продуктивных терригенных пластах эрозионного вреза со вскрытием его борта и нагнетательных скважин, причем горизонтальные скважины бурят из залежи нефти в карбонатных коллекторах в продуктивный пласт эрозионного вреза, производят отбор продукции из добывающей скважины и закачку рабочего агента через нагнетательные скважины в пласт.

[8]

Новым является то, что определяют количество пластов в эрозионном врезе, добывающую скважину бурят с несколькими горизонтальными участками, вскрывающими соответствующий продуктивный пласт в эрозионном врезе, производят вторичное вскрытие в каждом горизонтальном участке скважины в интервалах пластов эрозионного вреза и залежи нефти в карбонатном коллекторе, а отбор продукции производят при помощи устройства для одновременно-раздельной эксплуатации (ОРЭ) независимо от вреза и карбонатного коллектора.

[9]

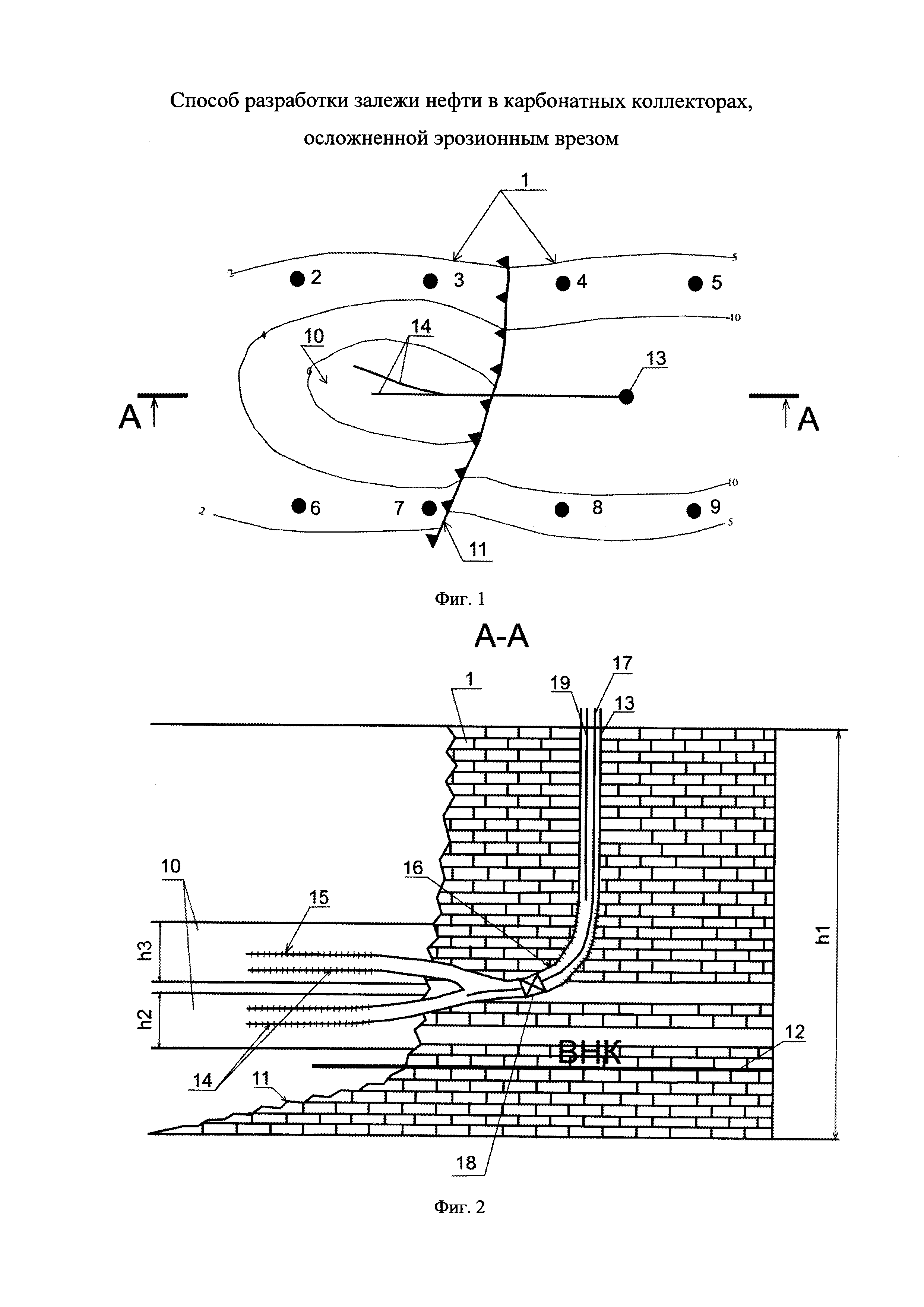
На фиг. 1 изображена схема осуществления предлагаемого способа разработки залежи нефти.

[10]

На фиг. 2 изображен разрез А-А по фиг. 1.

[11]

Заявляемый способ осуществляют в следующей последовательности.

[12]

Нефтяную массивную залежь 1 (фиг. 1) в карбонатных коллекторах разбуривают вертикальными скважинами 2-9 по редкой сетке. Уточняют геологическое строение залежи 1 по данным глубокого бурения скважин 2-9 и сейсмических исследований на территории месторождения.

[13]

По результатам интерпретации каротажных диаграмм скважин 2-9 определяют наличие эрозионного вреза 10 (фиг. 1, 2) в карбонатных коллекторах и борта 11 вреза 10, эффективные нефтенасыщенные толщины h1 (фиг. 2) карбонатного коллектора и толщину пластов h2 и h3 эрозионного вреза 10, фильтрационно-емкостные свойства пород-коллекторов. Затем на структурный план и карту эффективных нефтенасыщенных толщин карбонатных коллекторов наносят границу борта 11 (фиг. 1) вреза 10 и уровень водонефтяного контакта (ВНК) 12 (фиг. 2). По результатам гидродинамических исследований и работе скважин 2-9 осуществляют моделирование процесса разработки, устанавливают существование гидродинамической связи в залежи 1 (фиг. 1, 2) нефти, осложненной эрозионным врезом 10. Производят замеры пластового давления на всех участках залежи 1. Из массивного коллектора в эрозионный врез 10 с вскрытием борта 11 дополнительно бурят добывающую скважину 13 с несколькими горизонтальными стволами 14 (соответственно пластам вреза 10), которые располагают для увеличения охвата и площади фильтрации в эрозионном врезе 10. Горизонтальные стволы 14 (фиг. 2) вскрывают перфорацией 15 в эрозионном врезе 10, а остальной участок 16 скважины 13 с другой от борта 11 стороны вскрывают на всем участке взаимодействия с залежью 1. В скважину 13 спускают колонну труб 17 с пакером 18, которым изолируют вскрытые участки 15 и 16. После чего в скважину 13 спускают вторую колонну труб 19, устанавливают оборудование для ОРЭ (не показано).

[14]

Добывающую скважину 13 осваивают и пускают в эксплуатацию под добычу продукции, одновременно эксплуатируя вскрытую перфорацией 15 часть горизонтальных стволов 14, расположенных во врезе 10 и за бортом 11 вреза 10 на участке 16, с помощью оборудования для ОРЭ.

[15]

Из числа добывающих вертикальных скважин 2 (фиг. 1), 3, 6, 7, пробуренных во врезе 10 и расположенных в непосредственной близости от горизонтальных стволов 14 добывающей скважины 13, добывающие скважины 2 и 6 переводят в нагнетательные при снижении дебитов нефти до предельно рентабельных или по мере обводнения добываемой продукции скважин 2 и 6. Вертикальные добывающие скважины 4 (фиг. 1), 5, 8, 9, пробуренные в массивной части залежи 1, должны быть расположены на расстоянии не менее шага сетки от горизонтальных стволов 14 добывающей скважины 13 и от борта 11 вреза 10. Добывающие вертикальные скважины 4 и 8 переводят в нагнетательные при снижении давления в залежи 1, в них производят периодическую закачку рабочего агента (воды, воды с хим. реагентами, пара и т.д.) до выравнивания и повышения пластового давления в залежи 1.

[16]

Пример конкретного выполнения.

[17]

Осуществление данного способа рассмотрим на примере участка, характерного для массивной залежи 1 нефти турнейского яруса. Залежь нефти 1 (фиг. 1) в карбонатных коллекторах разбуривают вертикальными скважинами 2-9 по сетке 300×300 м. По данным глубокого бурения скважин 2-9 и сейсмических исследований методом 2D, проведенных на территории залежи 1, уточняют геологическое строение залежи 1.

[18]

По результатам интерпретации каротажных диаграмм в скважинах 2, 3, 6, 7 определяют наличие эрозионного вреза 10 в карбонатных коллекторах и борта 11 вреза 10 (фиг. 1 и 2) турнейского яруса глубиной до 25 м. Эффективные нефтенасыщенные толщины карбонатных коллекторов h1 (фиг. 2) составляют в среднем 14 м, а терригенных коллекторов бобриковско-радаевского возраста в эрозионном врезе 10 - h2=11 м и h3=8 м. Проницаемость карбонатных коллекторов равна 0,139 мкм2, терригенных - 0,580 мкм2.

[19]

На структурный план и карту эффективных нефтенасыщенных толщин h1 карбонатных коллекторов наносят границу борта 11 вреза 10, имеющую северо-западное направление. Абсолютная отметка ВНК 12 залежи 1 в карбонатных коллекторах установлена на абсолютной отметке минус 1068 м. В терригенных коллекторах подошва нижнего нефтяного пласта определена на абсолютной отметке минус 1063 м. В зоне борта 11 (фиг. 2) вреза 10 были выделены два терригенных пласта-коллектора с нефтенасыщенной толщиной h2=4,2 м и h3=5,3 м. Скважины 4 (фиг. 1), 5, 8 и 9 были пробурены к востоку от борта эрозионного вреза 10 в направлении увеличения нефтенасыщенных толщин, на участке залежи 1 (фиг. 2), имеющей нефтенасыщенную толщину h1=13,6 м.

[20]

По результатам гидродинамических исследований и работе скважин 2-9 (фиг. 1 и 2) осуществили моделирование процесса разработки и выявили наличие гидродинамической связи между залежью 1 нефти, представленной слабопроницаемыми коллекторами, осложненной эрозионным врезом 10, и двумя терригенными пластами-коллекторами (фиг. 2). Произвели замеры пластового давления в залежи 1, которое составило в нижнем пласте эрозионного вреза 10-14,2 МПа, в верхнем пласте эрозионного вреза 10-14,1 МПа, в карбонатной части залежи 1-14,9 МПа.

[21]

Из массивного коллектора в эрозионный врез 10 (фиг. 1 и 2) с вскрытием борта 11 дополнительно бурят добывающую скважину 13 с двумя горизонтальными стволами 14, которые располагают в соответствующих пластах эрозионного вреза 10 для увеличения охвата и площади фильтрации в этих пластах. Горизонтальные стволы 14 (фиг. 2) вскрывают перфорацией 15 в эрозионном врезе 10, а остальной участок 16 скважины 13 с другой от борта 11 стороны вскрывают на всем участке взаимодействия с залежью 1. В скважину 13 спустили колонну труб 17 с пакером 18, которым изолировали вскрытые участки 15 и 16. После чего в скважину 13 спустили вторую колонну труб 19, установили оборудование для ОРЭ (не показано). Начальная обводненность продукции скважины во врезе 10 составила 7%, в карбонатном коллекторе 8%.

[22]

Добывающие вертикальные скважины 2, 3, 6, 7 (фиг. 1), пробуренные во врезе 10, также пустили в эксплуатацию. Через 1,5 года скважины 3 и 7 при снижении дебита нефти до 1,1 т/сут перевели под нагнетание для поддержания пластового давления в залежи. Расположение скважин 3 и 7 обеспечило движение потока закачиваемого агента по минимально возможному расстоянию к горизонтальному стволу скважины. Добывающие вертикальные скважины 4, 5, 8, 9 пробурили на расстоянии не менее шага сетки от горизонтальных стволов 14 добывающей скважины 13 и от борта 11 вреза 10 в массивной части залежи 1, пустили их в эксплуатацию. Из числа добывающих вертикальных скважин 4, 5, 8, 9, после снижения давления на 30% (до 10,4 МПа) от начального пластового в залежи 1, добывающие скважины 4 и 8 перевели в нагнетательные и произвели периодическую закачку рабочего агента - минерализованной воды. Пластовое давление в залежи 1 повысилось до начального пластового давления - 14,1 МПа.

[23]

В результате проделанных работ добыто дополнительно 18,3 тыс. т нефти, коэффициент извлечения нефти (КИН) повысился от 0,262 до 0,311 д. ед. При этом химический состав до поднятия на поверхность добываемой продукции из карбонатного коллектора залежи 1 и вреза 10 не исследовался, так как смешения продукции при добыче из них через скважину 13 не происходит.

[24]

Таким образом, предлагаемый способ позволяет увеличить дебиты нефти добывающих скважин и нефтеотдачу пластов-коллекторов, повысить охват выработкой запасов нефти залежи в карбонатных коллекторах, осложненной эрозионным врезом, а также в продуктивных терригенных пластах-коллекторах, расположенных в эрозионном врезе.

Как компенсировать расходы
на инновационную разработку
Похожие патенты