патент
№ RU 2683634
МПК C07J53/00

Способ получения бетулина

Авторы:
Сайфутдинов Данис Марселевич Тимербаев Наиль Фарилович Зиатдинова Диляра Фариловна
Все (9)
Номер заявки
2018116921
Дата подачи заявки
07.05.2018
Опубликовано
29.03.2019
Страна
RU
Как управлять
интеллектуальной собственностью
Чертежи 
1
Реферат

Изобретение относится к органической химии. Способ получения бетулина осуществляют в замкнутом экстракционном технологическом комплексе, включающем измельчение бересты, экстракцию толуолом в экстракторе проточного типа (1) при непрерывном противоточном движении бересты и растворителя. При достижении давления в экстракторе 120-130 кПа производят сброс давления до атмосферного и отбор экстракта в выдувной резервуар (2), в котором ведут испарение растворителя. Из выдувного резервуара экстракт непрерывно направляют в куб-испаритель (3), оттуда пересыщенный экстракт направляют в вакуумную сушилку (7), из которой отбирают кристаллизованный бетулин. Пар из обогревательной рубашки вакуумной сушилки (7) после отдачи им тепла направляют в десорбер (20) на десорбцию остаточного растворителя из проэкстрагированной бересты, затем последовательно направляют в обогревательную рубашку экстрактора (1), в первый рекуперативный теплообменник (18) для нагрева рециркулирующего растворителя и далее в куб-испаритель (2). Пары из вакуумной сушилки (7) направляют в первый (6) конденсатор смешения для его поглощения растворителем, последний отбирают в виде паров из выдувного резервуара (2) и конденсируют во втором рекуперативном теплообменнике (4), а после направляют во второй конденсатор смешения (5) для их окончательной конденсации, а из второго конденсатора смешения конденсат направляют в флорентинное устройство (16) для отделения растворителя от воды. Воду из флорентинного устройства охлаждают в компрессорной холодильной установке (13) и направляют во второй конденсатор смешения (5) для окончательной конденсации паров растворителя. Растворитель из флорентинного устройства сливают в первый конденсатор смешения (6), откуда его направляют в буферную емкость (17) и после последовательного нагревания в компрессорной холодильной установке (13), а затем в первом (18) и втором (4) рекуперативных теплообменниках его возвращают в экстрактор (1). Изобретение обеспечивает получение бетулина с чистотой до 99% и выходом 47% от массы сухой бересты по технологии непрерывного процесса экстракции с минимальными энергозатратами. 1 ил.

Формула изобретения

Способ получения бетулина в замкнутом экстракционном технологическом комплексе, включающий измельчение бересты, экстракцию растворителем несмешивающимся с водой, например толуолом, в экстракторе проточного типа при температуре кипения растворителя с отбором экстракта в куб-испаритель, регенерацию растворителя из экстрактора и куба-испарителя в рекуперативный теплообменник, его конденсацию и возврат конденсата в рецикл, отличающийся тем, что экстракцию ведут при непрерывном противоточном движении бересты и растворителя, при достижении давления в экстракторе 120-130 кПа производят сброс давления до атмосферного и отбор экстракта в выдувной резервуар, в котором ведут испарение растворителя, из выдувного резервуара экстракт непрерывно направляют в куб-испаритель, оттуда пересыщенный экстракт направляют в вакуумную сушилку, из которой отбирают кристаллизованный бетулин, пар из обогревательной рубашки вакуумной сушилки после отдачи им тепла направляют в десорбер на десорбцию остаточного растворителя из проэкстрагированной бересты, затем последовательно в обогревательную рубашку экстрактора, в первый рекуперативный теплообменник для нагрева рециркулирующего растворителя и далее в куб-испаритель, а пары из вакуумной сушилки направляют в первый конденсатор смешения для их поглощения растворителем, последний отбирают в виде паров из выдувного резервуара и конденсируют во втором рекуперативном теплообменнике, а после направляют во второй конденсатор смешения для их окончательной конденсации, из второго конденсатора смешения конденсат направляют в флорентинное устройство для отделения растворителя от воды, воду охлаждают в компрессорной холодильной установке и направляют во второй конденсатор смешения для окончательной конденсации паров растворителя, а растворитель сливают в первый конденсатор смешения, откуда его направляют в буферную емкость и после последовательного нагревания в компрессорной холодильной установке, а затем в первом и втором рекуперативных теплообменниках растворитель возвращают в экстрактор.

Описание

[1]

Изобретение относится к органической химии, а именно к способу получения ациклических соединений, содержащих одну двойную связь и две гидроксильные группы: первичную и вторичную, обе связаны с алкильными фрагментами, а именно к способу получения из бересты тритерпеновых соединений, которые используются в химико-фармацевтической, пищевой и косметической промышленностях.

[2]

Бетулин - биологически активное вещество, обеспечивающее березе защиту от внешних факторов, в том числе от различных паразитов. Активно используется в медицине, фармакологии и косметологии. Бетулин - основной компонент экстракта бересты.

[3]

Известен способ получения бетулина из березовой коры, включающий измельчение коры, экстракцию спиртом, отделение раствора с последующим удалением из него растворителя, в котором вначале проводят разделение коры на бересту и луб, экстракцию бересты осуществляют 90-95% этиловым спиртом с температурой 70-75°С в течение 3 часов, при этом во время экстракции добавляют активированный уголь, при следующем весовом соотношении компонентов, кг: береста = 100, спирт этиловый = 400-500, уголь активированный = 35-45. см. RU Патент №2172178, RU 2172178, МПК A61K 35/78 (2000.01), С08Н 5/04 (2000.01), 2001.

[4]

Недостатком этого способа является недостаточный выход бетулина, составляющий 26-30% от веса сухой бересты.

[5]

Известен способ получения бетулина из наружного слоя коры березы, основанный на извлечении бетулина экстракцией измельченной коры березы смесью растворителей, содержащей тетролейный эфир с температурой 70-100°С добавлением толуола от 30 до 75% от общего объема экстрагента, после чего бетулин кристаллизуют. Выход экстракта составляет от 16 до 25% от абсолютно сухого вещества, а содержание бетулина от 90 до 95%. см. RU Патент №2184120, МПК C07J 53/00 (2000.01), C07J 63/00 (2000.01), 2002

[6]

Недостатком вышеописанного способа является недостаточный выход бетулина (от 16 до 25%).

[7]

Известен способ получения бетулина из березовой коры, включающий измельчение коры, ее экстракцию и отделение раствора с последующим удалением из него растворителя, в котором экстракцию коры осуществляют 1-бутанолом, при этом измельченную кору заливают 1-бутанолом и выдерживают в течение 2-48 ч при температуре 20-120°С, фильтруют раствор, отгоняют растворитель, остаток выдерживают 2-16 ч при температуре 5-15°С, кристаллы бетулина фильтруют, отжимают на фильтре, промывают водой и сушат.

[8]

Преимущественное выполнение способа, когда березовую кору разделяют на бересту и луб и производят экстракцию бересты; когда бересту и 1-бутанол берут в соотношении от 1:1 до 1:10; когда березовую кору или бересту заливают 1-бутанолом и перемешивают в течение 1-12 ч. см. RU Патент №2234936, МПК A61K 35/78 (2000.01), С08Н 5/04 (2000.01), 2004.

[9]

Недостатком этого способа является недостаточное качество бетулина (98% чистота).

[10]

Известен способ получения бетулина из березовой коры, включающий измельчение коры, разделение ее на бересту и луб, экстракцию бересты, отделение раствора с последующим удалением из него растворителя, в котором экстракцию бересты осуществляют толуолом, при этом измельченную бересту перемешивают с толуолом в течение 1,5÷3,0 ч при температуре 90÷110oC, фильтруют раствор при температуре 40÷50°С, раствор бетулина в толуоле охлаждают в течение 6÷10 ч до температуры 15÷5°С, затем выпавшие кристаллы бетулина перемешивают с маточным раствором, фильтруют, промывают чистым толуолом, фильтруют и сушат, промывают спиртом этиловым или изопропиловым, затем водой и сушат, см. RU Патент №2192879, МПК А61К 35/78 (2000.01), С08Н 5/04 (2000.01), 2002.

[11]

Недостаток способа заключается в недостаточном качестве бетулина (97% чистота).

[12]

Наиболее близким по технической сущности является способ получения бетулина в замкнутом экстракционном технологическом комплексе, включающий измельчение бересты, экстракцию растворителем в экстракторе проточного типа при температуре кипения растворителя с непрерывным отбором экстракта в куб-испаритель, в кубе-испарителе доводят концентрацию бетулина до концентрации, примерно в два раза превышающей концентрацию насыщенного раствора экстракта при температуре кипения растворителя, после чего экстракт охлаждают и фильтрацией отделяют бетулин, регенерацию растворителя из экстрактора и куба-испарителя ведут в поверхностном рекуперативном теплообменнике (конденсаторе), путем конденсации паров растворителя и возврат конденсата в рецикл, в качестве растворителя используют несмешивающийся с водой органический растворитель, например толуол, см. RU Патент №2306318, МПК C07J 53/00 (2006.01), C07J 63/00 (2006.01), С08Н 5/04 (2006.01), 2007.

[13]

Технической проблемой является недостаточный выход бетулина (25,4%) и его низкая чистота (80-85%).

[14]

Техническая проблема решается способом получения бетулина в замкнутом экстракционном технологическом комплексе, включающим измельчение бересты, экстракцию растворителем несмешивающимся с водой, например толуолом, в экстракторе проточного типа при температуре кипения растворителя с отбором экстракта в куб-испаритель, регенерацию растворителя из экстрактора и куба-испарителя в рекуперативный теплообменник, его конденсацию и возврат в рецикл, согласно изобретению экстракцию ведут при непрерывном противоточном движении бересты и растворителя, при достижении давления в экстракторе 120-130 кПа производят сброс давления до атмосферного и отбор экстракта в выдувной резервуар, в котором ведут испарение растворителя, из выдувного резервуара экстракт непрерывно направляют в куб-испаритель, оттуда пересыщенный экстракт направляют в вакуумную сушилку, из которой отбирают кристаллизованный бетулин, причем пар из обогревательной рубашки вакуумной сушилки после отдачи им тепла направляют в десорбер на десорбцию остаточного растворителя из проэкстрагированной бересты, затем последовательно в обогревательную рубашку экстрактора, в первый рекуперативный теплообменник для нагрева рециркулирующего растворителя и далее в куб-испаритель, а пары растворителя из вакуумной сушилки направляют в первый конденсатор смешения для его поглощения растворителем, последний отбирают в виде паров из выдувного резервуара и конденсируют во втором рекуперативном теплообменнике, а после направляют во второй конденсатор смешения для их окончательной конденсации, из второго конденсатора смешения конденсат направляют в флорентинное устройство для отделения растворителя от воды, далее воду охлаждают в компрессорной холодильной установке и направляют во второй конденсатор смешения для окончательной конденсации паров растворителя, а растворитель сливают в первый конденсатор смешения, откуда его направляют в буферную емкость и после нагревания в компрессорной холодильной установке, а затем в первом и втором рекуперативных теплообменниках растворитель возвращают в экстрактор.

[15]

Решение технической задачи позволяет получать бетулин с чистотой до 99% и выходом 47% от массы сухой бересты по технологии непрерывного процесса экстракции с минимальными энергозатратами.

[16]

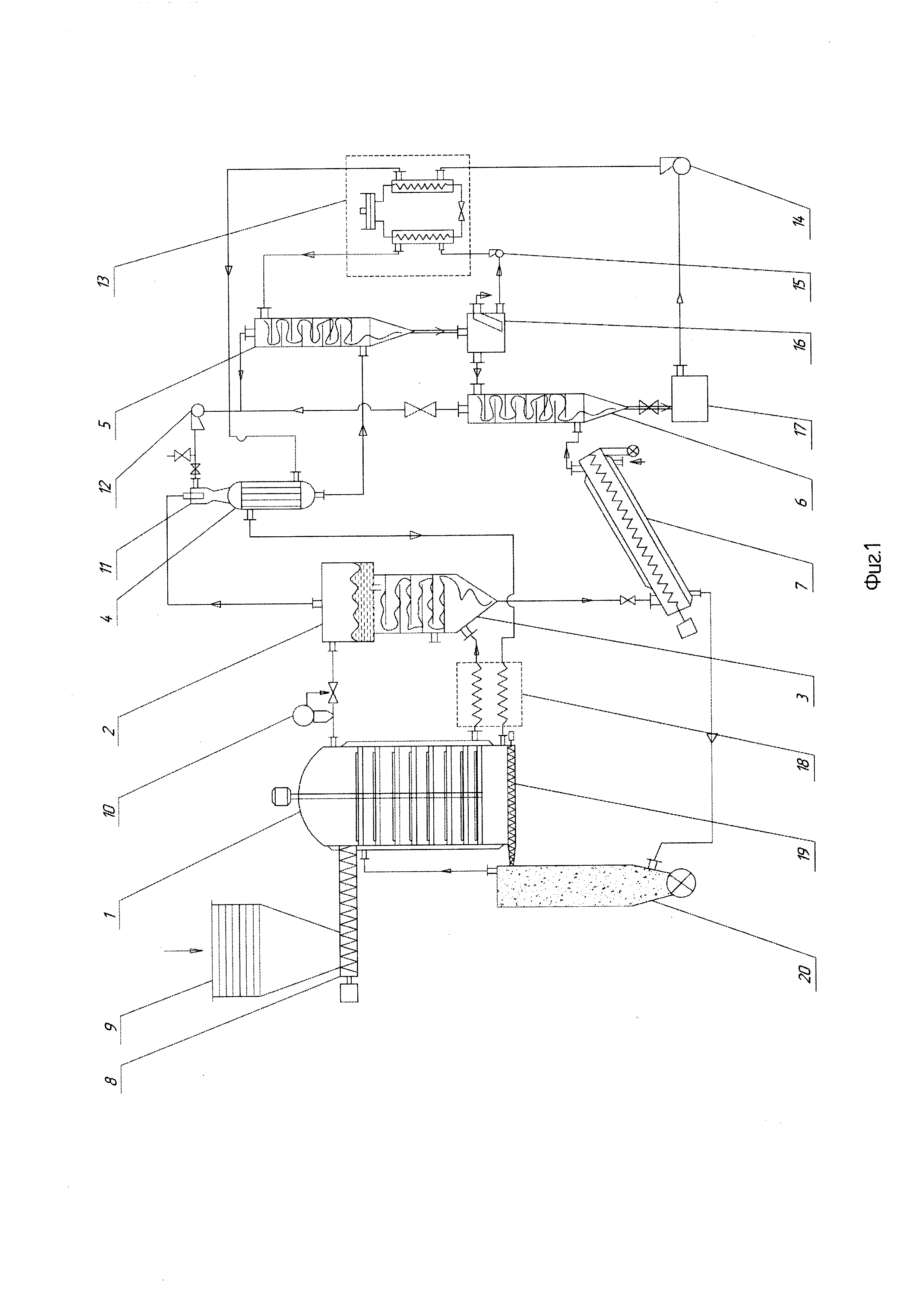
Замкнутый экстракционный технологический комплекс, см. Фиг. 1, содержит экстрактор проточного типа 1, выдувной резервуар 2, куб-испаритель 3, первый 18 и второй 4 рекуперативные теплообменники, первый 6 и второй 5 конденсаторы смешения, вакуумную сушилку 7, верхний 8 и нижний 19 шнековые транспортеры, загрузочную воронку 9, датчик давления 10, инжекторный насос 11, вакуумный насос 12, жидкостные насосы 14, 15, компрессорную холодильную установку 13, флорентинное устройство 16, буферную емкость 17, десорбер 20.

[17]

Предварительно измельченную бересту через загрузочную воронку 9, с помощью верхнего шнекового транспортера 8 подают в экстрактор проточного типа 1. Измельченную кору подают на верхние тарелки экстрактора, а растворитель - толуол, подают снизу. После окончания загрузки систему герметизируют: закрывают загрузочную воронку и включают вакуумный насос 12. Процесс экстракции ведут при температуре кипения толуола с непрерывным противоточным движением растворителя и бересты. Отработанную бересту через нижний шнековый транспортер 19 загружают в десорбер 20, откуда сырье отправляют на дальнейшую переработку. В сливном канале экстрактора для контроля установлен датчик давления 10. При достижении в экстракторе давления 120-130 кПа, производят сброс давления до атмосферного и отбор экстракта в выдувной резервуар 2. Растворитель испаряется из выдувного резервуара, так как он был выброшен из экстрактора под действием давления. Пары растворителя выкачивают из выдувного резервуара инжекторным насосом 11 во второй рекуперативный теплообменник 4, где их конденсируют и подают во второй конденсатор смешения 5, в котором остатки пара окончательно конденсируются при контакте с оборотной охлаждаемой водой. Растворитель попадает в флорентинное устройство 16, где происходит сепарация воды и толуола. Воду из нижней части флорентинного устройства выкачивают жидкостным насосом 15 в компрессорную холодильную установку 13, где ее охлаждают и возвращают во второй конденсатор смешения в качестве оборотной охлаждаемой воды. Оставшийся в флорентинном устройстве растворитель сливают в первый конденсатор смешения 6, в котором происходит контакт холодного толуола и горячих паров вакуумной сушилки 7, вследствие чего реализуется рекуперация тепла, т.е. пар полностью поглощается жидкостью и отдает ей свое тепло. После этого частично нагретый толуол сливают в буферную емкость 17 для скопления. Периодически клапан буферной емкости открывают и толуол возвращают жидкостным насосом 14 в рецикл, последовательно нагревая его в компрессорной холодильной установке, первом и втором рекуперативных теплообменниках 4, 18.

[18]

Экстракт из выдувного резервуара попадает в куб-испаритель 3, где происходит его испарение. Насыщенный экстракт из куба-испарителя сливают в вакуумную сушилку, где его кристаллизуют и получают конечный продукт - бетулин. Пары вакуумной сушилки направляют в первый конденсатор смешения для рекуперации тепла. Для более эффективной сушки экстракта вакуумная сушилка снабжена обогревательной рубашкой, наполняющейся горячим паром, который, выполнив свою обогревательную функцию, попадает в десорбер, где он проходит сквозь слой отработанного сырья и захватывает из него оставшийся растворитель. После этого его направляют в обогревательную рубашку экстрактора, также в качестве нагревательного пара. Из обогревательной рубашки экстрактора пар направляют для его нагрева в первый рекуперативный теплообменник и далее в куб-испаритель в качестве дополнительного нагревателя для испарения экстракта.

[19]

Таким образом, бетулин и синтезированные на его основе производные, обладая разнообразной биологической активностью, в частности антисептическими, гастро- и гепатопротекторными свойствами, противоопухолевой и анти-ВИЧ активностью, представляют большой интерес для химико-фармацевтической, пищевой и косметической промышленности. Заявляемый способ позволяет получать бетулин с чистотой до 99% и выходом 47% от массы сухой бересты по технологии непрерывного процесса экстракции с минимальными энергозатратами.

Как компенсировать расходы
на инновационную разработку
Похожие патенты