патент
№ RU 2243864
МПК B23C3/16
Номер заявки
2003102341/02
Дата подачи заявки
21.01.2003
Опубликовано
10.01.2005
Страна
RU
Как управлять
интеллектуальной собственностью
Чертежи 
2
Реферат

[37]

Изобретение относится к области механической обработки, обработке сотовых наполнителей на пятикоординатных станках с ЧПУ. Способ включает расположение плоскости вращающегося режущего инструмента под углом к обрабатываемой поверхности. Для повышения точности за счет соответствующей пространственной ориентации режущего инструмента в процессе обработки осуществляют совмещение оси режущего инструмента с плоскостью, определяемой прямой, соединяющей точку касания с последующей опорной точкой, и вектором нормали к обрабатываемой поверхности, путем дополнительного поворота оси режущего инструмента вокруг вектора его линейного перемещения. В качестве режущего инструмента может быть использован дисковый нож. 1 з.п. ф-лы, 3 ил.

[38]

Формула изобретения

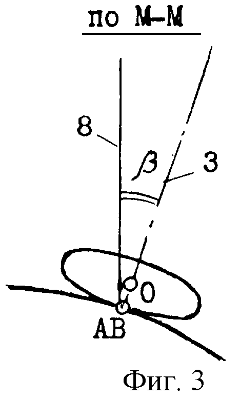
1. Способ обработки сложных поверхностей вращающимся режущим инструментом, включающий расположение плоскости режущего инструмента под углом к обрабатываемой поверхности, отличающийся тем, что в процессе обработки осуществляют совмещение оси режущего инструмента с плоскостью, определяемой прямой, соединяющей точку касания с последующей опорной точкой, и вектором нормали к обрабатываемой поверхности, путем дополнительного поворота оси режущего инструмента вокруг вектора его линейного перемещения.

2. Способ по п.1, отличающийся тем, что в качестве режущего инструмента используют дисковый нож.

Описание

[1]

Изобретение относится к механической обработке и может быть использовано преимущественно при обработке легких заполнителей сложной формы в изделиях многослойной сотовой конструкции плоским дисковым ножом на пятикоординатных станках с программным управлением. Обрабатываемый материал - пенопласт, полимерсотопласт, стеклосотопласт и т.п. Область применения - механообработка деталей авиа- и вертолетостроения.

[2]

Известен способ строчной объемной обработки фасонных поверхностей фрезой с внутренним касанием, которую непрерывно поворачивают относительно продольной оси детали на угол, определяемый из условия совпадения радиуса кривизны обрабатываемого поперечного сечения с радиусом кривизны поперечного сечения цилиндра формообразования (см. авт. свид. №450657, В 23 С 3/16 за 1974 г.).

[3]

Этот способ применим лишь для весьма ограниченного класса деталей, имеющих большую кривизну (аэродинамические модели агрегатов самолетов, коноиды, объемные кулачки, лопатки турбин и др.) и не применим для большого класса деталей, имеющих малую кривизну и значительные габариты (например, детали, выходящие на внешние обводные поверхности в авиастроении, штамповочная объемная оснастка и т.п.).

[4]

Известен способ фрезерования вогнутых фасонных поверхностей с использованием цилиндрических или дисковых фрез, при котором плоскость фрезы располагается под некоторым постоянным или изменяемым углом к обрабатываемой поверхности (см. авт. свид. №132953, 49 В 5/05 за 1960 г.).

[5]

Этот способ не точен и дает возможность получить лишь приближенную форму вогнутой поверхности.

[6]

Наиболее близким по технической сущности является способ обработки сложных поверхностей торцовой вращающейся фрезой, которой сообщают продольную и периодическую поперечную подачу с установкой оси фрезы под углом α к обрабатываемой поверхности, который определяют из условия стабилизации межстрочных гребней (см. авт. свид. №1255303, В 23 С 3/16 за 1986 г.).

[7]

Недостатком этого способа является невозможность обработки сложных поверхностей, имеющих двойную кривизну.

[8]

Предлагаемым изобретением решается задача точного формообразования сложных поверхностей, имеющих двойную кривизну, за счет соответствующей пространственной ориентации режущего инструмента при обработке с учетом двух угловых координат.

[9]

Для достижения этого технического результата в способе обработки сложных поверхностей вращающимся режущим инструментом, включающем расположение плоскости режущего инструмента под углом α к обрабатываемой поверхности, осуществляют дополнительное вращение оси режущего инструмента вокруг вектора его линейного перемещения на угол β, который определяют относительно перпендикуляра к базовой плоскости детали согласно формуле

[10]

[11]

где А, В, С - коэффициенты плоскости, определяемой нормалью к поверхности в точке касания инструмента и вектором перемещения, которые вычисляются из равенств:

[12]

А=Cosβ1Cosγ2-Cosβ2Cosγ1,

[13]

B=Cosα2Cosγ1-Cosα1Cosγ2,

[14]

C=Cosα1Cosβ2-Cosα2Cosβ1,

[15]

α1, β1, γ1 - значения углов, которые составляет вектор нормали к обрабатываемой поверхности в точке касания инструмента соответственно с осями Х, Y и Z,

[16]

α2, β2, γ2 - значения углов, которые составляет вектор линейного перемещения соответственно с осями X, Y и Z.

[17]

Предлагаемый способ обработки сложных поверхностей иллюстрируется чертежами, представленными на фиг.1-3.

[18]

На фиг.1 показано положение плоского дискового ножа относительно обрабатываемой поверхности в момент его касания опорной точки A.

[19]

На фиг.2 изображено положение кромки дискового ножа в плоскости, определяемой вектором нормали в точке A и прямой, соединяющей точку касания с последующей опорной точкой.

[20]

На фиг.3 представлено сечение М-М в плоскости, перпендикулярной к прямой, которая соединяет точку касания с последующей опорной точкой.

[21]

На указанных чертежах поясняется сущность способа обработки. При обработке поверхности детали 1 (фиг.1) дисковый нож 2, вращающийся вокруг оси 3, перемещают по отрезкам прямых, соединяющих последовательно опорные точки С, A, B и т.д. согласно маршрутной технологии, с касанием кромки дискового ножа 2 каждой опорной точки (точка A на фиг.1). В каждой опорной точке (фиг.2) ось вращения 3 наклоняют на угол α в сторону движения относительно перпендикуляра 4 к прямой 5, соединяющей точку касания с последующей опорной точкой, в плоскости 6, определяемой указанной прямой и вектором нормали 7 к обрабатываемой поверхности в точке A. Таким образом, плоскость дискового ножа 2 будет также наклонена на угол α к прямой перемещения 5. Направления векторов нормали 7 и прямой перемещения 5 характеризуются значениями углов α1, β1, γ1 и α2, β2, γ2, которые указанные вектора образуют соответственно с осями Х, Y и Z (фиг.1). На фиг.3 (сечение по М-М) ось вращения 3 совпадает со следом плоскости 6. Таким образом, вторая угловая координата оси вращения инструмента будет определяться углом между следом плоскости 6 и перпендикуляром 8 к базовой плоскости детали.

[22]

При движении дискового ножа к следующей опорной точке линейные координаты его центра О и угловые координаты оси вращения 3 меняют пропорционально изменению длины прямой 5.

[23]

На фиг.2 кривая линия 9 является следом пересечения плоскости 6 с поверхностью детали 1. Расстояние между соседними опорными точками, определяющими маршрут движения ножа в процессе обработки, находят из условия обеспечения необходимой точности формообразования, характеризуемой стрелой прогиба δ между кривой 9 и прямой 5.

[24]

Угол β вычисляют с использованием методов аналитической геометрии; при этом значения направляющих косинусов вектора нормали в точке касания режущего инструмента с поверхностью детали (Соsα1, Соsβ1, Соsγ1) определяют на математической модели детали, а значения направляющих косинусов единичного вектора перемещения для прямой AB вычисляют по формулам: Cosα2=(XB-XA)/S, Cosβ2=(УBA)/S, Cosγ2=(ZB-ZA)/S,

[25]

где - длина прямой AB. Если точку A принять за начало системы координат, в которой XA=0, УA=О, Za=0, то уравнение плоскости, определяемой нормалью 7 и прямой 5, может быть записано в следующем виде:

[26]

AХ+BY+СZ=0,

[27]

где

[28]

[29]

Направление перпендикуляра к базовой плоскости обычно совпадает с направлением оси Z станочной системы координат; а для оси Z значения направляющих косинусов равны

[30]

[31]

Угол между прямой и плоскостью определяется известной формулой

[32]

[33]

Подставляя в эту формулу значения коэффициентов из равенств (1) и (2), находим из нее величину угла β.

[34]

На основе изложенного способа обработки разработано математическое обеспечение, которое выполняет автоматизированную подготовку программ для пятикоординатного станка с программным управлением РФП-6, то есть позволяет вычислять линейные координаты центра и угловые координаты оси вращения дискового ножа, а перемещения ножа формировать с учетом динамических характеристик указанного станка; при этом постепенное изменение линейных и угловых координат при переходе к каждой последующей опорной точке выполняется системой управления станком "Нейрон".

[35]

На Казанском авиационном производственном объединении имени С.П. Горбунова были проведены промышленные испытания по обработке отсеков деталей, входящих в крыльевую систему управления самолета. Обработка осуществлялась плоским дисковым ножом диаметра D=50 мм с постоянным углом наклона торцовой плоскости инструмента к направлению перемещения α=1°. Число оборотов шпинделя равнялось 9000 об./мин при подаче 3000 мм/мин. Допустимое отклонение от теоретической поверхности было принято равным δ=0,02 мм, то есть равнялось величине дискретности позиционирования станка. Обработка на этих режимах обеспечивала высокую точность и хорошее качество обработанной поверхности.

[36]

В I квартале 2003 года на Казанском авиационном производственном объединении им. С.П.Горбунова намечено внедрение предложенного способа обработки сложных поверхностей.

Как компенсировать расходы
на инновационную разработку
Похожие патенты