патент
№ RU 2643083
МПК A61F2/66

ИСКУССТВЕННАЯ СТОПА

Авторы:
Махонин Петр Иванович Максименко Нина Васильевна Завязкин Александр Львович
Все (5)
Номер заявки
2015154270
Дата подачи заявки
17.12.2015
Опубликовано
30.01.2018
Страна
RU
Как управлять
интеллектуальной собственностью
Чертежи 
5
Реферат

[24]

Изобретение относится к медицинской технике и может быть использовано для протезирования нижних конечностей. Искусственная стопа содержит внешнюю оболочку, вкладыш из амортизирующих профилированных пластин, соединенных внутри оболочки носочными частями, и узел крепления к голени, размещенный на верхней пластине. Искусственная стопа дополнительно содержит буфер из эластичного материала, выполненный с верхней поверхностью по форме нижней поверхности верхней пластины, причем от 1/3 до 2/3 длины нижней поверхности буфера выполнено для взаимодействия с ответной частью верхней поверхности нижней пластины и имеет форму ответной части верхней поверхности нижней пластины, при этом буфер соединен с нижней поверхностью верхней пластины посредством клея. Узел крепления к голени выполнен в виде адаптера, установленного на резьбовом соединении, а верхняя и нижняя пластины выполнены из слоистых композиционных материалов. Использование изобретения позволяет обеспечить возможность активного отдыха и занятий спортом для инвалидов 2-3 уровня активности, имеющих вес до 125 кг. 4 з.п. ф-лы, 8 ил.

Формула изобретения

1. Искусственная стопа, содержащая внешнюю оболочку, вкладыш из амортизирующих профилированных пластин, соединенных внутри оболочки носочными частями, и узел крепления к голени, размещенный на верхней пластине, отличающаяся тем, что дополнительно содержит буфер из эластичного материала, выполненный с верхней поверхностью по форме нижней поверхности верхней пластины, причем от 1/3 до 2/3 длины нижней поверхности буфера выполнено для взаимодействия с ответной частью верхней поверхности нижней пластины и имеет форму ответной части верхней поверхности нижней пластины, при этом буфер соединен с нижней поверхностью верхней пластины посредством клея, узел крепления к голени выполнен в виде адаптера, установленного на резьбовом соединении, а верхняя и нижняя пластины выполнены из слоистых композиционных материалов.

2. Искусственная стопа по п. 1, отличающаяся тем, что оболочка выполнена из пенополиуретана.

3. Искусственная стопа по п. 1, отличающаяся тем, что содержит дополнительную верхнюю амортизирующую профилированную пластину, соединенную с верхней амортизирующей профилированной пластиной прокладками из полимерного материала или разделительным слоем из полимерного материала, причем верхняя амортизирующая профилированная пластина выполнена с передним продольным разрезом, имеющим длину, составляющую до 2/3 от длины верхней амортизирующей профилированной пластины.

4. Искусственная стопа по п. 1, отличающаяся тем, что нижняя пластина выполнена с продольным разрезом.

5. Искусственная стопа по п. 4, отличающаяся тем, что нижняя пластина выполнена с передним продольным разрезом, имеющим длину, составляющую до 0,9 длины пластины.

Описание

[1]

Изобретение относится к медицинской технике и может быть использовано для протезирования нижних конечностей.

[2]

Известна искусственная стопа, содержащая внешнюю оболочку с S-образным пружинящим вкладышем и дополнительными амортизационными эластичными элементами (RU 2051648 С1, 10.01.1996).

[3]

Известная искусственная стопа не имеет эффективных средств регулировки, позволяющих оптимизировать ее параметры в соответствии с физическими данными пользователя, и содержит S-образный вкладыш, который значительно усложняет изготовление и сборку всей конструкции.

[4]

Более близкой к предлагаемому изобретению можно считать искусственную стопу, содержащую внешнюю оболочку с верхним и нижним вкладышами в виде амортизирующих профилированных пластин, соединенных между собой внутри оболочки носочными частями через прокладки, и узел крепления к голени, расположенный на верхнем вкладыше (RU 2085155 С1, 27.07.1997).

[5]

Наличие двух вкладышей, выполненных в виде соединенных между собой пластин, упрощает конструкцию искусственной стопы и делает ее более доступной для пользователей, но отсутствие в стопе буфера не позволяет ее использовать пациентам с большим весом и высокой степенью активности.

[6]

Настоящее изобретение направлено на решение задачи по созданию искусственной стопы, не имеющей недостатков известных конструкций и обеспечивающей максимальный комфорт пациенту.

[7]

Техническим результатом изобретения является возможность активного отдыха и занятий спортом для инвалидов 2-3 уровня активности, имеющих вес до 125 кг.

[8]

Сущность изобретения выражается в совокупности существенных признаков, в которой искусственная стопа, содержащая внешнюю оболочку, вкладыш из амортизирующих профилированных пластин, соединенных внутри оболочки носочными частями, и узел крепления к голени, размещенный на верхней пластине, отличается от ближайшего аналога тем, что дополнительно содержит буфер из эластичного материала, выполненный с верхней поверхностью по форме нижней поверхности верхней пластины, причем от 1/3 до 2/3 длины нижней поверхности буфера выполнено для взаимодействия с ответной частью верхней поверхности нижней пластины и имеет форму ответной части верхней поверхности нижней пластины, при этом буфер соединен с нижней поверхностью верхней пластины посредством клея, узел крепления к голени выполнен в виде адаптера, установленного на резьбовом соединении, а верхняя и нижняя пластины выполнены из слоистых композиционных материалов.

[9]

В частном случае выполнения или использования искусственная стопа может содержать оболочку из пенополиуретана; дополнительную верхнюю амортизирующую профилированную пластину, соединенную с верхней амортизирующей профилированной пластиной прокладками из полимерного материала или разделительным слоем из полимерного материала, причем верхняя амортизирующая профилированная пластина выполнена с передним продольным разрезом, имеющим длину, составляющую до 2/3 от длины дополнительной верхней амортизирующей профилированной пластины; нижнюю пластину, выполненную с продольным разрезом; нижнюю пластину, выполненную с передним продольным разрезом, имеющим длину, составляющую до 0,9 длины пластины.

[10]

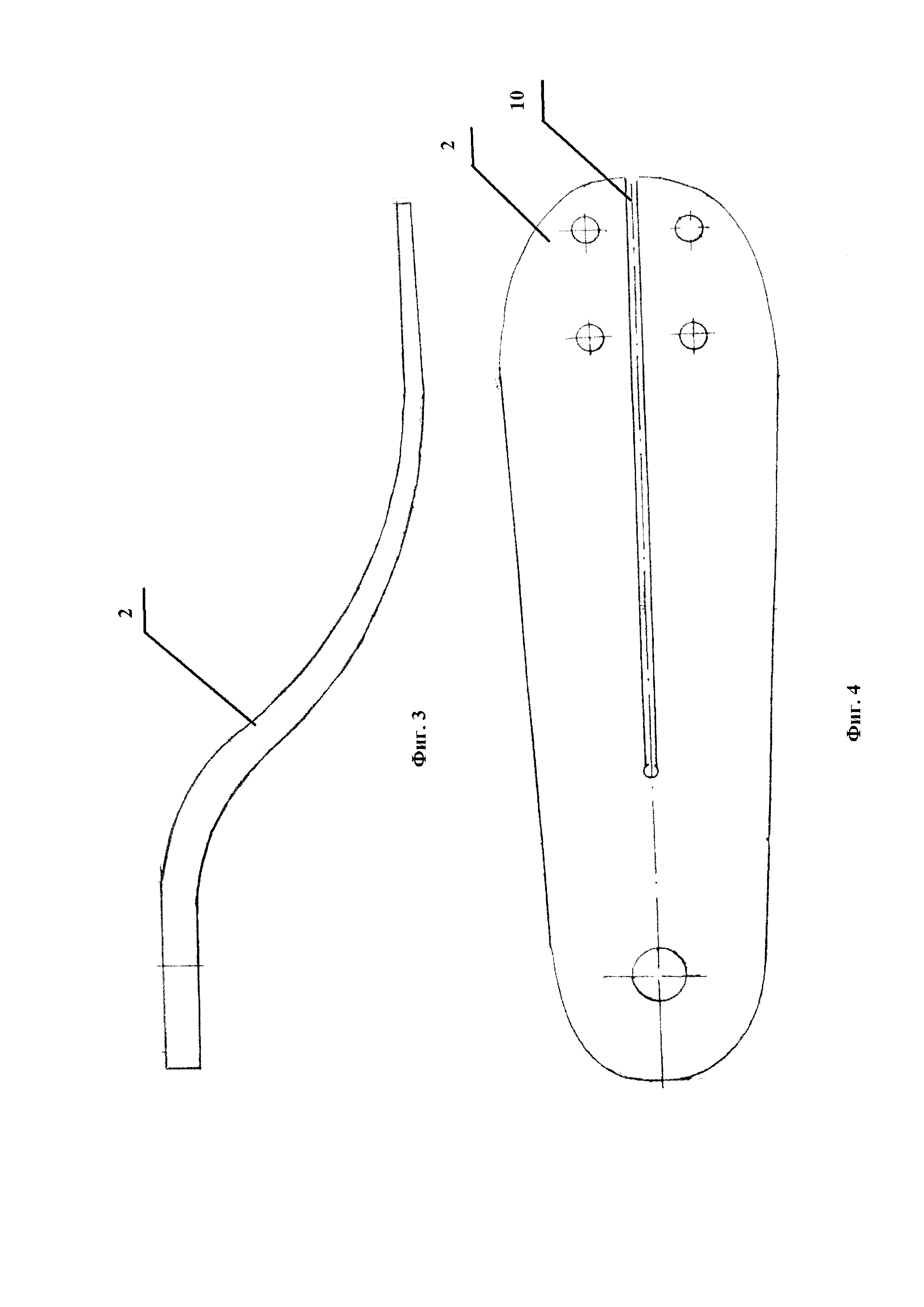
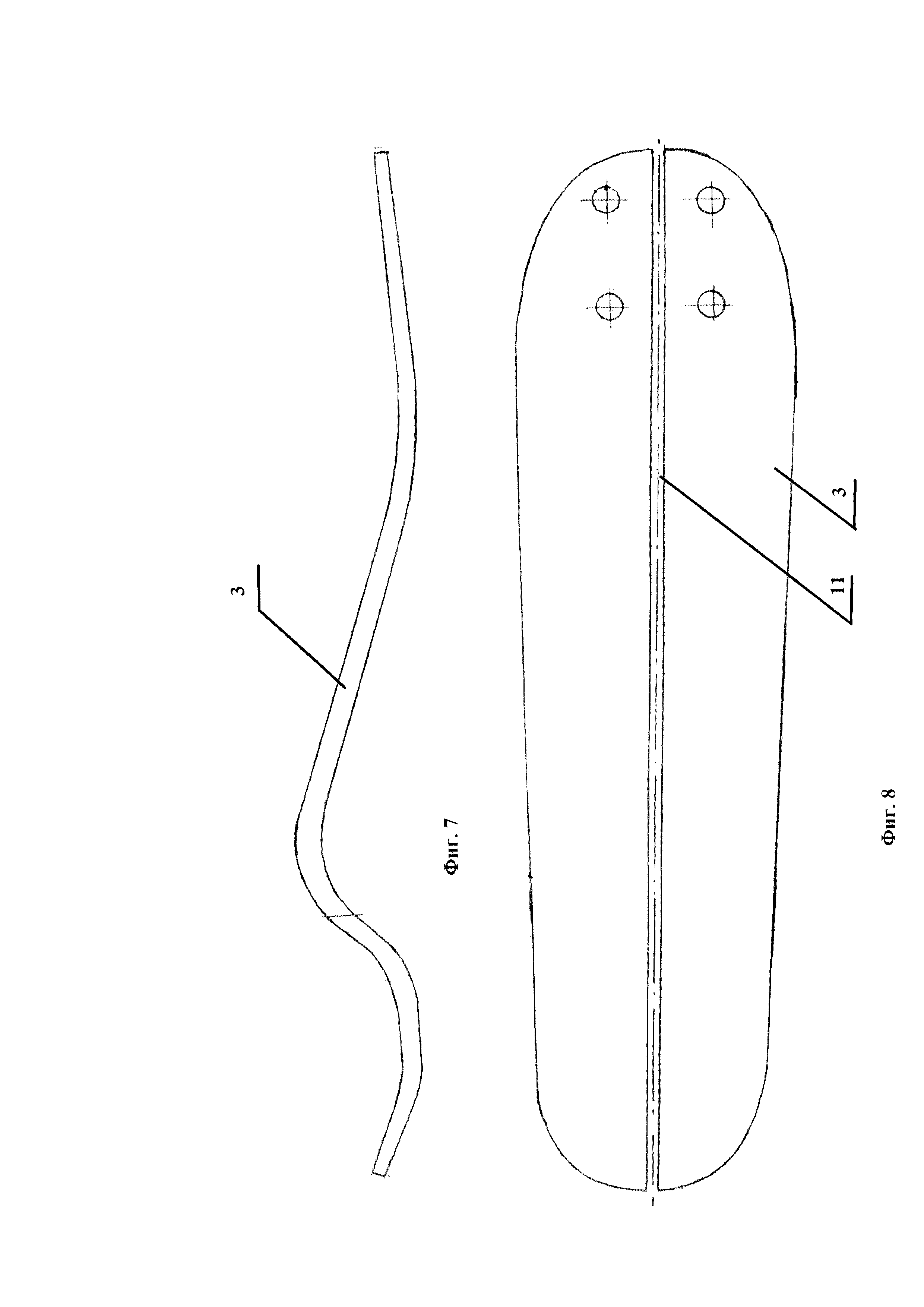
Сущность изобретения поясняется чертежами, где на фиг. 1 дан продольный разрез искусственной стопы с верхней амортизирующей профилированной пластиной; на фиг. 2 дан продольный разрез искусственной стопы с дополнительной верхней амортизирующей профилированной пластиной, соединенной с верхней амортизирующей профилированной пластиной прокладками из полимерного материала; на фиг. 3-6 показаны варианты выполнения верхней амортизирующей профилированной пластины и на фиг. 7 и 8 - варианты выполнения нижней амортизирующей профилированной пластины.

[11]

Искусственная стопа содержит внешнюю оболочку 1, в которой размещен вкладыш из верхней амортизирующей профилированной пластины 2 и нижней амортизирующей профилированной пластины 3. Пластины 2 и 3 выполнены из слоистых композиционных материалов (например, из углепластика или из стеклопластика) и соединены между собой внутри оболочки 1 носочными частями через прокладки 4, например, при помощи заклепок 5.

[12]

На верхней пластине 2 вкладыша размещен узел крепления к голени, выполненный в виде адаптера 6, установленного на резьбовом соединении 7. Толщина верхней пластины 2 равна 8-10 мм в пяточной части, 3-5 мм в носочной части и 8,5-13 мм на участке взаимодействия с буфером 8. Толщина нижней пластины 3 равна 3-5 мм в пяточной и в носочной части и имеет максимальный размер 6-10 мм на участке взаимодействия с буфером 8. Буфер 8 из эластичного материала выполнен с верхней поверхностью по форме нижней поверхности верхней пластины 2. От 1/3 до 2/3 длины нижней поверхности буфера 8 выполнено для взаимодействия с ответной частью верхней поверхности нижней пластины 3 и имеет форму ответной части верхней поверхности нижней пластины 3. Буфер 8 соединен с нижней поверхностью верхней пластины 2 посредством клея.

[13]

В частных случаях выполнения или использования искусственная стопа может содержать оболочку 1 из пенополиуретана; дополнительную верхнюю амортизирующую профилированную пластину 9, соединенную с верхней амортизирующей профилированной пластиной 2 прокладками 4 из полимерного материала или разделительным слоем из полимерного материала, причем верхняя амортизирующая профилированная пластина 2 может быть выполнена с передним продольным разрезом 10, имеющим длину, составляющую до 2/3 от длины верхней амортизирующей профилированной пластины 2; нижнюю пластину 3, выполненную с продольным разрезом 11, и нижнюю пластину 3, выполненную с передним продольным разрезом 11, имеющим длину, составляющую до 0,9 длины пластины 3.

[14]

Искусственная стопа крепится к гильзе протеза посредством адаптера 6, установленного на резьбовом соединении 7.

[15]

При использовании искусственной стопы инвалидом в переднем толчке нагрузка прикладывается на пяточную часть нижней амортизирующей профилированной пластины 3 и переходит в крутящий момент в сагиттальной плоскости, что обеспечивает прогиб стопы в носочной части и плавный переход к фазе опоры с последующим переходом в фазу переката без отрыва подошвы внешней оболочки 1.

[16]

В задней части искусственной стопы аккумулируется энергия (эффект энергосбережения), которая способствует усилению энергии в фазе переката и фазе заднего толчка.

[17]

Геометрия сочленяющихся поверхностей верхней пластины 2 и нижний пластины 3, которые могут иметь продольные разрезы 10 и 11, и плотное соединение в носочной части, достигаемое за счет прокладок 4, решают задачу синтеза работы двух, трех и четырех независимых участков гибких пластин с заданным моментом сопротивления при изгибе.

[18]

Когда голеностопный угол изменяется, нижняя поверхность верхней пластины 2 деформируется и перемещается относительно верхней поверхности нижней пластины 3, деформируя буфер 8. Крутящий момент, сила и величина деформации в фазе движения от носка до оси голеностопа происходит с переменной величиной, создавая эффект пропеллера, вальгус-варусные и ротационные перемещения, обеспечивая смягчение удара в фазе опоры.

[19]

В фазе опоры буфер 8 деформируется также под весом тела. Момент сопротивления сгибанию зависит от динамической нагрузки, установленной жесткости буфера и длины продольного разреза 10 верхней пластины 2. В свою очередь момент сопротивления определяет силовое взаимодействие между гильзой протеза и культей. Таким образом, устанавливается связь между настройкой начальной жесткости и удобством ходьбы.

[20]

Буфер 8 выполняет роль амортизатора (успокоителя) величин перемещения верхней пластины 2 и нижней пластины 3 во всех фазах движения.

[21]

Продольные разрезы 10 и 11 верхней пластины 2 и нижней пластины 3 обеспечивают комфорт пациентам с большим весом и высокой степенью активности, так как за счет своей геометрии жесткость и прочность вкладыша увеличивается в 2 раза из-за уменьшения сдвиговых нагрузок.

[22]

За счет подбора нужной твердости эластичного материала буфера 8 достигается интегрированная биомеханическая характеристика стоп и наименьшая пиковая нагрузка на культю, что взаимосвязано с наивысшим из возможных уровнем комфорта.

[23]

Совокупность параметров стопа - голеностопный узел, используемая в данной конструкции, перемещение верхней пластины 2 и нижней пластины 3, соединенных в носочной части, представляет собой кинематические пары, обеспечивающие плавность переходов во всех фазах движения. Паз 10, выполненный в верхней пластине 2, и паз 11, выполненный в нижней пластине 3, способствуют плавности таких переходов.

Как компенсировать расходы
на инновационную разработку
Похожие патенты