патент
№ RU 2603014
МПК H01L23/36

СПОСОБ КОМПОНОВКИ ЭЛЕКТРОННОГО МОДУЛЯ, ОБЕСПЕЧИВАЮЩИЙ УЛУЧШЕННЫЕ ТЕПЛОВЫЕ И ГАБАРИТНЫЕ РАЗМЕРЫ

Авторы:
Букварева Татьяна Викторовна
Номер заявки
2014150921/07
Дата подачи заявки
16.12.2014
Опубликовано
20.11.2016
Страна
RU
Как управлять
интеллектуальной собственностью
Чертежи 
3
Реферат

Изобретение может применяться для охлаждения группы тепловыделяющих элементов, размещенных на печатной плате. Технический результат - обеспечение эффективного отвода тепла при минимизации объемов конструкции, отсутствии необходимости использования внутри устройства принудительной циркуляции воздуха, обеспечение электромагнитного экранирования печатной платы с установленными электронными компонентами при ограничениях по толщине устройства. Достигается тем, что на каждой стороне базовой печатной платы между тепловыделяющими элементами группы субмодулей, размещенных с обеих сторон базовой печатной платы, и базовой печатной платой установлена пластина теплопроводящая, соединенная с радиатором с образованием электрически замкнутого объема. При этом тепловыделяющие элементы субмодулей обращены крышкой корпуса к пластинам теплопроводящим, а между печатными платами субмодулей и внутренней поверхностью радиаторов установлены прокладки теплопроводящие, при этом радиаторы соединены с базовой печатной платой. 3 ил.

Формула изобретения

Устройство охлаждения электронного модуля, содержащего тепловыделяющие элементы, размещенные на группе субмодулей, соединенных с базовой печатной платой с помощью межплатных разъемов, содержащее, по меньшей мере, один радиатор, отличающееся тем, что на каждой стороне базовой печатной платы между тепловыделяющими элементами группы субмодулей, размещенных с обеих сторон базовой печатной платы, и базовой печатной платой установлена пластина теплопроводящая, соединенная с радиатором с образованием электрически замкнутого объема, при этом тепловыделяющие элементы субмодулей обращены крышкой корпуса к пластинам теплопроводящим, а между печатными платами субмодулей и внутренней поверхностью радиаторов установлены прокладки теплопроводящие, при этом радиаторы соединены с базовой печатной платой.

Описание

[1]

Изобретение относится к области электротехники и может применяться для охлаждения группы тепловыделяющих элементов, размещенных на печатной плате, а также отвода тепла с самой печатной платы.

[2]

Технический результат - обеспечение эффективного отвода тепла от группы тепловыделяющих элементов, размещенных на печатной плате при минимизации объемов конструкции, рассеивание тепла в окружающее пространство при отсутствии необходимости использования внутри устройства принудительной циркуляции воздуха, обеспечение электромагнитного экранирования печатной платы с установленными электронными компонентами при ограничениях по толщине устройства.

[3]

Известен аналог, описанный в патенте России №2282956 (заявка №2004137331, дата подачи 2004.12.21, опубл. 2006.08.27), который представляет собой цельнометаллическую конструкцию с оребрением. Рассеивание тепла в окружающее пространство осуществляется через оребрение, при этом поверхности ребер выполнены волнообразными. Недостатком такого устройства является сложность изготовления профиля оребрения, при котором требуется обязательное изготовление оснастки, что приводит к дополнительным затратам. Другим недостатком является конструктивное ограничение на расположение тепловыделяющих элементов: монтаж устройства производится на один тепловыделяющий элемент или тепловыделяющие элементы, расположенные в ряд, т.е. имеет место ограничение по направлению оребрения и расположению элементов.

[4]

Известен аналог, описанный в патенте США №6611431 (заявка №20020115290 от 2002.04.02), представляющий собой устройство, которое фиксируется к печатной плате крепежными элементами. Отвод тепла от тепловыделяющего элемента на устройство охлаждения производится через теплопроводящие пасты, гели или прокладки, рассеивание тепла в окружающее пространство обеспечивается оребрением. Описанное решение конструктивно предназначено для охлаждения одного тепловыделяющего элемента и также не может эффективно применяться при строгих ограничениях габаритных размеров. При сочетании требований к печатной плате и тепловыделяющему элементу по тепловому режиму работы и электромагнитному экранированию описанное устройство не осуществляет электромагнитного экранирования, так как выводы радиоэлемента, расположенные по периметру его корпуса, полностью открыты.

[5]

Известны аналогичные технические решения, описанные в патенте США №5583316 (заявка №19940211241 от 1994.03.29) и в патенте США №5504650 (заявка №19950433131 от 1995.05.03), представляющие собой устройство с оребрением, в конструкции которого предусмотрен канал для воздушного охлаждения. Недостатками этих устройств являются ограниченные габаритные размеры, отсутствие электромагнитного экранирования и наличие принудительного охлаждения, что усложняет конструкцию.

[6]

Наиболее близким можно считать аналог, описанный в патенте России №2361378 (заявка №2007130875/09, дата подачи 2007.08.13, опубл. 2009.07.10), который представляет собой цельнометаллическую конструкцию с оребрением, обеспечивающую тепловой контакт с печатной платой, что улучшает отвод тепла от тепловыделяющих элементов. Недостатком аналога является невозможность использования субмодулей, размещаемых с одной или двух сторон печатной платы, а также его применения в герметичных конструкциях из-за наличия отверстий для входа и выхода воздуха.

[7]

Техническим результатом является обеспечение эффективного отвода тепла от группы тепловыделяющих элементов, размещенных на печатной плате при минимизации объемов конструкции, рассеивание тепла в окружающее пространство при отсутствии необходимости использования внутри устройства принудительной циркуляции воздуха, обеспечение электромагнитного экранирования печатной платы с установленными электронными компонентами при ограничениях по толщине устройства.

[8]

Предлагается конструкция устройства охлаждения группы тепловыделяющих элементов, совмещающая в себе отвод тепла с крышки корпуса тепловыделяющего элемента, одновременно с отводом тепла с нижней части корпуса через тепловой контакт с печатной платой. Таким образом от тепловыделяющего элемента к радиатору тепловой поток передается двумя путями с разным значением теплового сопротивления. Такое решение повышает эффективность отвода тепла от тепловыделяющего элемента. Минимизация объемов конструкции достигается за счет определенного размещения элементов внутри устройства. Наиболее сильно нагретые компоненты располагаются крышкой корпуса вниз, что позволяет исключить погрешность выполнения печатной платы и применить тонкие теплопроводящие прокладки. В случае построения конструкции с использованием субмодулей, объем конструкции минимизируется за счет эффективного использования зазоров между субмодулем и базовой платой, образующихся при установке межплатных разъемов. Наилучший результат достигается в случае двухстороннего размещения субмодулей относительно базовой платы.

[9]

Электромагнитное экранирование обеспечивается за счет создания электрически замкнутого объема, образованного радиатором - с одной стороны, и теплопроводящей прокладкой, размещенной на базовой печатной плате - с другой стороны.

[10]

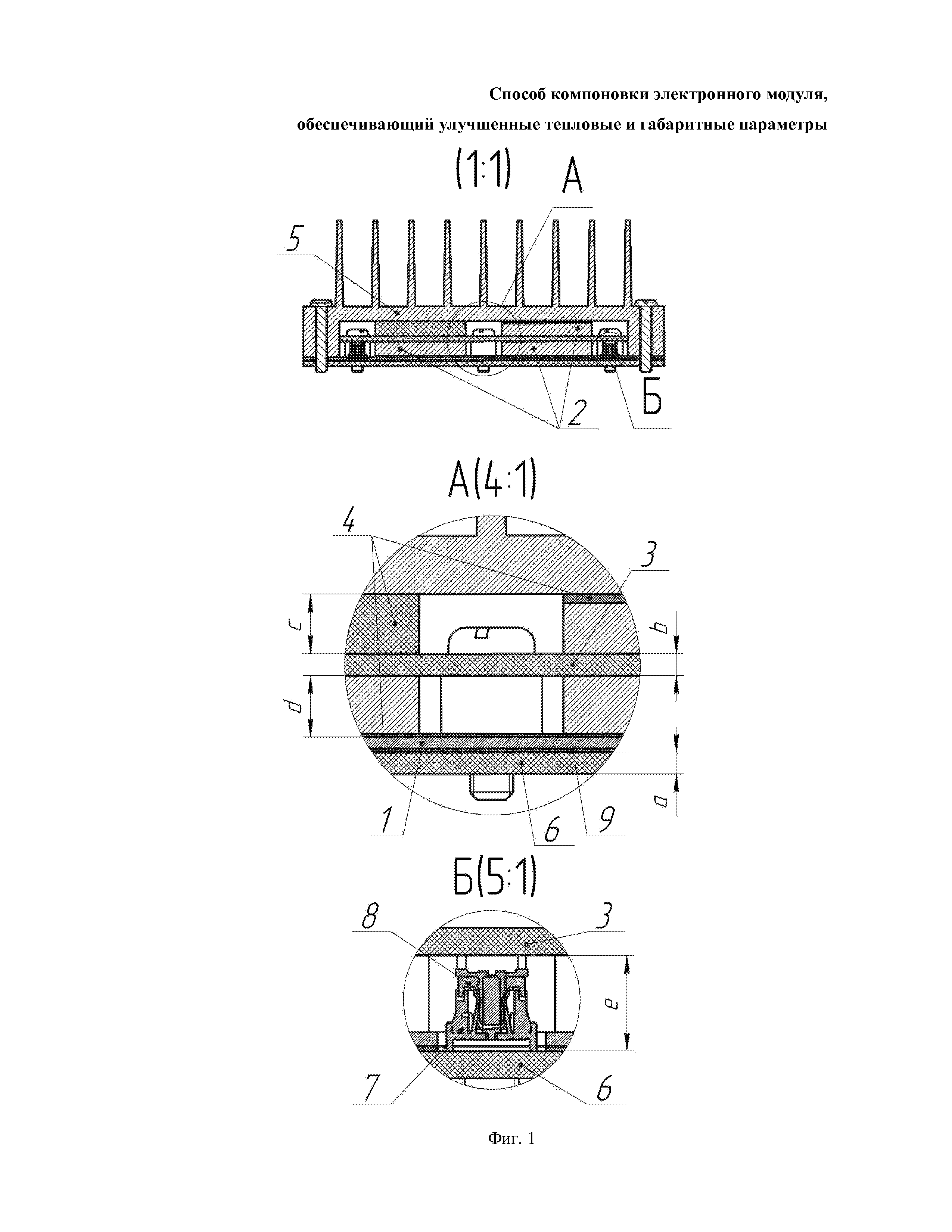
Сущность технического решения показана на чертежах: фиг. 1 - компоновка конструкции с односторонним размещением субмодулей; фиг. 2 - компоновка конструкции с двухсторонним размещением субмодулей; фиг. 3 - пример реализации в виде вставного блока (ячейки).

[11]

Традиционно, при выполнении конструкций с повышенной удельной мощностью на многослойных печатных платах предусматривается выделение одного или нескольких слоев платы для целей передачи тепла от тепловыделяющих элементов. Однако такая конструкция имеет, с одной стороны, ограничения по теплопроводности, ввиду малой толщины теплоотводящих слоев печатной платы, а с другой стороны - эти слои не могут использоваться для размещения проводников, что приводит к необходимости увеличения толщины печатной платы. Введение в конструкцию (фиг. 1) пластины теплопроводящей 1, которая обладает высокой теплопроводностью, позволяет эффективно передать тепло от тепловыделяющих элементов 2, размещенных на плате субмодуля 3. При этом тепловыделяющий элемент 2 развернут крышкой корпуса к пластине теплопроводящей 1, передавая тепловую энергию через прокладку теплопроводящую 4. С пластины теплопроводящей 1 тепловая энергия передается на радиаторы 5, которые выполняются цельно фрезерованными. Ввиду наличия электрического контакта между пластиной теплопроводящей и радиатором образуется замкнутый объем, обеспечивающий электромагнитное экранирование схемы с одной стороны, и возможность передачи электрических сигналов по проводникам базовой платы 6 к другим секциям конструкции. Основным путем передачи тепла является крышка корпуса тепловыделяющего элемента 2, но достаточно большая часть (обычно от 10 до 50%) тепловой энергии передается посредством теплового контакта с печатной платой субмодуля. Для отвода этой части тепловой энергии целесообразно использовать прокладку теплопроводящую 4 увеличенной толщины «с», выполненной из мягкого теплопроводящего материала или компаунда. С целью более эффективного использования полезного объема на верхней стороне платы субмодуля размещаются электронные компоненты малой высоты и рассеиваемой мощности. Для передачи тепла от них также подходит использование теплопроводящей прокладки, выполненной из мягкого теплопроводящего материала или компаунда.

[12]

Современная компоновка электронных схем высокой степени интеграции подразумевает использование субмодулей, соединяющихся с базовой платой по средством специализированных разъемов 7 и 8. Эффективность использования полезного объема конструкции (фиг. 1) связана с высотой таких разъемов. Обычно высота находится в диапазоне от 3 до 10 мм. Высота образовавшегося зазора размером «e» между базовой платой и платой субмодуля складывается из толщин следующих деталей: прокладки изолирующей 9, пластины теплопроводящей 1, прокладки теплопроводящей 4 тонкой и тепловыделяющих элементов 2, расположенных на плате субмодуля. Типовые значения размеров следующие: толщина прокладки изолирующей 9 в пределах от 0,1 до 0,25 мм, толщина пластины теплопроводящей 1 в пределах от 0,5 до 0,9 мм, толщина тонкой прокладки теплопроводящей 4 в пределах от 0,15 до 0,2 мм и высота тепловыделяющих элементов 2, расположенных на плате субмодуля в пределах от 1,5 до 3,5 мм. При выполнении базовой печатной платы с глухими переходными отверстиями изолирующую прокладку можно исключить. Исходя из полученных значений суммарной высоты зазора «e» находящихся в пределах от 2,25 до 4,85 мм определяем, что в предложенной конструкции целесообразно использование стандартных разъемов высотой от 3 до 5 мм.

[13]

На фиг. 2 приведена двухсторонняя конструкция. В этом варианте компоновки к базовой плате, находящейся в центре конструкции, платы субмодуля размещаются с обеих сторон, что позволяет более эффективно использовать полезный объем, при сохранении качества отвода тепла.

[14]

На фиг. 3 приведен пример реализации устройства в виде двухстороннего вставного блока (ячейки).

Как компенсировать расходы
на инновационную разработку
Похожие патенты