патент
№ RU 2514545
МПК A61M1/34

ПЛАЗМОФИЛЬТР

Авторы:
Саркисов Артур Игоревич
Номер заявки
2012136224/14
Дата подачи заявки
23.08.2012
Опубликовано
27.04.2014
Страна
RU
Как управлять
интеллектуальной собственностью
Чертежи 
1
Реферат

Изобретение относится к медицинской технике. Плазмофильтр содержит мембранный модуль, размещенный в цилиндрическом корпусе со штуцерами подвода крови, отвода плазмы и концентрированной крови. Мембранный модуль выполнен в виде плотно свернутой плоской спирали, представляющей собой пакет, состоящий из двух прямоугольных мембранных полотен, разделенных внутренней сеткой с образованием канала оттока плазмы, и навитый совместно с наружной сеткой с образованием канала тока крови на трубчатый коллектор, закрытый с одной стороны и имеющий сквозную боковую перфорацию. Пакет герметичен по периметру с трех сторон, наружная часть мембраны, образующая боковую поверхность мембранного модуля, герметично обернута несколькими слоями водонепроницаемой эластичной пленки. Корпус состоит из трубки, нижней и верхней крышек. Нижняя крышка содержит штуцер, расположенный на ее периферии, центральный штуцер, переходящий в патрубок, отверстие, герметично закрытое самозатягивающимся эластичным материалом, и имеет форму открытого с одной стороны полого тонкостенного цилиндра. Верхняя крышка содержит штуцер и имеет форму цилиндра, в торце стенки нижней крышки и в основании верхней крышки напротив друг друга сформированы кольцевые пазы, в которые вставлена трубка, герметично сопряженная с боковыми поверхностями пазов. Мембранный модуль установлен с зазорами относительно трубки и оснований крышек с образованием коллекторных пространств для входа и выхода крови, причем нижняя часть боковой поверхности мембранного модуля герметично сопряжена с боковой поверхностью нижней крышки, а коллекторная трубка - с патрубком, все штуц

Формула изобретения

1. Плазмофильтр, содержащий мембранный модуль, размещенный в цилиндрическом корпусе со штуцерами подвода крови, отвода плазмы и концентрированной крови, отличающийся тем, что мембранный модуль выполнен в виде плотно свернутой плоской спирали, представляющей собой пакет, состоящий из двух прямоугольных мембранных полотен, разделенных внутренней сеткой с образованием канала оттока плазмы, и навитый совместно с наружной сеткой с образованием канала тока крови на трубчатый коллектор, закрытый с одной стороны и имеющий сквозную боковую перфорацию, причем пакет герметичен по периметру с трех сторон, наружная часть мембраны, образующая боковую поверхность мембранного модуля, герметично обернута несколькими слоями водонепроницаемой эластичной пленки, корпус состоит из трубки, нижней и верхней крышек, нижняя крышка содержит штуцер, расположенный на ее периферии, центральный штуцер, переходящий в патрубок, отверстие, герметично закрытое самозатягивающимся эластичным материалом, и имеет форму открытого с одной стороны полого тонкостенного цилиндра, верхняя крышка содержит штуцер и имеет форму цилиндра, в торце стенки нижней крышки и в основании верхней крышки напротив друг друга сформированы кольцевые пазы, в которые вставлена трубка, герметично сопряженная с боковыми поверхностями пазов, мембранный модуль установлен с зазорами относительно трубки и оснований крышек с образованием коллекторных пространств для входа и выхода крови, причем нижняя часть боковой поверхности мембранного модуля герметично сопряжена с боковой поверхностью нижней крышки, а коллекторная трубка - с патрубком, все штуцеры оканчиваются соединениями Луер-лок, закрытыми съемными колпачками.

2. Плазмофильтр по п.1, отличающийся тем, что герметичные сопряжения контактирующих поверхностей его деталей выполнены с использованием сварки токами высокой частоты или ультразвуковой сварки или термосварки и механического сжатия.

3. Плазмофильтр по п.1, отличающийся тем, что герметичные сопряжения контактирующих поверхностей его деталей выполнены с использованием клеев, выбираемых из циклогексанона или тетрагидрофурана, и растворителей, выбираемых из метилэтилкетона или метиленхлорида, и механического сжатия.

4. Плазмофильтр по п.1, отличающийся тем, что герметичные сопряжения контактирующих поверхностей его деталей выполнены с использованием циакриновых клеев или однокомпонентных полиуретановых клеев-расплавов или одно - или двухкомпонентных полиуретановых или силиконовых клеев-герметиков и механического сжатия.

5. Плазмофильтр по п.1, отличающийся тем, что корпус выполнен из прозрачного материала.

6. Плазмофильтр по п.1, отличающийся тем, что в качестве водонепроницаемой эластичной пленки используют поливинилхлоридную, или полипропиленовую, или полиэтиленовую стрейч-пленку толщиной, лежащей преимущественно в пределах 5-20 мкм.

7. Плазмофильтр по п.1, отличающийся тем, что в качестве мембраны используют микрофильтрационную, или ультрафильтрационную изотропную, или анизотропную, или композитную мембрану толщиной, лежащей преимущественно в пределах 7-180 мкм.

8. Плазмофильтр по п.7, отличающийся тем, что поверхность мембраны, контактирующая с кровью, имеет гидрофильные свойства.

9. Плазмофильтр по п.1, отличающийся тем, что толщины наружной и внутренней сеток, расположенных соответственно в каналах крови и плазмы, находятся в соотношении не менее 1:2, причем толщина наружной сетки лежит преимущественно в пределах 0,1-0,4 мм, а внутренней - 0,2-1,0 мм.

10. Плазмофильтр по п.1, отличающийся тем, что высоты коллекторных пространств для входа и выхода крови лежат преимущественно в пределах 0,3-10 мм.

11. Плазмофильтр по п.1, отличающийся тем, что боковая перфорация трубчатого коллектора имеет по меньшей мере одно отверстие, площадь проходного сечения которого не меньше площади проходного сечения трубчатого коллектора.

12. Плазмофильтр по п.1, отличающийся тем, что боковая перфорация выполнена в виде щелевого отверстия.

13. Плазмофильтр по п.1, отличающийся тем, что штуцеры установлены на гибких трубках, соединенных с крышками корпуса.

14. Плазмофильтр по п.1, отличающийся тем, что штуцеры имеют внутренние или внешние соединения Луер-слип для разъемного присоединения к коннекторам крово- и плазмопроводящих магистралей.

Описание

[1]

Изобретение относится к медицинской технике, в частности к устройствам для сепарации крови на плазму и форменные элементы. Плазмофильтр может быть использован в донорстве при заготовке донорской плазмы и для извлечения плазмы пациентов в лечебных целях.

[2]

Известны плоскорамные плазмофильтры с фильтрующим мембранным модулем, выполненным из плоских мембран [1, 2]. Модуль расположен в корпусе, имеющем форму прямого параллелепипеда, в основании которого лежит прямоугольник, квадрат или ромб. Корпус содержит штуцеры для подвода крови к мембранному модулю, отвода концентрированной крови и плазмы. Штуцеры могут быть расположены параллельно основанию на боковой поверхности корпуса [1] или на основании корпуса перпендикулярно ему [2].

[3]

Эти плазмофильтры отличаются высокой трудоемкостью и низкой технологичностью сборки. При формировании мембранного модуля приходится по периметру каждой мембраны создавать контуры герметизации из легкоплавкого полимера. Собирать из этих мембранных элементов 15-20 отдельных камер крови и плазмы, герметизировать их сложным образом. После чего объединять в общий пакет, совместно герметизировать и размещать сформированный мембранный модуль в корпусе без герметизации и жесткой связи с ним. Последнее приводит к высоким демпфирующим свойствам мембранного модуля при изменениях давления в контуре крови, где работают плазмофильтры, и, как следствие, к снижению производительности фильтрации плазмы. Кроме того, в таких плазмофильтрах штуцер отвода плазмы расположен ортогонально штуцерам подвода и отвода крови. Из-за этого недостатка при заполнении плазмофильтра кровью воздух запирается в камере плазмы, что также приводит к снижению производительности фильтрации плазмы и повышает риск воздушной эмболии. Все плоскорамные плазмофильтры имеют низкий коэффициент компактности - см2/см3, характеризующий плотность упаковки мембраны в единице объема плазмофильтра.

[4]

Известны также плазмофильтры [3, 4], наиболее близкие по технической сущности к предлагаемому плазмофильтру. В этих плазмофильтрах мембранный модуль собран в виде пучка полых волокон, сформированных из мембран. Модуль размещен в цилиндрическом корпусе, жестко и герметично связан с ним. Штуцеры подвода и отвода крови расположены в центре оснований корпуса, а штуцер отвода плазмы - ортогонально им на боковой поверхности корпуса. Такие плазмофильтры обладают высоким коэффициентов компактности - см2/см3.

[5]

Однако технология изготовления полых волокон, их сборка в фильтрующий мембранный модуль, а также технология изготовления корпуса отличаются высокой сложностью, требуют наличия дорогостоящего оборудования. Например, центрифуги, используемой для создания герметичного объединения полых волокон в мембранный модуль и герметичного соединения модуля с корпусом при помощи пластичного герметика. Вследствие этого стоимость половолоконных плазмофильтров на порядок больше стоимости плоскорамных. Кроме того, такие плазмофильтры имеют значительные размеры и массу и из-за этого практически не выпускаются в виде сетов, то есть в сборе с крово- и плазмопроводящими магистралями, что требует наличия стерильных условий для их сборки на месте применения.

[6]

Целью изобретения является устранение указанных недостатков, объединение преимуществ плоскорамных и половолоконных плазмофильтров путем создания компактного и легкого плазмофильтра на основе спирального модуля из плоских мембран.

[7]

Технический результат, достигаемый при использовании предложенного плазмофильтра, состоит в упрощении технологии изготовления, экономии материалов и повышении производительности фильтрации плазмы.

[8]

Поставленная цель и названный технический результат достигаются тем, что в плазмофильтре, содержащем мембранный модуль, размещенный в цилиндрическом корпусе со штуцерами подвода крови, отвода плазмы и концентрированной крови, мембранный модуль выполнен в виде плотно свернутой плоской спирали, представляющей собой пакет, состоящий из двух прямоугольных мембранных полотен, разделенных внутренней сеткой с образованием канала оттока плазмы, и навитый совместно с наружной сеткой с образованием канала тока крови на трубчатый коллектор, закрытый с одной стороны и имеющий сквозную боковую перфорацию. Пакет герметичен по периметру с трех сторон, а открытой стороной герметично соединен с поверхностью трубчатого коллектора так, что его боковая перфорация находится внутри коллектора. Наружная мембрана, образующая боковую поверхность мембранного модуля, герметично обернута несколькими слоями водонепроницаемой эластичной пленки. Корпус состоит из трубки, нижней и верхней крышек. Нижняя крышка содержит штуцер, расположенный на ее периферии, центральный штуцер, переходящий в патрубок, отверстие, герметично закрытое самозатягивающимся эластичным материалом, и имеет форму открытого с одной стороны полого тонкостенного цилиндра. Верхняя крышка содержит штуцер и имеет форму цилиндра. В торце стенки нижней крышки и в основании верхней крышки напротив друг друга сформированы кольцевые пазы, в которые вставлена трубка корпуса, герметично сопряженная с боковыми поверхностями пазов. Мембранный модуль установлен с минимально возможным зазором относительно трубки корпуса и с зазорами относительно оснований крышек с образованием коллекторных пространств для входа и выхода крови, причем нижняя часть боковой поверхности мембранного модуля герметично сопряжена с боковой поверхностью нижней крышки, а коллекторная трубка - с патрубком. Все штуцеры оканчиваются соединениями Луер-лок, закрытыми съемными колпачками.

[9]

Кроме того, герметичные сопряжения контактирующих поверхностей деталей плазмофильтра могут быть выполнены с использованием сварки токами высокой частоты, или ультразвуковой сварки, или термосварки и механического сжатия.

[10]

Герметичные сопряжения контактирующих поверхностей деталей плазмофильтра также могут быть выполнены с использованием клеев, выбираемых из циклогексанона или тетрагидрофурана, и растворителей, выбираемых из метилэтилкетона или метиленхлорида, и механического сжатия. Предложено герметичные сопряжения контактирующих поверхностей деталей плазмофильтра выполнить с использованием циакриновых клеев, или однокомпонентных полиуретановых клеев-расплавов, или одно- или двухкомпонентных полиуретановых или силиконовых клеев-герметиков и механического сжатия. Корпус плазмофильтра целесообразно сделать из прозрачного материала.

[11]

Удобно в качестве водонепроницаемой эластичной пленки использовать поливинилхлоридную, или полипропиленовую, или полиэтиленовую стрейч-пленку толщиной, лежащей преимущественно в пределах 5-20 мкм.

[12]

В качестве мембраны предложено использовать микрофильтрационную, или ультрафильтрационную трековую, или другую изотропную, или анизотропную, или композитную мембрану, толщина которой лежит преимущественно в пределах 7-180 мкм, причем поверхность мембраны, контактирующая с кровью, может иметь гидрофильные свойства.

[13]

Кроме того, толщины наружной и внутренней сеток, расположенных соответственно в каналах крови и плазмы, находятся в соотношении не менее 1:2, причем толщина наружной сетки лежит преимущественно в пределах 0,1-0,4 мм, а внутренней - 0,2-1,0 мм.

[14]

Кроме того, высоты коллекторных пространств для входа и выхода крови лежат преимущественно в пределах 0,3-10 мм.

[15]

Боковая перфорация трубчатого коллектора должна иметь по меньшей мере одно отверстие, площадь проходного сечения которого не меньше площади проходного сечения коллекторной трубки, причем боковая перфорация может быть выполнена в виде щелевого отверстия.

[16]

Удобно штуцеры установить на гибких трубках, соединенных с крышками корпуса, и снабдить их внутренними или внешними соединениями Луер-слип или Луер-лок для разъемного присоединения к коннекторам крово- и плазмопроводящих магистралей, которые должны иметь такие же соединения.

[17]

В ряде случаев целесообразно не устанавливать на гибких трубках штуцеры. Тогда гибкие трубки плазмофильтра можно неразъемно и герметично соединить с трубками крово- и плазмопроводящими магистралями, создав целостный комплект еще при изготовлении, а после простерилизовать все вместе: плазмофильтр и соединенную с ним магистраль. Если фильтр и магистраль перед применением должны быть соединены в стерильных условиях, то целостный комплект можно применять сразу в любых, в т.ч. не стерильных условиях.

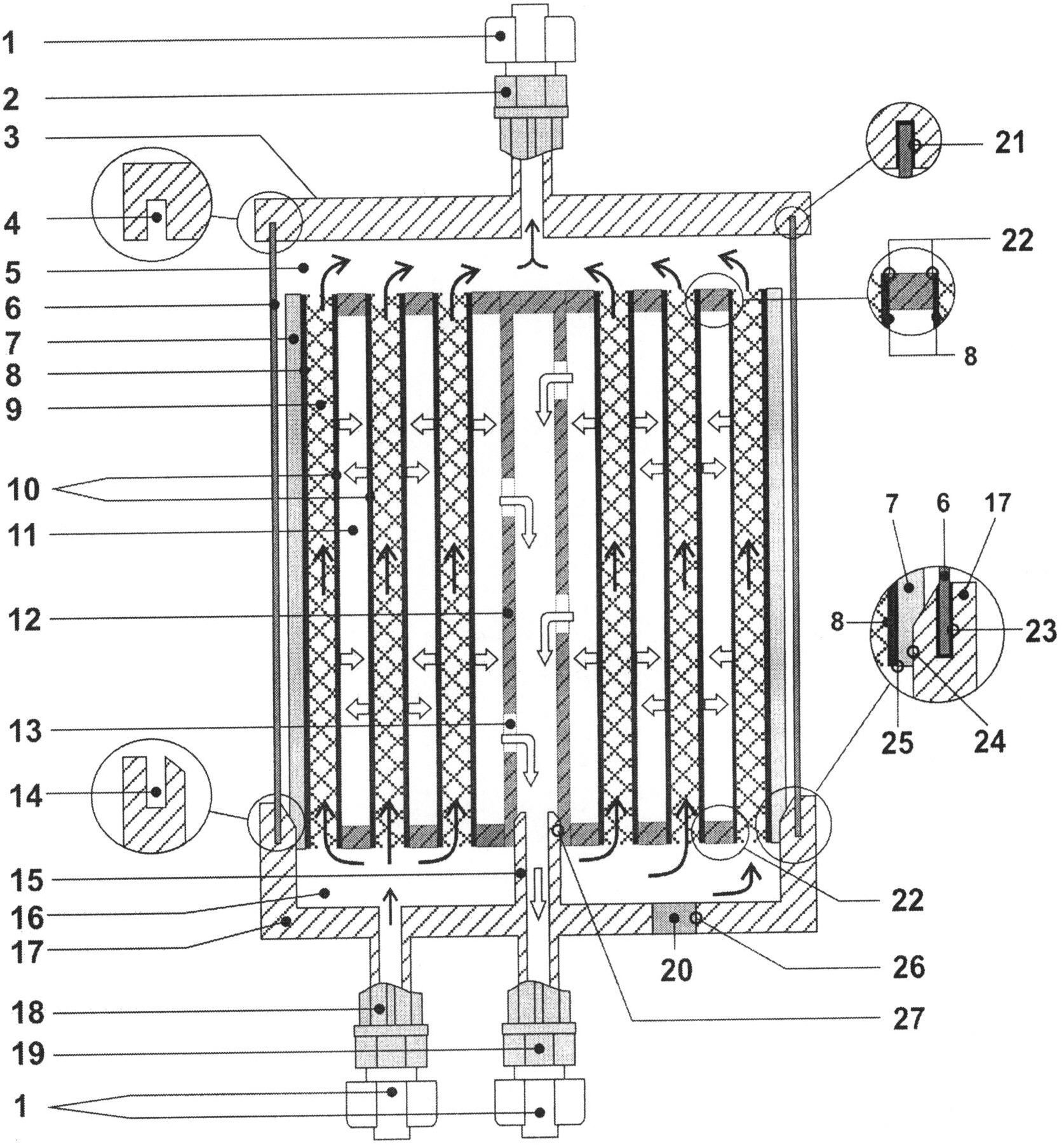
[18]

Для пояснения изобретения ниже приведен пример конкретного исполнения плазмофильтра, который содержит спиральный мембранный модуль, расположенный в цилиндрическом корпусе. Схематичное изображение плазмофильтра представлено в виде его осевого разреза со ссылками на чертеж, где 1 - колпачки, 2 - штуцер выхода концентрированной крови, 3 - верхняя крышка корпуса, 4 - кольцевой паз в верхней крышке, 5 - коллектор выхода концентрированной крови, 6 - трубка корпуса, 7 - водонепроницаемая эластичная пленка, 8 - наружная часть мембраны, 9 - сетка канала крови, 10 - мембраны, 11 - сетка канала плазмы, 12 - трубчатый коллектор плазмы, 13 - боковая перфорация коллектора, 14 - кольцевой паз в нижней крышке, 15 - патрубок, 16 - коллектор входа крови, 17 - нижняя крышка корпуса, 18 - штуцер входа крови, 19 - штуцер выхода плазмы, 20 - отверстие, закрытое самозатягивающимся эластичным материалом, 21-27 - поверхности герметичных сопряжений деталей плазмофильтра. Стрелками показаны распределения потоков, направления тока, входа и выхода крови и плазмы из плазмофильтра.

[19]

Плазмофильтр выполнен из гемосовместимых, гипоаллергенных, апирогенных, нетоксичных полимерных и эластомерных материалов, стерилен, однократного применения.

[20]

В зависимости от вида полимерных материалов, из которых изготовлены детали плазмофильтра, использован тот или иной способ их герметичного сопряжения при сборке плазмофильтра. В частности, если крышки и трубка корпуса выполнены из поливинилхлорида, то их герметичное сопряжение проводят с использованием сварки токами высокой частоты и механического сжатия. Если эти детали выполнены из разнородных полимерных материалов, например акрилонитрилбутадиенстирена и поливинлхлорида, то их герметичное сопряжение проводят с использованием клеев, например циклогексанона или тетрагидрофурана, или растворителей: метилэтилкетона или метиленхлорида, и механического сжатия. Мембраны, например трековые, с разделительными сетками из капрона или лавсана, из которых сформирован спиральный модуль, герметично сопрягают друг с другом и сетками, используя термосварку и механическое сжатие. Изотропные, или анизотропные, или композитные мембраны, например из полисульфона, полиэфирсульфона, эфиров целлюлозы, герметично сопрягают с использованием двухкомпонентных полиуретановых клеев-герметиков и механического сжатия.

[21]

Прозрачный материал корпуса позволяет следить за заполнением плазмофильтра кровью и удалением из него воздуха, распределением потоков крови и отделением плазмы.

[22]

Водонепроницаемая эластичная стрейч-пленка, навитая в несколько слоев на мембранный модуль, удерживает его от роспуска под действием давления крови, организует ее осевой поток в модуле и предотвращает поперечное проникновение крови в зазор между модулем и трубкой корпуса. Толщина стрейч-пленки, находящаяся в интервале 7-20 мкм, обеспечивает прочность модуля, незначительно увеличивает его диаметр и позволяет герметично устанавливать внатяг нижнюю часть мембранного модуля в нижнюю крышку корпуса без использования герметиков, клев или сварки.

[23]

Толщина мембраны, лежащая в диапазоне 7-180 мкм, обеспечивает большую плотность намотки, высокий коэффициент компактности см2/см3 модуля, низкое сопротивление потоку плазмы через мембрану и удобство ее намотки на трубчатый коллектор с использованием намоточных устройств. Гидрофильная поверхность мембраны, контактирующая с кровью, снижает концентрационную поляризацию. Образующийся на ней при фильтрации плазмы слой геля, состоящий в основном из белков и липидов плазмы, не прочен и легко удаляется при отмывке физиологическим раствором, после чего восстанавливается фильтрационная способность плазмофильтра.

[24]

Толщина наружной сетки, расположенной в канале крови, выбрана из экспериментально определенного оптимального интервала 0,1-0,4 мм. В этом случае обеспечивается низкое сопротивление потоку крови для эффективного отделения плазмы из всего объема крови, протекающей через плазмофильтр, при тех скоростях перфузии крови, которые используют на практике и не приводят к травме крови.

[25]

Толщина внутренней сетки, расположенной в канале плазмы, также выбрана из экспериментально определенного оптимального интервала 0,2-1,0 мм, причем если соотношение толщин внутренней и наружной сеток больше 1:2, то поток плазмы легко преодолевает сопротивление сетки в канале плазмы при тех характеристиках баромембранного процесса фильтрации плазмы, которые могут быть созданы на практике. Конкретные параметры: давление на входе плазмофильтра, скорости перфузии крови и другие характеристики приведены ниже на примере работы плазмофильтра, изготовленного в соответствии с предложенным техническим решением.

[26]

Экспериментально определено, что высота коллекторных пространств для входа крови и выхода концентрированной крови должна находиться в диапазоне 0,3-10 мм. Ниже 0,3 мм гидравлическое сопротивление коллектора становится больше допустимого. Кроме того, кровь не распределяется по всему пространству коллектора и равномерно не подается в канал крови. Высота коллекторного пространства больше 10 мм сильно увеличивает нежелательный объем заполнения плазмофильтра кровью, который должен стремиться к минимуму.

[27]

Боковая поверхность коллекторной трубки имеет одно, два или несколько отверстий, суммарная площадь проходного сечения которых не меньше проходного сечения коллекторной трубки, что позволяет плазме беспрепятственно стекать в коллекторную трубку и покидать плазмофильтр. Равномерное распределение отверстий по длине коллекторной трубки или выполнение отверстий в виде щелей улучшает отток плазмы.

[28]

Установка штуцеров плазмофильтра на гибких трубках облегчает присоединение плазмофильтра к крово- и плазмопроводящим магистралям, а конусное соединение Луер-слип или конусно-винтовые соединения Луер-лок штуцеров, выполненные по стандарту ISO, обеспечивают универсальность присоединения плазмофильтра к любым магистралям, изготовленным по названному стандарту. В ряде случаев, когда коннекторы магистралей имеют внутренние или внешние конусные соединения Луер-слип, целесообразно, чтобы такие же соединения имели штуцеры плазмофильтра. Прочность и герметичность такого соединения задается сопряжением двух вставленных друг в друга конусов, удерживаемых силой трения. Возможен вариант исполнения плазмофильтра без штуцеров с отверстиями с упорами, расположенными в крышках корпуса плазмофильтра. Такое исполнение позволяет встраивать плазмофильтр в экстракорпоральный контур путем вклейки трубок крово- и плазмопроводящих магистралей в отверстия крышек.

[29]

Через отверстие в нижней крышке корпуса плазмофильтра, герметично закрытое самозатягивающимся эластичным материалом, с помощью иглы и шприца можно стерильно вводить в плазмофильтр антикоагулянты и лекарственные препараты, извлекать пробы крови. Перечисленные возможности позволяют мониторировать процесс фильтрации плазмы и вовремя его корректировать, предотвращать, например, раннее тромбообразование. Улучшается управляемость процессом фильтрации плазмы и повышается ее безопасность.

[30]

Плазмофильтр работает в составе экстракорпоральных контуров аппаратов для плазмафереза, гемодиализа, а также других перфузионных аппаратов, которые задают необходимые параметры перфузии крови и ее стабилизацию антикоагулянтами. Плазмофильтр может также работать в составе безаппаратных гидравлических устройств под воздействием силы тяжести.

[31]

Перед процедурой плазмофильтрации необходимо выполнить две операции: присоединить плазмофильтр к магистралям экстракорпорального контура, если не используется сет, представляющий собой уже собранную в заводских условиях магистраль с плазмофильтром, и вытеснить из плазмофильтра и магистрали воздух, как правило, физиологическим раствором.

[32]

Плазмофильтр присоединяют к магистрали экстракорпорального контура в точке, расположенной между насосом и воздушной ловушкой. Со штуцеров 2, 18 и 19 снимают колпачки 1. Штуцер 2 присоединяют к коннектору линии кровопроводящей магистрали, отводящей деплазмированную и сконцентрированную кровь из плазмофильтра и направляющей ее к воздушной ловушке. Штуцер 18 присоединяют к коннектору линии кровопроводящей магистрали, подающей стабилизированную антикоагулянтом кровь от насоса к плазмофильтру. Штуцер 19 присоединяют к коннектору линии плазмоотводящей магистрали. Плазмофильтр располагают вертикально. Физиологический раствор и кровь подают снизу плазмофильтра и отводят сверху. Плазму отводят снизу плазмофильтра. По мере подачи физиологического раствора в плазмофильтр воздух постепенно покидает плазмофильтр, удаляется из магистрали или накапливается в воздушной ловушке. При этом воздух полностью удаляется из всех частей плазмофильтра, включая каналы тока крови 9 и плазмы 11, без дополнительных манипуляций, например переворачивания плазмофильтра, как это имеет место в плоскорамных плазмофильтрах. Обусловлено это тем, что в предложенном плазмофильтре все штуцеры подвода крови 18, отвода сконцентрированной крови 2 и плазмы 19 расположены параллельно вертикальной оси плазмофильтра, вдоль которой вытесняют воздух и перфузируют жидкость. После удаления воздуха включают насос подачи крови и автоматически поддерживают оптимальные параметры перфузии: скорость кровотока и максимально возможный постоянный уровень давления перед плазмофильтром, при котором плазма отделяется без видимых примесей эритроцитов с максимально возможной производительностью. Кровь через штуцер 18 поступает в коллекторное пространство 16, далее равномерно распределяется по каналу крови 9. По мере продвижения крови по каналу 9 плазма фильтруется сквозь поры мембраны 10 в канал плазмы 11. Поток крови и поток плазмы ортогональны друг другу. Продвигаясь по каналу 11, плазма через отверстия 13 поступает в коллекторную трубку 12. Через штуцер 19, соединенный с патрубком 15, плазма отводится из плазмофильтра и собирается в стерильный контейнер, присоединенный к линии плазмоотводящей магистрали.

[33]

Параметры плазмофильтра, изготовленного в соответствии с предложенным техническим решением

[34]

Габариты: диаметр - 32 мм, длина - 80 мм

[35]

Масса - 45 г

[36]

Площадь микрофильтрационной мембраны, использованной для формирования спирального модуля - 650 см2± 10%

[37]

Толщина фильтрующего слоя мембраны - 10 мкм ± 10%

[38]

Пористость - 80±5%

[39]

Средний размер пор - 0,4 мкм ± 0,05 мкм

[40]

Толщина сеток, лежащих в каналах крови и плазмы соответственно, - 0,2 мм ± 0,05 мм и 0,4±0,05 мм

[41]

Плазмофильтр имеет в 2-3 раза меньшие габариты, чем половолоконные плазмофильтры PlasmaFlex PSu 1 и 2 фирмы «Фрезениус», Германия, и плазмофильтры Prismaflex ТРЕ 1000 и 2000 фирмы «Гамбро», Швеция, и в 7 раз меньшую массу.

[42]

Результаты апробации плазмофильтра со спиральным мембранным модулем в экспериментах с кровью in vitro. Бычья кровь с гематокритом 32% при температуре 37°С с содержанием общего белка 60 г\л, стабилизированная антикоагулянтом - 4% раствором натрия цитрата, в объемном соотношении антикоагулянт:кровь, принятом в донорской практике, - 1:8, перфузировалась с помощью пульсового насоса аппарата для плазмафереза «Гемос-ПФ» и роликового насоса аппарата для плазмафереза «Гемма» с отделением плазмы в течение 1 часа. Задавались различные скорости перфузии крови в диапазоне от 20 мл\мин до 120 мл\мин. Давление на входе плазмофильтра поддерживалось на уровне 150 мм рт.ст. ± 10%. Поток плазмы составил не менее 30-40% от входного потока крови при перепаде давления на входе и выходе плазмофильтра не более 80±5 мм рт.ст. Снижение производительности фильтрации через 1 час непрерывной работы плазмофильтра составило не более 10-12% от начальной производительности. На этом уровне производительность фильтрации плазмы сохранялась в течение не менее 8 часов работы, что лучше аналогичных показателей известных плазмофильтров. Плазма - чистая, без видимых примесей форменных элементов крови, количество которых, определенное в камере Горяева, лежит в допустимых в донорской практике пределах. В плазме содержались вещества с молекулярной массой до 1,5-2,0 млн Да, которые вместе с плазмой были отфильтрованы из крови. Промывка плазмофильтра в течение 1-2 минут кровью при перекрытом потоке плазмы восстанавливала производительность плазмофильтра до начального уровня и удерживалась с небольшим снижением на этом уровне 15-20 минут.

[43]

Полученная производительность по плазме с единицы площади мембраны больше на 10-15% производительности плоскорамных и половолоконных плазмофильтров, использующих в своей конструкции близкие по характеристикам мембраны.

[44]

Таким образом, легкий и компактный плазмофильтр со спиральным мембранным модулем по сравнению с известными плазмофильтрами при прочих равных условиях имеет меньшие массогабаритные характеристики, занимает промежуточное положение по коэффициенту компактности мембран - см2/см3, обладает большей производительностью фильтрации плазмы и длительно работает без существенного снижения производительности. Технология его сборки значительно упрощена, а трудоемкость снижена ввиду того, что сборка спирального мембранного модуля производится всего из 4-х компонентов: двух мембранных и двух сеточных полотен, а не из множества отдельных мембранных элементов. Количество таких мембранных элементов, каждый из которых состоит из четырех компонентов, в плоскорамных плазмофильтрах составляет 15-20 единиц, т.е. 60-80 компонентов, а в плазмофильтрах с половолоконным мембранным модулем количество полых волокон доходит до 1000 и более объединяемых вместе фильтрующих единиц.

[45]

Плазмофильтр со спиральным мембранным модулем, контактирующий с кровью доноров и пациентов, в обязательном порядке является изделием однократного применения, которое должно быть пригодно для массового выпуска. Существенное упрощение технологии сборки позволяет использовать рулонные технологии, автоматизированные намоточные, склеивающие и отрезные устройства, что имеет решающее значение при массовом производстве плазмофильтров.

[46]

Литература

[47]

1. RU 2409413 C2, 24.02.2009.

[48]

2. RU 2156156 C1, 02.03.2000.

[49]

3. Плазмофильтр «PlasmaFlex PSu 1, 2», каталог фирмы «Фрезениус Медикал Кеа», Германия, 2012 (прототип).

[50]

4. Плазмофильтр "Prismaflex ТРЕ 1000, 2000", каталог фирмы «Гамбро», Швеция, 2012, код SAP 107143.

[51]

5. RU 2029610 C1, 27.02.1995.

[52]

6. SU 1034754 A1, 15.08.1983.

[53]

7. RU 2151633 C1, 27.06.2000.

[54]

8. SU 1313443 A2, 08.01.1986.

Как компенсировать расходы
на инновационную разработку
Похожие патенты