патент
№ RU 2681138
МПК E21B23/00

УСТЬЕВОЙ СКВАЖИННЫЙ ГИДРАВЛИЧЕСКИЙ ДОМКРАТ

Авторы:
Маганов Наиль Ульфатович Кадыров Альберт Хамзеевич Гарифов Камиль Мансурович
Все (8)
Номер заявки
2017145789
Дата подачи заявки
25.12.2017
Опубликовано
04.03.2019
Страна
RU
Как управлять
интеллектуальной собственностью
Чертежи 
1
Реферат

Изобретение относится к нефтегазодобывающей промышленности, в частности к ремонту скважин. Устьевой скважинный гидравлический домкрат включает вертикальные силовые цилиндры, оснащенные штуцерами для подачи рабочей жидкости в полость цилиндров, вставленные в цилиндры поршни со штоками, верхнее и нижнее основания, которые жестко соединены с соответствующими цилиндрами и штоками, верхний и нижний захваты. Штоки направлены вниз и соединены с нижним основанием, а цилиндры, надетые сверху на поршни вверх дном, - с верхним основанием. Снизу нижнего основания могут быть шарнирно установлены рычаги с соответствующими закрепленными шарнирно подковообразными упорами, соединяемыми между собой с возможностью охвата в рабочем положении эксплуатационной колонны скважины, при этом нижний захват установлен сверху на устьевом фланце. Подковообразные упоры могут быть изнутри оснащены сменными вкладышами для обеспечения возможности охвата в рабочем положении эксплуатационной колонны скважины разного диаметра. Предлагаемый гидравлический домкрат имеет простую конструкцию, благодаря низкому размещению верхнего захвата позволяет легко работать с ним. Благодаря упору его в устьевую муфту позволяет оторвать от устьевого фланца «прикипевший» трубодержатель вместе с колонной труб. 1 ил.

Формула изобретения

1. Устьевой скважинный гидравлический домкрат, включающий вертикальные силовые цилиндры, оснащенные штуцерами для подачи рабочей жидкости в полость цилиндров, вставленные в цилиндры поршни со штоками, верхнее и нижнее основания, жестко соединенные с соответствующими цилиндрами и штоками, верхний и нижний захваты, отличающийся тем, что штоки направлены вниз и соединены с нижним основанием, а цилиндры, надетые сверху на поршни вверх дном, - с верхним основанием, причем снизу нижнего основания шарнирно установлены рычаги с соответствующими закрепленными шарнирно подковообразными упорами, соединяемыми между собой с возможностью охвата в рабочем положении эксплуатационной колонны скважины, при этом нижний захват установлен сверху на устьевом фланце.

2. Устьевой скважинный гидравлический домкрат по п. 1, отличающийся тем, что подковообразные упоры изнутри оснащены сменными вкладышами для обеспечения возможности охвата в рабочем положении эксплуатационной колонны скважины разного диаметра.

Описание

[1]

Изобретение относится к нефтегазодобывающей промышленности, в частности к ремонту скважин.

[2]

Известен гидравлический домкрат для извлечения труб из скважины УИТ-100 (http://www.s-ng.ru/pdf/mail_574.pdf), содержащий гидроцилиндры с поршнями, нижнее и верхнее основания с захватами.

[3]

Его недостатками являются невозможность отрыва «прикипевшей» планшайбы и сложность работы с ним из-за слишком высокого положения верхнего захвата при выдвинутых поршнях.

[4]

Наиболее близок по своей технической сущности к предлагаемому домкрат гидравлический ДГ2-100 (см. htt://bno.su/domkrat-gidravlicheskij-dg2-100), содержащий гидроцилиндры с поршнями, нижнее и верхнее основания с захватами, причем с целью снижения положения верхнего захвата он опущен ниже верхнего основания с помощью дополнительных тяг.

[5]

Недостатками домкрата являются невозможность отрыва планшайбы (трубодержателя), а также сложность конструкции из-за дополнительных тяг.

[6]

Техническими задачами предлагаемого изобретения являются упрощение конструкции и увеличение функциональных возможностей.

[7]

Указанные технические задачи решаются устьевым скважинным гидравлическим домкратом, включающим вертикальные силовые цилиндры, оснащенные штуцерами для подачи рабочей жидкости в полость цилиндров, вставленные в цилиндры поршни со штоками, верхнее и нижнее основания, жестко соединенные с соответствующими цилиндрами и штоками, верхний и нижний захваты.

[8]

Новым является то, что штоки направлены вниз и соединены с нижним основанием, а цилиндры, надетые сверху на поршни вверх дном, - с верхним основанием причем снизу нижнего основания шарнирно установлены рычаги с соответствующими закрепленными шарнирно подковообразными упорами, соединяемыми между собой с возможностью охвата в рабочем положении эксплуатационной колонны скважины, при этом нижний захват установлен сверху на устьевом фланце.

[9]

Новым является также то, что подковообразные упоры изнутри оснащены сменными вкладышами для обеспечения возможности охвата в рабочем положении эксплуатационной колонны скважины разного диаметра.

[10]

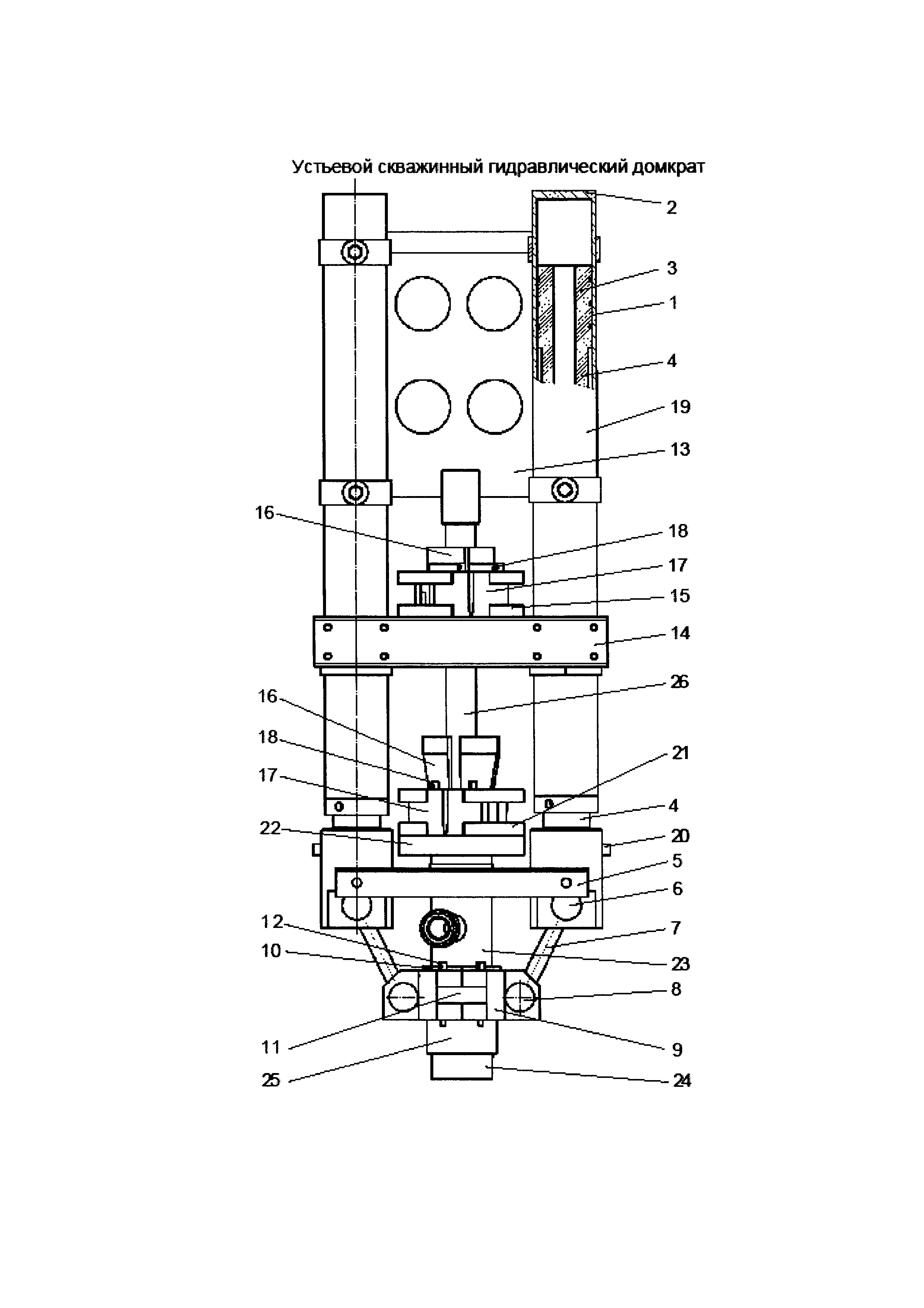
На фигуре показана схема устьевого скважинного гидравлического домкрата.

[11]

Домкрат содержит цилиндры 1, расположенные дном 2 вверх, внутри которых находятся поршни 3 с полыми штоками 4, соединенными внизу с нижним основанием 5, выполненным, например, из углового проката. Снизу нижнего основания 5 шарнирами 6 прикреплены рычаги 7, нижними шарнирами 8 соединенные с подковообразными упорами 9, которые могут быть оснащены сменными вкладышами 10. Подковообразные упоры 9 также снабжены замками 11 со штифтами 12.

[12]

Верхние концы цилиндров 1 жестко соединены перемычкой 13, а ближе к нижнему концу цилиндра 1 прикреплено верхнее основание 14, выполненное, например, из швеллера, на котором установлен верхний клиновый захват 15 с плашками 16 и перемычкой 17, фиксируемой штифтами 18.

[13]

Внутри полых штоков 4 проходит канал 19, сообщенный со штуцерами 20 в нижней части штоков 4 для присоединения шлангов подвода рабочей жидкости (на фигуре не показаны).

[14]

Нижний захват 21 одинаковой конструкции с верхним 15 установлен на устьевом фланце 22, прикрепленном к крестовине 23 (обычно того же диаметра, что и эксплуатационная колонна 24 скважины - не показана) и соединен с ней устьевой муфтой 25. Так как эксплуатационная колонна 24 может быть разного диаметра (например, от ∅102 мм до ∅168 мм) в подковообразных упорах 9 используют вкладыши 10 разной толщины и формы для полного охвата этой колонны 24.

[15]

Выше устьевого фланца 22 показана верхняя труба 26 прихваченной в скважине колонны труб (на фигуре не показана). Работает домкрат следующим образом.

[16]

При прихвате в скважине колонны труб или спущенного на ней скважинного оборудования из устьевого фланца 22 выходит верхняя труба 26 и, если усилий подъемного агрегата недостаточно, используют устьевой домкрат.

[17]

Домкрат в собранном виде, без захватов 15 и 21, поднимают подъемным агрегатом и опускают на устье, при этом для прохождения через устьевой фланец 22 одну сторону нижнего основания 5 и, если верхняя труба 26 выступает слишком высоко, часть верхнего основания 14 с одной стороны отсоединяют.

[18]

Затем для охвата эксплуатационной колонны 24 с помощью замков 11 и штифтов 12 соединяют между собой подковообразные упоры 9 с вкладышами 10 или без них, повернув рычаг 7 в шарнирах 6 и 8, и присоединяют снятые части оснований 14 и 5. Далее, надев сбоку на трубу 26, закрыв перемычки 17 штифтами 18, устанавливают верхний захват 15 на верхнее основание 14, а нижний захват 21 - на устьевой фланец 22.

[19]

После присоединения с помощью гибких шлангов насосной станции для подачи жидкости к штуцерам 20 начинают работать. Сначала, опустив вниз плашки 16 верхнего захвата и немного вниз колонну прихваченных труб, захватывают захватом 15 верхнюю трубу 26. Затем, включив подачу рабочей жидкости, начинают работу домкрата. Жидкость через штуцеры 20 и каналы 19 попадает в полость между дном цилиндра 2 и поршнем 3. Под действием давления жидкости цилиндр 1 перемещается вверх и через основание 14 и захват 15 тянет трубу 26 и всю прихваченную колонну вверх, создавая усилие срыва прихваченной колонны или оборудования. При этом реакция усилия через поршень 3, шток 4, шарниры 6 и 8, рычаг 7, подковообразные упоры 9, сменные вкладыши 10 передается на торцы муфты 25, а через нее на эксплуатационную колонну 24.

[20]

После срыва прихваченного оборудования домкрат демонтируют и продолжают дальнейший подъем труб подъемным агрегатом.

[21]

Если же срыва не происходит, а прихваченное оборудование движется с большой нагрузкой или совсем не движется, но вытягиваются трубы, то после прохождения всего хода цилиндра 1 спускают вниз плашки 16 нижнего захвата 21 и колонну труб. При этом нижний захват 21 захватывает трубу 26, передавая нагрузку через устьевой фланец 22, крестовину 23, муфту 25 также на эксплуатационную колонну 24. Далее, сняв давление в системе, через штуцеры 20 и шланги сливают жидкость в бак насосной станции, спускают вниз цилиндры 1 вместе с верхним основанием 14 и верхним захватом 15. После этого повторяют операцию несколько раз до снижения нагрузки.

[22]

Демонтаж оборудования производится в обратном порядке, при этом нижний захват 21 может быть оставлен на устьевом фланце 22 для продолжения подъема колонны труб с оборудованием.

[23]

В случае если планшайба (на фигуре не показаны, ее устанавливают на устьевой фланец 22) «прикипела» и не отрывается от устьевого фланца 22, работы ведут в следующем порядке. Устанавливают домкрат в той же последовательности, но нижний захват 22 пока не устанавливают, так как на его месте находится планшайба, в которую ввернут патрубок. Далее верхним захватом 15 захватывают патрубок, как трубу 26, и нагружают домкрат. После отрыва планшайбы фиксируют цилиндры 1 в верхнем положении, освобождают патрубок с планшайбой от верхнего захвата 15, убирают планшайбу, устанавливают на устьевой фланец 22 нижний захват 21, сняв давление, опускают вниз гидроцилиндры 1. Домкрат готов к продолжению работы.

[24]

Благодаря тому, что верхние части цилиндров 1 жестко соединены между собой перемычкой 13, цилиндры 1 перемещаются синхронно независимо от центровки захвата 15 и расхождений (в пределах допусков) внутренних диаметров цилиндров 1 и давлений рабочей жидкости. Количество цилиндров может быть и более двух.

[25]

Предлагаемый гидравлический домкрат имеет простую конструкцию, благодаря низкому размещению верхнего захвата позволяет легко работать с ним. Благодаря упору его в устьевую муфту позволяет оторвать от устьевого фланца «прикипевшую» планшайбу (трубодержатель) вместе с колонной труб.

Как компенсировать расходы
на инновационную разработку
Похожие патенты