патент
№ RU 2626167
МПК G02F1/35

СХЕМЫ ГЕНЕРАЦИИ МОДИФИЦИРОВАННЫХ ГХЦ СОСТОЯНИЙ

Авторы:
Магницкий Сергей Александрович
Номер заявки
2016136165
Дата подачи заявки
08.09.2016
Опубликовано
21.07.2017
Страна
RU
Как управлять
интеллектуальной собственностью
Чертежи 
3
Реферат

Изобретение относится к конструкции источников коррелированных по времени и перепутанных по поляризации фотонов. Схема генерации модифицированных 3- и 4-модовых ГХЦ состояний включает импульсный лазер, светоделитель, линию задержки и два оптических параметрических усилителя. Диагонально поляризованное лазерное излучение с помощью светоделителя разделяют на два пучка, которые впоследствии используются для накачки оптических параметрических усилителей. В одном из указанных усилителей возбуждается процесс спонтанного параметрического рассеяния с образованием двух ортогонально пространственно поляризованных мод с перепутанными белловскими состояниями. Далее один из рассеянных пучков направляется на вход второго усилителя одновременно с импульсом накачки, синхронизованным по времени с рассеянным импульсом с помощью линии задержки. На выходе из второго усилителя формируются две пространственные моды, причем в одной из них наблюдается двухфотонное состояние. Техническим результатом изобретения является возможность осуществления генерации многофотонных состояний, а также возможность осуществления обмена перепутыванием между источниками. 5 з.п. ф-лы, 5 ил.

Формула изобретения

1. Схема генерации модифицированных 3-модовых Гринбергера-Хорна-Цайлингера (ГХЦ) состояний на основе однофотонного клонирования при параметрическом усилении типа 1 включает в себя импульсный лазер с диагонально поляризованным излучением, разделенным с помощью светоделителя на два пучка для одновременного накачивания двух оптических параметрических усилителей ортогонально поляризованных компонент, которые могут быть реализованы с помощью сдвоенных нелинейных кристаллов, переполяризованных кристаллов, а также интерференционных систем; в одном из источников возбуждается процесс спонтанного параметрического рассеяния (СПР) с образованием двух ортогонально поляризованных (горизонтально и вертикально относительно друг друга) пространственных мод с максимально перепутанным белловским состоянием света , локализованным в однофотонных импульсах, после чего один из рассеянных пучков (инжектируемый) направляется на вход второго источника (оптического параметрического усилителя (ОПУ)) одновременно со сформированным с помощью указанного светоделителя импульсом накачки, синхронизированным с помощью линии задержки по времени с инжектируемым в ОПУ импульсом; инжектируемая пространственная мода ориентирована под определенным углом по отношению ко второму кристаллу-усилителю таким образом, что на выходе из второго кристалла формируются две пространственные моды, причем в пространственной моде, коллинеарной (совпадающей по направлению) с направлением распространения инжектируемой моды, наблюдается двухфотонное состояние.

2. Схема по п.1, отличающаяся тем, что наличие двухфотонного состояния в одной из мод позволяет реализовать две возможные схемы генерации: 3- и 4-фотонных состояний ГХЦ путем дополнительного установления светоделителя на выходе из ОПУ в пространственной моде, совпадающей по направлению с модой, падающей на ОПУ от кристалла, работающего в режиме источника ЭПР-пар.

3. Схема по п.2, отличающаяся тем, что при этом генерируется обычное 4-фотонное состояние ГХЦ.

4. Схема по п.2, отличающаяся тем, что при установке в один из каналов диагонально ориентированного поляризатора четырехфотонное ГХЦ состояние редуцируется к трехфотонному ГХЦ состоянию и фотону-предвестнику.

5. Схема по п.1, отличающаяся тем, что при одномодовом клонировании состояния с использованием источников типа 1 одновременно реализуется и обмен перепутыванием между источниками.

6. Схема по п.1, отличающаяся тем, что предложенная схема легко масштабируется на случай большого числа источников.

Описание

[1]

1. ОБЛАСТЬ ТЕХНИКИ, К КОТОРОЙ ОТНОСИТСЯ ИЗОБРЕТЕНИЕ

[2]

Изобретение относится к области техники и конструкции источников коррелированных по времени и перепутанных по поляризации фотонов [1]. В настоящее время они являются одними из основных элементов квантово-оптической технологии, применяющихся или потенциально пригодных для применения в будущем в таких приложениях, как квантовая криптография, квантовая связь, сверхплотное кодирование, квантовые вычисления и компьютеры и т.п., а также занимающих важную роль в фундаментальных исследованиях.

[3]

Впервые идея создания источника коррелированных фотонов на основе процессов спонтанного параметрического рассеяния (СПР) была высказана в [2, 3]. Параметрическое рассеяние – это эффект распада высокочастотного фотона на два низкочастотных фотона, называемых сигнальным (фотон с большей или равной частотой) и холостым (фотон с меньшей или равной частотой). Для того чтобы процесс протекал эффективно, необходимо выполнение так называемых условий фазового синхронизма:

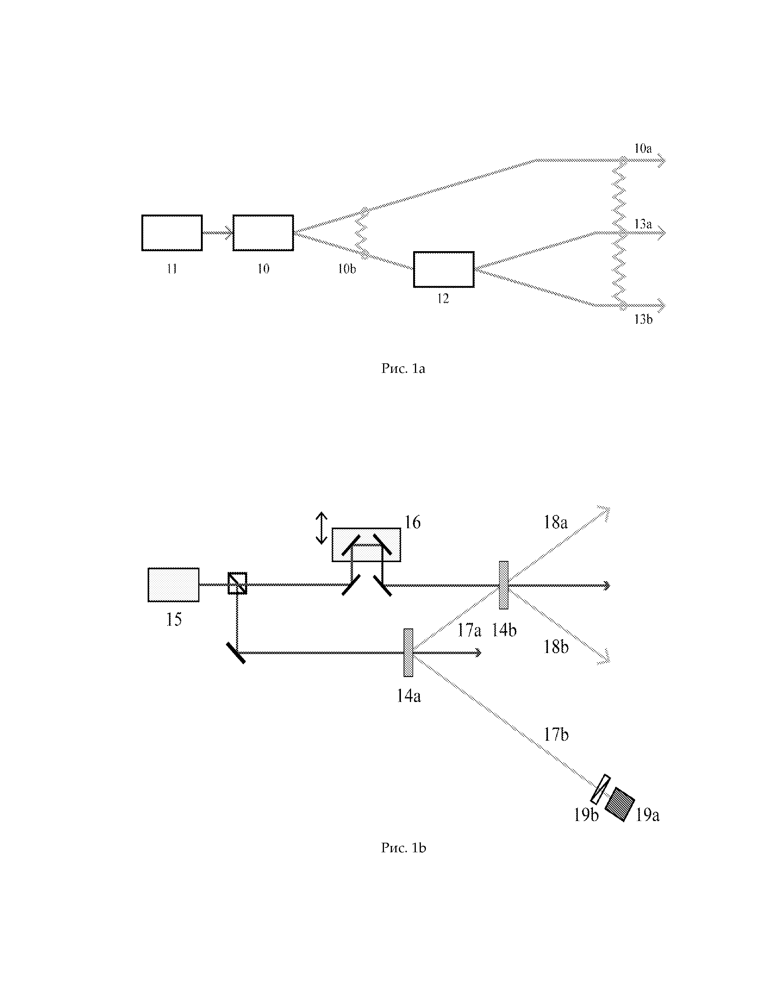
[4]

(1)

[5]

(2)

[6]

где , и – частоты волны накачки, сигнальной и холостой волн соответственно, а , и — их волновые вектора. Физически условия фазового синхронизма являются законами сохранения энергии и импульса . Закон сохранения импульса определяет геометрию рассеяния: в кристалле излучение на определенной длине волны рассеивается вдоль поверхности конуса, ось которого параллельна волновому вектору накачки , а угол раствора определяется условиями синхронизма для выбранной длины волны.

[7]

При СПР фотоны генерируются «парами» в жестко коррелированные моменты времени (практически одновременно, с точностью до времени прохода накачки через кристалл).

[8]

В вырожденном по частоте режиме генерации .

[9]

2. УРОВЕНЬ ТЕХНИКИ

[10]

Задача высокоэффективной генерации многофотонных состояний в последнее время становится все более актуальной, особенно в контексте квантовых сетей [4]. Из уровня техники в данной области особый интерес представляют состояния Гринбергера-Хорна-Цайлингера (ГХЦ) [5], используемые, например, для квантовой криптографии [6] и квантовой телепортации [7].

[11]

К настоящему времени задача генерации 3-фотонных ГХЦ состояний решена, например, с помощью каскадного параметрического усиления [8-10] или нелинейного взаимодействия в волноводных структурах [11].

[12]

К недостаткам упомянутых и других известных устройств относится то, что указанные схемы являются технически и концептуально сложными, а также то, что существуют определенные достаточно строгие ограничения на длины волн фотонов, составляющих генерируемый триплет.

[13]

Наиболее близким техническим решением, принятым за прототип, является схема универсальной квантовой клонирующей машины с клонированием однофотонной инжекции в кристаллическом параметрическом усилителе при втором типе синхронизма [12].

[14]

Квантовое клонирование при параметрическом усилении – достаточно исследованное явление, однако только для второго () типа синхронизма [12-15]. Это связано с тем, что при таком варианте усиления реализуется так называемое оптимальное клонирование, т. е. клонирование с независящей от входного состояния достоверностью [16] процесса.

[15]

Хорошо известно [17], что для достижения фазового синхронизма нужно, чтобы волна накачки была ориентирована не обыкновенно, а оптическая ось кристалла была ориентирована под некоторым углом к направлению распространения излучения накачки (условно ось Z). При этом, в зависимости от ориентации оптической оси и длины волны накачки, можно в одном и том же кристалле реализовать как синхронизм первого (), так и второго () типа.

[16]

1. В предлагаемом техническом решении рассматривается новая возможность генерации 3-х и 4-х ГХЦ состояний, основанная на клонировании однофотонной инжекции в кристаллическом параметрическом усилителе при первом () типе синхронизма. Предлагаемые решения с использованием параметрического усиления первого типа имеют качественно другие информационные характеристики процесса клонирования относительно схемы с квантовой инжекцией, что значительно расширяет функциональные возможности использования данной схемы для генерации многофотонных состояний.

[17]

3. РАСКРЫТИЕ ИЗОБРЕТЕНИЯ

[18]

Технический результат, на достижение которого направлено изобретение, достигается тем, что предложена схема генерации модифицированных 3-модовых ГХЦ состояний на основе однофотонного клонирования при параметрическом усилении типа 1. Схема включает в себя импульсный лазер с диагонально поляризованным излучением, разделенным с помощью светоделителя на два пучка для одновременного накачивания двух оптических параметрических усилителей ортогонально поляризованных компонент, которые могут быть реализованы с помощью сдвоенных нелинейных кристаллов, переполяризованных кристаллов, а также интерференционных систем; в одном из источников возбуждается процесс спонтанного параметрического рассеяния (СПР) с образованием двух ортогонально поляризованных (горизонтально и вертикально относительно друг друга) пространственных мод с максимально перепутанным белловским состоянием света , локализованным в однофотонных импульсах, после чего один из рассеянных пучков (инжектируемый) направляется на вход второго источника (оптического параметрического усилителя (ОПУ)) одновременно со сформированным с помощью указанного светоделителя импульсом накачки, синхронизированным с помощью линии задержки по времени с инжектируемым в ОПУ импульсом; инжектируемая пространственная мода ориентирована под определенным углом по отношению ко второму кристаллу-усилителю таким образом, что на выходе из второго кристалла формируются две пространственные моды, причем в пространственной моде, коллинеарной (совпадающей по направлению) с направлением распространения инжектируемой моды, наблюдается двухфотонное состояние.

[19]

Другим предметом изобретения является то, что наличие двухфотонного состояния в одной из мод позволяет реализовать две возможные схемы генерации: 3- и 4-фотонных состояний ГХЦ, путем дополнительного установления светоделителя на выходе из ОПУ в инжектируемой моде. При этом состояние превращается в обычное 4-фотонное состояние ГХЦ.

[20]

Еще одним предметом изобретения является то, что при установке в один из каналов диагонально ориентированного поляризатора, четырехфотонное ГХЦ состояние редуцируется к трехфотонному ГХЦ состоянию и фотону-предвестнику в суперпозиционном поляризационном состоянии.

[21]

Следующим предметом изобретения является то, что при одномодовом клонировании состояния с использованием источников типа 1 можно реализовать и обмен перепутыванием между источниками.

[22]

Предметом изобретения является и то, что предложенная схема легко масштабируется на случай большого числа источников.

[23]

4. КРАТКОЕ ОПИСАНИЕ ЧЕРТЕЖЕЙ

[24]

Сущность изобретения поясняется чертежами, где

[25]

на рис. 1a представлена упрощенная известная схема генерации 3-фотонных ГХЦ состояний, основанная на каскадном параметрическом усилении [10] (схема prior art, из числа наиболее близких аналогов),

[26]

на рис. 1b представлена упрощенная известная схема генерации 3-х ГХЦ состояний, основанная на клонировании путем однофотонной инжекции в кристаллическом параметрическом усилителе [12] (схема prior art, принятая за прототип),

[27]

на рис. 2 представлен первый вариант схемы генерации модифицированных ГХЦ состояний,

[28]

на рис. 3 представлен второй вариант схемы генерации модифицированных ГХЦ состояний,

[29]

на рис. 4 представлен третий вариант схемы генерации модифицированных ГХЦ состояний.

[30]

5. ОСУЩЕСТВЛЕНИЕ ИЗОБРЕТЕНИЯ

[31]

Наиболее близкими техническими решениями, принятыми за аналог и прототип предлагаемого технического решения, по мнению авторов настоящей заявки, являются:

[32]

1. Схема генерации 3-фотонных ГХЦ состояний с помощью каскадного параметрического усиления [10] (наиболее близкий prior art аналог).

[33]

2. Схема универсального клонирования при инжекционном параметрическом усилении [12] (prior art прототип).

[34]

Схема генерации 3-фотонных ГХЦ состояний (триплетов) с помощью каскадного параметрического усиления [10] состоит из основных узлов и элементов (рис. 1а), функционирующих в следующем режиме.

[35]

Источник ЭПР-пар 10 накачивается лазером накачки 11 и испускает фотонные пары в модах 10а и 10b в максимально перепутанном (на рис. 1а перепутанность условно обозначена ломаными линиями) белловском состоянии:

[36]

(3)

[37]

Пучок 10b служит накачкой для параметрического генератора 12, который из фотона в моде 10b генерирует фотонную пару 13а и 13b с поляризацией, совпадающей с фотоном накачки, т.е.

[38]

(4)

[39]

Таким образом, в модах 12а, 13а и 13b общее состояние принимает форму ГХЦ-триплета:

[40]

(5)

[41]

Однако схема генерации 3-фотонных ГХЦ состояний с помощью каскадного параметрического усиления, приведенная на рис. 1а, имеет следующие недостатки:

[42]

1. Использование одной из мод первого каскада в качестве накачки второго каскада, в то время, как в предлагаемом авторами настоящей заявки техническом решении накачка у каскадов общая, при этом одна из мод первого каскада инжектируется во второй.

[43]

2. Ограничения на длины волн генерируемых фотонов, связанных тройными условиями синхронизма:

[44]

(6)

[45]

В предлагаемом техническом решении, как будет показано ниже, условия синхронизма другие:

[46]

(7)

[47]

Хорошо известно, что универсальная квантовая клонирующая машина предназначена для клонирования инжекции в фоковском, в частности однофотонном, состоянии с независящей от поляризации надежностью. Общая схема подобной машины представлена на рис. 1b и представляет собой параметрический усилитель с квантовой инжекцией [12].

[48]

Два одинаковых нелинейных кристалла 14а и 14b, вырезанных под второй тип синхронизма, накачиваются импульсным лазером 15 в моменты времени, синхронизованные с помощью линии задержки 16 таким образом, что рассеянное излучение 17a приходит в кристалл 14b одновременно с импульсом накачки 15. В общем случае состояние в моде 17a многофотонное.

[49]

В кристалле 14b происходит параметрическое усиление, которое, за счет того, что используется 2-й тип синхронизма, преобразует входное состояние согласно преобразованием универсальной или оптимальной квантовой клонирующей машины. Таким образом, в моде 18а помимо входного фотона инжекции возникает дополнительный (клонирование , т.е. на каждый входной фотон приходится два выходных), а в моде 18b возникает антиклон, т. е. состояние с ортогональной поляризацией. Достоверность клонирования в такой системе не зависит от поляризации инжекционного фотона.

[50]

Фотон в моде 17b является реперным, т. е. срабатывание детектора 19а говорит о том, что произошло усиление моды 17a, соответственно, обнаружение фотонов в модах 18а и 18b говорит об успешном клонировании.

[51]

Схема универсальной квантовой клонирующей машины хоть и сходна конструктивно с предлагаемым в настоящей заявке техническим решением, имеет, помимо всего прочего, два важных технических отличия:

[52]

1. В машине используется и учитывается только один пучок 17а из первого источника ЭПР-пар 14а, второй же пучок 17b является реперным, т.е. лишь подтверждает факт прихода правильных фотонов в пучках клона и антиклона. Поляризация реперного фотона 17b не измеряется, а происходит редукция общего состояния путем установки перед детектором диагонально ориентированного поляризатора 19b. В предлагаемом техническом решении информационно значима поляризация всех трех мод.

[53]

2. В машине используются кристаллы, вырезанные под второй тип синхронизма, что влияет на генерируемое каждым состояние и, в конечном итоге, на конечное состояние в модах. В предлагаемом в настоящей заявке техническом решении возможно использование различных конструкций приборов, эквивалентных нелинейному кристаллу, вырезанному под первый тип синхронизма.

[54]

В заявляемом техническом решении предлагается несколько вариантов схемы генерации модифицированных ГХЦ состояний.

[55]

Первая схема представлена на рис. 2, где основными элементами источника являются оптические параметрические усилители ортогонально поляризованных пучков 20а и 20b, состоящие, например, из сдвоенных между собой нелинейно оптических кристаллов, например, бета-бората-бария (, или сокращенно, ВВО) со скрещенными направлениями оптических осей в каждой из пар. Такая ориентация скрещенных между собой кристаллов позволяет осуществлять схему вырожденного по частоте неколлинеарного взаимодействия 1-го () типа [18]. Ее популярность обусловлена балансом между хорошими характеристиками генерируемого излучения и конструктивной простотой, не требующей интерферометрической стабильности. Как и в прототипе, сдвоенные кристаллы 20а и 20b выполняют роль источника состояний Белла (20а) с образованием пары пространственных мод — потоков поляризационно-запутанных фотонов 21а и 21b, одна из которых (мода 21b) служит инжекцией для второго, аналогичного по конструкции с ним (20а) устройства, в роли оптического параметрического усилителя (ОПУ) (20b).

[56]

Оба оптических элемента накачиваются импульсным лазером 22 с диагонально поляризованным излучением. Каждый из них обеспечивает равноэффективное усиление компонент света с ортогональными поляризациями (условно горизонтальной и вертикальной). Для этого излучение лазера 22 делится на два пучка 22а и 22b светоделителем BS1 23 и накачивает EPR source (20а) и оптический параметрический усилитель ОПА (20b). В случае неравноэффективного усиления разных поляризационных компонент изменится конечное состояние поля.

[57]

В сдвоенном кристалле источника ЭПР-пар 20a накачкой 22a от лазера 22 возбуждается процесс спонтанного параметрического рассеяния (СПР), в результате которого в пространственных модах 21а и 21b создается максимально перепутанное белловское состояние света , локализованное в однофотонных импульсах. Мода 21b вводится в ОПУ 20b одновременно с импульсом накачки 22b, что обеспечивается линией задержки 24, синхронизирующей временные задержки на входе ОПУ 20b между рассеянным излучением из прибора 20а и накачкой 22b.

[58]

За счет введения в прибор 20b накачки 22b и рассеянной компоненты 21b одновременно в нем происходит формирование рассеянной компоненты 21с и инжекционное усиление рассеянной компоненты 21b, за счет чего общее состояние мод 21а, 21с и 21d имеет вид:

[59]

(8)

[60]

где — фоковские состояния света в определенной пространственной моде (нижний индекс) и с определенной поляризацией (верхний индекс); — состояние Белла в соответствующих пространственных модах.

[61]

Первое слагаемое является состоянием ГХЦ с двумя фотонами в одной из мод.

[62]

Наличие двухфотонного состояния в одной из мод позволяет реализовать две возможные схемы генерации: 3- и 4-фотонных состояний ГХЦ.

[63]

Для их реализации в пространственную моду 21d устанавливается светоделитель BS2 31, как показано на рис. 3. В результате с формированием пространственных мод 32а и 32b суммарное состояние превращается в обычное 4-фотонное состояние ГХЦ:

[64]

(9)

[65]

При дополнительной установке в один из каналов 32а или 32b диагонально ориентированного поляризатора 41 (для определенности в 32а на рис. 4) оно редуцируется к трехфотонному состоянию ГХЦ и фотону-предвестнику в суперпозиционном поляризационном состоянии:

[66]

(10)

[67]

Таким образом, предложенная схема позволяет создавать 3- и 4-фотонные ГХЦ состояния с максимальной эффективностью не ниже 1%, которая зависит от конкретной конструкции ОПУ и параметров лазера накачки.

[68]

При одномодовом клонировании состояния с использованием источников типа 1 одновременно реализуется и обмен перепутыванием между источниками, теоретически предложенный в 1993 г. [19] и экспериментально подтвержденным в 1998 г. [20], который состоит в перепутывании двух частиц системы при измерении остальной ее части в определенном состоянии.

[69]

Основная идея оригинальных работ состоит в том, что если создать два независимых белловских состояния и измерить пару фотонов из разных источников в белловском состоянии, то другая пара окажется перепутанной. Строго говоря, предлагаемый процесс основан на причинно-взаимодействующих источниках, а не на полностью независимых, однако перепутываются не взаимодействовавшие ранее фотоны.

[70]

Рассмотрим обмен перепутыванием между источниками с частичной причинной связью. Можно показать, что если определенным образом измерить часть состояния (8), соответствующую моде 21b, то моды 21a и 21c, которые друг с другом не взаимодействуют, окажутся перепутанными.

[71]

Фотоны в моде 21d при корректном усилении с однофотонного состояния неразличимы и образуют один импульс. Подействуем на моду 21d двухфотонным оператором селекции поляризации, выделяющим суперпозиционную диагонально ориентированную компоненту.

[72]

При измерении двухфотонного состояния с диагональной поляризацией в моде 21b состояние мод 21a и 21c редуцируется к симметричному белловскому, т. е. запутанность между модами 21a и 21b (или 21b и 21c) «переносится» на моды 21a и 21c.

[73]

Обмен перепутыванием в классическом виде с использованием источников типа 1 уже частично исследовался [21], однако предложенная в данном техническом решении схема является новой.

[74]

Таким образом, при заявляемом техническом решении одномодового клонирования состояния с использованием источников типа 1 одновременно реализуется и обмен перепутыванием между источниками.

[75]

Предметом изобретения является и то, что предложенная схема легко масштабируется на случай большого числа источников.

[76]

Таким образом, преимуществами предложенных в заявке схем являются:

[77]

1. Другие условия синхронизма позволяют реализовать вырожденный режим генерации, когда все конечное состояние состоит из фотонов с одинаковой частотой, чего невозможно достичь в каскадной схеме (рис. 1а) вследствие резкого понижения частоты во втором каскаде.

[78]

2. Использование вырожденного по частоте режима позволяет работать полностью в видимом диапазоне, где существуют дешевые и высокоэффективные счетчики фотонов.

[79]

3. Использование фотона в качестве инжекции, а не накачки, позволяет сохранить равной интенсивность накачки, а следовательно, и генерации в модах первого и второго каскада, чего невозможно достичь в каскадной схеме (рис. 1а) вследствие низкой эффективности генерации во втором каскаде, а соответственно, резкого снижения интенсивности в модах 13а и 13b.

[80]

4. Повышенная эффективность генерации относительно числа импульсов накачки. В [14] измерена эффективность клонирования, которая оценивается как 0,01 на импульс накачки или 700 отсчетов в секунду. Такие или лучшие характеристики, в силу общности архитектуры, свойственны и предлагаемой схеме. Для сравнения, в статье [8] число сгенерированных триплетов оценено в 4798 за 7,2 часа или примерно 0,2 триплета в секунду.

[81]

5. Клонирование в предлагаемых схемах идеально, т. е. достоверность процесса единична, для всех необходимых состояний, которые являются базисными. Для сравнения, в прототипе достоверность клонирования постоянна, но не превышает 0,83.

[82]

6. Наличие клона инжекционного фотона позволяет без серьезных модификаций реализовать схемы генерации как 3-, так и 4-фотонных состояний, что невозможно ни в одном из прототипов.

[83]

7. Обмен перепутыванием между источниками также является специфичным для данного технического решения.

[84]

6. ПРОМЫШЛЕННАЯ ПРИМЕНИМОСТЬ

[85]

Заявляемые в предложенном техническом решении особенности схемы:

[86]

1. возможность генерации 3- и 4-фотонных ГХЦ состояний и модифицированных ГХЦ состояний, и

[87]

2. реализация обмена перепутыванием позволяют найти ей применение для решения разнообразных задач квантовой информатики, таких, например, как создание компактных высокоэффективных генераторов перепутанных состояний для квантовой коммуникации между несколькими абонентами.

[88]

7. ИСПОЛЬЗОВАННЫЕ МАТЕРИАЛЫ

[89]

1. Д.Н. Клышко. Фотоны и нелинейная оптика. Гл. ред. Физ.-мат. лит. 1980.

[90]

2. Д.Н. Клышко. Когерентный распад фотонов в нелинейной среде. Всесоюзное совещание по нелинейным свойствам сред, 1966.

[91]

3. Д.Н. Клышко. Когерентный распад фотонов в нелинейной среде. Письма в ЖЭТФ, 6, 490-492 (1967).

[92]

4. H.J. Kimble. The quantum internet. Nature, 453, 1023-1030 (2008).

[93]

5. D.M. Greenberger, V.A. Horne, A. Shimony, A. Zeilinger. Bell`s theorem without inequalities. Am. J. Phys., 58, 1131-1143 (1990).

[94]

6. C. Wang, F.G. Deng, G.L. long. Multi-step quantum secure direct communication using multi-particle Green-Horne-Zeilinger state. Opt. Comm., 253, 15-20 (2005).

[95]

7. J.-W. Pan, M. Daniell, S. Gasparoni, G. Weihs, A. Zeilinger. Experimental demonstration of four-photon entanglement and high-fidelity teleportation. Phys. Rev. Lett., 86, 20 (2001).

[96]

8. L.K. Shalm, D.R. Hamel, Z. Yan, C. Simon, K.J. Resch, T. Jennewein. Three-photon energy-time entanglement. Nat. Phys., 9, 19-22 (2013).

[97]

9. H. Hübel, D.R. Hamel, Z. Yan, C. Simon, K.J. Resch, T. Jennewein. Direct generation of photon triplets using cascaded photon-pair sources. Nature, 466, 7306 (601-603 (2010).

[98]

10. D.R. Hamel, L.K. Shalm, H. Hübel, A.J. Miller, F. Marsili,V.B. Verma,R.P.Mirin, S.M. Nam, K.J. Resch, T. Jennewein. Direct generation of three- photon polarization entanglement. Nat. Phot., 8, 10(801-807) (2014).

[99]

11. M.G. Moebius, F. Herrera, S. Griesse-Nascimento, O. Reshef, C.C. Evans, G.G. Guerreschi, A. Aspuru-Guzik, E. Mazur. Efficient photon triplet generation in integrated nanophotonic waveguides. Opt. Expr., 24, 9(9932-9954) (2016).

[100]

12. F. De Martini, V. Mussi, F. Bovino. Schroedinger cat states and optimum universal quantum cloning by entangled parametric amplification. Opt. Comm., 179, 581-589 (2000).

[101]

13. C. Simon, G. Weigh, A. Zeilinger. An optimal quantum cloning via stimulated emission. Phys. Rev. lett., 84 13(2993) (2000).

[102]

14. F. De Martini, D. Pelliccia,F. Sciarrino. Contexial optimal and universal realizationof the quantum cloning machine and of the NOT gate. Phys. Rev. lett., 92 6(067901) (2004).

[103]

15. V. Scarani, S. Iblisdir, N. Gisin, A. Acin. Quantum cloning. Rev. Modern Phys., 27, 1225-1256 (2005).

[104]

16. B. Schumacher. Quantum coding. Phys.Rev. A, 51 2738 (1995).

[105]

17. А.А. Калачев. Спонтанное параметрическое рассеяние и задачи квантовой информатики: учебн. Метод. пособие. Казань: Казан. ун-т, 2012, 45 с.

[106]

18. P.G. Kwiat, P.H. Eberhard, A.G. White, US 6 424 665 B1, опубл. 23.07.2002. Ultra-bright source of polarization-entangled photons.

[107]

19. M. Zukowski, A. Zeilinger, M. Horne, A. Ekert. “Event-ready-detectors” Bell experiment via entanglement swapping. Phys. Rev. Lett., 71, 26(4287-4290) (1993).

[108]

20. J.-W. Pan, D. Bouwmeester, H. Weinfurter, A. Zeilinger. Experimental entanglement swapping: entangling photos that never interacted. Phys. Rev. Lett., 80, 18 (3891) (1998).

[109]

21. T.S. Humble, W.P. Grice. Effects of spectral entanglement in polarization- entanglement swapping and type-1 fusion gates. Phys. Rev. A, 77, 2(022312) (2008).

Как компенсировать расходы
на инновационную разработку
Похожие патенты