Изобретение относится к технике СВЧ, в частности к активным фазированным антенным решеткам (АФАР) Х-диапазона, расположенным в носовой части самолета или вертолета. Изобретение может быть применено при разработке перспективных бортовых (самолетных и вертолетных) РЛС X-диапазона с широкоугольным электрическим сканированием в азимутальной плоскости, а также использовано при разработке АФАР для других РЛС с широкоугольным электрическим сканированием в азимутальной плоскости, работающих в Х-, Ku-, K-, Kа-диапазонах. Техническим результатом является возможность расширения сектора электрического сканирования углов сканирования при уменьшении в два раза числа используемых приемопередающих модулей (ППМ), уменьшении стоимости и массы АФАР. Предлагаемая АФАР состоит из двух АФАР, каждая из которых состоит из излучающего полотна в виде N излучателей, образующих плоский излучающий раскрыв с размером*, иППМ, подсоединенных по схеме каждый ППМ с каждым излучателем и обеспечивающих электрическое сканирование в азимутальной плоскости в секторе углов ±и в угломестной плоскости в секторе углов ±, так что суммарное число излучателей в обеих АФАР равно 2, а число ППМ=. 6 з.п. ф-лы, 12 ил.
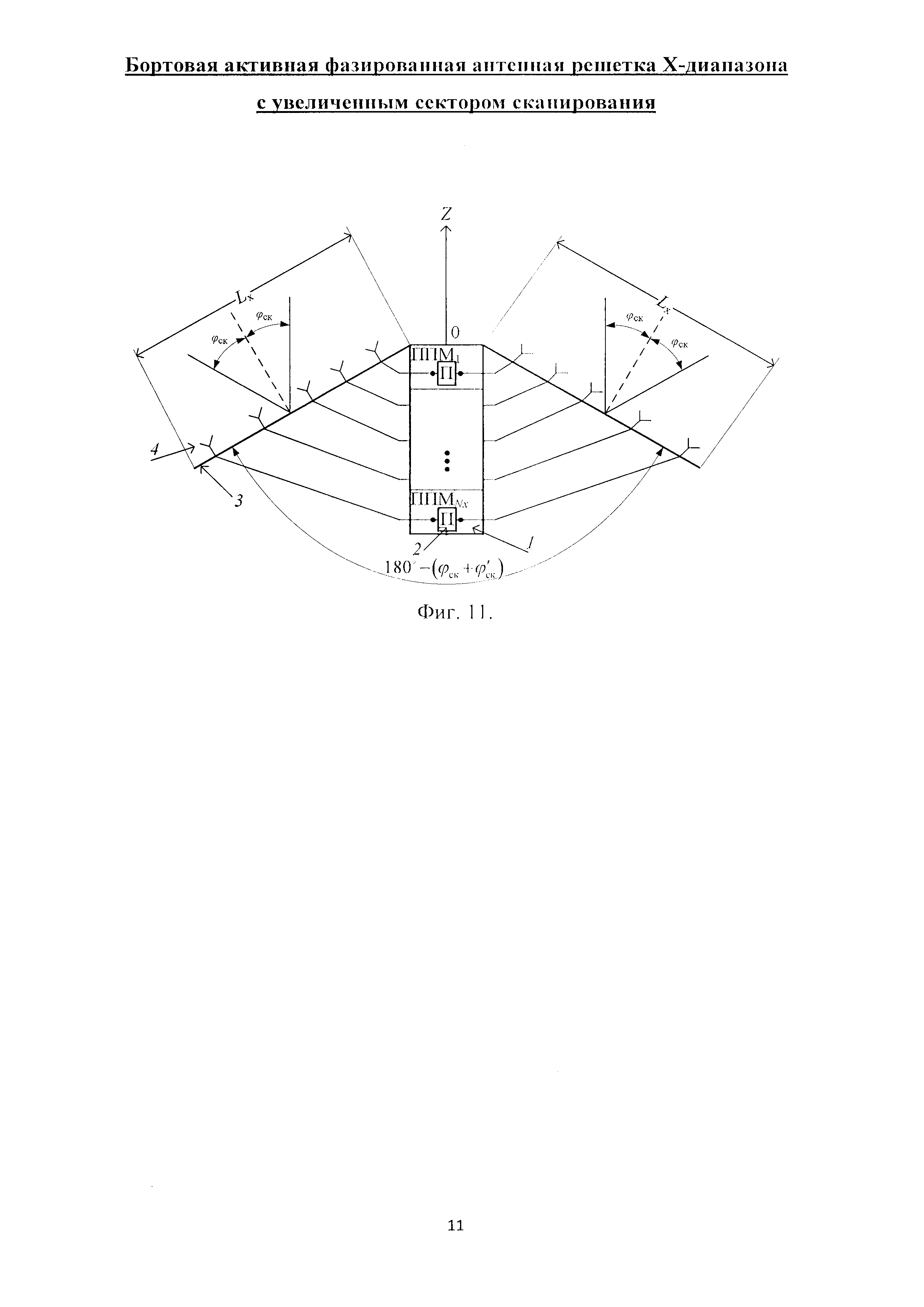
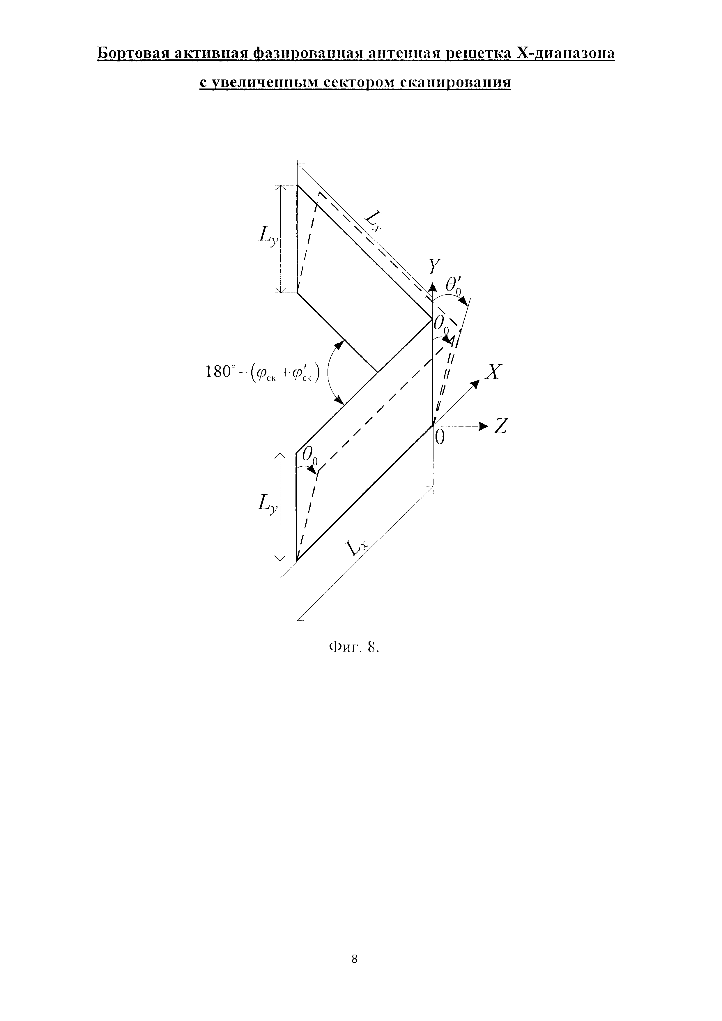
1. Бортовая активная фазированная антенная решетка X-диапазона, состоящая из двух активных фазированных антенных решеток (АФАР), каждая из которых состоит из излучающего полотна в виде излучающей поверхности из N щелевых излучателей, расположенных в торцах отрезков прямоугольных волноводов и образующих плоский излучающий раскрыв с размером Lx*Ly, и N приемопередающих модулей (ППМ), подсоединенных к излучателям и обеспечивающих электрическое сканирование в азимутальной плоскости в секторе углов ±ϕск и в угломестной плоскости в секторе углов ±θск, отличающаяся тем, что АФАР выполнена в виде двух антенных решеток (АР) с плоской прямоугольной апертурой с общим числом излучателей 2N, расположенных симметрично относительно оси, совмещаемой с продольной осью самолета (вертолета), с наклоном θ0 относительно прямоугольных апертур при θ0=0 и под углом 2. Бортовая активная фазированная антенная решетка по п. 1, отличающаяся тем, что излучающие полотна АФАР образуют клин. 3. Бортовая активная фазированная антенная решетка по п. 1, отличающаяся тем, что излучающие полотна АФАР образуют усеченный клин. 4. Бортовая активная фазированная антенная решетка по п. 1, отличающаяся тем, что излучающие полотна АФАР выполняются в форме эллипса с соотношением осей эллипса, равным отношению ширин диаграммы направленности каждой апертуры в угломестной и горизонтальной плоскостях. 5. Бортовая активная фазированная антенная решетка по п. 1, отличающаяся тем, что излучающие полотна АФАР образованы излучателями с вертикальной поляризацией. 6. Бортовая активная фазированная антенная решетка по п. 1, отличающаяся тем, что излучающие полотна АФАР образованы излучателями с горизонтальной поляризацией. 7. Бортовая активная фазированная антенная решетка по п. 1, отличающаяся тем, что излучающие полотна АФАР образованы излучателями с эллиптической поляризацией с произвольным коэффициентом эллиптичности.
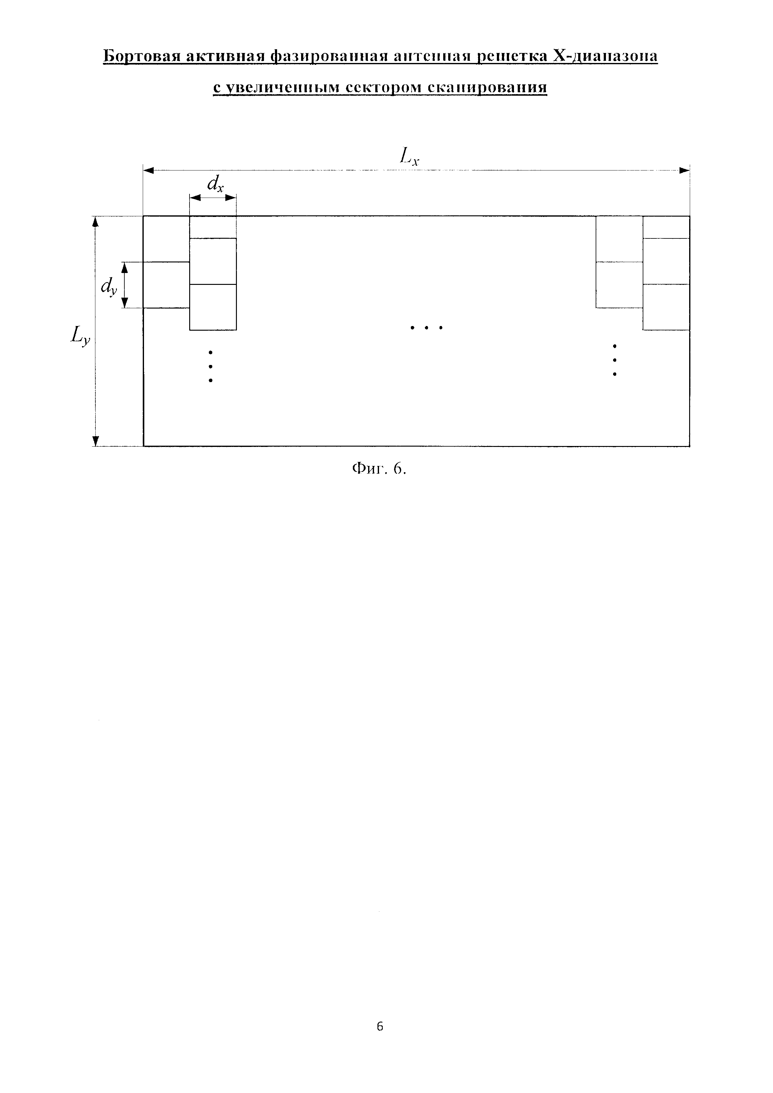
относительно друг друга, так что излучающая поверхность АФАР образует угол
между линией пересечения плоскостей, в которых лежат излучающие полотна, и вертикальной осью, зависящий от значения θ0:
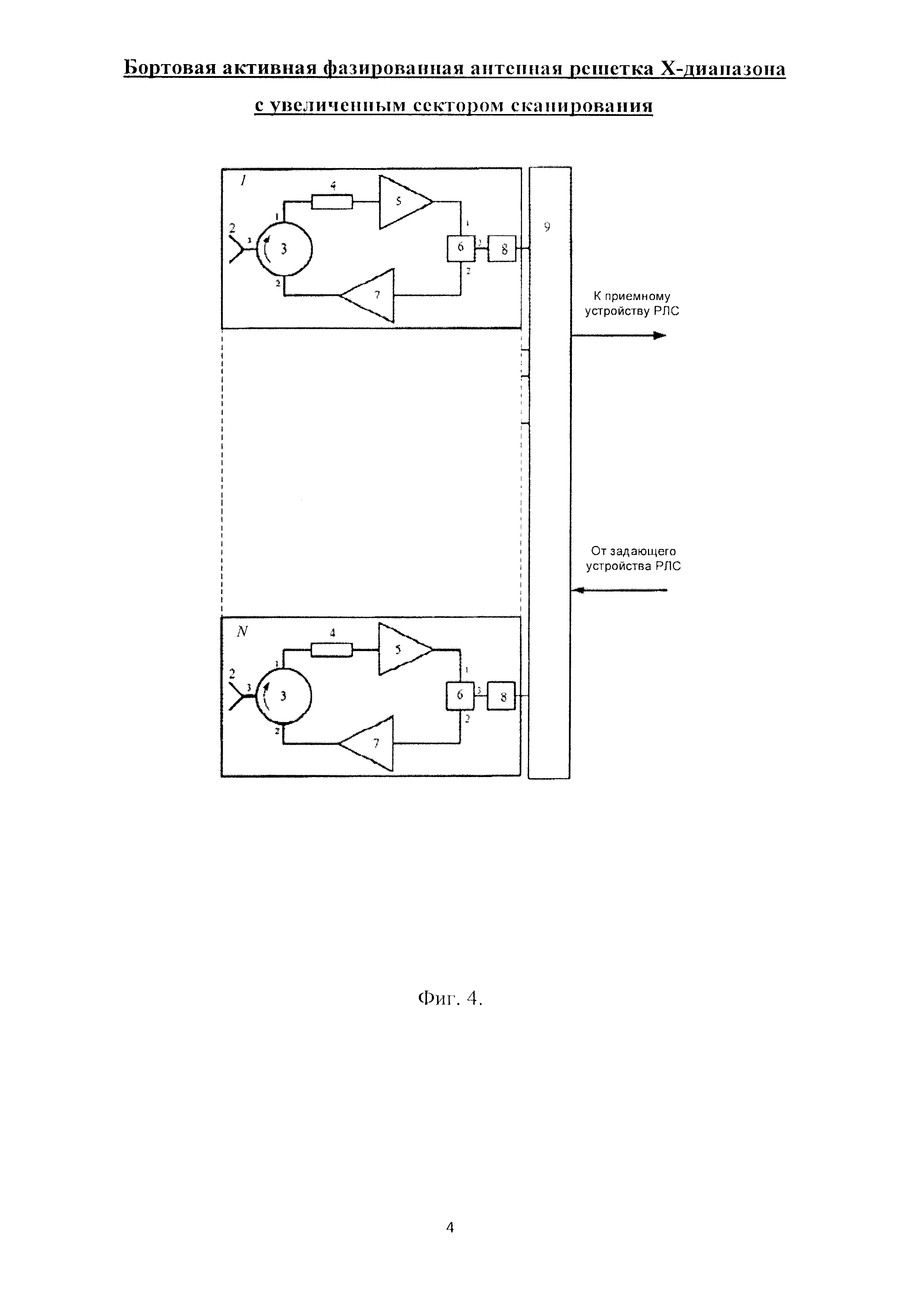
, и блока из N ППМ с двухканальным входом (выходом), расположенных с внутренней стороны излучающих полотен АФАР, при этом каждый ППМ снабжен электрически управляемым переключателем каналов, обеспечивающим синхронное подключение входов (выходов) ППМ с выходом (входом) соответствующего полотна АР.
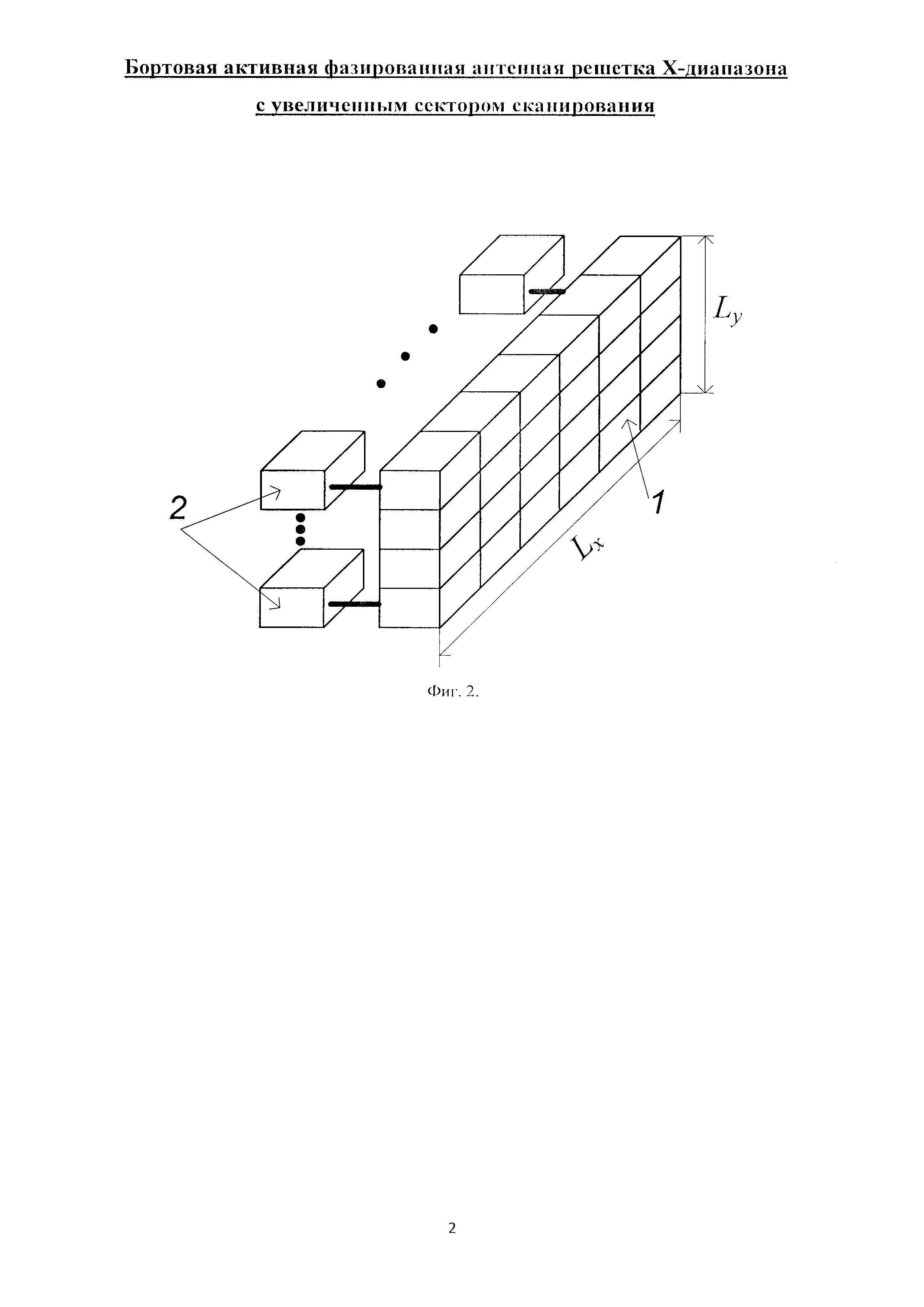
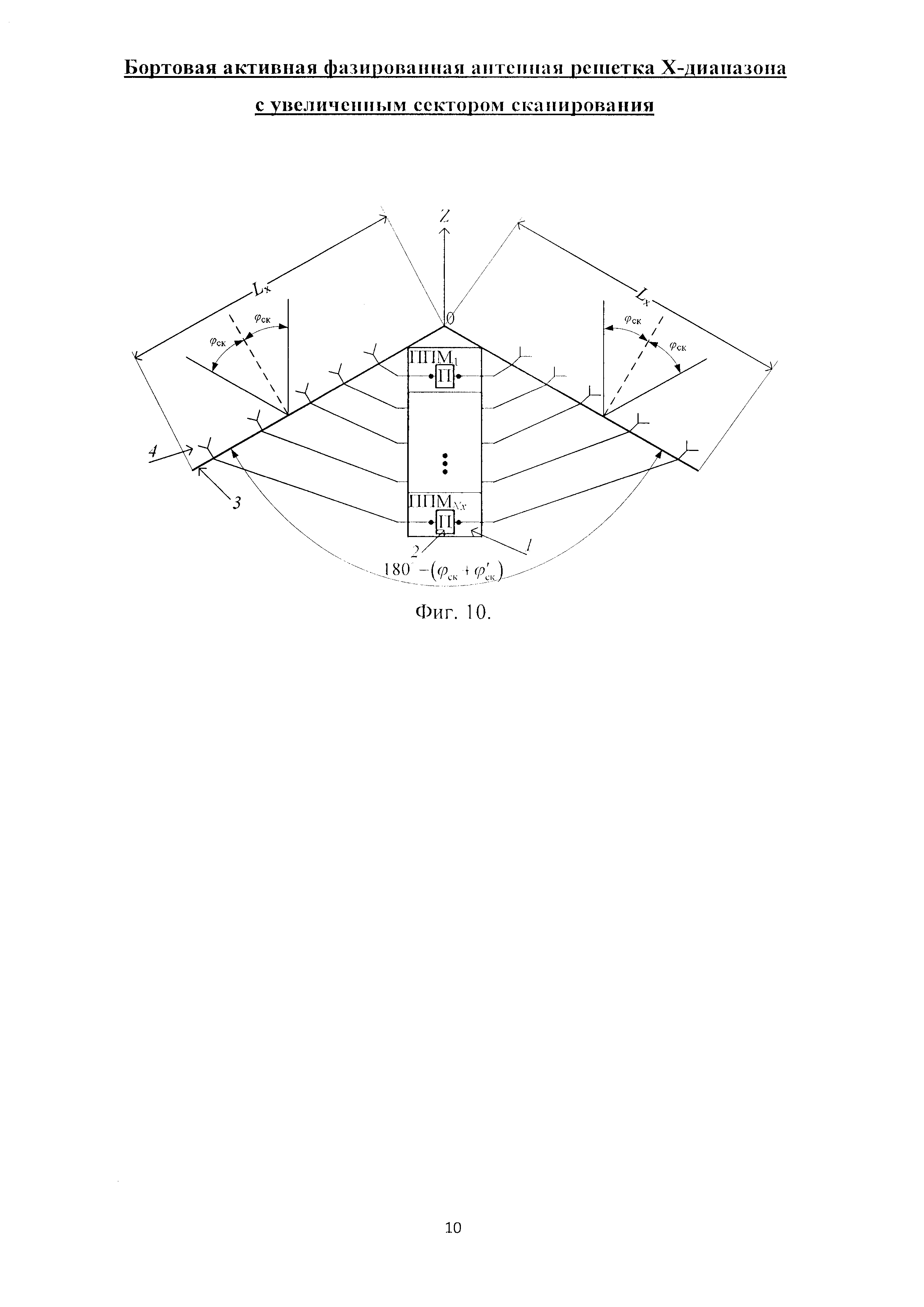
Предлагаемое техническое решение относится к технике СВЧ, в частности к активным фазированным антенным решеткам (АФАР). Известны электрически сканирующие ФАР с прямоугольной апертурой Lx*Ly, состоящие из N=Nx*Ny излучателей [ где λmin - минимальная длина волны рабочего диапазона; ][ - операция взятия целого числа. При подключении к каждому ППМ группы излучателей, общее число излучателей N не меньше, чем число ППМ Nм. Однако такая АФАР [Активные фазированные антенные решетки. Изд. 2-е. / Под ред. При подключении каждого излучателя АФАР к каждому ППМ общее число излучателей N равно общему числу ППМ Nм: При этом сектор сканирования АФАР увеличивается. Известно, что АФАР существенно превосходят ФАР по таким свойствам, как возможность повышения излучаемой мощности, по надежности, по эффективности многоканальной цифровой пространственно-временной обработки сигнала. В то же время АФАР существенно проигрывают ФАР в стоимости и массе из-за высокой стоимости и повышенных массогабаритных характеристик отдельных ППМ. Бортовая АФАР Х-диапазона, устанавливаемая в носовой части летательного аппарата, должна обеспечивать следующие пространственные сектора электрического сканирования лучом по углам Максимальный сектор электрического сканирования в решетках с плоским излучающим раскрывом (плоской апертурой) ограничен из-за известных ограничений на максимальное расстояние между соседними излучателями и конструктивных размеров поперечных сечений ППМ. Так, проведенное моделирование показывает, что для АР с излучателями в виде вертикальных щелей в торцевой стенке закороченного волновода (горизонтальная поляризация антенны) максимальный сектор сканирования в угломестной плоскости (в плоскости, проходящей через продольную ось щели, и перпендикулярную к торцевой стенке волновода) при условии θ0=0 и допустимого падения коэффициента усиления (КУ) антенны на границах сектора сканирования в пределах 4…5 дБ не превышает ±45°, а при сканировании в секторе углов ±60° в азимутальной плоскости (в плоскости, перпендикулярной продольной оси щели) падение КУ на границах сектора сканирования составляет не менее 3 дБ. В качестве излучателей могут использоваться также горизонтальные щели с вертикальной поляризацией, или системы двух ортогональных щелей с круговой поляризацией, а также вибраторные, волноводные, рупорные или иные излучатели. При вертикальной поляризации (горизонтальных щелевых излучателях) максимальный сектор сканирования в азимутальной плоскости при падении КУ антенны на границах сектора сканирования в пределах 4…5 дБ не превышает ±45°, а при сканирования в угломестной плоскости в секторе углов ±60° падение КУ на границах сектора сканирования составляет не менее 3 дБ. Соответственно для круговой поляризации сектора сканирования в обеих плоскостях при падении КУ в пределах 4…5 дБ на краях сектора сканирования приблизительно ограничены значением ±45°. Стремление расширить сектор сканирования сверх ±60° в азимутальной плоскости даже для вертикальных щелевых излучателей приводит к значительному падению КУ на краях сектора сканирования для рассматриваемой выше АР. Поэтому для обеспечения требуемого КУ на краях сектора сканирования обычно стремятся уменьшить размеры отдельного излучателя и расстояние между излучателями, или (если это невозможно) увеличивают число излучателей и число ППМ. Так, для повышения требуемого КУ на 3 дБ число излучателей и модулей в АФАР должно быть увеличено в два раза, соответственно при этом увеличиваются размеры апертуры АФАР, и АФАР по сути превращается в «две исходные АФАР» с размерами апертур Lx*Ly для каждой из АФАР (фиг. 3). При этом существенно возрастает стоимость и масса АФАР. Поэтому непосредственное использование такого приема в бортовых АФАР малоперспективно из-за ограничений по числу модулей АФАР, их стоимости и массы, а также предельных размеров апертуры АФАР. В [Патент РФ 2277739. Активная фазированная антенная решетка с изменяемой конфигурацией. В [Активные фазированные антенные решетки. Изд. 2-е. / Под ред. В [Полезная модель 91228 RU. Активная фазированная антенная решетка. Однако конфигурация предложенных в [Активные фазированные антенные решетки. Изд. 2-е. / Под ред. В [Патент РФ 2429990. Многофункциональная радиолокационная станция высокого разрешения с активной фазированной решеткой для пилотируемых и беспилотных летательных аппаратов. Обычно АФАР состоят из блока одноканальных ППМ. Так, АФАР [ Для многих целей сектор электрического сканирования в азимутальной плоскости для бортовых ФАР Х-диапазона с горизонтальной поляризацией должен быть расширен до ϕск=±60°…±90° и даже больше, при сохранении сектора сканирования в угломестной плоскости в пределах Для расширения сектора сканирования в азимутальной плоскости до значений Для обеспечения более равномерной зависимости коэффициента усиления АФАР при сканировании в азимутальной плоскости в угловой области вблизи продольной оси 0Z самолета (вертолета) и повышения надежности АФАР величину Для обеспечения требуемого сектора сканирования в угломестной плоскости расстояние между соседними излучателями по оси 0 а в азимутальной плоскости При треугольной (гексагональной) сетке излучателей (фиг. 6) расстояние Однако при ⎜ Для обеспечения горизонтальной поляризации и шага Вариант полотна плоской АФАР с максимально возможными секторами сканирования в азимутальной и угломестной плоскостях представлен на фиг. 8. Для уменьшения числа ППМ в два раза предлагается использовать двухканальный ППМ. Схема такого ППМ и схема АФАР с двухканальными ППМ приведена на фиг. 9, где каждый из двух входов (выходов) активной части модуля через переключатель П подсоединяется поочередно к каждому из двух излучателей Переключатель П может быть электрически управляемым. В этом случае время переключения может быть менее 1 мс. При этом как при подключении излучателей через вход Цель изобретения направлена на существенное (в два раза) уменьшение числа ППМ в АФАР и расширение сектора электрического сканирования в азимутальной плоскости до двух раз от -2 Наиболее близкой к заявляемому является передающая АФАР для РЛС AN/FPS-85 с плоской прямоугольной излучающей апертурой и с электрическим сканированием в азимутальной и угломестной плоскостях [ Сущность изобретения заключается в создании АФАР для бортовых РЛС с широкоугольным электрическим сканированием в азимутальной и угломестной плоскостях при существенном уменьшении числа модулей, стоимости и массы АФАР. Заявленный технический результат достигается за счет того, что известная бортовая активная фазированная антенная решетка Х-диапазона, состоящая из двух активных фазированных антенных решеток (АФАР), каждая из которых состоит из излучающего полотна в виде излучающей поверхности из N щелевых излучателей, расположенных в торцах отрезков прямоугольных волноводов и образующих плоский излучающий раскрыв с размером Lx*Ly, и N приемопередающих модулей (ППМ), подсоединенных к излучателям и обеспечивающих электрическое сканирование в азимутальной плоскости в секторе углов ± В частном случае излучающие полотна АФАР образуют клин или усеченный клин. Также излучающие полотна АФАР могут быть выполнены в форме эллипса с соотношением осей эллипса, равных отношению ширин диаграммы направленности каждой апертуры в угломестной и горизонтальной плоскостях. Излучающие полотна АФАР могут быть образованы излучателями с вертикальной или горизонтальной поляризацией, или излучателями с эллиптической поляризацией с произвольным коэффициентом эллиптичности. Излучающее полотно АФАР выполняется в виде двух прямоугольных АР, каждая с плоской излучающей поверхностью и числом излучателей Каждый из блока модулей ППМ где Аналогичные соотношения имеют место и при оценке массы где Поэтому С целью более удобной компоновки блока ППМ Ширина ДН в азимутальной 2 Соответственно, уровень боковых лепестков равен -13 дБ в обеих плоскостях. Соотношения (9) используются для выбора числа излучателей по оси 0 Для уменьшения уровня боковых лепестков в обеих плоскостях плоский излучающий раскрыв каждой АР выполняется в форме эллипса с соотношением полуосей эллипса Заявляемое изобретение удовлетворяет критерию «существенные отличия», т.к. выполнение АФАР в виде двух АР с плоской апертурой с общим числом излучателей 2

в угломестной плоскости, и -60°≤
- границы сектора сканирования при θ0=0. Обычно для бортовых АФАР
. Кроме того, поляризация антенны должна быть горизонтальной.
.
, где
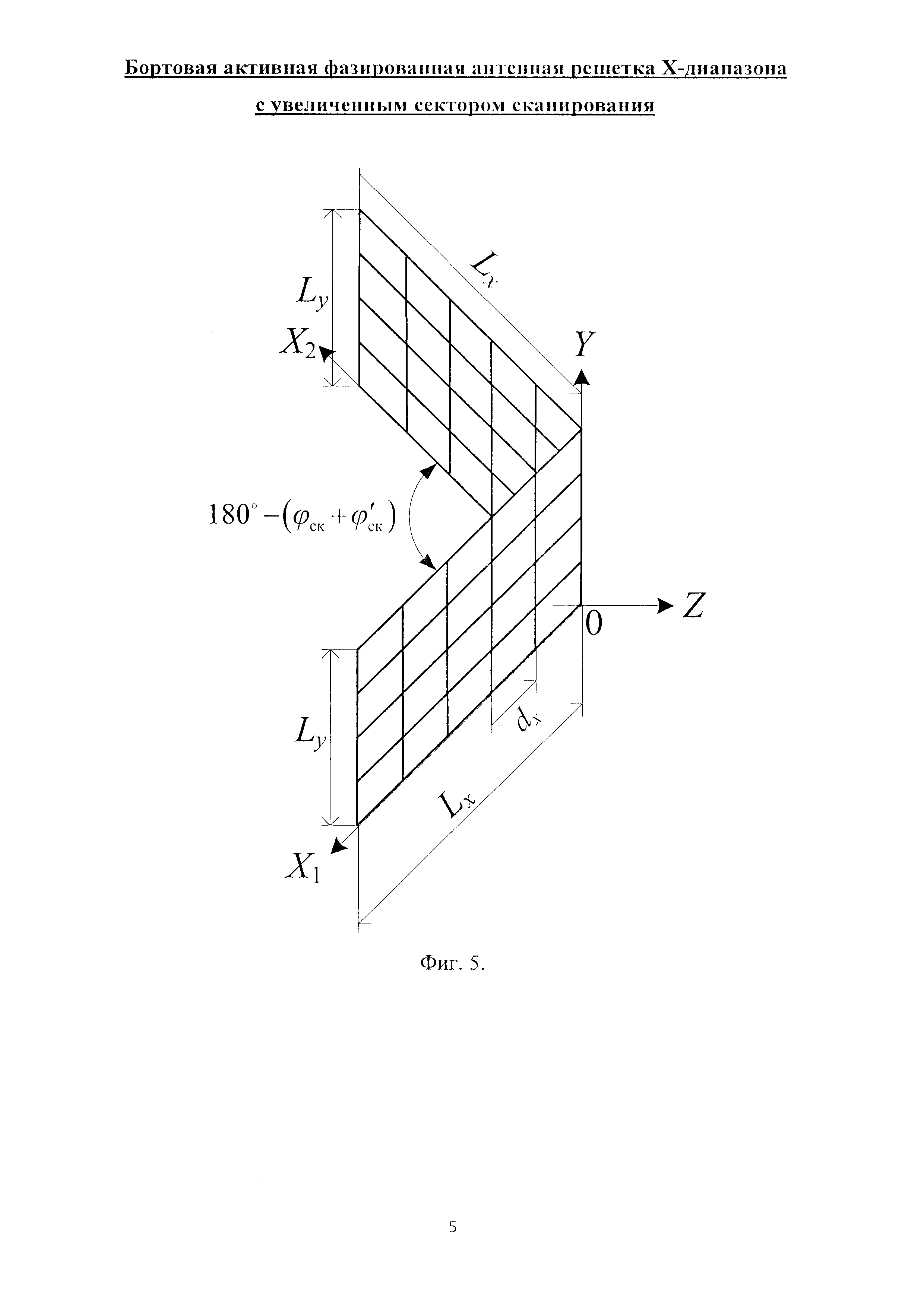
, предлагается трансформировать полотно АР, изображенной на фиг. 3, в АР, выполненную в виде двух прямоугольных АР, симметрично расположенных относительно продольной оси 0Z (продольной оси самолета (вертолета)) и под углом
относительно друг друга (фиг. 5). При этом излучающие поверхности антенн образуют клин с углом клина
. В частности, при
сектор сканирования в азимутальной плоскости определяется из неравенства -2ϕск≤ϕ≤2ϕск и увеличивается в два раза.
целесообразно выбирать из условия
, где 2




. Поэтому при ⎜
можно уменьшить на величину ⎜
до
для произвольных углов
, выбираемых из условия
.
относительно друг друга, так что излучающая поверхность АФАР образует угол
между линией пересечения плоскостей, в которых лежат излучающие полотна, и вертикальной осью, зависящий от значения
, и блока из
относительно друг друга, апертуры прямоугольных АР наклонены на угол ±
и углом
между ребром клина и вертикальной осью 0
зависит от значения θ0:
Во внутренней области клина располагается блок из N двухканальных ППМ. Каждый двухканальный ППМ имеет два переключаемых независимых входа-выхода с помощью электрически управляемого переключателя, размещаемого внутри двухканального ППМ.
работают N ППМ и правое полотно ФАР с N излучателями, а при сканировании в азимутальном секторе в диапазоне углов от 0 до
работают те же 
- стоимость АФАР с
- стоимость АФАР с 2
- масса АФАР с
- масса АФАР с 2


относительно друг друга, плоскости апертур АР наклонены на угол ±
и углом