патент
№ RU 2687515
МПК B23Q16/02

ДЕЛИТЕЛЬНАЯ МАШИНА МАЯТНИКОВОГО ТИПА ДЛЯ ИЗГОТОВЛЕНИЯ ШТРИХОВЫХ СТРУКТУР НА ВЫПУКЛЫХ ЦИЛИНДРИЧЕСКИХ ПОВЕРХНОСТЯХ

Авторы:
Мельников Андрей Николаевич
Номер заявки
2018107379
Дата подачи заявки
27.02.2018
Опубликовано
14.05.2019
Страна
RU
Как управлять
интеллектуальной собственностью
Чертежи 
5
Реферат

Изобретение относится к области изготовления штриховых структур на выпуклых цилиндрических поверхностях с большой стрелкой прогиба и может быть использовано, например, при производстве дифракционных оптических элементов, применяемых для изготовления пленочных концентраторов солнечной энергии и решеток-поляризаторов. Делительная машина содержит станину с расположенными на ней резцовой кареткой, выполненной в виде маятника, с приводом ее перемещения, выполненным с возможностью обеспечения угловых автоколебаний резцовой каретки относительно ее оси, которая закреплена на опорах вращения, расположенных на станине, и делительной кареткой с приводом и датчиком ее перемещения, установленной с возможностью линейного перемещения относительно станины в плоскости, перпендикулярной плоскости угловых автоколебаний резцовой каретки, установленный на резцовой каретке алмазный резец с механизмом его подъема и опускания для формирования штриха и блок управления упомянутыми приводами и механизмом. Использование изобретения позволяет обеспечить более точное и качественное изготовление штриховых структур на выпуклых цилиндрических поверхностях. 3 з.п. ф-лы, 5 ил.

Формула изобретения

1. Делительная машина маятникового типа для изготовления штриховых структур на выпуклых цилиндрических поверхностях, содержащая станину с расположенными на ней резцовой кареткой, выполненной в виде маятника, с приводом ее перемещения, выполненным с возможностью обеспечения угловых автоколебаний резцовой каретки относительно ее оси, которая закреплена на опорах вращения, расположенных на станине, и делительной кареткой с приводом и датчиком ее перемещения, установленной с возможностью линейного перемещения относительно станины в плоскости, перпендикулярной плоскости угловых автоколебаний резцовой каретки, установленный на резцовой каретке алмазный резец с механизмом его подъема и опускания для формирования штриха и блок управления упомянутыми приводами и механизмом, отличающаяся тем, что резцовая каретка снабжена противовесом, расположенным на ее конце ниже оси угловых автоколебаний резцовой каретки, при этом алмазный резец с механизмом его подъема и опускания установлен на противоположном конце резцовой каретки относительно оси ее угловых автоколебаний.

2. Делительная машина по п. 1, отличающаяся тем, что резцовая каретка выполнена в виде вертикально расположенной рамы и снабжена телескопическим механизмом.

3. Делительная машина по п. 1, отличающаяся тем, что противовес резцовой каретки выполнен с возможностью регулирования по массе и моменту инерции.

4. Делительная машина по п. 1, отличающаяся тем, что делительная каретка снабжена телескопическим механизмом, установленным на станине.

Описание

[1]

Делительная машина маятникового типа для изготовления штриховых структур на выпуклых цилиндрических поверхностях

[2]

Изобретение относится к области станкостроения, а именно, к делительным машинам, и может быть использовано для изготовления штриховых структур на выпуклых цилиндрических поверхностях с большой стрелкой прогиба (более 10 мм), например мастер-матриц дифракционных оптических элементов, применяемых для изготовления пленочных концентраторов солнечной энергии и решеток-поляризаторов.

[3]

Известна делительная машина для изготовления вогнутых и выпуклых дифракционных решеток [Harada Т., Kita Т. Mechanically ruled aberration-corrected concave gratings // Applied Optics. 1980. Vol. 19. No. 23. Pp. 3987-3993.].

[4]

Делительная машина содержит станину, делительную и резцовую каретки, приводы перемещения делительной и резцовой кареток, механизмы подъема и опускания алмазного резца и цилиндрических направляющих резцовой каретки, механизм поворота алмазного резца, блок управления приводами перемещения делительной и резцовой кареток и датчик линейного перемещения делительной каретки. Привод перемещения делительной каретки выполнен с возможностью электронного управления процессом перемещения для обеспечения формирования штриховых структур. Механизм подъема и опускания цилиндрических направляющих резцовой каретки выполнен с возможностью электронного управления процессом перемещения в целях обеспечения концентричности поверхностей цилиндрических направляющих и сферической подложки изготавливаемой штриховой структуры.

[5]

Основными недостатками аналога являются конструктивно-технологические ограничения по величине стрелки прогиба изготавливаемых штриховых структур на неплоских поверхностях -не более 10 мм, и сложность конструкции делительной машины, так как она содержит пять систем управления, задействованных в процессе формирования штриховой структуры на неплоских поверхностях.

[6]

Прототипом является делительная машина маятникового типа для изготовления периодических штриховых структур, например мастер-матриц дифракционных оптических элементов [Беляков Ю.М., Лукин A.B., Мельников А.Н. Устойчивость функционирования делительной машины маятникового типа к воздействию внешних факторов // Оптический журнал. 2007. Т. 74. №3. С. 23-28].

[7]

Данная делительная машина для изготовления периодических штриховых структур, преимущественно дифракционных решеток, содержит станину, делительную и резцовую каретки, приводы перемещения делительной и резцовой кареток, механизм подъема и опускания алмазного резца, блок управления приводами перемещения делительной и резцовой кареток, а также механизмом подъема и опускания алмазного резца, и датчик линейного перемещения делительной каретки. Резцовая каретка выполнена в виде маятника, закрепленного не менее чем на двух опорах с трением упругости, а привод перемещения резцовой каретки - в виде привода обеспечения угловых автоколебаний резцовой каретки. Механизм подъема и опускания алмазного резца расположен на резцовой каретке ниже оси угловых автоколебаний резцовой каретки. На делительной каретке закреплена подложка изготавливаемой штриховой структуры, а на резцовой каретке -алмазный резец для формирования штрихов.

[8]

Основным недостатком прототипа являются ограниченные функциональные возможности, так как данная делительная машина обеспечивает изготовление мастер-матриц дифракционных оптических элементов на выпуклых цилиндрических поверхностях с небольшой стрелкой прогиба - не более 0,2 мм - из-за того, что механизм подъема и опускания алмазного резца расположен ниже оси угловых автоколебаний резцовой каретки, а также из-за наличия опор с трением упругости, ограничивающих амплитуду угловых автоколебаний резцовой каретки в пределах ±1°.

[9]

Техническим результатом изобретения является расширение функциональных возможностей делительной машины маятникового типа, а именно, обеспечение возможности изготовления штриховых структур на выпуклых цилиндрических поверхностях с большой стрелкой прогиба.

[10]

Технический результат достигается за счет того, что в делительной машине маятникового типа для изготовления штриховых структур на выпуклых цилиндрических поверхностях, содержащей станину с расположенными на ней резцовой кареткой, выполненной в виде маятника, с приводом ее перемещения, выполненным с возможностью обеспечения угловых автоколебаний резцовой каретки относительно ее оси, которая закреплена на опорах вращения, расположенных на станине, и делительной кареткой с приводом и датчиком ее перемещения, установленной с возможностью линейного перемещения относительно станины в плоскости, перпендикулярной плоскости угловых автоколебаний резцовой каретки, установленный на резцовой каретке алмазный резец с механизмом его подъема и опускания для формирования штриха и блок управления упомянутыми приводами и механизмом, согласно настоящему изобретению, резцовая каретка снабжена противовесом, расположенным на ее конце ниже оси угловых автоколебаний резцовой каретки, при этом алмазный резец с механизмом его подъема и опускания установлен на противоположном конце резцовой каретки относительно оси ее угловых автоколебаний. Резцовая каретка выполнена в виде вертикально расположенной рамы и снабжена телескопическим механизмом. Противовес резцовой каретки выполнен с возможностью регулирования по массе и моменту инерции. Делительная каретка снабжена телескопическим механизмом, установленным на станине.

[11]

Сущность изобретения поясняется чертежами (фиг. 1 - фиг. 5).

[12]

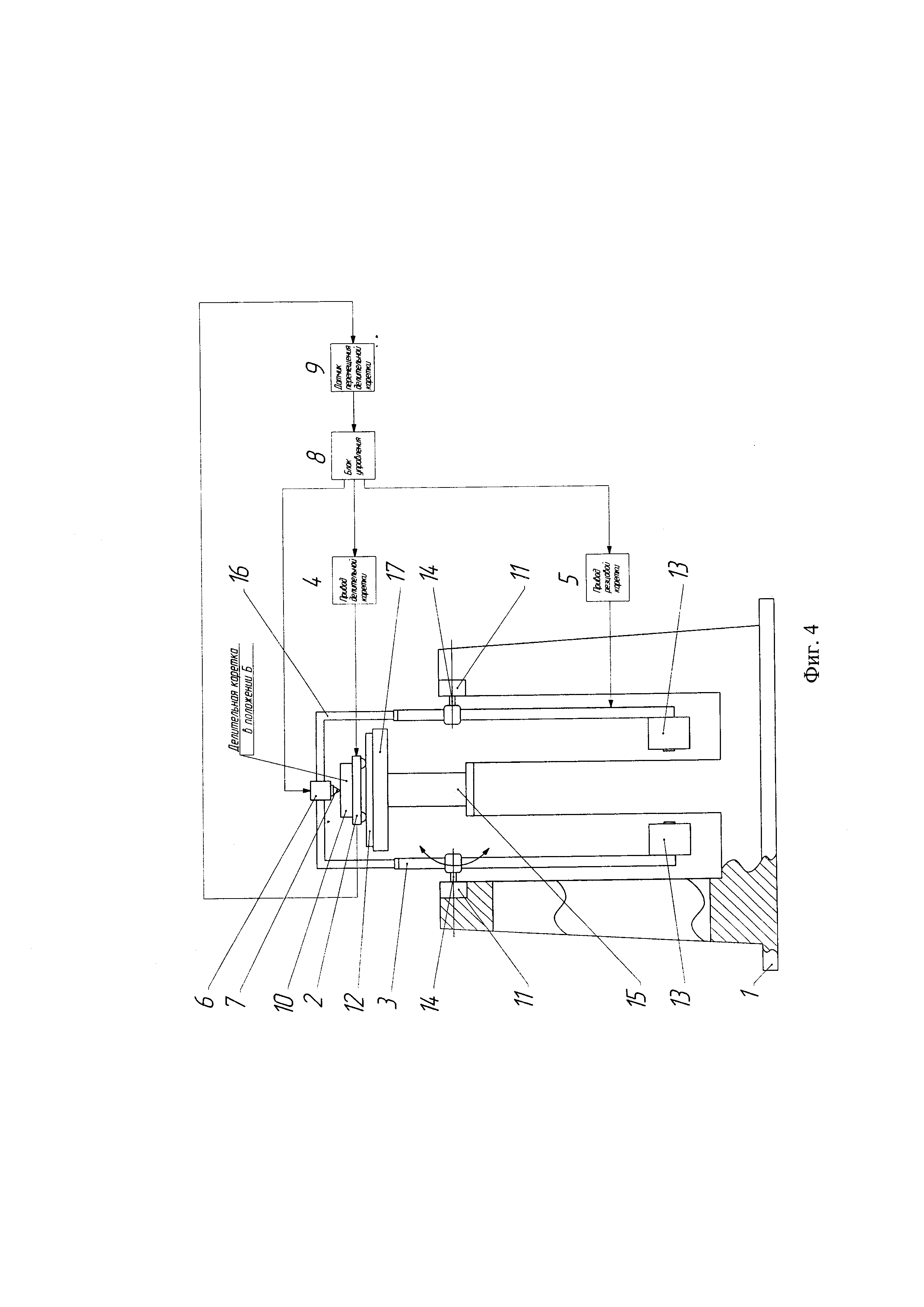
На фиг. 1 изображена функциональная схема предлагаемой делительной машины маятникового типа для изготовления штриховых структур на выпуклых цилиндрических поверхностях, на которой стрелками показана возможность линейного перемещения делительной каретки и угловых автоколебаний резцовой каретки.

[13]

На фиг. 2 изображены вид сбоку на делительную каретку и траектория движения алмазного резца при формировании штриха в меридиональном сечении световой зоны выпуклой рабочей поверхности подложки изготавливаемой штриховой структуры (световая зона заключена между точками 6 и г касания лезвия алмазного резца с выпуклой рабочей поверхностью подложки), при этом показаны делительная каретка с телескопическим механизмом, механизм подъема и опускания алмазного резца.

[14]

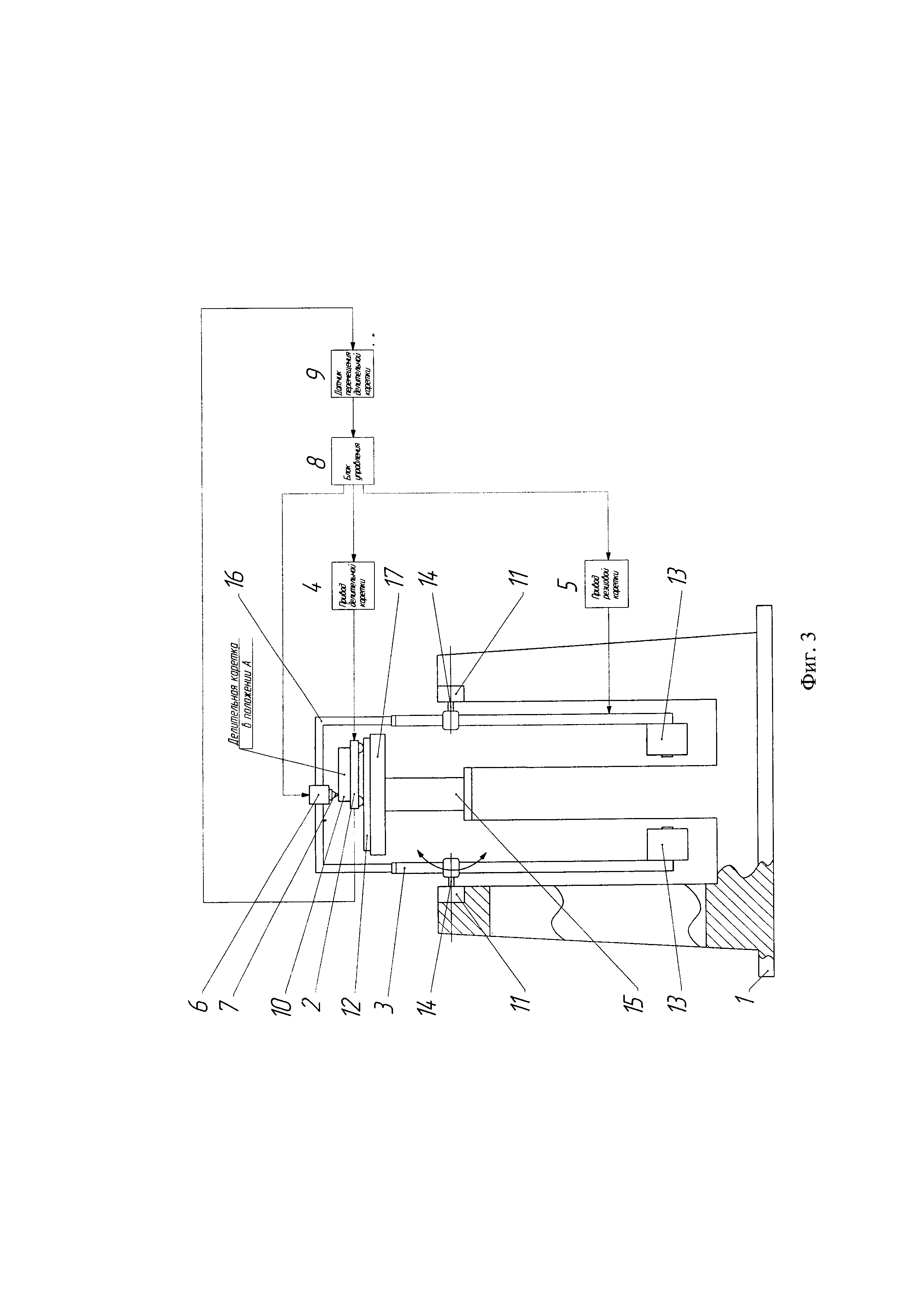
На фиг. 3 изображено расположение делительной каретки во время работы предлагаемой делительной машины в начальном положении А, при этом нарезка штриховой структуры выполняется в начальной краевой световой зоне выпуклой рабочей поверхности подложки.

[15]

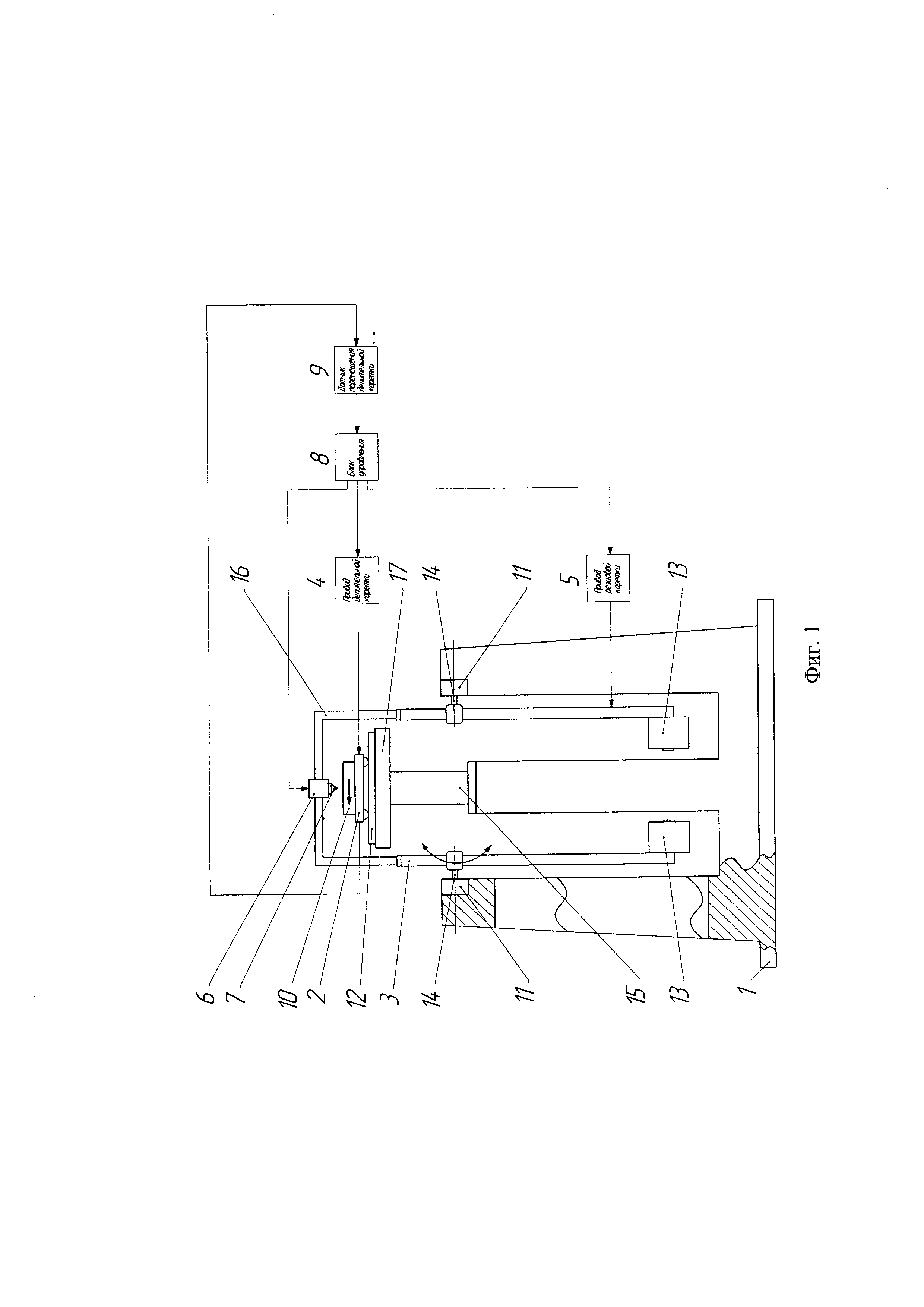
На фиг. 4 изображено расположение делительной каретки во время работы предлагаемой делительной машины в среднем положении Б, при этом нарезка штриховой структуры выполняется в средней световой зоне выпуклой рабочей поверхности подложки.

[16]

На фиг. 5 изображено расположение делительной каретки во время работы предлагаемой делительной машины в конечном положении В, при этом нарезка штриховой структуры выполняется в конечной краевой световой зоне выпуклой рабочей поверхности подложки.

[17]

Делительная машина маятникового типа для изготовления штриховых структур на выпуклых цилиндрических поверхностях содержит станину 1, делительную каретку 2, резцовую каретку 3, приводы 4 и 5 перемещения, соответственно, делительной и резцовой кареток, механизм 6 подъема и опускания алмазного резца 7, блок 8 управления приводами 4, 5 и механизмом 6 подъема и опускания алмазного резца 7, датчик 9 линейного перемещения делительной каретки 2, представляющий собой прецизионный энкодер, встроенный в состав высокоточного устройства линейного перемещения модели V-551. Вход датчика 9 линейного перемещения делительной каретки 2 сопряжен с делительной кареткой 2, а выход подключен к входу блока 8 управления, первый выход которого подключен к входу привода 4, сопряженного с делительной кареткой 2. Второй выход блока 8 управления подключен к входу механизма 6 подъема и опускания алмазного резца 7, а третий выход - к входу привода 5, выход которого сопряжен с резцовой кареткой 3.

[18]

Делительная каретка 2 с приводом 4 и датчиком 9 расположена на станине 1 и установлена на опорах 12 с возможностью линейного перемещения относительно станины 1. На делительной каретке 2 закреплена подложка 10 формируемой штриховой структуры с выпуклой цилиндрической рабочей поверхностью. Делительная каретка 2 может быть снабжена телескопическим механизмом 15, установленным на станине 1, для подстройки расположения подложки 10 штриховой структуры относительно алмазного резца 7 во время осуществления котировочной операции, проводимой до нарезки штриховой структуры. Опоры 12 линейного перемещения размещены на платформе 17 телескопического механизма 15. Привод 4 выполнен с возможностью электронного управления процессом линейного перемещения делительной каретки 2 и построен на основе использования высокоточного устройства линейного перемещения модели V-551.

[19]

Резцовая каретка 3 с приводом 5 ее перемещения также расположена на станине 1. На резцовой каретке 3, выполненной в виде маятника, установлен алмазный резец 7 с механизмом 6 его подъема и опускания для формирования штриха. Механизм 6 подъема и опускания алмазного резца 7, расположенный на резцовой каретке 3, построен на основе использования типового управляемого электромагнита с напряжением питания постоянного тока, равным 27 В. Привод 5 перемещения резцовой каретки 3 предназначен для обеспечения поперечного движения - подачи алмазного резца 7 в виде незатухающих угловых колебаний, что достигается в режиме угловых автоколебаний резцовой каретки 3. Привод 5 выполнен с возможностью обеспечения угловых автоколебаний резцовой каретки 3 относительно ее оси 14, которая закреплена на опорах 11 вращения, расположенных на станине 1. Опоры 11 вращения с осью 14 обеспечивают большую амплитуду угловых автоколебаний резцовой каретки 3 (в пределах±20°). В плоскости, перпендикулярной плоскости угловых автоколебаний резцовой каретки 3, осуществляется линейное перемещение делительной каретки 2 относительно станины 1. Резцовая каретка 3 выполнена в виде вертикально расположенной рамы и может быть снабжена телескопическим механизмом 16 для подстройки своих геометрических размеров по высоте в условиях конкретных размеров подложки 10 изготавливаемой штриховой структуры. Резцовая каретка 3 снабжена противовесом 13, расположенным на ее конце ниже оси 14 угловых автоколебаний резцовой каретки 3. Противовес 13 резцовой каретки 3 выполнен с возможностью регулирования по массе и моменту инерции для того, чтобы резцовая каретка 3 обладала динамическими свойствами маятника с центром масс, расположенным ниже геометрической оси угловых автоколебаний резцовой каретки 3. Регулируемый противовес 13 позволяет подбирать частоту угловых автоколебаний резцовой каретки 3 с целью достижения оптимальной производительности нарезки штрихов.

[20]

Алмазный резец 7 с механизмом 6 его подъема и опускания установлен на противоположном конце резцовой каретки 3 относительно оси 14 ее угловых автоколебаний. Резцовая каретка 3 вместе с алмазным резцом 7 совершает воспроизводимые быстрые, по отношению к линейному перемещению делительной каретки 2, угловые автоколебания с большой амплитудой в плоскости качания. Причем траектория движения алмазного резца 7 в своем рабочем ходе практически равна радиусу кривизны выпуклой рабочей поверхности подложки 10. Путем подбора нагружения и установки регулируемого упора (на всех фигурах упор не показан) достигается плавное вхождение алмазного резца 7 в рабочий слой, нанесенный на выпуклую рабочую поверхность подложки 10, что исключает скол алмазного резца 7.

[21]

Перед началом работы делительной машины, предварительно рассчитывают амплитуду и частоту угловых автоколебаний резцовой каретки 3 исходя из требуемых размеров изготавливаемой на выпуклой рабочей поверхности подложки 10 штриховой структуры, геометрических размеров и динамических свойств резцовой каретки 3.

[22]

Делительная машина работает следующим образом.

[23]

Дифракционный оптический элемент формируют непосредственно в материале подложки - в стекле или в металле, либо в тонком металлическом слое, нанесенном, как правило, методом вакуумного испарения на выпуклую рабочую поверхность подложки 10 изготавливаемой штриховой структуры. Дифракционный оптический элемент используется в качестве мастер-матрицы для последующего изготовления методом горячего тиснения или полимерной репликации пленочных концентраторов солнечной энергии и решеток-поляризаторов.

[24]

В исходном нерабочем положении узлов и механизмов делительной машины делительная каретка 2, резцовая каретка 3 с противовесом 13, механизм 6 подъема и опускания алмазного резца 7 находятся в статическом состоянии и расположены в вертикальной плоскости, при этом алмазный резец 7 поднят (см, фиг. 1, на которой стрелками показана возможность линейного перемещения делительной каретки и угловых автоколебаний резцовой каретки).

[25]

Предварительно, до операции нарезки штрихов мастер-матрицы дифракционного оптического элемента, осуществляют технологические операции по юстировке подложки 10 и алмазного резца 7.

[26]

В результате юстировки подложки 10 обеспечивается движение ее выпуклой рабочей поверхности по заданной траектории.

[27]

В результате юстировки алмазного резца 7 устанавливаются требуемая величина технологического зазора между режущей кромкой лезвия алмазного резца 7 и выпуклой рабочей поверхностью подложки 10 в исходном состоянии; необходимая величина нагружения на алмазный резец 7 и требуемая пространственная ориентация режущей кромки лезвия алмазного резца 7.

[28]

При включении делительной машины блок 8 управления, с помощью привода 5 перемещения резцовой каретки 3, выводит резцовую каретку 3, выполненную в виде маятника на опорах 11 вращения, в режим угловых автоколебаний.

[29]

Делительная машина готова к операции нарезки штрихов мастер-матрицы дифракционного оптического элемента.

[30]

Цикл нарезки штрихов мастер-матрицы дифракционного оптического элемента рассмотрим на примере нарезки штриховой структуры в меридиональном сечении световой зоны, расположенной между точками 6 и г касания лезвия алмазного резца 7 с выпуклой рабочей поверхностью подложки 10 (см. фиг. 2, на которой резцовая каретка 3 не показана).

[31]

Блок 8, подавая управляющие сигналы, синхронизирует работу трех основных систем - привода 4 перемещения делительной каретки 2, привода 5 перемещения резцовой каретки 3 и механизма 6 подъема и опускания алмазного резца 7.

[32]

На механизм 6 подан управляющий сигнал, поэтому алмазный резец 7 поднят и находится в нерабочем крайнем левом положении а вне указанной световой зоны выпуклой рабочей поверхности 'подложки 10, при этом делительная каретка 2 расположена неподвижно.

[33]

Далее резцовая каретка 3 перемещает механизм 6 с алмазным резцом 7 в положение 6, совпадающее с началом световой зоны выпуклой рабочей поверхности подложки 10.

[34]

С блока 8 на механизм 6 поступает управляющий сигнал, в результате чего алмазный резец 7 опускается, переходя в свое рабочее положение, и начинает формировать штрих последовательно и непрерывно от положения 6, проходя положение в, до положения г включительно, совпадающего с окончанием световой зоны выпуклой рабочей поверхности подложки 10.

[35]

Затем, в положении г, с блока 8 на механизм 6 поступает управляющий сигнал, в результате чего алмазный резец 7 поднимается, переходя в свое нерабочее положение.

[36]

Далее резцовая каретка 3 перемещает механизм 6 с алмазным резцом 7 в крайнее правое положение д вне указанной световой зоны выпуклой рабочей поверхности подложки 10.

[37]

Достигнув крайнего правого положения д, резцовая каретка 3 с механизмом 6 подъема и опускания алмазного резца 7 останавливается.

[38]

Таким образом, механизм 6 с алмазным резцом 7, пройдя траекторию своего движения от положения а до положения д, завершил рабочий ход.

[39]

Достигнув крайнего правого положения д, механизм 6 с алмазным резцом 7 начинает перемещаться в противоположном направлении - от положения д к положению а, совершая холостой ход. За время выполнения резцовой кареткой 3 холостого хода, делительная каретка 2 с подложкой 10 совершает линейное перемещение на расстояние, равное периоду штриховой структуры. При этом величина линейного перемещения делительной каретки 2 контролируется датчиком 9.

[40]

В момент достижения алмазным резцом 7 положения а, делительная каретка 2 с подложкой 10 останавливается, переместившись на линейное расстояние, равное периоду штриховой структуры.

[41]

Далее описанный выше цикл перемещения алмазного резца 7 -от положения а до положения д - при работе делительной машины повторяется.

[42]

Процесс нарезки всей штриховой структуры выполняется аналогично процессу, описанному выше, при этом делительная каретка 2 с подложкой 10 проходит последовательно траекторию (с соответствующими остановками на момент нанесения каждого штриха) от своего начального положения А (см. фиг. 3) через среднее положение Б (см. фиг. 4) до своего конечного положения В (см. фиг. 5).

[43]

Предлагаемая делительная машина маятникового типа для изготовления штриховых структур на выпуклых цилиндрических поверхностях, по сравнению с аналогом, является более эффективной по энергетическим затратам в пересчете на формирование одного штриха, поскольку используется автоколебательный режим движения резцовой каретки 3.

[44]

Использование предлагаемой делительной машины маятникового типа обеспечит возможность изготовления штриховых структур на выпуклых цилиндрических поверхностях с большой стрелкой прогиба (например, 50 мм), в частности, мастер-матриц дифракционных оптических элементов, применяемых(для изготовления пленочных концентраторов солнечной энергии и решеток-поляризаторов, за счет угловых автоколебаний резцовой каретки с большой амплитудой, а также изменения места расположения механизма подъема и опускания алмазного резца на резцовой каретке.

Как компенсировать расходы
на инновационную разработку
Похожие патенты