патент
№ RU 2611524
МПК B01D33/23

СЕКТОРНЫЙ ЭЛЕМЕНТ ДИСКОВОГО ФИЛЬТРА

Авторы:
Красный Борис Лазаревич
Номер заявки
2015147986
Дата подачи заявки
09.11.2015
Опубликовано
27.02.2017
Страна
RU
Как управлять
интеллектуальной собственностью
Чертежи 
5
Реферат

Изобретение относится к области вакуумных дисковых фильтров, предназначенных для разделения жидкости и взвешенных в ней частиц, и может быть использовано в процессах по обогащению руды. Секторный элемент дискового фильтра содержит две боковые пластины, каждая из которых выполнена из проницаемой пористой керамики, и центральную пластину, выполненную из полимерного материала. Боковые пластины жестко связаны с центральной пластиной, причем каждая со своей стороны с образованием полостей в виде каналов, по меньшей мере, часть из которых направлена радиально от внешней грани секторного элемента. Центральная пластина может содержать сотовую структуру, направленную перпендикулярно плоскости контакта центральной пластины и любой из боковых пластин, при этом сотовая структура герметично закрыта с обеих сторон. В предпочтительном случае центральная пластина выполнена из полимерного пористого материала. Часть каналов может иметь тангенциальное или концентрическое направление. Технический результат: повышение прочности секторного элемента без увеличения толщины керамических пластин и их массы. 9 з.п. ф-лы, 5 ил.

Формула изобретения

1. Секторный элемент дискового фильтра, предназначенного для отделения жидкости от взвешенных в ней частиц путем ее всасывания через проницаемый материал, содержащий две боковые пластины, каждая из которых выполнена из пористой керамики, и центральную пластину, выполненную из полимерного материала, при этом

боковые пластины жестко связаны с центральной пластиной, причем каждая со своей стороны с образованием полостей в виде каналов, по меньшей мере, часть из которых направлена, по существу, радиально от внешней грани секторного элемента.

2. Секторный элемент по п. 1, отличающийся тем, что центральная пластина содержит сотовую структуру, направленную перпендикулярно плоскости контакта центральной пластины и любой из боковых пластин, при этом сотовая структура герметично закрыта с обеих сторон.

3. Секторный элемент по п. 1, отличающийся тем, что центральная пластина выполнена из полимерного пористого материала.

4. Секторный элемент по п. 1, отличающийся тем, что центральная пластина выполнена из водонепроницаемого материала.

5. Секторный элемент по любому из пп. 1-4, отличающийся тем, что центральная пластина снабжена сквозными отверстиями.

6. Секторный элемент по п. 1, отличающийся тем, что часть каналов имеет, по существу, тангенциальное или концентрическое направление.

7. Секторный элемент по п. 1, отличающийся тем, что, по меньшей мере, часть каналов образована углублениями в боковой пластине.

8. Секторный элемент по п. 1, отличающийся тем, что, по меньшей мере, часть каналов образована углублениями в центральной пластине.

9. Секторный элемент по п. 1, отличающийся тем, что, по меньшей мере, часть каналов образована совмещением углублений, выполненных в боковой пластине, и углублений, выполненных в центральной пластине.

10. Секторный элемент по п. 1, отличающийся тем, что боковые пластины закреплены по обеим сторонам центральной пластины при помощи клея.

Описание

[1]

Изобретение относится к области вакуумных дисковых фильтров, предназначенных для разделения жидкости и взвешенных в ней частиц, и может быть использовано в процессах по обогащению руды.

[2]

Дисковый фильтр, принцип действия которого широко известен, содержит ряд установленных на вращающемся валу фильтровальных дисков, каждый из которых образован несколькими секторными элементами, при этом каждый секторный элемент выполнен в предпочтительном случае из пористой проницаемой керамики с образованием внутренней полости. При прохождении секторного элемента через ванну с пульпой внутри него создается вакуум, который в совокупности с капиллярным эффектом, характерным для пористой керамики, побуждает жидкость просачиваться в полость секторного элемента, откуда она попадает в полость вала и удаляется. Во время подъема секторного элемента из ванны на его боковых поверхностях остается слой налипших частиц, представляющий собой обезвоженный концентрат - кек, который счищается при помощи специальных скребков, после чего в полость секторного элемента подают избыточное давление воздуха или воды с целью прочистки пор.

[3]

В патентной публикации RU 2405615 (C1), B01D 33/23, 10.12.2010 раскрыт секторный элемент дискового фильтра, образованный двумя керамическими пластинами, которые имеют внутренние полости для создания вакуума и отсоса воды в направлении полого вала. Недостатком известного решения, выбранного в качестве прототипа изобретения, является то, что при прочих равных условиях, таких, например, как вид используемой керамики или проходное сечение внутренних полостей, механическая прочность секторного элемента может быть обеспечена только за счет увеличения толщины пластин. Следовательно, в случае необходимости использования фильтровального диска большого диаметра, требующего выполнения секторных элементов с большим радиальным размером, а значит, обладающих и большей прочностью, толщина пластин должна быть существенно увеличена.

[4]

Данное обстоятельство приводит к значительному возрастанию массы даже сухого изделия, которая еще больше увеличивается при пропитывании керамики водой, что, во-первых, вызывает повышенное напряжение в области крепления секторного элемента к валу, которое отрицательно сказывается на прочности секторного элемента в целом, во-вторых, создает существенные нагрузки на вал, снижающие ресурс всего дискового фильтра, а в- третьих, приводит к росту энергетических затрат фильтровального процесса. Следует отметить, что еще одним следствием увеличения толщины пластин является значительное возрастание гидравлического сопротивления в порах керамики, вызывающее уменьшение перепада давления на границе раздела сред, что, в свою очередь, снижает эффективность как фильтрации, так и прочистки пор.

[5]

Задачей изобретения является повышение прочности секторного элемента без увеличения толщины керамических пластин и вызванных этим отрицательных эффектов.

[6]

Для решения поставленной задачи предложен секторный элемент дискового фильтра, предназначенного для отделения жидкости от взвешенных в ней частиц путем ее всасывания через проницаемый материал. Секторный элемент содержит две боковые пластины, каждая из которых выполнена из пористой керамики, и центральную пластину, выполненную из полимерного материала. Боковые пластины жестко связаны с центральной пластиной, причем каждая со своей стороны с образованием полостей в виде каналов, по меньшей мере, часть из которых, по существу, радиально направлена от внешней грани секторного элемента.

[7]

В первом частном случае изобретения центральная пластина содержит сотовую структуру, направленную перпендикулярно плоскости контакта центральной пластины и любой из боковых пластин, при этом сотовая структура герметично закрыта с обеих сторон.

[8]

Во втором частном случае изобретения центральная пластина выполнена из полимерного пористого материала.

[9]

В третьем частном случае изобретения центральная пластина выполнена из водонепроницаемого материала.

[10]

В четвертом частном случае изобретения, относящемся также и к первому, второму или третьему частным случаям, центральная пластина снабжена сквозными отверстиями.

[11]

В пятом частном случае изобретения часть каналов имеет, по существу, тангенциальное или концентрическое направление.

[12]

В шестом частном случае изобретения, по меньшей мере, часть каналов образована углублениями в боковой пластине.

[13]

В седьмом частном случае изобретения, по меньшей мере, часть каналов образована углублениями в центральной пластине.

[14]

В восьмом частном случае изобретения, по меньшей мере, часть каналов образована совмещением углублений, выполненных в боковой пластине, и углублений, выполненных в центральной пластине.

[15]

В девятом частном случае изобретения боковые пластины закреплены по обеим сторонам центральной пластины при помощи клея.

[16]

При использовании изобретения достигаются следующие технические результаты:

[17]

- снижение гидравлического сопротивления пор, обеспечивающее повышение перепада давления на границе раздела сред, что позволяет увеличить эффективности всасывания или нагнетания;

[18]

- снижение нагрузки в области крепления секторного элемента, что позволят избежать его преждевременного выхода из строя;

[19]

- снижение нагрузки на вал и другие части дискового фильтра, увеличивающее его ресурс;

[20]

- уменьшение энергетических затрат на привод вала.

[21]

Другие технические результаты будут раскрыты в ходе дальнейшего изложения.

[22]

Осуществление изобретения будет показано на наилучших вариантах выполнения изобретения, что не является ограничением в отношении охраняемых прав, и будет пояснено ссылками на фигуры:

[23]

Фиг. 1 - фронтальная (с разрезом) и профильная проекции секторного элемента дискового фильтра;

[24]

Фиг. 2 - фрагменты секторных элементов в разрезе с различной толщиной центральной пластины, также иллюстрирующие шестой частный случай изобретения;

[25]

Фиг. 3 - фрагмент секторного элемента в разрезе с центральной пластиной, содержащей сотовую структуру;

[26]

Фиг. 4 - фрагмент секторного элемента в разрезе, выполненного согласно седьмому частному случаю изобретения;

[27]

Фиг. 5 - фрагмент секторного элемента в разрезе, выполненного согласно восьмому частному случаю изобретения.

[28]

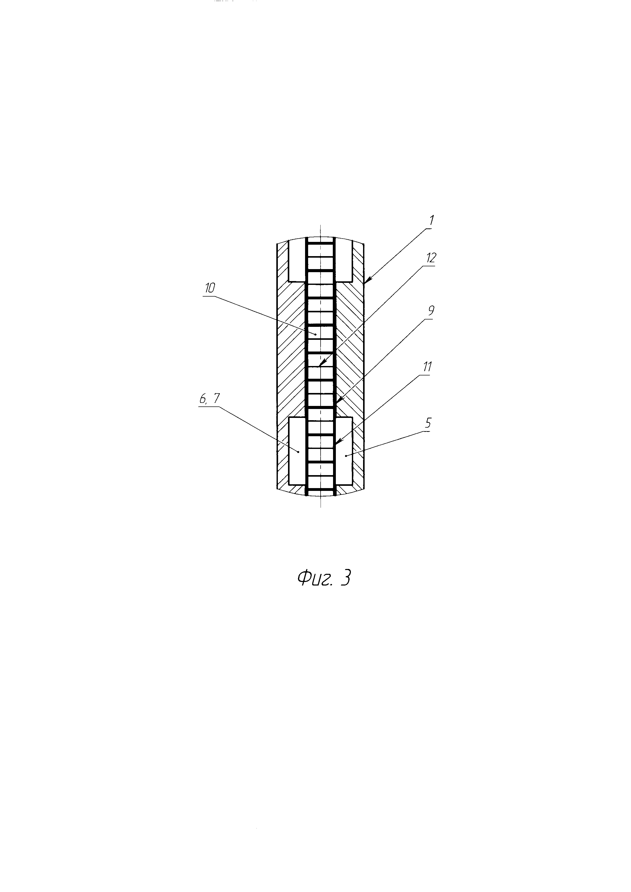
Секторный элемент дискового фильтра, общий вид которого представлен на фиг. 1, содержит две боковые пластины 1, каждая из которых выполнена из пористой проницаемой керамики, и центральную пластину 2, выполненную из полимерного материала. Боковые пластины жестко связаны с центральной пластиной так, что каждая боковая пластина расположена на своей стороне центральной пластины, и в предпочтительном случае такое закрепление осуществлено посредством приклеивания, например, как показано на фиг. 5, где позицией 9 обозначен клеевой слой.

[29]

Выполнение боковых пластин из пористой проницаемой керамики позволяет повысить эффективность всасывания жидкости относительно использования других проницаемых материалов, например ткани, так как помимо искусственно создаваемого перепада давления на границе раздела сред наблюдается еще и действие капиллярного эффекта пор. Выполнение центральной пластины из полимерного материала позволяет снизить вес секторного элемента за счет того, что плотность полимерного материала значительно меньше плотности керамики, в то время как прочность полимерного материала на изгиб достаточно велика за счет его упругих свойств.

[30]

Секторный элемент крепится к валу посредством фланцев 4, кроме того, он снабжен штуцерами 3, предназначенными для соединения полости секторного элемента с источником вакуума или повышенного давления, и через которые соответственно отводится фильтрат или подается вода либо воздух для прочистки пор.

[31]

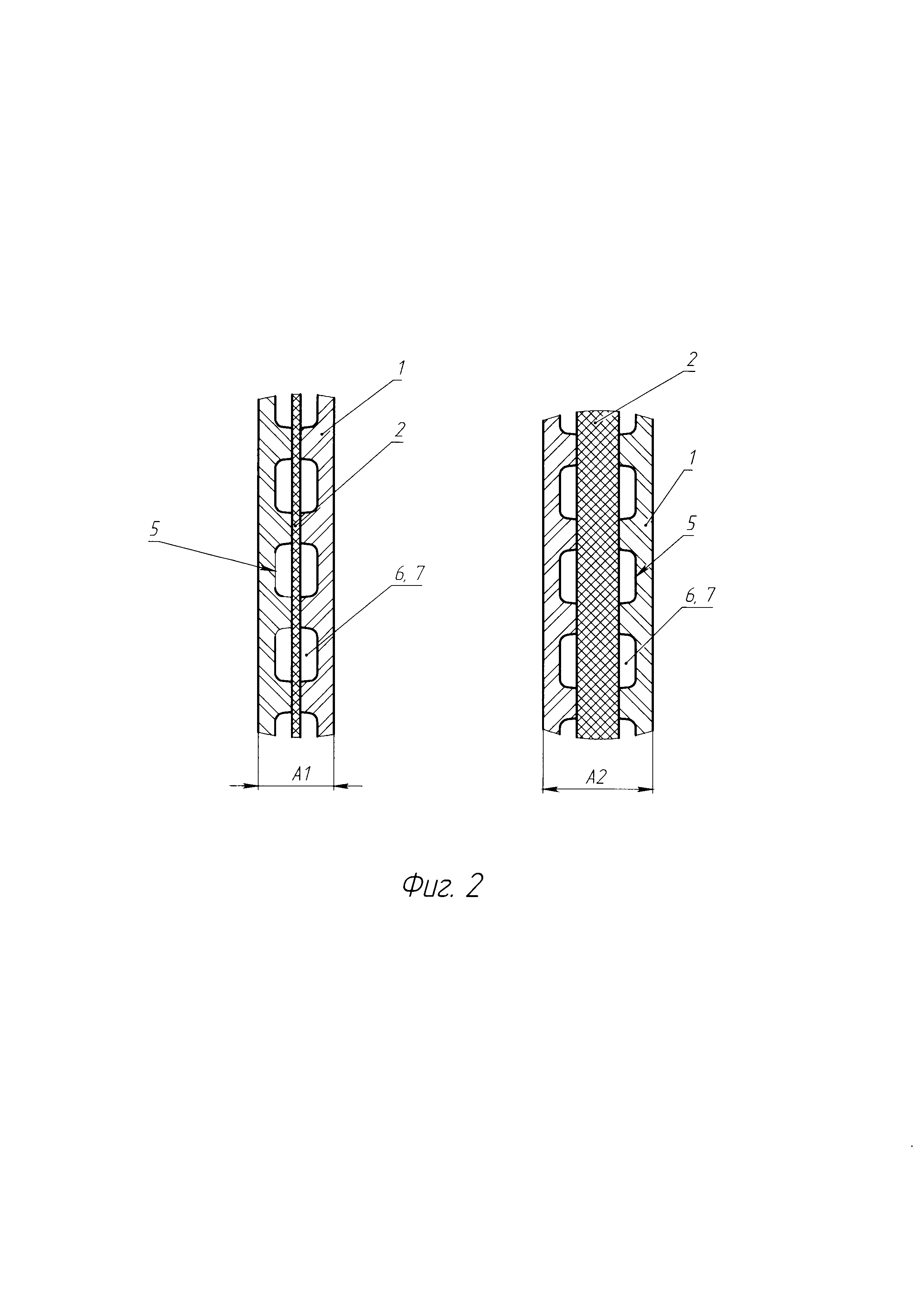
Боковые пластины 1 имеют углубления 5, показанные, например, на фиг. 2, которые при совмещении с центральной пластиной 2 образуют каналы 6 и 7. Часть каналов 6 имеет, по существу, радиальное направление от внешней грани 8 секторного элемента, в то время другая часть каналов 7 имеет, по существу, тангенциальное или концентрическое направление. Использование термина «по существу» в данном контексте указывает на общее направление каналов, т.е. некоторые, по существу, радиально направленные каналы могут иметь направление, незначительно отличающееся от точно радиального, а некоторые, по существу, тангенциально направленные каналы могут иметь направление, незначительно отличающееся от точно тангенциального или концентрического.

[32]

Радиальные каналы позволяют обеспечить течение жидкости от периферии секторного элемента к штуцерам отвода фильтрата, а при промывке пор - в обратном направлении с минимальным гидравлическим сопротивлением. Тангенциальные или концентрические каналы предназначены для выравнивания давления между радиальными каналами с целью предупреждения гидравлического удара.

[33]

Как видно на фиг. 2, используя центральные пластины из полимерного материала, можно изготавливать секторные элементы различного осевого и радиального размера без увеличения толщины боковых пластин. Так, например, секторный элемент с осевым размером А1 выполнен с использованием боковых пластин такой же толщины, как и у секторного элемента с осевым размером А2, который больше, чем А1.

[34]

Данное преимущество становится особенно важным при изготовлении секторных элементов заданных типоразмеров. В этом случае так же, как и в других условиях использования изобретения, выполнение секторного элемента согласно изобретению позволяет использовать более тонкие и легкие боковые пластины, тем самым повысить эффективность фильтрации и снизить энергетические затраты фильтровального процесса, а кроме того, снизить нагрузку на вал и продлить ресурс дискового фильтра.

[35]

Следует отметить, что упругие свойства полимерного материала значительно выше таковых, присущих керамике. Это означает, что под воздействием изгибающей нагрузки пластина из полимерного материала будет испытывать некоторую деформацию, тем самым ослабляя силу воздействия, а после снятия нагрузки примет исходную форму. Пластина из керамики не подвержена деформации, однако, при превышении силой воздействия некоторого предела разрушается. Таким образом, при выполнении секторного элемента согласно изобретению в случае возникновения воздействия достаточной силы боковая пластина может получить трещину и быть разрушена, однако ее фрагменты останутся закрепленными на центральной пластине, избежавшей повреждения.

[36]

Данное обстоятельство обеспечивает еще одно преимущество изобретения относительно прототипа: если в известном секторном элементе появляется трещина, она почти неизбежно ведет к его полному разрушению, а это, в свою очередь вызывает повреждение других секторных элементов и прочих частей дискового фильтра. В предложенном секторном элементе трещина в боковой пластине приводит лишь к снижению его производительности.

[37]

В предпочтительном случае изобретения центральная пластина, выполненная из полимерного материала, содержит сотовую структуру 10, заключенную между двумя диафрагмами 11, как показано на фиг. 3 и фиг. 1. Сотовая структура состоит из вертикальных (по отношению к наиболее протяженному размеру сотовой структуры) стенок 12, образующих соты, при этом диафрагмы обеспечивают герметичность каждой соты и всей сотовой структуры в целом. Сотовая структура центральной пластины располагается так, что ее вертикальные стенки направлены перпендикулярно плоскости контакта центральной пластины и любой из боковых пластин.

[38]

Следует отметить, что диафрагмы, также выполненные из полимерного материала, имеют некоторую податливость в направлении пустот в сотах. Данное свойство диафрагм позволяет существенно снизить силу возможного гидравлического удара при обратной промывке, что способствует увеличению ресурса секторного элемента. Применение центральной пластины с сотовой структурой значительно снижает вес центральной пластины и секторного элемента, в целом, без ущерба для его прочности.

[39]

В другом частном случае изобретения центральная пластина выполнена из пористого полимерного материала, что также позволяет снизить вес центральной пластины с сохранением ее прочностных характеристик.

[40]

Фиг. 4 иллюстрирует частный случай выполнения изобретения, в котором каналы образованы углублениями в центральной пластине. Данный случай позволяет выполнять боковые пластины плоскими, что может быть оправдано с технологической стороны изготовления керамических изделий. Кроме того, шероховатость поверхности полимерной пластины существенно ниже таковой у керамической пластины, а поскольку в данном частном случае каналы образованы в основном за счет полимерной пластины, то данное решение позволит несколько снизить гидравлическое сопротивление каналов.

[41]

На фиг. 5 показан еще один частный случай изобретения, в котором каналы образованы совмещением углублений 5, выполненных в боковой пластине, и углублений 13, выполненных в центральной пластине. Данный частный случай позволяет найти требуемый баланс между жесткостью боковых керамических пластин и эластичностью центральной полимерной пластины.

[42]

Следует отметить, что в предпочтительном случае изобретения центральная пластина выполнена из водонепроницаемого полимерного материала, даже если используется пористый полимерный материал. Данное свойство позволяет направить всю энергию всасывания или нагнетания на боковые пластины, повышая эффективность фильтрации или промывки. В то же время центральная пластина может иметь сквозные отверстия для выравнивания давления между обеими сторонами центральной пластины.

Как компенсировать расходы
на инновационную разработку
Похожие патенты