патент
№ RU 2477700
МПК B64F5/00

УНИВЕРСАЛЬНОЕ УСТРОЙСТВО ДЛЯ СБОРКИ ДЕТАЛЕЙ ТРУБОПРОВОДОВ

Авторы:
Калимуллин Рустем Габдуллович
Номер заявки
2011107970/06
Дата подачи заявки
01.03.2011
Опубликовано
20.03.2013
Страна
RU
Как управлять
интеллектуальной собственностью
Реферат

Изобретение относится к технологии машиностроения, в частности к устройствам для сборки сложных неразъемных конструкций трубопроводов гидравлики, кондиционирования, обогрева, а также систем: подачи топлива, антиобледенительной, противопожарной и др. Универсальное сборочное приспособление (УСП) для сборки и сварки деталей трубопроводов состоит из стола или балок, служащих основанием УСП, выполненных с сеткой взаимоперпендикулярных координатных Т-образных пазов с постоянным шагом, на которые устанавливаются через кронштейны основания, платформы, в которые вставляются валы, выполненные в форме труб с координатным шагом взаимоперпендикулярных отверстий вдоль всей длины, на которые крепятся через кронштейны фитинги, втулки, фиксаторы, ложементы, упоры, устанавливаемые между собой через плитки (пластины) с отверстиями, выполненными по заданным размерам, позволяющими устанавливать фиксаторы УСП на любые требуемые размеры по осям х, y, z и любые требуемые углы в пространстве от 0° до 180°. Предлагаемое техническое решение дает возможность не проектировать, не изготавливать и дорабатывать большое количество специализированных, индивидуальных приспособлений для предварительной и окончательной сборки деталей трубопроводов. 48 ил.

Формула изобретения

Универсальное сборочное приспособление для предварительной и окончательной сборки деталей трубопроводов, состоящее из стола или балок, на которые крепятся кронштейны с основаниями, платформы с корпусами, в которые вставляются валы с закрепленными на них фиксаторами в виде дисков, втулок, кронштейнов, через которые можно присоединить ложементы разных типов и назначений, упоры для установки труб или патрубков на необходимые дистанции и углы, отличающееся тем, что столы, балки выполнены с сеткой взаимоперпендикулярных координатных Т-образных пазов; кронштейны с основаниями, платформы имеют возможность перемещения в продольном и поперечном направлениях основания на дистанцию от 0 до ±0,5 шага пазов стола (балок); валы выполнены в форме труб с координатным шагом взаимоперпендикулярных отверстий вдоль всей длины валов и с набором специальных пластин с отверстиями, выполненными по заданным размерам, устанавливающихся между кронштейнами, основаниями, платформами, корпусами, валами, фитингами, втулками для смещения их относительно друг друга на любой кратный линейный размер от 0 до величины ±0,5 координатного шага относительно любой из трех осей координат и поворота на угол от 0° до 180° относительно друг друга вокруг любой из трех осей координат.

Описание

[1]

Изобретение относится к технологии машиностроения (а также самолето-, вертолето-, судо-, ракетостроения), в частности к способам получения сложных неразъемных конструкций деталей трубопроводов, систем: гидравлики, кондиционирования, обогрева, подачи топлива, антиобледенительной, противопожарной и др., и устройствам для их сборки и изготовления.

[2]

Известен способ монтажа элементов стапельной оснастки, расположенных координатными осями в плоскостях, не параллельных системе координат инструментального стенда, содержащий каркас, в который вмонтированы дополнительные измерительные базы, а также группы фиксирующих элементов, закрепляемые с помощью переходных фитингов. (А.с. №1561434, кл. 6 B64F 5/00, 1987 г.)

[3]

Недостатком данного способа является то, что все фиксирующие элементы оснастки преимущественно рамной конструкции монтируются (заливаются быстротвердеющей массой) на инструментальном стенде, и при необходимости изменения элементов оснастки или перемонтажа каркас оснастки необходимо вновь устанавливать на инструментальный стенд.

[4]

Другим недостатком является то, что рамная конструкция оснастки не позволяет смонтировать сразу несколько элементов оснастки в одном или близко расположенных сечениях.

[5]

Известно универсальное сборочное приспособление, состоящее из колонн, установленных на пол, горизонтальных балок, закрепленных на колоннах посредством координатно-базовых отверстий, узлов крепления ложементов, рубильников с пластинами, фиксаторов, выполненных в виде поворотных фитингов, вкладышей и вилок, имеющих пластины с расточенными отверстиями для фиксации угла поворота и необходимой дистанции. (Патент на ПМ №69019, кл. B64F 5/00, 2007 г.)

[6]

Недостатком данного приспособления является то, что вертикальные колонны и горизонтальные балки предназначены для сборки объемных конструкций (узлов, агрегатов) и не подходят для сборки деталей трубопроводов, мелких узлов.

[7]

Целью изобретения является создание устройства, позволяющего собирать детали трубопроводов сложных систем, для чего предусмотрена установка фиксаторов, упоров, ложементов (как универсальных, так и индивидуальных) по узлам сборочного устройства на любые необходимые дистанции, любые требуемые углы в пространстве по отношению к базовым дистанциям.

[8]

Поставленная цель достигается тем, что в универсальном сборочном приспособлении (УСП) для предварительной и окончательной сборки деталей трубопроводов, состоящем из стола или балок, на которые крепятся кронштейны с основаниями, платформы с корпусами, в которые вставляются валы с закрепленными на них фиксаторами в виде дисков, втулок, кронштейнов, через которые можно присоединить ложементы разных типов и назначений, упоры для установки труб или патрубков на необходимые дистанции и углы, отличающемся тем, что столы, балки выполнены с сеткой взаимоперпендикулярных координатных Т-образных пазов; кронштейны с основаниями, платформы имеют возможность перемещения в продольном и поперечном направлениях основания на дистанцию от 0 до ±0,5 шага пазов стола (балок); валы выполнены в форме труб с координатным шагом взаимоперпендикулярных отверстий вдоль всей длины валов и с набором специальных пластин с отверстиями, выполненными по заданным размерам, устанавливающихся между кронштейнами, основаниями, платформами, корпусами, валами, фитингами, втулками для смещения их друг относительно друга на любой кратный линейный размер от 0 до величины ±0,5 координатного шага относительно любой из трех осей координат и поворота на угол от 0° до 180° относительно друг друга вокруг любой из трех осей координат.

[9]

В универсальном сборочном приспособлении (УСП) для сборки и сварки труб, патрубков заранее заданной сложной конфигурации в качестве основы УСП используются столы или балки, выполненные соответственно с сеткой взаимоперпендикулярных координатных Т-образных пазов с постоянным шагом, на которые устанавливаются кронштейны с основаниями, платформы, имеющие возможность перемещения в продольном и поперечном направлениях основания приспособления на ±0,5 шага пазов стола (балок). В основания с платформами вставляются валы, выполненные в форме труб с координатным шагом взаимоперпендикулярных отверстий вдоль всей длины валов для установки на них фиксаторов в виде дисков, втулок, кронштейнов, через которые можно присоединить ложементы разных типов и назначений, держатели, упоры для установки элементов и деталей труб (патрубков) на необходимые дистанции и углы, причем установка фиксаторов на детали УСП производится с помощью специальных пластин (индивидуальных плиток) с отверстиями, выполненных по заданным размерам, позволяющими устанавливать фиксаторы на любые требуемые размеры по осям х, y, z, отличные от кратных, и любые требуемые углы в пространстве (α, β, γ).

[10]

Это позволяет производить сборку конструкций систем трубопроводов, имеющих сложную конфигурацию в пространстве, без индивидуальных, специализированных приспособлений.

[11]

Отличительной особенностью устройства является наличие взаимоперпендикулярных Т-образных пазов основания, взаимоперпендикулярных отверстий с координатным шагом на валах, выполненных в форме труб, и набора индивидуальных пластин (плиток) с отверстиями, выполненными по заданным размерам, которые устанавливаются между кронштейнами, основаниями, платформами, корпусами, валами, фитингами, втулками для смещения их друг относительно друга на линейный размер от 0 до величины ±0,5 координатного шага относительно любой из трех осей координат и поворота на угол от 0° до 180° относительно друг друга.

[12]

Описание деталей:

[13]

1 - стол (плита) с координатной сеткой Т-образных пазов;

[14]

2 - балка с координатной сеткой Т-образных пазов;

[15]

3 - рамка для установки на стол с возможностью продольного перемещения на кратный размер от 0 до ±0,5 шага пазов стола;

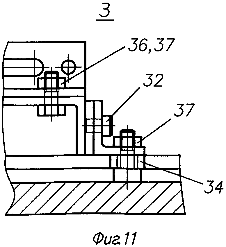
[16]

4 - платформа с возможностью перемещения в поперечном направлении основания от 0 до ±0,5 шага пазов стола и с круговым диском;

[17]

5 - корпус для установки на платформу 4;

[18]

6 - вал в виде трубы с рядом взаимоперпендикулярных отверстий с постоянным шагом (вставляется в корпус 1);

[19]

7 - втулка с диском и отверстием для вала 6;

[20]

8 - корпус с диском и пазовым отверстием (надевается на вал 6);

[21]

9 - диск поперечный со штырем (вставляется в конец вала 6);

[22]

10 - диск продольный со штырем (вставляется в конец вала 6);

[23]

11 - кронштейн с боковым диском и с отверстием для надевания на вал 6 и корпус 8;

[24]

12 - кронштейн для соединения валов (6) змейкой через диск 10 и плитку 39 (вставляется в конец вала 6);

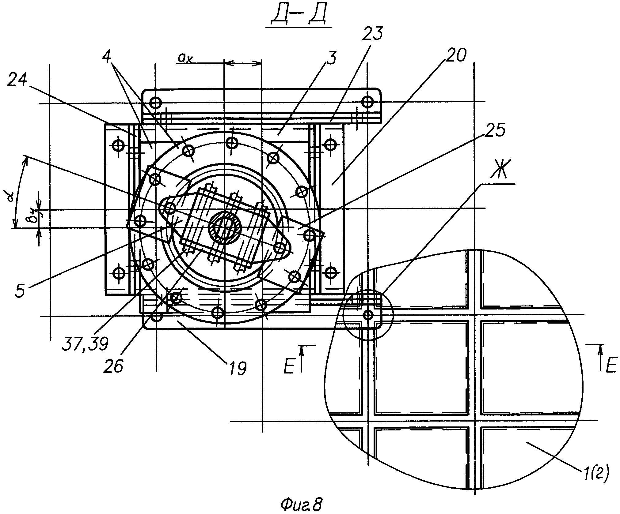
[25]

13 - кронштейн-диск для соединения вала (6) с диском (10) и, например, с кронштейном 14 через плитку 29;

[26]

14 - кронштейн-втулка для соединения с дисками 9, 13;

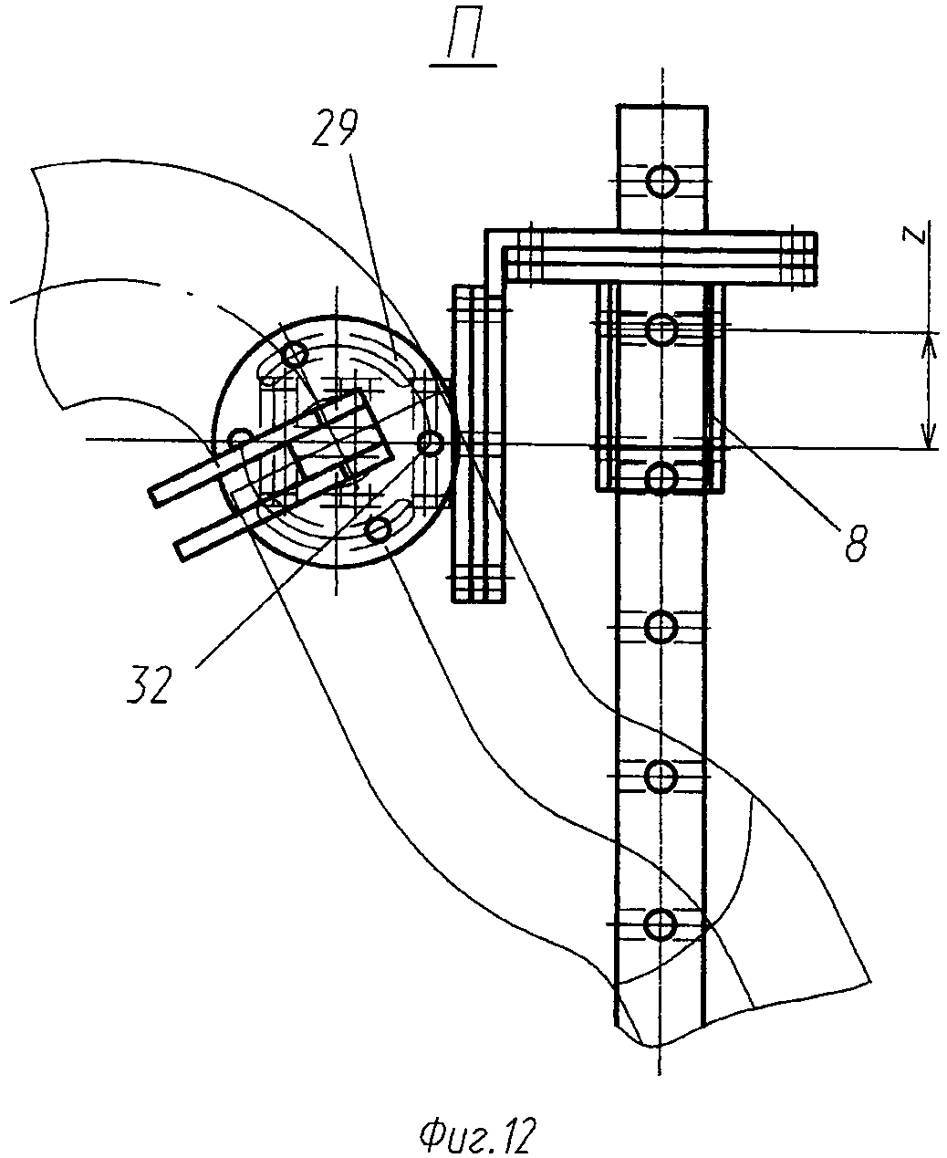
[27]

15 - ложементы с присоединяемым съемным штырем 15а;

[28]

15б - половина ложемента (на половину круга);

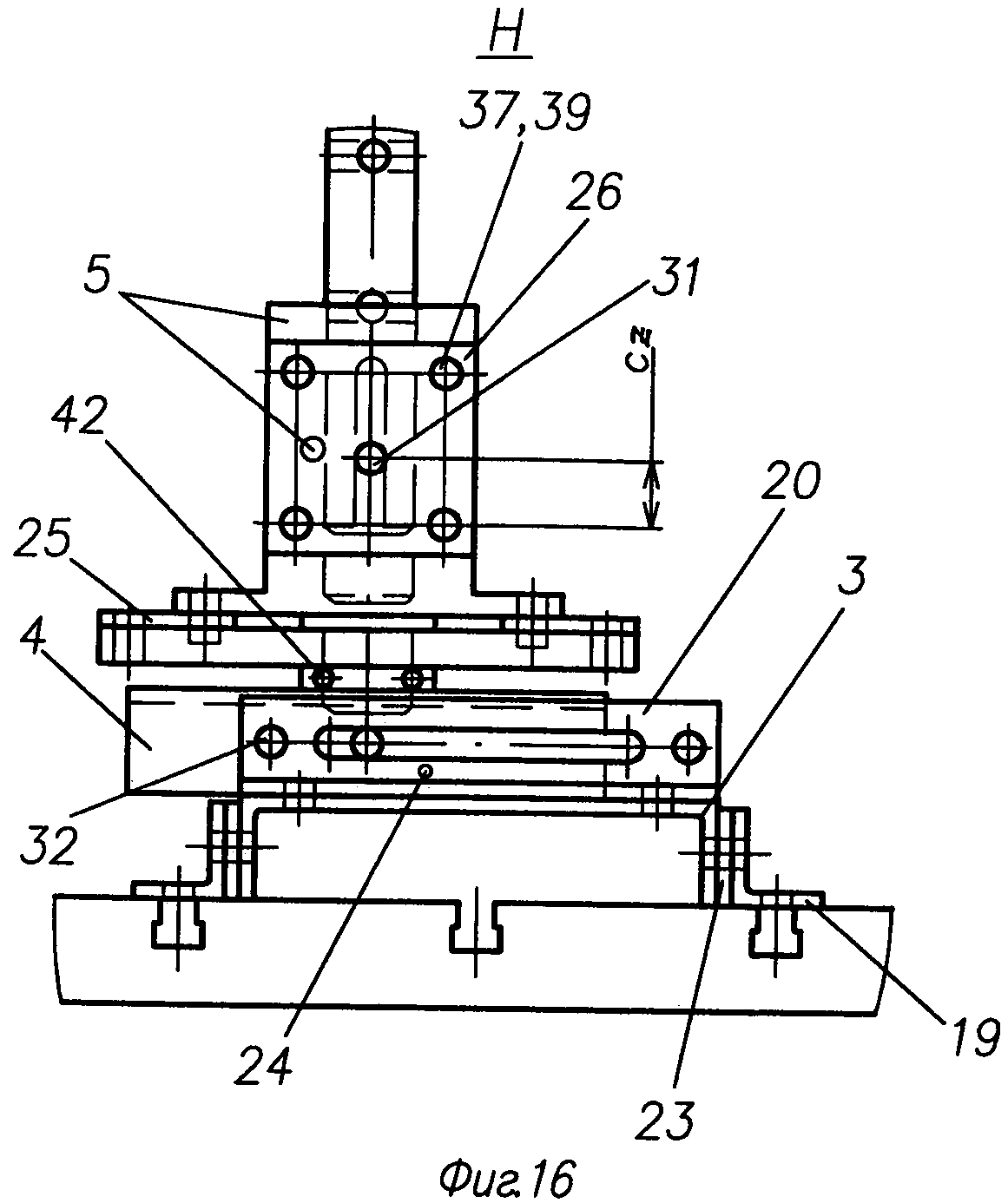
[29]

15в - ложементы на половину круга (для соединения двух труб - двойные);

[30]

15г - ложементы на весь круг;

[31]

15д - ложементы на весь круг (двойные);

[32]

15е - специальные ложементы (на вал, трубу различного сечения);

[33]

16 - фиксатор-заглушка конца трубы (стандартные или специальные);

[34]

17 - фиксатор-заглушка с торцевым фланцем (стандартные или специальные);

[35]

18 - стандартные или специальные упоры, фиксаторы;

[36]

19 - угольники с прорезью на величину шага пазов стола (плиты) для соединения дет.3 с дет.1 (2);

[37]

20 - угольники с прорезью на величину шага Т-образных пазов стола (плиты) для соединения дет.3 с дет.4;

[38]

21 - корпус для установки на втулку 7 (диск 9, 10) через плитку 29;

[39]

22 - корпус с пазом для установки на кронштейн 11 через плитку 28;

[40]

23 - плитка (к дет.3, 19);

[41]

24 - плитка (к дет.4, 20);

[42]

25 - плитка (к дет.4, 5);

[43]

26 - плитка(к дет.5, 6);

[44]

27 - плитка (к дет.7, 21);

[45]

28 - плитка (к дет.11, 22);

[46]

29 - плитка (соединяющая между собой дет.9, 10, 12, 13, 14);

[47]

30 - плитка (соединяющая дет.8, 11);

[48]

31 - штырь (соединяющий дет.5, 6);

[49]

32 - палец (соединяющий дет.29 с дет.9, 10, 11, 12, 13, 14);

[50]

33 - штырь (фиг.7);

[51]

34 - втулка-призма (вставляется в Т-образный паз стола, фиг.11);

[52]

35 - болт (вставляется в Т-образный паз стола, фиг.35);

[53]

36 - болт;

[54]

37 - гайка (фиг.10);

[55]

38 - болт (с гайкой 37 соединяет пакет диск-плитка-втулка, фиг.5, 19);

[56]

39 - болт (с гайкой 37 соединяет пакет-корпус-две плитки);

[57]

40 - болт (соединяет дет.17 с фланцем трубы, фиг.6, 18, 19);

[58]

41 - гайка;

[59]

42 - штифт (соединяет дет.4 и 5, дет.5 вращается в пазу диска дет.4, фиг.16);

[60]

43 - плита (соединяет дет.6 с дет.22).

[61]

Сущность изобретения поясняется графическими материалами, на которых:

[62]

на фиг.1 изображен общий вид универсального сборочного приспособления на примере сборки трубопровода;

[63]

на фиг.2 - вид в плане;

[64]

на фиг.3 - разрез Б-Б общего вида;

[65]

на фиг.4 - разрез Г-Г общего вида;

[66]

на фиг.5 - разрез К-К к фиг.6;

[67]

на фиг.6 - элемент Л общего вида;

[68]

на фиг.7 - разрез И-И к узлу Л;

[69]

на фиг.8 - разрез Д-Д к фиг.1;

[70]

на фиг.9 - элемент Ж к фиг.7;

[71]

на фиг.10 - разрез Е-Е к фиг.8;

[72]

на фиг.11 - элемент З к фиг.13;

[73]

на фиг.12 - элемент П к фиг.1;

[74]

на фиг.13 - вид В к фиг.1;

[75]

на фиг.14 - разрез У-У к фиг.13;

[76]

на фиг.15 - элемент М к фиг.4;

[77]

на фиг.16 - элемент Н к фиг.3;

[78]

на фиг.17 - элемент С к фиг.2;

[79]

на фиг.18 - элемент О к фиг.4;

[80]

на фиг.19 - элемент Т к фиг.2;

[81]

на фиг.20 - балка с координатной сеткой Т-образных пазов (дет.2);

[82]

на фиг.21 - рамка (дет.3);

[83]

на фиг.22 - платформа (дет.4);

[84]

на фиг.23 - корпус (дет.5);

[85]

на фиг.24 - вал (дет.6);

[86]

на фиг.25 - втулка (дет.7);

[87]

на фиг.26 - корпус (дет.8);

[88]

на фиг.27 - диск поперечный со штырем (дет.9);

[89]

на фиг.28 - диск продольный со штырем (дет.10);

[90]

на фиг.29 - кронштейн (дет.12);

[91]

на фиг.30 - кронштейн с боковым диском (дет.11);

[92]

на фиг.31 - кронштейн-диск (дет.13);

[93]

на фиг.32 - кронштейн-втулка (дет.14);

[94]

на фиг.33а - ложементы (дет.15) с присоединяемым съемным штырем (дет.15а);

[95]

на фиг.33б - половина ложемента (дет.15б);

[96]

на фиг.33в - ложементы на половину круга (дет.15в);

[97]

на фиг.33г - ложементы на весь круг (дет.15 г);

[98]

на фиг.33д - ложементы на весь круг двойные (дет.15д);

[99]

на фиг.33е - специальные ложементы (дет.15е);

[100]

на фиг.34 - фиксатор-заглушка конца трубы (дет.16);

[101]

на фиг.35 - фиксатор-заглушка с торцевым фланцем (дет.17);

[102]

на фиг.36 - стандартные или специальные упоры, фиксаторы (дет.18);

[103]

на фиг.37 - угольники (дет.19);

[104]

на фиг.38 - угольники (дет.20);

[105]

на фиг.39 - корпус (дет.21);

[106]

на фиг.40 - корпус (дет.22);

[107]

на фиг.41 - плитка (дет.23);

[108]

на фиг.42 - плитка (дет.24);

[109]

на фиг.43 - плитка (дет 25);

[110]

на фиг.44 - плитка (дет 26);

[111]

на фиг.45 - плитка (дет.27);

[112]

на фиг.46 - плитка (дет.28);

[113]

на фиг.47 - плитка (дет.29);

[114]

на фиг.48 - плитка (дет.30).

[115]

Универсальное сборочное приспособление для предварительной и окончательной сборки труб (патрубков) состоит из стола (1), служащего основанием (или балок (2) - основных, боковых, вертикальных, которые собираются параллельно или перпендикулярно друг другу), имеющего координатную сетку взаимоперпендикулярных Т-образных пазов с постоянным шагом (например, 50 или 100 мм), которая позволяет устанавливать рамки (3), платформы (4) с валами (6), кронштейнами и другими деталями на плоскости стола на требуемые дистанции по осям х, y (ах, by). Угольники (19) устанавливаются на стол (1) или балку (2) с точностью шага координатной сетки, а рамки (3) устанавливаются на необходимые дистанции через угольники (19) и плитки (23) с размерами от 0 до ±0,5 шага пазов стола.

[116]

Платформа (4), имеющая возможность перемещения в поперечном направлении относительно рамки (3) от 0 до ±0,5 шага пазов стола через угольник (20) и плитку (24), содержит неподвижный круговой диск (10), имеющий отверстия через 30°, круговую канавку для фиксации корпуса (5) штырем (31) через плитку (25) и цилиндрическое углубление посередине для вставки в него цилиндрического хвостовика поворотного корпуса (5).

[117]

Корпус (5) имеет два отверстия для крепления его в заданном угловом положении через плитку (26) с платформой (4) и цилиндрическое углубление для вала (6) с вертикальной прорезью, дающей возможность перемещения на дистанцию от 0 до ±0,5 шага и с отверстиями для крепления плиток (25, 26).

[118]

Валы (6), обеспечивающие по вертикали (по оси z) необходимый размер - cz с точностью шага (например, 50 мм), вставляются на платформу (4) через корпус (5) с возможностью смещения по оси z дистанции от 0 до ±0,5 шага отверстий вала и имеют взаимоперпендикулярные отверстия с заданным кратным шагом. Требуемые размеры по осям х, y, z - ах, by, cz, отличные от кратных, получаются путем установки специальных плиток (пластин) с выполненными по заданным размерам отверстиями для фиксации угла и необходимой дистанции соединяемого элемента.

[119]

При выборе положения трубопровода на столе за основу (дистанция 0.0.0) берется фиксатор, параллельный плоскости стола и осям Т-образных пазов, причем часть трубы (фиксаторов) также параллельны базам приспособления (плоскости стола и осям пазов), тогда дистанции расположения фиксаторов в этой зоне будут кратными; координаты х, y, z - для первого, базового фиксатора будут совпадать с осями пазов, другие будут иметь две координаты (y, z или х, z), совпадающие с осями пазов, и все углы будут равны 0° (фиг.1, 2, 12).

[120]

Плитки (пластины) вставляются между угольником или кронштейном (19, 20, 5, 8, 22), установленным с кратным шагом дистанции, и деталью УСП, которая устанавливается на необходимый размер при помощи штыря, либо кронштейн (19, 20, 7, 9, 10, 11, 13) имеет шпильки, на которые надевается плитка (пластина), а уже через отверстия в плитке (одно или два) болтами с гайками собирается пакет: кронштейн-плитка-деталь УСП. Таким образом, через систему: детали УСП - плитки - детали УСП можно настроить фиксатор приспособления на любой требуемый размер.

[121]

Учитывая, что любой фиксатор в пространстве имеет 6 степеней свободы (3 линейные и 3 угловые), возможность поворота фиксатора на три угла в трех взаимоперпендикулярных плоскостях обеспечивают специальные угловые элементы (диски, взаимоперпендикулярные диски и др.) и плитки с отверстиями, фиксирующими необходимый угол поворота в нужной плоскости.

[122]

Детали УСП имеют по два отверстия для пакета: деталь УСП-плитка-поворотная деталь УСП. Все это позволяет установить фиксаторы приспособления на необходимые дистанции и углы. Детали УСП максимально унифицированы и стандартизированы. Валы УСП представляют собой трубы, различные по длине, имеющие ряд взаимоперпендикулярных кратных отверстий, позволяющих присоединить их за конечные отверстия на ложемент (15) по основанию плоскости стола, фиксировать через отверстия по длине трубы втулки (одну или несколько), а также присоединять за конечные отверстия диски (перпендикулярно или параллельно оси вала), втулки, кронштейны и др., что значительно расширяет возможность УСП.

[123]

На диски на конце валов или на конец вала через втулки присоединяются необходимые ложементы, фиксаторы, упоры, в зависимости от сложности и особенности конструкции собираемого трубопровода. Фиксаторы могут быть специальными и иметь законцовку, дающую возможность присоединить их к стандартным втулкам (присоединяемым съемным штырям - дет.15а).

[124]

При необходимости через втулки на валы устанавливаются другие валы, имеющие возможность поворота относительно основного (вертикального) вала, а также поворота относительно друг друга как в одной, так и в двух взаимоперпендикулярных плоскостях.

[125]

Возможность перемещения фиксаторов на горизонтальных и наклонных валах по кратным расстояниям отверстий позволяет при монтаже УСП перемещать платформы на столе друг относительно друга, устанавливать их на столе (1) с разных сторон оси трубопровода.

[126]

При необходимости платформы располагаются с разных сторон оси трубопровода (например, узлы УСП: платформы и вертикальные валы с ложементами).

[127]

Так как детали УСП, установленные с вертикальным валом относительно стола (плиты), позволяют установить один фиксатор в требуемое положение (по координатам х, y, z - ах, by, cz и углам α, β, γ), то для установки на вертикальный вал других, соседних с уже установленным фиксатором (упором, ложементом) фиксаторов, для уменьшения количества платформ с вертикальным валом (3, 4, 5, 6), используются детали, позволяющие относительно основного (первого) фиксатора переместить втулку (8, 11, 22 с плитками 28, 30) дополнительного фиксатора (наклонного вала) по вертикали на необходимый размер по оси z (cz) - кратный шаг от 0 до ±0,5 шага, повернуть его относительно оси вертикального вала в плоскости ХУ на необходимый угол и сместить вдоль оси наклонного (горизонтального) ломаного вала на необходимый размер, повернув на необходимый угол в плоскости, проходящей через ось наклонного вала и перпендикулярной плоскости стола (базовой плоскости), и также на угол в плоскости, перпендикулярной оси наклонного вала (фиг.1, фиг.2, фиг.4, фиг.17, фиг.18, фиг.19).

[128]

Внедрение данного сборочного приспособления позволит отказаться от изготовления эталонов (макетов) труб, патрубков, а также от проектирования и изготовления множества специализированных, индивидуальных приспособлений для сборки трубопроводов.

Как компенсировать расходы
на инновационную разработку
Похожие патенты