Изобретение относится к области нефтегазодобывающей промышленности и может быть применено для гидравлического разрыва пласта (ГРП) в добывающей скважине при наличии попутной и/или подошвенной воды. Способ включает выполнение перфорации в интервале пласта скважины, ориентированной в направлении главного максимального напряжения, спуск колонны насосно-компрессорных труб (НКТ) с пакером в скважину, посадку пакера, проведение ГРП закачиванием гидроразрывной жидкости по колонне НКТ с пакером через интервал перфорации в продуктивный пласт с образованием и последующим креплением трещины в пласте циклической чередующейся закачкой по колонне НКТ жидкости-носителя с проппантом, стравливание давления из скважины, разгерметизацию пакера и извлечение колонны НКТ с пакером из скважины. Для выполнения перфорации в скважину до интервала подошвы пласта спускают гидромеханический перфоратор на колонне НКТ, выполняют пары перфорационных отверстий по периметру скважины от подошвы к кровле пласта со смещением на угол 30° при выполнении каждой пары перфорационных отверстий. После выполнения перфорации колонну НКТ с перфоратором извлекают из скважины, в качестве гидроразрывной жидкости применяют гелированную нефть, определяют общий объем гелированной нефти, производят закачку гелированной нефти по колонне НКТ в интервал пласта с образованием трещины разрыва. Объем гелированной нефти после образования трещины используют в качестве жидкости-носителя в процессе крепления трещины. При этом перед креплением трещины объем оставшейся гелированной нефти делят на две равные части и обе равные части гелированной нефти закачивают в пять циклов чередующимися равными порциями сверхлегкого проппанта фракции 40/80 меш, покрытого водонабухающей резинополимерной композицией концентрацией 600 кг/м, с наполнителем стекловолокном в количестве от 1 до 1,8% от веса проппанта, со ступенчатым увеличением на 0,2% в каждой порции, и равными порциями проппанта с размером фракции 20/40 меш со ступенчатым увеличением концентрации в каждой порции на 200 кг/м, начиная от 200 до 800 кг/м. Причем пятой порцией закачивают RSP-проппант фракции 12/18 меш концентрацией 1000 кг/м. Технический результат заключается в повышении эффективности изоляции трещины от попутной и подошвенной воды; повышении проводимости трещины и надежности реализации способа; повышении качества крепления призабойной зоны пласта; снижении дополнительных затрат. 5 ил., 1 табл.
Способ гидравлического разрыва пласта (ГРП), включающий выполнение перфорации в интервале пласта скважины, ориентированной в направлении главного максимального напряжения, спуск колонны насосно-компрессорных труб (НКТ) с пакером в скважину, посадку пакера, проведение ГРП закачиванием гидроразрывной жидкости по колонне НКТ с пакером через интервал перфорации в продуктивный пласт с образованием и последующим креплением трещины в пласте циклической чередующейся закачкой по колонне НКТ жидкости-носителя с проппантом, стравливание давления из скважины, разгерметизацию пакера и извлечение колонны НКТ с пакером из скважины, отличающийся тем, что для выполнения перфорации в скважину до интервала подошвы пласта спускают гидромеханический перфоратор на колонне НКТ, выполняют пары перфорационных отверстий по периметру скважины от подошвы к кровле пласта со смещением на угол 30° при выполнении каждой пары перфорационных отверстий, после выполнения перфорации колонну НКТ с перфоратором извлекают из скважины, в качестве гидроразрывной жидкости применяют гелированную нефть, определяют общий объем гелированной нефти, производят закачку гелированной нефти по колонне НКТ в интервал пласта с образованием трещины разрыва, объем гелированной нефти после образования трещины используют в качестве жидкости-носителя в процессе крепления трещины, при этом перед креплением трещины объем оставшейся гелированной нефти делят на две равные части и обе равные части гелированной нефти закачивают в пять циклов чередующимися равными порциями сверхлегкого проппанта фракции 40/80 меш, покрытого водонабухающей резинополимерной композицией концентрацией 600 кг/м3 с наполнителем стекловолокном в количестве от 1 до 1,8% от веса проппанта, со ступенчатым увеличением на 0,2% в каждой порции, и равными порциями проппанта с размером фракции 20/40 меш со ступенчатым увеличением концентрации в каждой порции на 200 кг/м3, начиная от 200 до 800 кг/м3, причем пятой порцией закачивают RSP-проппант фракции 12/18 меш концентрацией 1000 кг/м3.
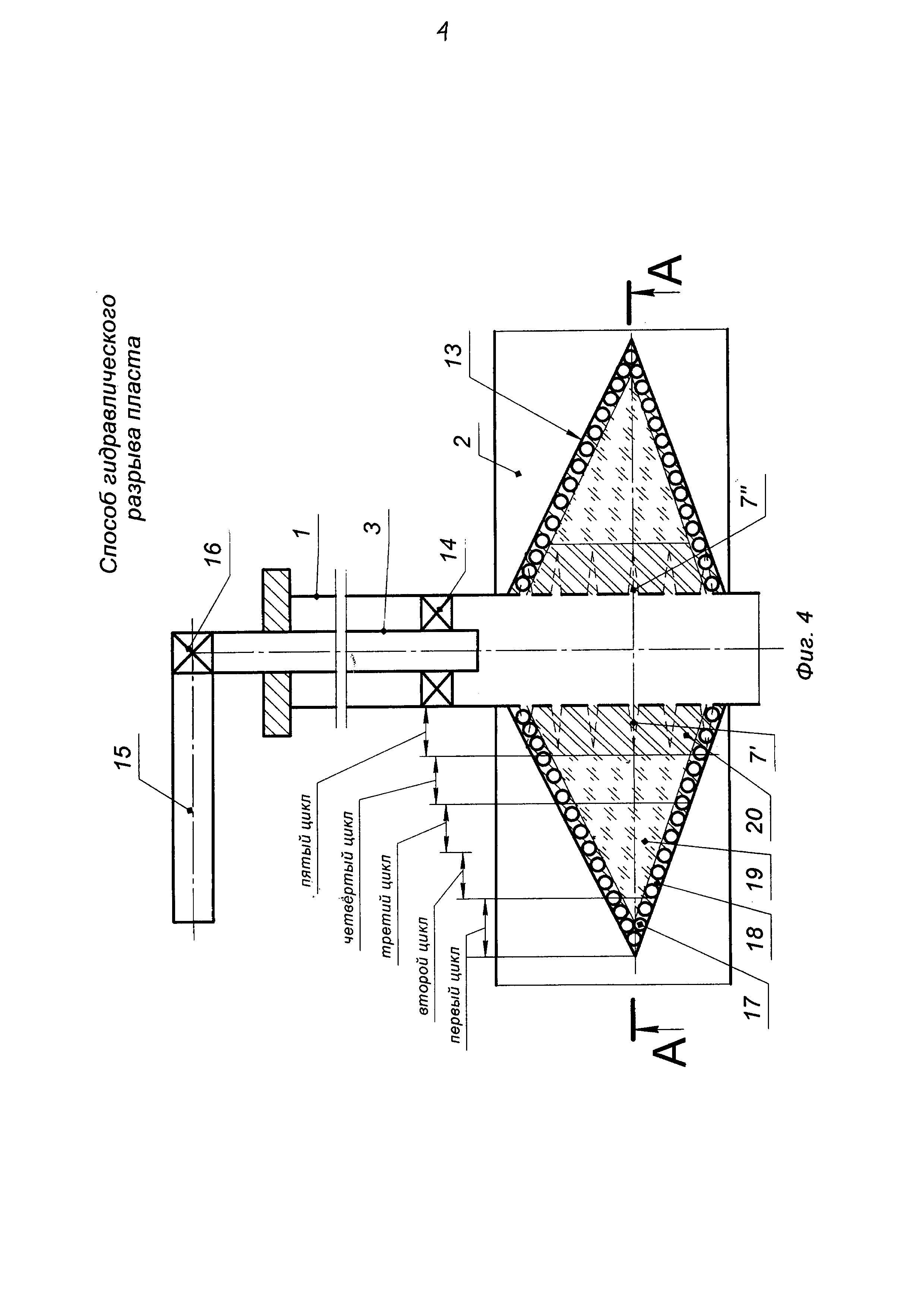
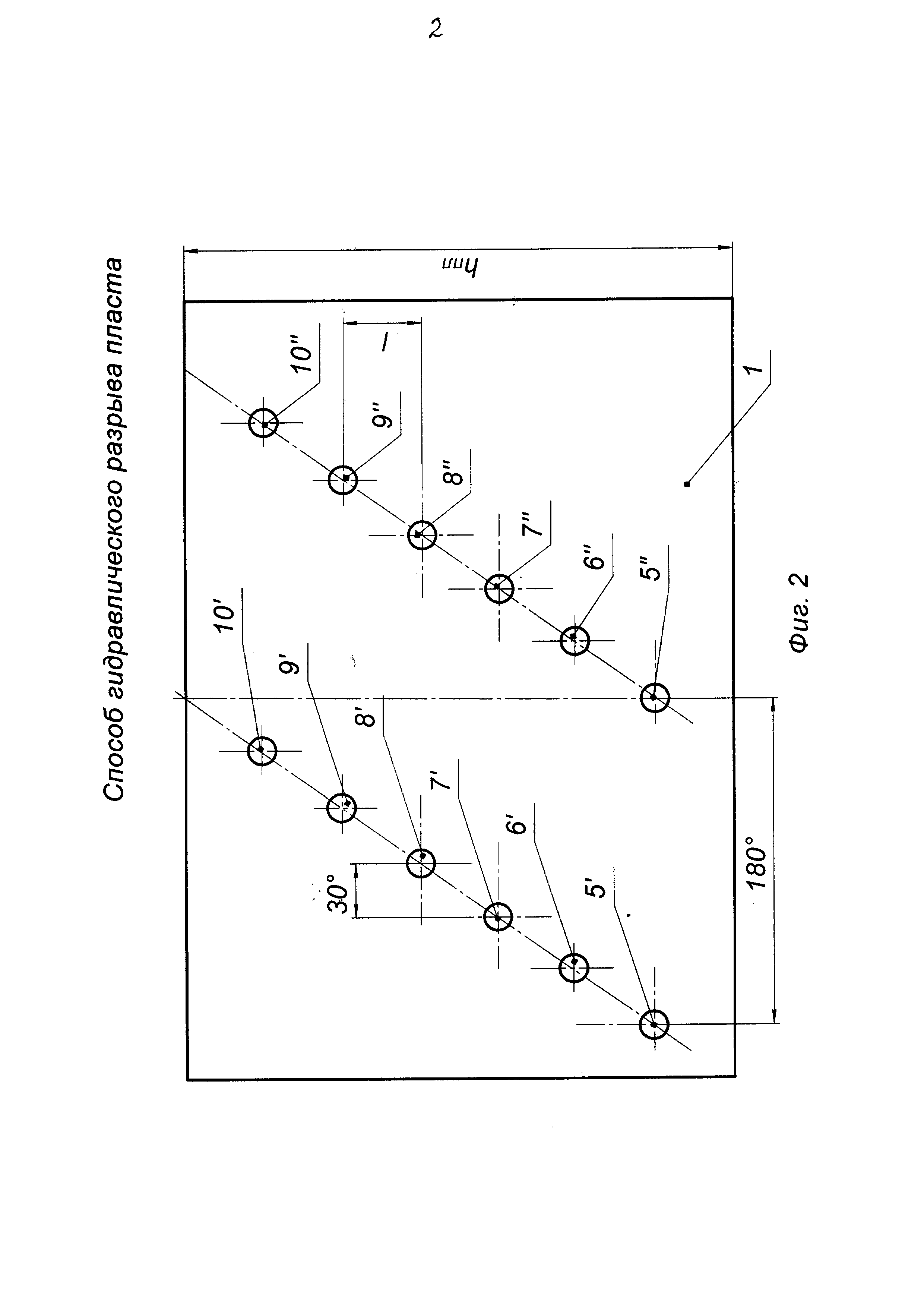
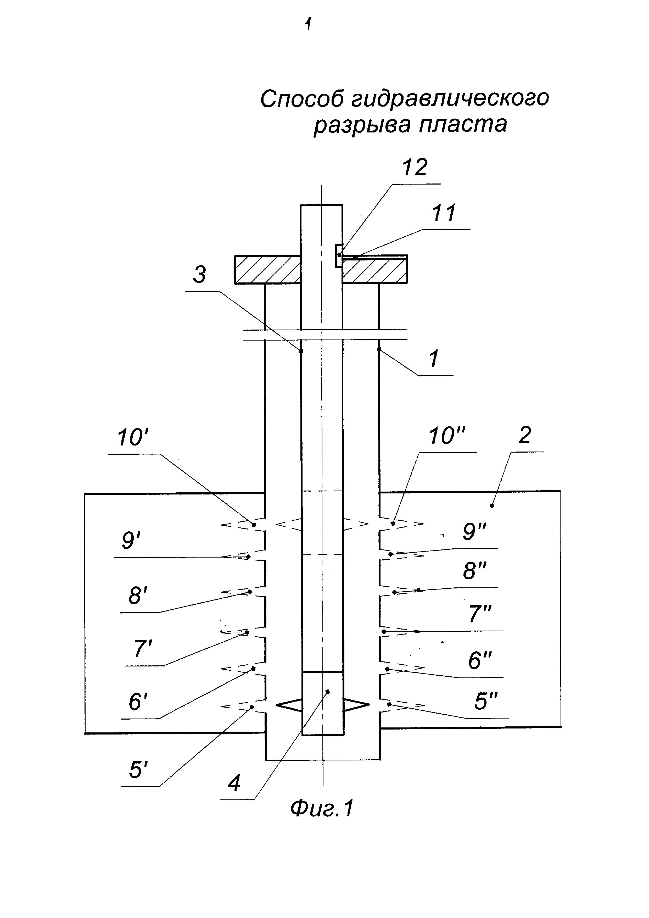
Изобретение относится к области нефтегазодобывающей промышленности, в частности используется для гидравлического разрыва пласта (ГРП) в добывающей скважине при наличии попутной и/или подошвенной воды. Известен способ гидроразрыва малопроницаемого пласта (Патент RU №2402679, МПК E21B 43/26, опубл. 27.10.2010 г., бюл. №30), включающий спуск колонны труб в скважину в интервал продуктивного пласта, закачку гелированной жидкости по колонне труб в интервал продуктивного пласта с образованием трещины. В процессе закачки обеспечивают турбулентный режим течения жидкости в трещине посредством закачивания гелированной жидкости с вязкостью менее 0,01 Па⋅c со скоростью закачки не менее 8 м3/мин, производят крепление трещины разрыва закачкой гелированной жидкости с проппантом, покрытым резиновой оболочкой, причем радиус проппанта, покрытого резиновой оболочкой, определяют расчетным путем. Недостатками данного способа являются: - во-первых, низкая эффективность реализации способа, так как в процессе образования трещины она может развиться не в направлении главного максимального напряжения, а в направлении водоносного горизонта, особенно в скважинах с подошвенной водой, что может привести к прорыву трещины в водоносный горизонт и, как следствие, резкому обводнению продукции; - во-вторых, низкая надежность проведения ГРП, связанная с преждевременным выпадением проппанта из гелированной жидкости (жидкости-носителя) в процессе крепления трещины. Это связано с тем, что проппант, покрытый резиновой оболочкой, невозможно продавить через перфорационные отверстия пласта диаметром 3-6 мм в трещину для ее закрепления, что приведет к резкому скачку давления в колонне труб, аварийной остановке процесса и недостижению проектных параметров трещины; - в-третьих, низкое качество изоляции скважины от перетока по трещине попутной и/или подошвенной воды проппантом, покрытым резиновой оболочкой, не имеющей возможности набухания, что вызовет резкое обводнение скважины; - в-четвертых, нахождение нижнего конца колонны труб в интервале пласта чревато прихватом колонны труб при резком повышении давления, например во время крепления трещины, и, как следствие, проведением аварийных работ; - в-пятых, низкая проводимость трещины разрыва, так как в процессе разрыва пласта гель образует осадок в трещине, что способствует неполному закреплению трещины проппантом одной фракции. Наиболее близким по технической сущности является способ гидравлического разрыва продуктивного пласта с глинистым прослоем и подошвенной водой (Патент RU №2566542, МПК E21B 43/26, опубл. 27.10.2015 г., бюл. №30), включающий спуск колонны насосно-компрессорных труб, НКТ, с пакером в скважину, посадку пакера, проведение ГРП закачиванием гидроразрывной жидкости по колонне НКТ с пакером через интервал перфорации в продуктивный пласт с образованием и последующим креплением трещины проппантом, стравливание давления из скважины. При этом до спуска в скважину колонны НКТ с пакером геофизическими методами определяют ориентацию главного максимального напряжения в продуктивном пласте, затем в верхней половине продуктивного пласта осуществляют кумулятивную перфорацию, ориентированную в направлении главного максимального напряжения, затем отсекают нижнюю половину продуктивного пласта скважины, спускают колонну НКТ с пакером в скважину так, чтобы нижний конец колонны НКТ находился на уровне кровли продуктивного пласта, производят посадку пакера, осуществляют ГРП закачкой по колонне НКТ гидроразрывной жидкости, в качестве которой используют линейный гель с расходом 0,3 м3/мин с созданием трещины в продуктивном пласте, затем производят крепление трещины в продуктивном пласте в четыре цикла чередующейся закачкой по колонне НКТ жидкости-носителя через интервал ориентированной перфорации продуктивного пласта равными порциями линейного геля с облегченным проппантом 20/40 меш и равными порциями сшитого геля с добавлением соли NaCl с концентрацией 400 кг/м3. Причем равные порции сшитого геля по объему в два раза меньше равных порций линейного геля, а количество равных порций сшитого геля на одну порцию меньше равных порций линейного геля. Концентрацию облегченного проппанта 20/40 меш в линейном геле ступенчато увеличивают на 100 кг/м3 с первой по третью порции в каждом цикле, начиная с концентрации 100 кг/м3, в последнем четвертом цикле производят закачку одной порции линейного геля, содержащего облегченный проппант 16/20 меш с концентрацией 400 кг/м3, а затем производят закачку и продавку 15% водного раствора соляной кислоты в трещину продуктивного пласта в объеме, равном половине суммы объемов линейного и сшитого гелей, закачанных в трещину в процессе крепления трещины, разгерметизацию пакера и извлечение колонны НКТ с пакером из скважины. Недостатками данного способа являются: - во-первых, низкая проводимость трещины, обусловленная преждевременным выпадением проппанта из жидкости-носителя в интервале перфорации, что способствует неравномерному заполнению трещины проппантом, т.е. в трещине образуются пустоты, которые затем смыкаются, что резко ухудшает проводимость трещины; - во-вторых, низкая надежность реализации способа, связанная с выполнением геофизической партией кумулятивной перфорации, имеющей диаметр отверстий 3-6 мм, поэтому в процессе закачки проппанта со ступенчатым увеличением его концентрации увеличивается и сопротивление в интервале перфорации, что может вызвать опасность резкого скачка давления в колонне НКТ, аварийную остановку процесса и недостижение проектных параметров трещины; - в-третьих, низкая эффективность изоляции трещины от попутной и/или подошвенной воды с помощью сшитого геля с добавлением соли NaCl с концентрацией 400 кг/м3. Это создает лишь временный эффект до момента вымывания водой соли и только в нижней части трещины, что в последующем вызывает попадание через трещину в скважину попутной и/или подошвенной воды и резкое обводнение скважины, при этом вода, прорвавшаяся в трещину, сверху свободно перетекает в скважину; - в-четвертых, низкое качество крепления трещины в призабойной зоне пласта (ПЗП), облегченным проппантом, выносящимся из ПЗП, состоящей из слабосцементированных пород при последующем освоении скважины, и, как результат, смыкание трещины в ПЗП; - в-пятых, дополнительные затраты, связанные с привлечением геофизической партии для определения направления главного максимального напряжения в пласте и выполнением кумулятивной перфорации. Техническими задачами изобретения являются повышение проводимости трещины, состоящей из слабосцементированных пород с качественным креплением ПЗП, эффективности изоляции трещины от попутной и/или подошвенной воды, надежности реализации способа и снижение дополнительных затрат на его реализацию. Поставленные технические задачи решаются способом гидравлического разрыва пласта (ГРП), включающим выполнение перфорации в интервале пласта скважины, ориентированной в направлении главного максимального напряжения, спуск колонны насосно-компрессорных труб (НКТ) с пакером в скважину, посадку пакера, проведение ГРП закачиванием гидроразрывной жидкости по колонне НКТ с пакером через интервал перфорации в продуктивный пласт с образованием и последующим креплением трещины в пласте циклической чередующейся закачкой по колонне НКТ жидкости-носителя с проппантом, стравливание давления из скважины, разгерметизацию пакера и извлечение колонны НКТ с пакером из скважины. Новым является то, что для выполнения перфорации в скважину до интервала подошвы пласта спускают гидромеханический перфоратор на колонне НКТ, выполняют пары перфорационных отверстий по периметру скважины от подошвы к кровле пласта со смещением на угол 30° при выполнении каждой пары перфорационных отверстий, после выполнения перфорации колонну НКТ с перфоратором извлекают из скважины, в качестве гидроразрывной жидкости применяют гелированную нефть, определяют общий объем гелированной нефти, производят закачку гелированной нефти по колонне НКТ в интервал пласта с образованием трещины разрыва, объем гелированной нефти после образования трещины используют в качестве жидкости-носителя в процессе крепления трещины, при этом перед креплением трещины объем оставшейся гелированной нефти делят на две равные части, и обе равные части гелированной нефти закачивают в пять циклов чередующимися равными порциями сверхлегкого проппанта фракции 40/80 меш, покрытого водонабухающей резинополимерной композицией концентрацией 600 кг/м3 с наполнителем стекловолокном в количестве от 1 до 1,8% от веса проппанта, со ступенчатым увеличением на 0,2% в каждой порции, и равными порциями проппанта с размером фракции 20/40 меш со ступенчатым увеличением концентрации в каждой порции на 200 кг/м3, начиная от 200 до 800 кг/м3, причем пятой порцией закачивают RSP-проппант фракции 12/18 меш концентрацией 1000 кг/м3. На фиг. 1 схематично изображен процесс перфорации интервала пласта в скважине. На фиг. 2 схематично изображена развертка интервала перфорации пласта. На фиг. 3 схематично изображен устьевой фланец с метками и колонна труб с риской в процессе проведения ГРП. На фиг. 4 схематично изображен процесс ГРП. На фиг. 5 схематично изображено направление развития трещины. В скважину 1 (см. фиг. 1 и 2) до подошвы пласта 2 на колонне НКТ 3 спускают гидромеханический перфоратор 4, например используют гидромеханический перфоратор ПГМ-168 конструкции института «ТатНИПИнефть». Перфорируют интервал пласта 2 выполнением шести пар отверстий (прямоугольного сечения) 5' и 5ʺ, 6' и 6ʺ, 7' и 7ʺ, 8' и 8ʺ, 9' и 9ʺ, 10' и 10ʺ снизу вверх с подъемом и поворотом колонны труб на 30° при каждом последующем проколе. Высоту 1 подъема колонны НКТ 3 между парами отверстий 5' и 5ʺ, 6' и 6ʺ, 7' и 7ʺ, 8' и 8ʺ, 9' и 9ʺ, 10' и 10ʺ определяют как высоту пласта 2, разделенную на семь равных частей. Например, при высоте пласта hпл=3,5 м высота 1 между парами отверстий 5' и 5ʺ, 6' и 6ʺ, 7' и 7ʺ, 8' и 8ʺ, 9' и 9ʺ, 10' и 10, а также от кровли и подошвы пласта 2 будет равна: В процессе реализации способа необходимо получить шесть пар отверстий 5' и 5ʺ, 6' и 6ʺ, 7' и 7ʺ, 8' и 8ʺ, 9' и 9ʺ, 10' и 10ʺ с равным углом поворота 30° между ближайшими парами. Например, между парой отверстий 7' и 7ʺ (см. фиг. 3) угол поворота снизу относительно отверстий 6' и 6ʺ и выше относительно отверстий 8' и 8ʺ составляет 30°. С этой целью применяют устьевой фланец (на фиг. 3 показан условно), имеющий насечки 11', 11ʺ, 11ʺ', 11ʺʺ, 11ʺʺ', 11ʺʺʺ по периметру с углом 30° (см. фиг. 2 и 3), соответствующие каждой паре отверстий 5' и 5ʺ, 6' и 6ʺ, 7' и 7ʺ, 8' и 8ʺ, 9' и 9ʺ, 10' и 10ʺ. На поверхности колонны НКТ 3 наносят одну риску 12 (см. фиг. 1 и 3), например, длиной 10-50 мм и глубиной 2 мм. Размещают риску 12 колонны НКТ 3 напротив отметки 11' устьевого фланца. В таком положении без вращения колонны НКТ 3 с гидромеханическим перфоратором 4 на конце приподнимают колонну НКТ 3 от подошвы пласта 2 на высоту 1=0,5 м. Выполняют пару отверстий 5' и 5ʺ в интервале пласта 2 скважины 1 с помощью гидромеханического перфоратора 4 (за счет радиального выдвижения двух резцов, размещенных относительно друг друга под углом 180°) согласно инструкции по его эксплуатации. Затем вновь приподнимают колонну НКТ 3 с гидромеханическим перфоратором 4 вверх на высоту 1=0,5 м, при этом поворачивают колонну НКТ 3 до размещения ее риски 12 напротив метки 11ʺ на устьевом фланце, например по часовой стрелке, и производят выполнение с помощью гидромеханического перфоратора 4 пары отверстий 6' и 6ʺ в интервале пласта 2 скважины 1. Далее аналогичным образом, поворачивая колонну НКТ 3 (см. фиг. 2 и 3) по часовой стрелке на 30° и последовательно совмещая риску 12 колонны НКТ 3 с метками 11ʺ', 11ʺʺ, 11ʺʺ', 11ʺʺʺ, выполняют еще четыре соответствующие пары отверстий 7' и 7ʺ, 8' и 8ʺ, 9' и 9ʺ, 10' и 10ʺ в интервале пласта 2 скважины 1. Направление перфорации снизу вверх в скважине 1 выбирают с целью исключения прихвата резцов (на фиг. 1 показаны условно) гидромеханического перфоратора 4 при их выдвижении ранее выполненными парами отверстий 5' и 5ʺ, 6' и 6ʺ, 7' и 7ʺ, 8' и 8ʺ, 9' и 9ʺ, 10' и 10ʺ (см. фиг. 2) Таким образом, в интервале пласта 2 (см. фиг. 1) скважины 1 получают перфорационные отверстия 5' и 5ʺ, 6' и 6ʺ, 7' и 7ʺ, 8' и 8ʺ, 9' и 9ʺ, 10' и 10ʺ. Выполнение пар отверстий 5' и 5ʺ, 6' и 6ʺ, 7' и 7ʺ, 8' и 8ʺ, 9' и 9ʺ, 10' и 10ʺ с поворотом на 30° позволяет создать направление образования трещины 13 (см. фиг. 4 и 5) в пласте 2 в направлении главного максимального напряжения пород (σmax) при последующем проведении ГРП в пласте 2 (см. фиг. 2 и 5). Например, направление пары отверстий 7' и 7ʺ в интервале продуктивного пласта 2 совпадает с направлением главного максимального напряжения пород (σmax) в пласте 2, что исключает затраты, связанные с привлечением геофизической партии для определения направления главного максимального напряжения в пласте, так как применяют гидромеханический перфоратор, с помощью которого выполняют парные перфорационные отверстия под углом 30°. Кроме того, применение гидромеханического перфоратора для перфорации в сравнении с кумулятивной перфорацией повышает надежность проведения ГРП, так как в процессе перфорации образуются пары отверстий 5' и 5ʺ, 6' и 6ʺ, 7' и 7ʺ, 8' и 8ʺ, 9' и 9ʺ, 10' и 10ʺ, при этом каждое из этих перфорационных отверстий имеет прямоугольную форму минимальным размером сторон 10 на 20 мм, что в разы больше размеров зерен закачиваемого проппанта (см. табл.). Таким образом, при реализации предлагаемого способа резко снижаются гидравлические сопротивления в интервале перфорации, поэтому полностью исключаются скачок давления в колонне НКТ, аварийная остановка процесса ГРП и недостижение проектных параметров трещины. Далее извлекают из скважины 1 колонну НКТ 3 с гидромеханическим перфоратором 4 и приступают к проведению ГРП. В качестве гидроразрывной жидкости при образовании трещины 13 применяют гелированную нефть. В скважину 1 спускают колонну НКТ 3 с пакером 14. В качестве пакера применяют любой известный пакер. Производят посадку пакера 14 в скважине 1, например, на 5 м выше кровли пласта 2 и осуществляют герметизацию заколонного пространства колонны НКТ 3. Нижний конец колонны НКТ 3 размещают выше кровли пласта 2, например, на 2 м. Расстояние, равное 2 м, позволяет исключить прихват колонны НКТ 3 в случае преждевременного получения резкого скачка давления в процесс крепления трещины 13. На устье скважины 1 верхний конец колонны НКТ 3 обвязывают с нагнетательной линией 15, установив между ними задвижку 16. Нагнетательную линию 15 соединяют с насосными агрегатами (на фиг. 1-5 не показаны) для закачки гелированной нефти. Определяют общий объем гелированной нефти по следующей формуле: где Vг - общий объем гелированной нефти, м3; k=11-12 - коэффициент перевода, м3/м; Нп - высота пласта, м. В данной формуле коэффициент перевода получен опытным путем и зависит от физико-химических свойств пласта 2 (см. фиг. 1), в котором производят ГРП. Например, высота пласта равна 3,5 м. Подставляя в формулу Примем Vг=40,0 м3. Гелированную нефть готовят на устье скважины путем добавления в нефть любого известного загеливающего агента, например вещества HGG-77, приготовленного на основе фосфатного эфира в малогорючем растворителе и предназначенного для создания гелированнной нефти концентрацией 5 л/м3=0,005 м3/м3. Таким образом, для приготовления гелированной нефти в объеме Vг=40 м3 необходимо: На устье скважины в емкость (на фиг. 1-5 не показана) заливают нефть в объеме 39,8 м3 и добавляют 0,2 м3=200 л загеливающего агента и перемешивают. Тогда С помощью насосных агрегатов по нагнетательной линии 15 (см. фиг. 4) через открытую задвижку 16 в скважину 1 по колонне НКТ 3 через перфорационные отверстия 5' и 5ʺ, 6' и 6ʺ, 7' и 7ʺ, 8' и 8ʺ, 9' и 9ʺ, 10' и 10ʺ в интервал пласта 2 закачивают гелированную нефть до достижения разрыва пород пласта 2. Например, разрыв породы пласта 2 происходит через пару отверстий 7' и 7ʺ, направление которых параллельно направлению главного максимального напряжения σmax (см. фиг. 4 и 5) и образованию трещины 13, о чем будет свидетельствовать падение давления закачки и увеличение приемистости пласта 2. Так, в процессе закачки гелированной нефти достигли давления 30 МПа, а вследствие образования трещины 13 произошло падение давления закачки гелированной нефти на 25%, т.е. до Использование гелированной нефти исключает набухание водонабухающей резинополимерной композиции, которой покрыт проппант для крепления трещины 13, так как гелированная нефть не вступает в реакцию с водонабухающей резинополимерной композицией. Объем гелированной нефти (Vг2) после образования трещины 13, т.е. оставшийся объем используют в качестве жидкости-носителя в процессе крепления трещины 13: Перед креплением трещины 13 объем оставшейся гелированной нефти (Vг2) делят на две равные части и обе равные части гелированной нефти закачивают в пять циклов чередующимися равными порциями сверхлегкого проппанта фракции 40/80 меш, покрытого водонабухающей резинополимерной композицией с наполнителем стекловолокном в количестве от 1 до 1,8% от веса проппанта, со ступенчатым увеличением на 0,2% в каждой порции, и равными порциями проппанта с размером фракции 20/40 меш, со ступенчатым увеличением концентрации в каждой порции на 200 кг/м3, начиная от 200 до 800 кг/м3, причем пятой порцией закачивают RSP-проппант фракции 12/18 меш концентрацией 1000 кг/м3. Осуществляют крепление трещины 13 следующим образом: Сначала оставшийся объем гелированной нефти(Vг2) делят на две равные части: Крепление трещины 13 осуществляют с помощью насосных агрегатов по нагнетательной линии 15 (см. фиг. 4) через открытую задвижку 16 в скважину 1 по колонне НКТ 3 через отверстия 5' и 5ʺ, 6' и 6ʺ, 7' и 7ʺ, 8' и 8ʺ, 9' и 9ʺ, 10' и 10ʺ пласта 2 в пять циклов, не прерывая закачки между циклами. Первый цикл крепления трещины 13 (см. фиг. 4) состоит из чередующейся закачки порции сверхлегкого проппанта 17 фракции 40/80 меш, покрытого водонабухающей резинополимерной композицией в гелированной нефти объемом Второй цикл крепления трещины 13 состоит из чередующейся закачки порции сверхлегкого проппанта фракции 40/80 меш, покрытого водонабухающей резинополимерной композицией в гелированной нефти объемом Третий цикл крепления трещины 13 состоит из чередующейся закачки порции сверхлегкого проппанта фракции 40/80 меш, покрытого водонабухающей резинополимерной композицией в гелированной нефти объемом Четвертый цикл крепления трещины 13 состоит из чередующейся закачки порции сверхлегкого проппанта фракции 40/80 меш, покрытого водонабухающей резинополимерной композицией в гелированной нефти объемом Пятый цикл крепления трещины 13 состоит из чередующейся закачки порции сверхлегкого проппанта фракции 40/80 меш, покрытого водонабухающей резинополимерной композицией в гелированной нефти объемом В результате крепления трещины 13 по всей ее поверхности создается водоизолирующий экран 17 (см. фиг. 4) из слоя сверхлегкого проппанта фракции 40/80 меш, покрытого водонабухающей резинополимерной композицией, закрепленного стекловолокном 18, образующим сеточную структуру между зернами сверхлегкого проппанта. При реализации способа применяют короткие малого диаметра стекловолокна 18, например, с диаметром 10-20 микрон и длиной 10 мм, со ступенчатым увеличением их содержания в сверхлегком проппанте на 0,2% с каждой порцией от конца трещины до ее начала (интервала перфорации пласта 2), что обеспечивает максимальную стабильность поверхностного слоя водоизолирующего экрана 17 (сверхлегкого проппанта фракции 40/80 меш, покрытого водонабухающей резинополимерной композицией) в начале трещины 13, так как сжимающая нагрузка по окончании крепления трещины 13 и стравливания давления увеличивается от конца к началу трещины, т.е. в призабойной зоне пласта 2 трещина 13 испытывает максимальную сжимающую нагрузку. Кроме того, RSP-проппант фракции 12/18, закачиваемый в трещину 13 в последнем пятом цикле, спекается в призабойной зоне пласта 2, обеспечивая устойчивость крепления трещины 13, что исключает вынос проппанта в скважину и смыкание трещины в призабойной зоне пласта 2, состоящей из слабосцементированных пород при последующем освоении скважины. Все это повышает качество крепления трещины в призабойной зоне пласта 2. Крепление трещины 13 осуществляют циклической закачкой порций сверхлегкого проппанта фракции 40/80 меш, имеющего плотность ρ1=1050 кг/м3 со стекловолокном, которые чередуют с порциями проппанта фракцией 20/40 меш и порцией RSP-проппанта фракции 12/18 меш, имеющих плотность ρ2=2600 кг/м3. Сначала закачивается проппант меньшей плотности (ρ1), а затем проппант большей плотности (ρ2), поэтому в процессе крепления трещины 13 происходит выдавливание проппантом большей плотности проппанта меньшей плотности (сверхлегкого проппанта фракции 40/80 меш плотностью ρ=1050 кг/м3) на периферию трещины 13, при этом проппант большей плотности (проппант 19 фракцией 20/40 меш и RSP-проппант 20 фракцией 12/18 меш) размещается в центральной части трещины 13. Таким образом, повышается проводимость трещины, так как в процессе крепления трещины 13 исключается преждевременное выпадение проппанта из жидкости-носителя в интервале перфорации, что способствует равномерному заполнению трещины проппантом, т.е. исключаются пустоты при смыкании трещины. Сверхлегкий проппант, покрытый водонабухающей резинополимерной композицией, имеет возможность набухания только в воде (в нефти данная композиция не набухает) до 300% от первоначальной толщины 0,4 мм, что приводит к уплотнению набухающей резинополимерной композиции проппанта 17 на поверхности трещины 13, предотвращая доступ воды, исключая обводнение скважины. В результате повышается эффективность изоляции трещины от перетока по ней в скважину 1 попутной и/или подошвенной воды. Покрытие проппанта - это модифицированное покрытие ВНР-400 (отношение массовых частей В50Э к каучуку - 400/100) резинополимерной композицией на основе бутадиен-нитрильного каучука марки БНКС-28АМН и водонабухающего полиакриламида марки В-50Э. Водонабухающей резинополимерной композицией покрывают исходную фракцию проппанта (см. табл.), при этом толщина самого слоя этой композиции составляет примерно 0,4 мм, что получено опытным путем. По окончании крепления трещины стравливают давление из скважины 1, распакеровывают пакер 14 и извлекают его с колонной НКТ 3 из скважины 1. Процесс ГРП закончен. Предлагаемый способ ГРП позволяет: - повысить эффективность изоляции трещины от попутной и/или подошвенной воды; - повысить проводимость трещины и надежность реализации способа; - повысить качество крепления призабойной зоны пласта; - снизить дополнительные затраты, отказавшись от привлечения геофизической партии.
.
,
, получаем общий объем гелированной нефти:
.
.
.
, при этом приемистость пласта 2 увеличилась на 30%, например от 7,0 до 9,1 м3/мин, т.е.
. В процессе образования трещины 13 по колонне труб в пласт 2 была закачана гелированная нефть в объеме, например, 30 м3.
.
;
- объем жидкости-носителя (гелированной нефти) для закачек порций сверхлегкого проппанта фракции 40/80 меш, покрытого водонабухающей резинополимерной композицией концентрацией 600 кг/м3, с наполнителем стекловолокном в количестве от 1 до 1,8% от веса проппанта, со ступенчатым увеличением на 0,2% в каждой порции;
- объем жидкости-носителя (гелированной нефти) для закачек порций проппанта с размером фракции 20/40 меш со ступенчатым увеличением концентрации в каждой порции на 200 кг/м3, начиная с 200 до 800 кг/м3, причем пятой порцией закачивают RSP-проппант фракции 12/18 меш концентрацией 1000 кг/м3.
с концентрацией 600 кг/м3 и наполнителем стекловолокном 18 в количестве 1,0% от веса проппанта, т.е.
, а также порции гелированной нефти объемом
проппанта 19 фракции 20/40 меш с концентрацией 200 кг/м3.
с концентрацией 600 кг/м3 и наполнителем стекловолокном в количестве 1,2% от веса проппанта, т.е.
, а также порции гелированной нефти объемом
с проппантом 19 фракции 20/40 меш с концентрацией 400 кг/м3.
с концентрацией 600 кг/м3 и наполнителем стекловолокном в количестве 1,4% от веса проппанта, т.е.
, а также порции гелированной нефти объемом
с проппантом 19 фракции 20/40 меш с концентрацией 600 кг/м3.
с концентрацией 600 кг/м3 и наполнителем стекловолокном в количестве 1,6% от веса проппанта, т.е.
, а также порции гелированной нефти объемом:
с проппантом 19 фракции 20/40 меш с концентрацией 800 кг/м3.
с концентрацией 600 кг/м3 и наполнителем стекловолокном в количестве 1,8% от веса проппанта, т.е.
, а также порции гелированной нефти объемом:
с RSP-проппантом 20 фракции 12/18 меш с концентрацией 1000 кг/м3.