патент
№ RU 2640297
МПК G06F17/00

ОПРЕДЕЛЕНИЕ СТЕПЕНЕЙ УВЕРЕННОСТИ, СВЯЗАННЫХ СО ЗНАЧЕНИЯМИ АТРИБУТОВ ИНФОРМАЦИОННЫХ ОБЪЕКТОВ

Авторы:
Мацкевич Степан Евгеньевич
Номер заявки
2016119017
Дата подачи заявки
17.05.2016
Опубликовано
27.12.2017
Страна
RU
Как управлять
интеллектуальной собственностью
Реферат

[129]

Изобретение относится к вычислительным системам извлечения информации на естественном языке. Технический результат заключается в повышении точности оценки извлекаемой информации. Способ извлечения информации из текстов на естественном языке включает: получение текста на естественном языке с помощью устройства обработки; выполнение синтактико-семантического анализа текста на естественном языке для получения множества семантических структур, интерпретацию множества семантических структур с помощью набора продукционных правил для получения множества элементов данных, каждый из которых связывает значение атрибута с информационным объектом, представляющим сущность, определение как минимум для одного элемента данных в множестве элементов данных степени уверенности путем вычисления функции уверенности, представленной посредством линейного классификатора и связанной с набором продукционных правил. 3 н. и 17 з.п. ф-лы, 17 ил.

Формула изобретения

1. Способ извлечения информации из текстов на естественном языке, включающий:

получение текста на естественном языке с помощью устройства обработки;

выполнение синтактико-семантического анализа текста на естественном языке для получения множества семантических структур;

интерпретацию множества семантических структур с помощью набора продукционных правил для получения множества элементов данных, каждый из которых связывает значение атрибута с информационным объектом, представляющим сущность, ссылающуюся на текст на естественном языке; и

определение как минимум для одного элемента данных в множестве элементов данных степени уверенности путем вычисления функции уверенности, представленной посредством линейного классификатора и связанной с набором продукционных правил.

2. Способ по п. 1, отличающийся тем, что функция уверенности представлена посредством линейного классификатора, обученного на размеченной выборке и вычисляющего расстояние от информационного объекта до гиперплоскости в гиперпространстве признаков, связанных с набором продукционных правил.

3. Способ по п. 1, дополнительно включающий:

верификацию значения атрибута при определении, что степень уверенности снижается ниже определенного порога.

4. Способ по п. 3, отличающийся тем, что верификация значения атрибута дополнительно включает прием через графический интерфейс пользователя с помощью пользовательского ввода, подтверждающего значение атрибута.

5. Способ по п. 1, дополнительно включающий:

определение с использованием набора данных для обучения как минимум одного параметра функции уверенности, где набор данных для обучения содержит множество элементов данных для обучения, каждый из которых определяет один или более атрибутов, связанных как минимум с одним информационным объектом, представленным текстом на естественном языке для обучения.

6. Способ по п. 1, дополнительно включающий:

получение с помощью множества элементов данных графа Среды описания ресурсов RDF, представляющего текст на естественном языке.

7. Способ по п. 1, отличающийся тем, что каждая семантическая структура из множества семантических структур представлена графом, включающим множество узлов, соответствующих множеству семантических классов, и множество дуг, соответствующих множеству семантических отношений.

8. Способ по п. 1, отличающийся тем, что продукционное правило включает одно или более логических выражений, определенных в одном или более шаблонах семантических структур.

9. Система извлечения информации из текстов на естественном языке, включающая:

память;

процессор, связанный с данной памятью, причем этот процессор настроен так, чтобы:

получать текст на естественном языке;

выполнять синтактико-семантический анализ текста на естественном языке для получения множества семантических структур;

интерпретировать множество семантических структур с помощью набора продукционных правил для получения множества элементов данных, таких, что каждый элемент данных связывает значение атрибута с информационным объектом, представляющим сущность, ссылающуюся на текст на естественном языке; и

определять как минимум для одного элемента данных в множестве элементов данных уровень уверенности путем вычисления функции уверенности, представленной посредством классификатора и связанной с набором продукционных правил.

10. Система по п. 9, отличающаяся тем, что функция уверенности представлена посредством линейного классификатора, обученного на размеченной выборке и вычисляющего расстояние от информационного объекта до гиперплоскости в гиперпространстве признаков, связанных с набором продукционных правил.

11. Система по п. 9, отличающаяся тем, что процессор дополнительно имеет возможность:

проверять значение атрибута в ответ на снижение уровня степени уверенности ниже определенного порога.

12. Система по п. 11, отличающаяся тем, что верификация значения атрибута дополнительно содержит получение через графический интерфейс пользователя пользовательского ввода с подтверждением значения атрибута.

13. Система по п. 9, отличающаяся тем, что процессор дополнительно имеет возможность:

определять с использованием набора данных для обучения как минимум один параметр функции уверенности, где набор данных для обучения содержит множество элементов данных для обучения, каждый из которых определяет один или более атрибутов, связанных как минимум с одним информационным объектом, представленным текстом на естественном языке для обучения.

14. Система по п. 9, отличающаяся тем, что процессор дополнительно имеет возможность:

получать с помощью множества элементов данных граф Среды описания ресурсов RDF, представляющий текст на естественном языке.

15. Система по п. 9, отличающаяся тем, что каждая семантическая структура из множества семантических структур представлена графом, включающим множество узлов, соответствующих множеству семантических классов, и множество дуг, соответствующих множеству семантических отношений.

16. Постоянный машиночитаемый носитель данных для извлечения информации из текстов на естественном языке, содержащий исполняемые команды, которые при выполнении заставляют вычислительную систему:

получать текст на естественном языке;

выполнять синтактико-семантический анализ текста на естественном языке для получения множества семантических структур;

интерпретировать множество семантических структур с помощью набора продукционных правил для получения множества элементов данных, таких, что каждый элемент данных связывает значение атрибута с информационным объектом, представляющим сущность, ссылающуюся на текст на естественном языке; и

определять как минимум для одного элемента данных в множестве элементов данных уровень уверенности путем вычисления функции уверенности, представленной посредством линейного классификатора и связанной с набором продукционных правил.

17. Постоянный машиночитаемый носитель данных по п. 16, отличающийся тем, что функция уверенности представлена посредством линейного классификатора, обученного на размеченной выборке и вычисляющего расстояние от информационного объекта до гиперплоскости в гиперпространстве признаков, связанных с набором продукционных правил.

18. Постоянный машиночитаемый носитель данных по п. 16, дополнительно включающий исполняемые команды для вычислительной системы, обеспечивающие возможность:

проверять значение атрибута в ответ на определение снижения степени уверенности ниже определенного порога.

19. Постоянный машиночитаемый носитель данных по п. 18, отличающийся тем, что верификация значения атрибута дополнительно включает получение через графический интерфейс пользователя пользовательского ввода с подтверждением значения атрибута.

20. Постоянный машиночитаемый носитель данных по п. 16, дополнительно включающий исполняемые команды для вычислительной системы, обеспечивающие возможность:

определять с использованием набора данных для обучения как минимум один параметр функции уверенности, где набор данных для обучения содержит множество элементов данных для обучения, каждый из которых определяет один или более атрибутов, связанных как минимум с одним информационным объектом, представленным текстом на естественном языке для обучения.

Описание

[1]

ОБЛАСТЬ ТЕХНИКИ

[2]

[0001] Настоящее изобретение относится в целом к извлечению вычислительными системами информации из текстов на естественном языке, а точнее, к системам и способам определения степеней уверенности, связанных со значениями атрибутов извлекаемых информационных объектов.

[3]

УРОВЕНЬ ТЕХНИКИ

[4]

[0002] Интерпретация неструктурированной или слабо структурированной информации, представленной в виде текста на естественном языке, может быть затруднена из-за неоднозначности, присущей конструкциям естественного языка. Эта неоднозначность может быть вызвана, например, многозначностью слов и фраз естественного языка и (или) определенными особенностями механизмов естественного языка, которые используются для установления связей между словами и (или) группами слов в предложениях на естественном языке (таких как падежи существительных, порядок слов и т.д.).

[5]

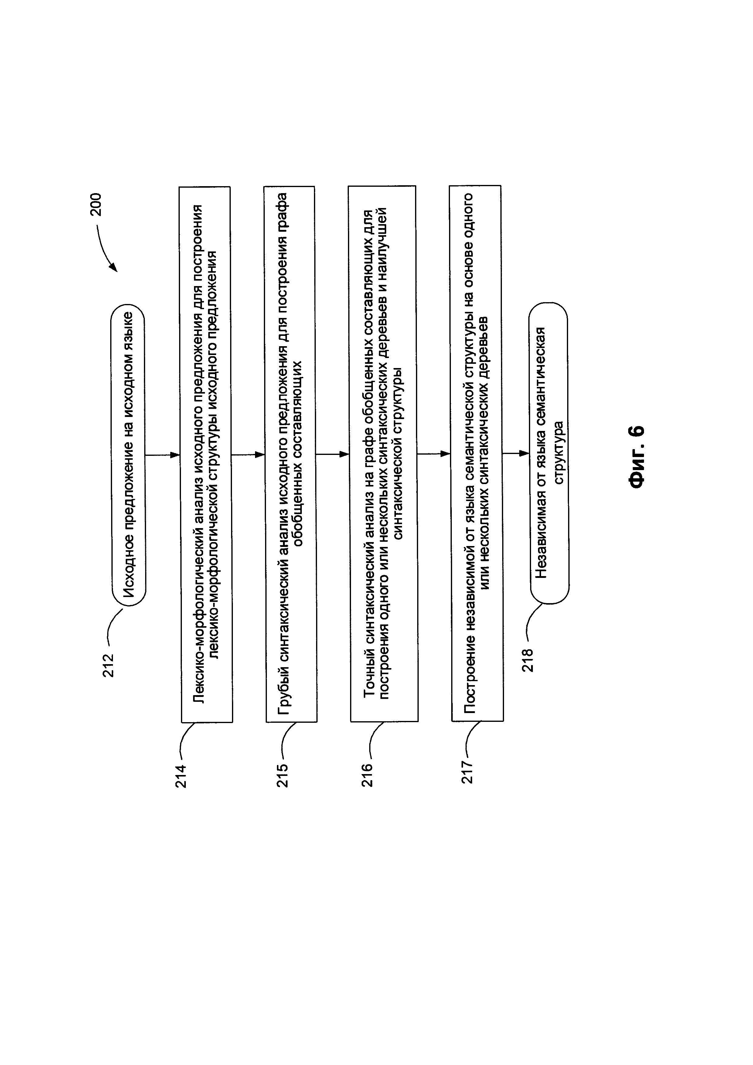
РАСКРЫТИЕ ИЗОБРЕТЕНИЯ

[6]

[0003] В соответствии с одним или более аспектами настоящего изобретения описанный метод определения степени уверенности, связанной со значениями атрибутов информационных объектов, может содержать получение текста на естественном языке с помощью устройства обработки; выполнение синтактико-семантического анализа текста на естественном языке с получением множества семантических структур; интерпретацию множества семантических структур с использованием набора продукционных правил, позволяя получить множество элементов данных, каждый из которых связывает значение атрибута с информационным объектом, представляющим сущность, ссылающуюся на текст на естественном языке; и определение (как минимум для одного элемента данных из множества элементов данных) степени уверенности, связанной со значениями атрибутов информационных объектов, путем оценки функции уверенности, связанной с набором продукционных правил.

[7]

[0004] В соответствии с одним или более аспектами настоящего изобретения описанная в примере система для определения степеней уверенности, связанных со значениями атрибутов информационных объектов, может содержать память и процессор, работающий с этой памятью, причем этот процессор настроен так, чтобы получать текст на естественном языке с помощью устройства обработки; выполнять синтактико-семантический анализ текста на естественном языке с получением множества семантических структур; интерпретировать множество семантических структур с использованием набора продукционных правил, позволяя получить множество элементов данных, каждый из которых связывает значение атрибута с информационным объектом, представляющим сущность, ссылающуюся на текст на естественном языке; и определять (как минимум для одного элемента данных из множества элементов данных) уровень уверенности, связанный со значениями атрибутов информационных объектов, путем оценки функции уверенности, связанной с набором продукционных правил.

[8]

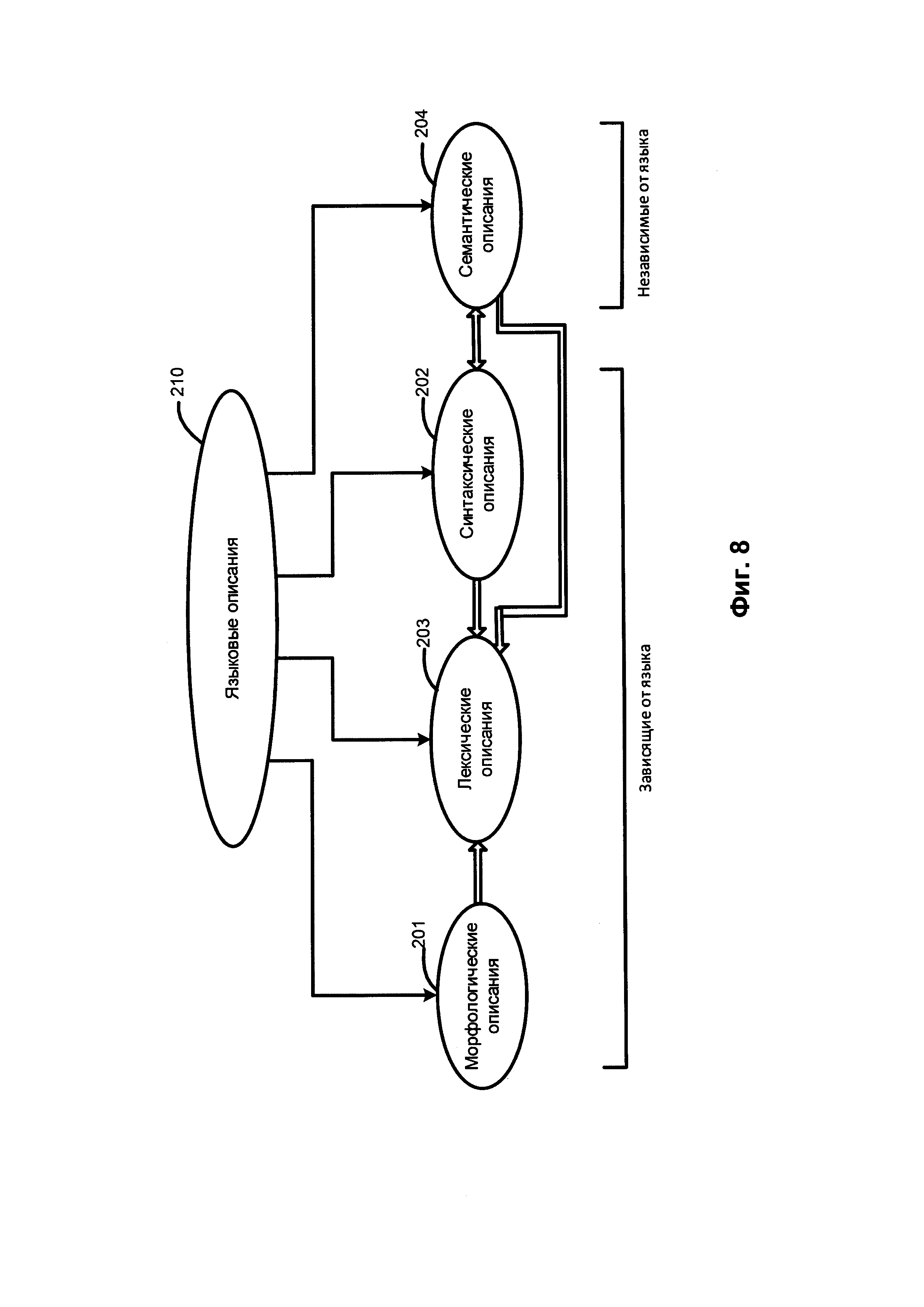
[0005] В соответствии с одним или более аспектами настоящего изобретения пример постоянного машиночитаемого носителя данных может содержать исполняемые инструкции, которые при выполнении вычислительной системой заставляют эту вычислительную систему получать текст на естественном языке с помощью устройства обработки; выполнять синтактико-семантический анализ текста на естественном языке с получением множества семантических структур; интерпретировать множество семантических структур с использованием набора продукционных правил, позволяя получить множество элементов данных, каждый из которых связывает значение атрибута с информационным объектом, представляющим сущность, ссылающуюся на текст на естественном языке; и определять (как минимум для одного элемента данных из множества элементов данных) уровень уверенности, связанный со значениями атрибутов информационных объектов, путем оценки функции уверенности, связанной с набором продукционных правил.

[9]

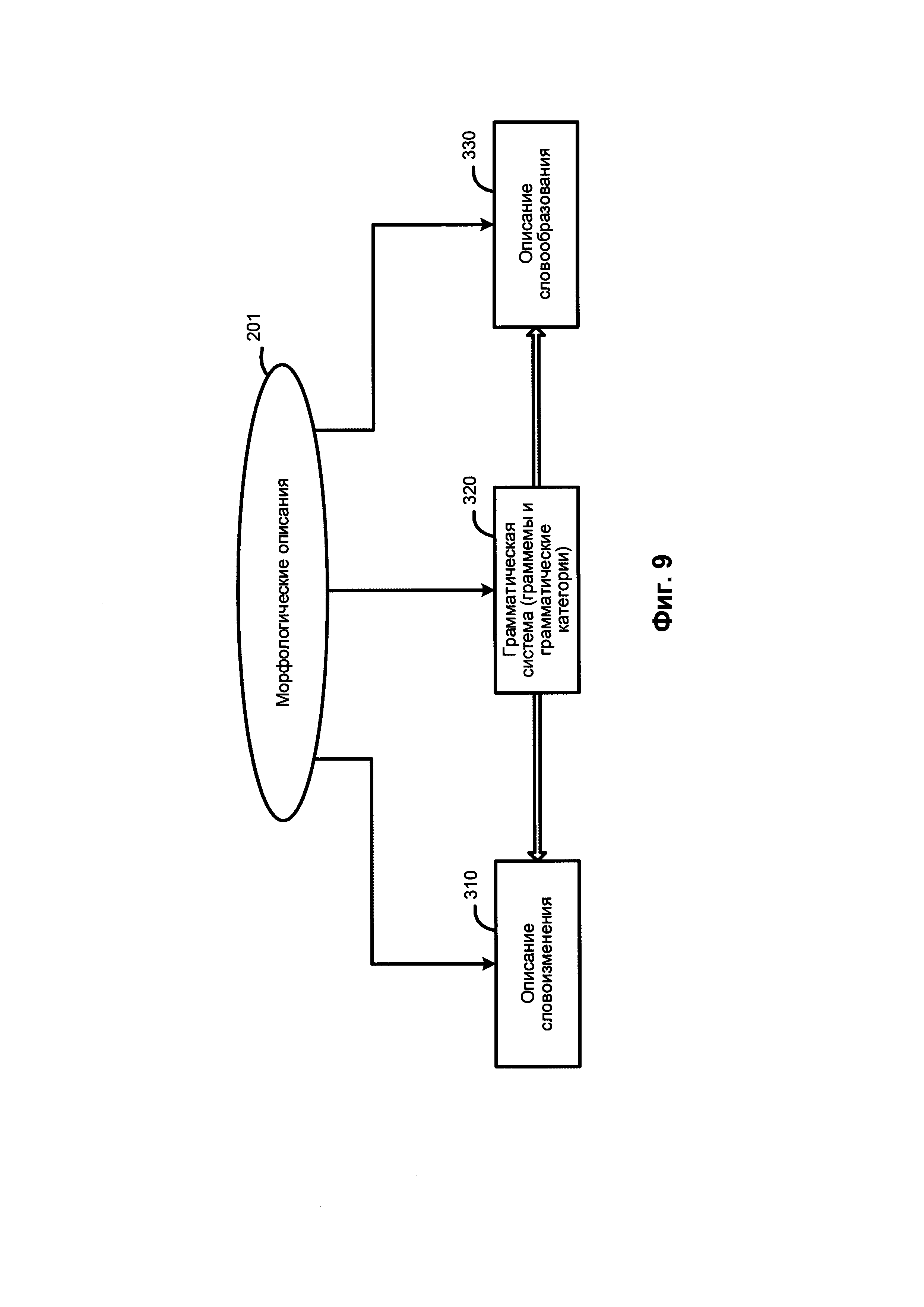
Технический результат от внедрения изобретения состоит в получении возможности для пользователя системы извлечения информации из текстов на естественном языке контролировать и верифицировать достоверность извлекаемых данных.

[10]

КРАТКОЕ ОПИСАНИЕ ЧЕРТЕЖЕЙ

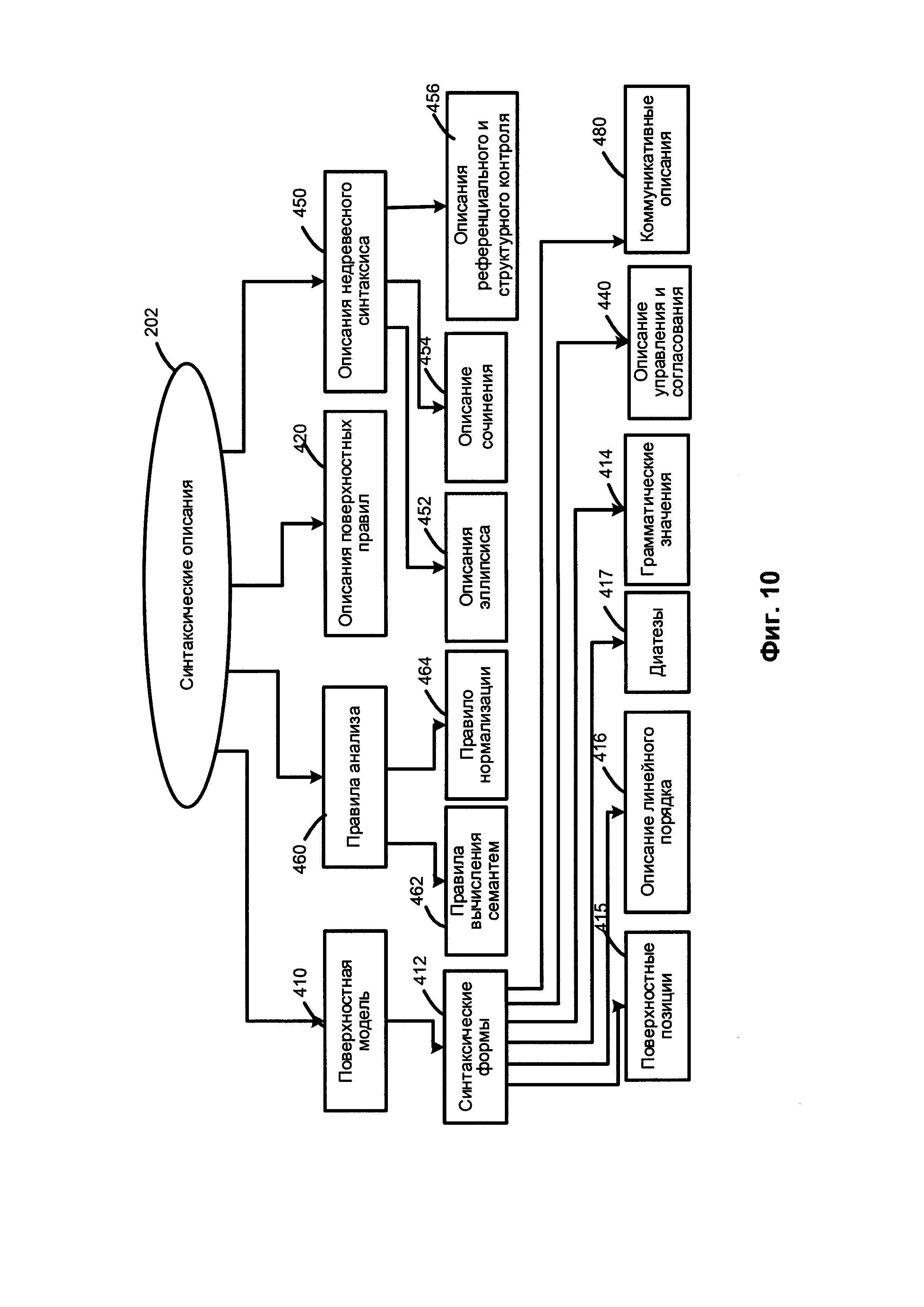
[11]

[0006] Настоящее изобретение иллюстрируется с помощью примеров, а не способом ограничения, и может быть лучше понято при рассмотрении приведенного ниже описания предпочтительных вариантов реализации в сочетании с чертежами, на которых:

[12]

[0007] На Фиг. 1 приведена блок-схема одного иллюстративного примера способа определения степени уверенности, связанного со значениями атрибутов информационных объектов, в соответствии с одним или более аспектами настоящего изобретения;

[13]

[0008] На Фиг. 2 схематично показана разделительная гиперплоскость в гиперпространстве признаков, в соответствии с одним или более аспектами настоящего изобретения;

[14]

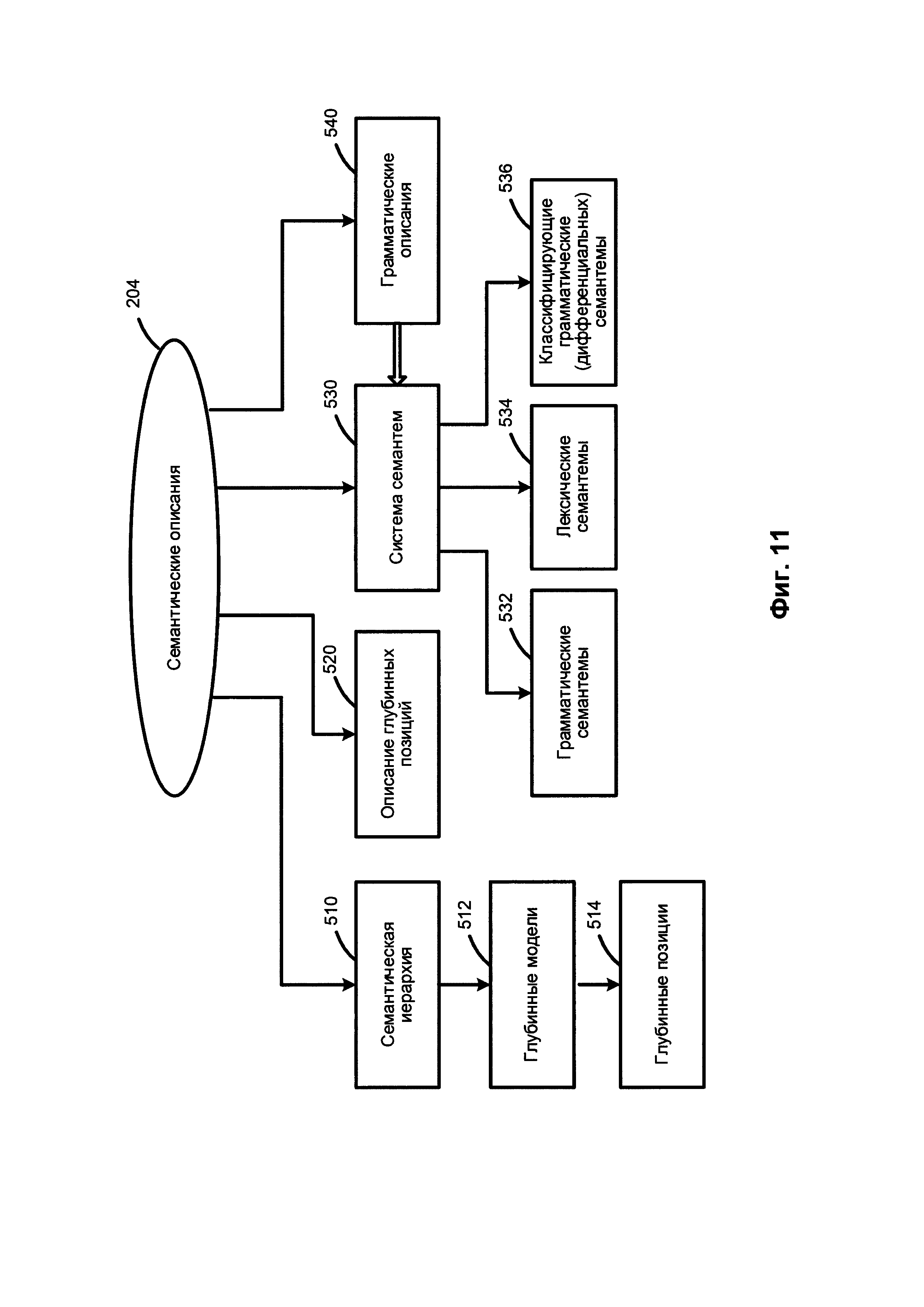
[0009] На Фиг. 3 схематично показан фрагмент примера обучающей выборки данных, содержащей текст на естественном языке, в соответствии с одним или более аспектами настоящего изобретения;

[15]

[00010] На Фиг. 4 показан график сигмоидной функции, используемой для определения степени уверенности для значений атрибутов информационного объекта, вычисляемой на основе расстояния между информационным объектом и разделительной гиперплоскостью, в соответствии с одним или более аспектами настоящего изобретения;

[16]

[00011] На Фиг. 5 схематично показан пример графического интерфейса пользователя (GUT), используемого для получения реакции пользователя для подтверждения или изменения значений атрибутов, в соответствии с одним или более аспектами настоящего изобретения;

[17]

[00012] На Фиг. 6 приведена блок-схема описанного в пояснительном примере способа выполнения семантико-синтаксического анализа предложения на естественном языке в соответствии с одним или более аспектами настоящего изобретения.

[18]

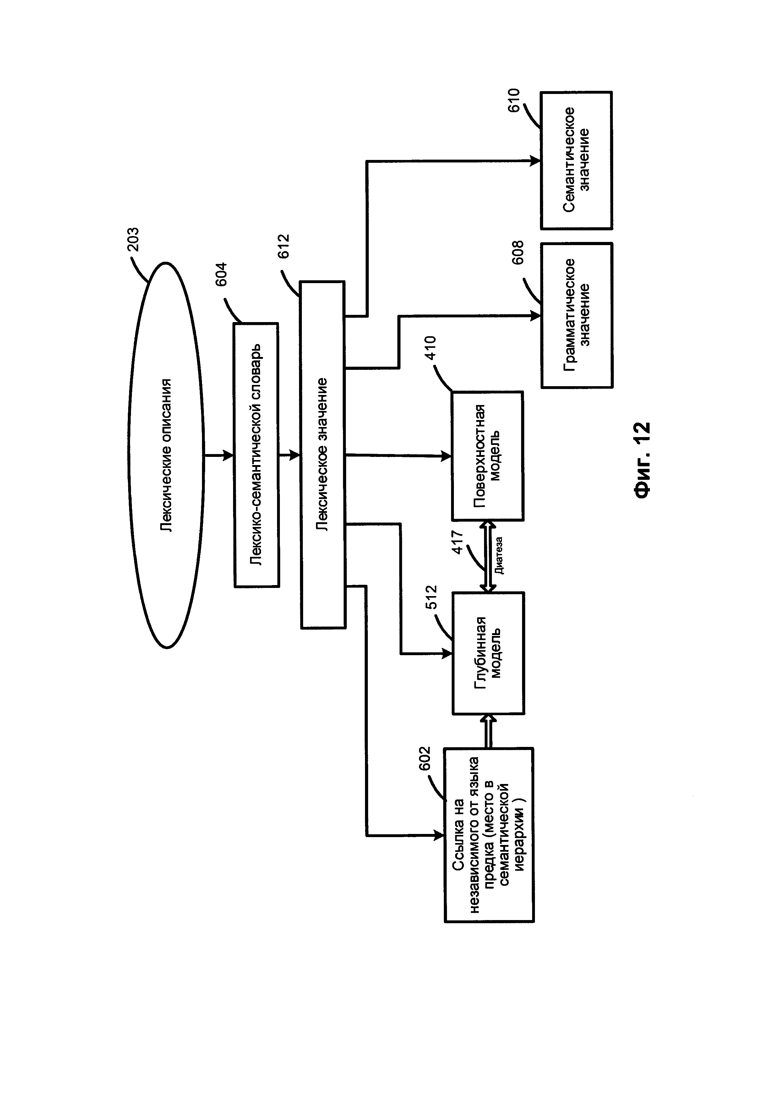
[00013] На Фиг. 7 схематически показан пример лексико-морфологической структуры предложения в соответствии с одним или более аспектами настоящего изобретения;

[19]

[00014] На Фиг. 8 схематически показаны языковые описания, представляющие модель естественного языка в соответствии с одним или более аспектами настоящего изобретения;

[20]

[00015] На Фиг. 9 схематически иллюстрируются примеры морфологических описаний в соответствии с одним или более аспектами настоящего изобретения;

[21]

[00016] На Фиг. 10 схематически иллюстрируются примеры синтаксических описаний в соответствии с одним или более аспектами настоящего изобретения;

[22]

[00017] На Фиг. 11 схематически иллюстрируются примеры семантических описаний в соответствии с одним или более аспектами настоящего изобретения;

[23]

[00018] На Фиг. 12 схематически иллюстрируются примеры лексических описаний в соответствии с одним или более аспектами настоящего изобретения;

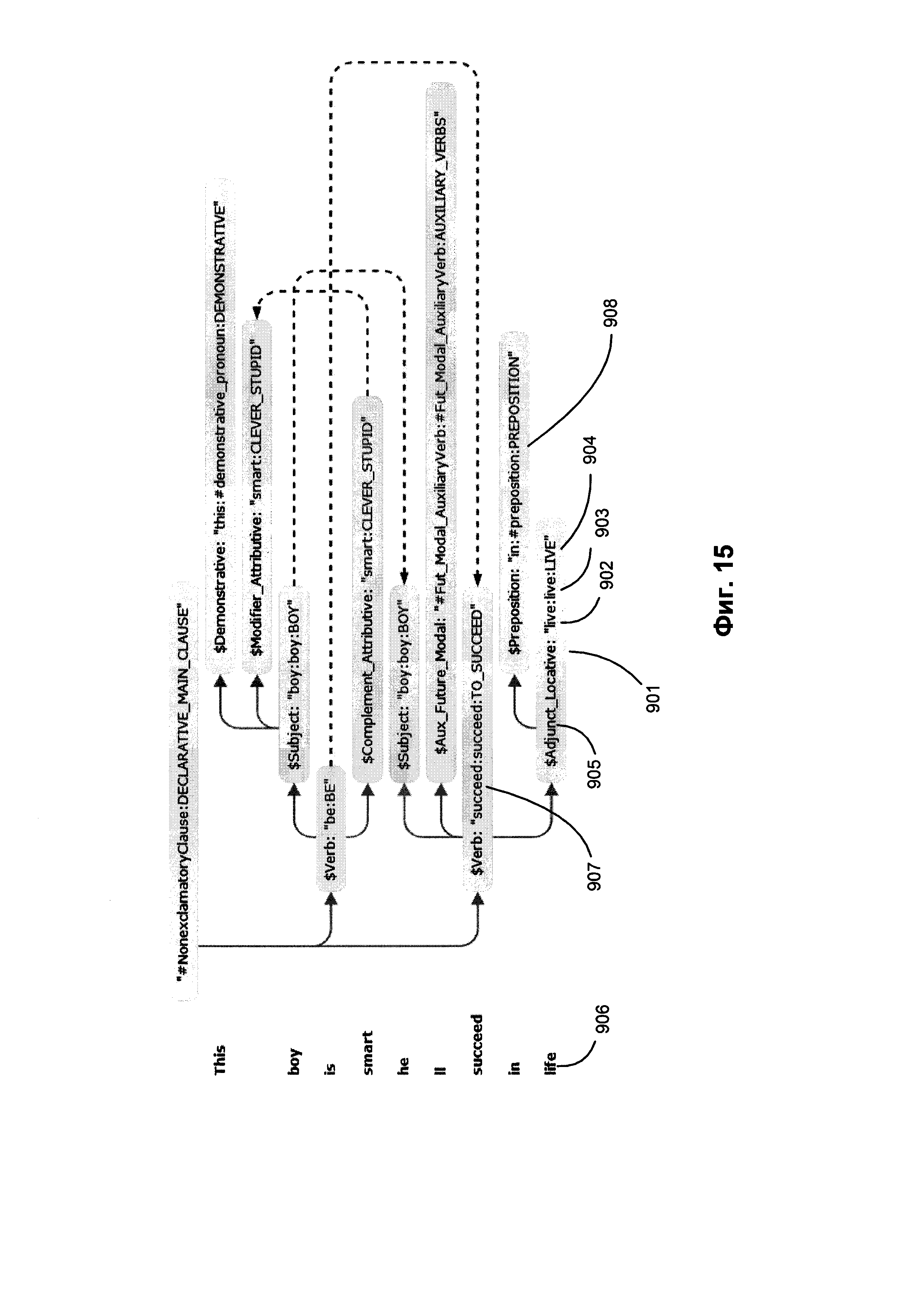
[24]

[00019] На Фиг. 13 схематически иллюстрируются примеры структур данных, которые могут быть использованы в рамках одного или более способов, реализованных в соответствии с одним или более аспектами настоящего изобретения;

[25]

[00020] На Фиг. 14 схематически иллюстрируется пример графа обобщенных составляющих в соответствии с одним или более аспектами настоящего изобретения;

[26]

[00021] На Фиг. 15 показан пример синтаксической структуры, соответствующей предложению, приведенному на Фиг. 14;

[27]

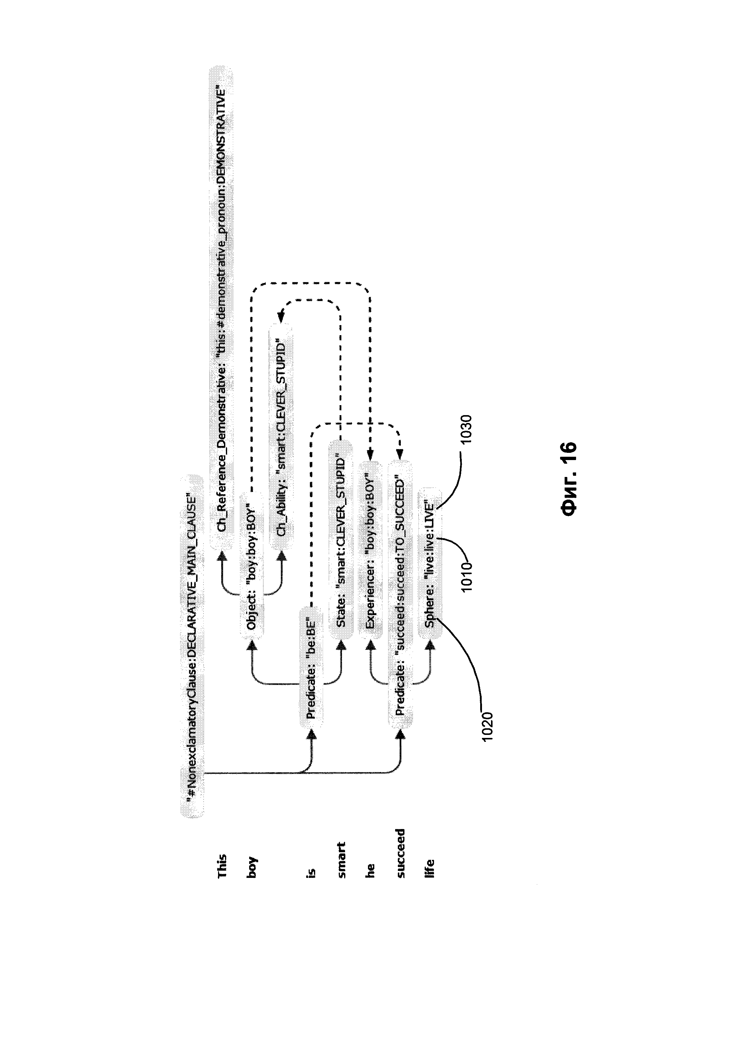
[00022] На Фиг. 16 приведена семантическая структура, соответствующая синтаксической структуре, показанной на Фиг. 15;

[28]

[00023] На Фиг. 17 показана схема примера вычислительной системы, реализующей методы настоящего изобретения.

[29]

ОПИСАНИЕ ПРЕДПОЧТИТЕЛЬНЫХ ВАРИАНТОВ РЕАЛИЗАЦИИ

[30]

[00024] В настоящем документе описаны способы и системы для определения степени уверенности, связанные со значениями атрибутов информационных объектов.

[31]

[00025] В настоящем документе термин «вычислительная система» означает устройство обработки данных, оснащенное универсальным процессором, памятью и по меньшей мере одним интерфейсом связи. Примерами вычислительных систем, которые могут использовать описанные в этом документе методы, являются, в частности, настольные компьютеры, ноутбуки, планшетные компьютеры и смартфоны.

[32]

[00026] Извлечение информации является одной из важных операций автоматизированной обработки текстов на естественных языках. Информация, извлекаемая из документов на естественном языке, может быть представлена в виде одного или более объектов данных, содержащих описания объектов, связи объектов и (или) утверждения, связанные с объектами. В некоторых вариантах реализации изобретения объекты данных могут быть представлены в виде графов Среды описания ресурсов (Resource Definition Framework - RDF), как более подробно будет описано ниже в этом документе.

[33]

[00027] Способы извлечения информации, реализованные в соответствии с одним или более аспектами варианта осуществления настоящего изобретения, могут представлять извлекаемую информацию в соответствии с некоторыми заранее определенными или динамически создаваемыми онтологиями путем связывания информационных объектов, которые были получены в результате обработки текста на естественном языке с использованием концептов данной онтологии.

[34]

[00028] «Онтология» в настоящем документе означает модель, которая представляет объекты, относящиеся к определенной области знаний (предметной области), и отношения между данными объектами. Онтология может включать определения некоего множества классов, где класс соответствует концепту предметной области. Каждое определение класса может включать определения одного или более отнесенных к данному классу объектов. Согласно общепринятой терминологии класс может также называться концептом онтологии, а принадлежащий классу объект может означать экземпляр данного концепта.

[35]

[00029] Определение информационного объекта может представлять материальный реальный объект (например, человека или предмет) или определенные характеристики, связанные с одним или более реальными объектами (например, числовой атрибут или качество). В некоторых вариантах осуществления информационный объект может быть связан с двумя или более классами.

[36]

[00030] В соответствии с одним или более аспектами варианта осуществления настоящего изобретения вычислительная система может получать текст на естественном языке (например, представленный в виде одного или более исходных документов). Вычислительная система может выполнять синтактико-семантический анализ текста (см. Фиг. 6) на естественном языке, используя множество лингвистических описаний, перечень которых приводится в настоящем описании и которые иллюстрируются на Фиг. 8-12. При синтактико-семантическом анализе для каждого предложения могут быть созданы одна или более независимых от языка семантических структур, представляющих предложение в независимых от этого естественного языка терминах. В некоторых вариантах реализации изобретения, как минимум для некоторых предложений, могут быть получены две или более независимых от языка семантических структур; в этой ситуации для каждого предложения как наиболее вероятная может быть выбрана семантическая структура, ассоциирующаяся с наивысшим значением некоторого рейтинга.

[37]

[00031] Каждая семантическая структура может быть представлена в виде ациклического графа, в вершинах которого находятся семантические классы, соответствующие словам предложения, и множество дуг, представляющих семантические связи между вершинами, как более подробно будет описано ниже в этом документе. Семантический класс является элементом семантических описаний, где семантические классы представляют иерархию понятий реального мира, называемую ниже семантической иерархией. Вычислительная система может применять к множеству семантических структур набор продукционных правил. Каждое продукционное правило может содержать набор логических выражений, определенных для одного или более шаблонов семантических структур, и может связывать один или более атрибутов (отражающих лексические, синтаксические и (или) семантические свойства слов исходного предложения) с определенным информационным объектом, представляющим некоторую сущность, ссылка на которую имеется в данном тексте на естественном языке.

[38]

[00032] Ввиду существенной неоднозначности конструкций естественных языков, связывание атрибута с информационным объектом не всегда может быть точным; в этом случае оно может сопровождаться степенью уверенности, который может быть выражен в виде числового значения на заданной шкале (например, действительным числом в диапазоне от 0 до 1). В соответствии с одним или более аспектами варианта осуществления настоящего изобретения степень уверенности, связанная с определенным атрибутом, может быть определена путем вычисления функции уверенности, ассоциированной с продукционными правилами, которые были использованы для получения атрибута. Область определения функции может быть представлена одним или более аргументами, отражающими различные аспекты процесса извлечения информации, включая идентификаторы продукционных правил, задействованных для получения рассматриваемого атрибута или родственных атрибутов, определенных признаков семантических классов, полученных при синтактико-семантическом анализе исходного предложения, содержащего ссылку на информационный объект, который характеризуется рассматриваемым атрибутом, и (или) другие характеристики процесса извлечения информации, как будет более подробно описано ниже в этом документе.

[39]

[00033] В вариантах реализации изобретения вычислительная система, реализующая способы, описанные в настоящем документе, может выполнять синтактико-семантический анализ входного текста на естественном языке. При синтактико-семантическом анализе могут быть получены одна или более независимых от языка семантических структур, представляющих каждое предложение на естественном языке, как будет более подробно описано ниже в этом документе.

[40]

[00034] Вычислительная система может интерпретировать множество семантических структур с помощью продукционных правил, создавая набор объектов данных, представляющих предложения текста на естественном языке. В одном из иллюстративных примеров результирующие объекты данных могут быть затем представлены в виде RDF-графа.

[41]

[00035] В этом процессе вычислительная система может вычислить степень уверенности, связанную с одним или более атрибутами информационных объектов путем вычисления функции уверенности, связанной с набором продукционных правил, как будет более подробно описано ниже в этом документе. Компьютерная система может затем дополнить граф RDF, отображающий этот текст на естественном языке, соответствующими значениями степени уверенности с атрибутами объектов; в результате чего будет получен уточненный RDF-граф.

[42]

[00036] Затем компьютерная система может выполнить верифицировать полученные значения атрибутов, степень уверенности которых окажется ниже определенного порога. В некоторых вариантах реализации изобретения верификация может производиться с применением графического интерфейса пользователя (GUI), используемого для получения ввода от пользователя, подтверждающего или изменяющего значение атрибута, как будет более подробно описано ниже.

[43]

[00037] Различные аспекты упомянутых выше способов и систем подробно описаны ниже в этом документе с помощью примеров, а не способом ограничения.

[44]

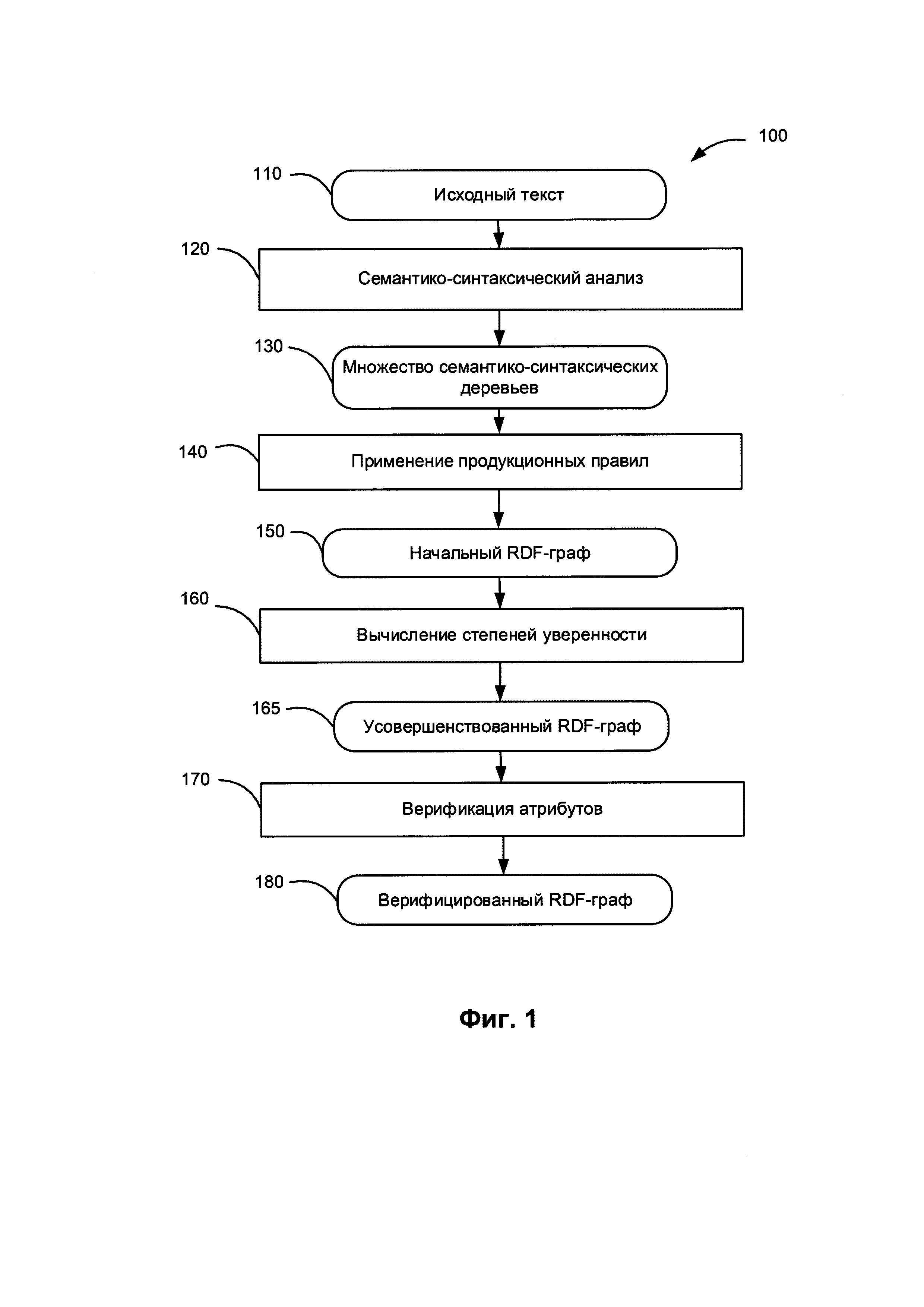
[00038] На Фиг. 1 приведена блок-схема одного иллюстративного примера метода 100 для определения степени уверенности, связанной со значениями атрибутов информационных объектов, в соответствии с одним или более аспектами настоящего изобретения. Метод 100 и (или) каждая из его отдельных функций, процедур, подпрограмм или операций может быть реализована с помощью одного или более процессоров вычислительной системы (например, вычислительной системы 100 на Фиг. 1), в которой реализован этот способ. В некоторых вариантах реализации метод 100 может выполняться в одном потоке обработки. При альтернативном подходе метод 100 может быть реализован с использованием двух или более потоков обработки, при этом в каждом потоке реализована одна или более отдельных функций, процедур, подпрограмм или операций этого способа. В иллюстративном примере потоки обработки, в которых реализован метод 100, могут быть синхронизированы (например, с помощью семафоров, критических секций и (или) других механизмов синхронизации потоков). При альтернативном подходе потоки обработки, в которых реализован метод 100, могут выполняться асинхронно по отношению друг к другу. Таким образом, несмотря на то, что Фиг. 1 и соответствующее описание содержат список операций для метода 100 в определенном порядке, в различных вариантах осуществления способа как минимум некоторые из описанных операций могут выполняться параллельно и (или) в случайно выбранном порядке.

[45]

[00039] В блоке 120 вычислительная система, реализующая метод 100, может выполнять синтактико-семантический анализ входящего текста 110 на естественном языке, используя лингвистические описания, представленные на Фиг. 8-12 При синтактико-семантическом анализе для каждого предложения на естественном языке могут быть получены одно или более синтактико-семантическом деревьев, а затем -независимых от языка семантических структур, как будет более подробно описано ниже в этом документе со ссылками на Фиг. 6-16.

[46]

[00040] В блоке 140 вычислительная система может интерпретировать множество семантических структур с помощью набора продукционных правил, создавая набор объектов данных, представляющих предложения текста на естественном языке. В иллюстративных примерах объекты данных представлены в виде RDF-графа (150).

[47]

[00041] RDF каждому информационному объекту присваивается уникальный идентификатор и информация о таком объекте хранится в виде триплетов вида SPO, где S обозначает «субъект» и содержит идентификатор объекта, Р обозначает «предикат» и определяет некоторое свойство этого объекта, а O обозначает «объект» и сохраняет значение этого свойства данного объекта. Это значение может быть как примитивным типом данных (строкой, числом, булевым значением), так и идентификатором другого объекта.

[48]

[00042] Множества продукционных правил, используемых для интерпретации множества семантических структур, могут включать правила интерпретации и правила идентификации. Правило интерпретации может содержать левую часть, представленную набором логических выражений, определенных в одном или более шаблонах семантических структур, и правую часть, представленную одним или более утверждениями, относящимися к информационным объектам, представляющим сущности, ссылающиеся на текст на естественном языке.

[49]

[00043] Шаблон семантической структуры может содержать определенные элементы семантической структуры {например, проверку принадлежности к определенным лексическим/семантическим классам, наличие определенной граммемы или семантемы, нахождение в определенной поверхностной или глубинной позиции и т.д.). Отношения между элементами семантических структур могут задаваться с помощью одного или более логических выражений (конъюнкция, дизъюнкция и отрицание) и (или) операций, характеризующих взаимное расположение узлов в синтактико-семантическом дереве. Например, такая операция может проверять, принадлежит ли узел к поддереву другого узла.

[50]

[00044] Соответствие шаблона семантической структуре, представляющей предложение из текста на естественном языке или его часть, может инициировать правую сторону продукционного правила для одного или более узлов поддерева, которые соответствуют шаблону, определенному левой стороной продукционного правила. Правая сторона продукционного правила может связывать один или более атрибутов (относящихся к лексическим, синтаксическим и (или) семантическим свойствам слов исходного предложения) с информационными объектами, представленными вершинами.

[51]

[00045] Правило идентификации может использоваться для отождествления двух информационных объектов в случае, когда информационные объекты соответствуют одному и тому же объекту реального мира. Правило идентификации представляет собой продукционное правило, левая часть которого содержит одно или более логических выражений, относящихся к узлам семантического дерева, соответствующим информационным объектам. Если пара информационных объектов соответствует условию, определенному логическим выражением, информационные объекты объединяются в один информационный объект.

[52]

[00046] На Фиг. 1 в блоке 160 вычислительная система может определять степени уверенности, связанные с одним или более атрибутами информационных объектов. Степени уверенности могут быть выражены числовыми значениями на заданной шкале (например, в виде действительных чисел в диапазоне от 0 до 1). В соответствии с одним или более аспектами варианта осуществления настоящего изобретения степень уверенности, связанная с некоторым атрибутом, может быть определена посредством вычисления функции уверенности, связанной с набором продукционных правил. Область определения функции может быть представлена одним или более аргументами, отражающими различные аспекты процесса извлечения информации, указанного в блоке 140.

[53]

[00047] В некоторых вариантах реализации изобретения компьютерная система может сопроводить объекты данных, соответствующие тексту на естественном языке (например, RDF-граф 150), соответствующими значениями степени уверенности с атрибутами объектов, в результате чего будет получен усовершенствованный RDF-граф 165.

[54]

[00048] В одном из иллюстративных примеров степень уверенности, связанная с определенным атрибутом, может зависеть от надежности отдельных продукционных правил, которые используются для получения этого атрибута. В одном из иллюстративных примеров конкретное правило может использовать шаблон высокого уровня абстракции, что может привести к ложно-положительной идентификации совпадения семантических поддеревьев. Например, правило может объявлять все сущности, связанные с дочерними семантическими классами семантического класса «Человек», прямо связанными с семантическим классом-предком, что может привести к ложно-положительному связыванию названия футбольной команды с классом «Человек». Поэтому степень уверенности, связанная с данным атрибутом, может быть снижена, если для получения атрибута было использовано определенное продукционное правило. В соответствии с одним или более аспектами настоящего изобретения такие продукционные правила и их вклад в степень уверенности атрибута могут быть определены путем использования методов машинного обучения, как будет более подробно описано ниже.

[55]

[00049] В другом иллюстративном примере на степень уверенности, связанную с данным атрибутом, может оказывать влияние многозначность определенных лексем, обнаруженных в тексте. Например, «serve» - лексема, относящаяся к нескольким семантическим классам, и правильное снятие семантической неоднозначности для нее возможно не всегда. Неправильное отнесение лексемы к семантическому классу может привести к ложно-положительной идентификации совпадения семантических поддеревьев. Таким образом, степень уверенности, связанная с данным атрибутом, может быть уменьшена, если в тексте на естественном языке будут обнаружены определенные семантические классы, граммемы, семантемы и (или) глубинные или поверхностные позиции. В соответствии с одним или более аспектами настоящего изобретения такие семантические классы и их вклад в степень уверенности атрибута могут быть определены путем использования методов машинного обучения, как будет более подробно описано ниже.

[56]

[00050] В другом иллюстративном примере одно и то же продукционное правило может применяться к объектам определенных семантических классов, их предкам или потомкам (так же как, например, при разрешении анафорических конструктов). Обычно применение продукционного правила к предку или потомку определенного семантического класса, а не к объекту, прямо ассоциируемому с этим семантическим классом, дает менее надежные результаты. В соответствии с одним или более аспектами настоящего изобретения такие семантические классы и их вклад в уровень уверенности атрибута могут быть определены путем использования методов машинного обучения, как будет более подробно описано ниже.

[57]

[00051] В другом иллюстративном примере на степень уверенности, связанную с данным атрибутом, могут влиять значения рейтинга одной или более семантических структур, полученных в результате синтактико-семантического анализа текста на естественном языке. В соответствии с одним или более аспектами настоящего изобретения влияние низких значений рейтинга на уровень уверенности атрибута может быть определено путем использования методов машинного обучения, как будет более подробно описано ниже в этом документе.

[58]

[00052] В другом иллюстративном примере текст на естественном языке может содержать множество ссылок на один и тот же информационный объект, и эти ссылки могут использовать различные лексемы (например, ссылаясь на человека по его полному имени, имени и (или) должности внутри организации). К этим языковым конструкциям можно применить одно или более правил идентификации, чтобы объединить указанные информационные объекты. Степень уверенности, связанная с определенным атрибутом, может зависеть от надежности отдельных правил идентификации, которые используются для получения этого атрибута. Например, правила идентификации, которые связывают несколько атрибутов объединяемых объектов, могут давать более надежные результаты по сравнению с правилами идентификации, которые относятся к меньшему количеству атрибутов.

[59]

[00053] В другом иллюстративном примере степень уверенности, связанная с атрибутом определенного объекта, может увеличиться, если указать, что группа объектов, включающая рассматриваемый объект и один или более связанных с ним объектов, совместно использует некоторые атрибуты. Например, если слово «Apple» связано с одним или более объектами, относящимися к информационным технологиям, уровень уверенности классификации этого слова как названия компании может быть увеличен.

[60]

[00054] Как было указано выше, степень уверенности, относящаяся ся к некоторому атрибуту, может быть определена путем вычисления функции уверенности, связанной с набором продукционных правил. В отдельных вариантах реализации изобретения функция уверенности может быть представлена посредством линейного классификатора, обученным на размеченной выборке и вычисляющего величину "расстояния" от информационного объекта до разделительной гиперплоскости в гиперпространстве признаков, связанных с набором продукционных правил, как схематически показано на Фиг. 2. В различных иллюстративных примерах признаки могут отражать не только указанные выше, но и другие аспекты процесса извлечения информации, указанного в блоке 140.

[61]

[00055] Фиг. 2 схематически иллюстрирует пример линейного классификатора, создающего разделительную гиперплоскость, представленную плоскостью 220 в гиперпространстве, которое представлено на рисунке двумерным пространством 207, задаваемом значениями F1 и F2, которые соответствуют признакам, связанным с набором продукционных правил. Таким образом, каждый объект может быть представлен точкой в двухмерном гиперпространстве 207, такой, что координаты точки соответствуют значениям F1 и F2 соответственно. Например, объект, имеющий значения признаков F1=f1 и F2=f2, может быть представлен точкой 201 с координатами (f1, f2).

[62]

[00056] Линейный классификатор может быть представлен функцией wT*x=b, где x - вектор, представляющий значения признаков объекта, w - вектор параметра, который вместе со значением b определяет границу решений. Таким образом, объект может ассоциироваться с определенным классом, если wT*x=b, а может не ассоциироваться с этим классом в противном случае. В иллюстративном примере на Фиг. 2 объекты 231 и 233 принадлежат к конкретному классу C, а объекты 211 и 213 не принадлежат к этому классу.

[63]

[00057] Значения параметров линейного классификатора (например, значения w и b) могут быть определены с помощью методов машинного обучения. В некоторых вариантах реализации изобретения набор данных для обучения, используемый в методах машинного обучения, может содержать один или более текстов на естественном языке, в которых для некоторых объектов указаны соответствующие значения атрибутов (например, в тексте указан концепт или класс онтологии для отдельных слов). На Фиг. 3 схематично показан фрагмент набора данных для обучения, содержащий текст на естественном языке, в котором подчеркнуты все ссылки на объекты класса Person. Таким образом, набор данных для обучения на Фиг. 3 можно использовать для определения степени уверенности соотнесения объектов текста с классом Person.

[64]

[00058] Вычислительная система может итеративно идентифицировать значения параметров линейного классификатора, которые оптимизируют выбранную целевую функцию (например, позволяют выбрать максимальное значение функции соответствия, равное числу текстов на естественном языке, которые можно правильно классифицировать, используя указанные значения параметров линейного классификатора).

[65]

[00059] В соответствии с одним или более аспектами настоящего изобретения расстояние между некоторым объектом и разделительной гиперплоскостью 220 в гиперпространстве 207, как показано на Фиг. 2, может определять степень уверенности, связанный с атрибутом объекта, который был идентифицирован в ходе процесса извлечения информации, описанного в блоке 140. В некоторых вариантах реализации изобретения степень уверенности может быть представлен значением сигмоидной функции от расстояния между объектом и разделительной гиперплоскостью, как схематически показано на Фиг. 4.

[66]

[00060] На Фиг. 1 видно, что в блоке 170 вычислительная система может верифицировать значения атрибутов, степень уверенности которых ниже определенного порога. В соответствии с одним или более аспектами реализации настоящего изобретения верификация может производиться с помощью графического интерфейса пользователя (GUI), используемого для получения ввода пользователя, подтверждающего или модифицирующего значение атрибута, как схематично показано на Фиг. 5. В иллюстративном примере на Фиг. 5 GUI используется для вывода фрагмента текста на естественном языке с выделением слов, относящихся к информационным объектам, которые в ходе процесса извлечения информации, проводимого в блоке 140, были связаны с определенным классом (например, Person). Слова, степень уверенности которых ниже определенной границы, в данном примере выделяются и заключаются в ограничивающий прямоугольник. GUI может использоваться для выделения пользователем отдельного слова (например, исходя из текущего положения курсора) и последующего получения ввода пользователя, подтверждающего или отменяющего связь слова с семантическим классом.

[67]

[00061] В некоторых реализациях изобретения необходимый порог степени уверенности может выбираться пользователем с помощью ползунка GUI. Кроме того, граница степени уверенности может автоматически устанавливаться вычислительной системой и может, например, увеличиваться в один или более раз после получения указания пользователя о завершении процесса верификации при достигнутой степени уверенности. Поскольку основное количество ошибок предварительно обнаруживается при невысокой степени уверенности, по мере повышения степени уверенности количество ошибок будет уменьшаться, и пользователь может закончить процесс верификации, когда соотношение количества ошибок и количества правильно определенных атрибутов будет достаточным, чтобы удовлетворить пользователя.

[68]

[00062] В некоторых вариантах реализации вычислительная система может определять долю обнаруживаемых ошибок (то есть отношение числа неправильно определенных атрибутов к общему количеству атрибутов, степень уверенности которых ниже установленного порога). Это отношение можно использовать для определения объема работ по верификации для данного текста при заданном предельном уровне степени уверенности и (или) объема работ по верификации для данного текста для исправления как минимум указанной доли неправильно определенных атрибутов.

[69]

[00063] В ответ на получение сообщений пользователя о завершении процесса верификации вычислительная система может создать верифицированный RDF-граф 180, соответствующий тексту 110 на естественном языке.

[70]

[00064] В некоторых вариантах реализации тексты на естественном языке с верифицированными пользователем атрибутами могут добавляться к обучающей выборке. В результате после каждой новой итерации точность классификатора будет повышаться, увеличивая таким образом долю правильно определенных атрибутов со степенью уверенности ниже указанной границы в общем количестве объектов текста на естественном языке.

[71]

[00065] В некоторых вариантах реализации онтология, включающая итоговый RDF-граф 180, может использоваться для выполнения различных задач обработки естественного языка, таких как машинный перевод, семантический поиск, классификация документов и т.д.

[72]

[00066] На Фиг. 6 приведена блок-схема одного иллюстративного примера реализации способа 200 для выполнения семантико-синтаксического анализа предложения на естественном языке 212 в соответствии с одним или несколькими аспектами настоящего изобретения. Способ 200 может быть применен к одной или более синтаксическим единицам (например, предложениям), включенным в определенный текстовый корпус, для формирования множества семантико-синтаксических деревьев, соответствующих синтаксическим единицам. В различных иллюстративных примерах подлежащие обработке способом 200 предложения на естественном языке могут извлекаться из одного или нескольких электронных документов, которые могут создаваться путем сканирования (или другим способом получения изображений бумажных документов) и оптического распознавания символов (OCR) для получения текстов, соответствующих этим документам. Предложения на естественном языке также могут извлекаться из других различных источников, включая сообщения, отправляемые по электронной почте, тексты из социальных сетей, файлы с цифровым содержимым, обработанные с использованием способов распознавания речи и т.д.

[73]

[00067] В блоке 214 вычислительное устройство, реализующее данный способ, может проводить лексико-морфологический анализ предложения 212 для установления морфологических значений слов, входящих в состав предложения. В настоящем документе "морфологическое значение" слова означает одну или несколько лемм (т.е. канонических или словарных форм), соответствующих слову, и соответствующий набор значений грамматических признаков, которые определяют грамматическое значение слова. В число таких грамматических признаков могут входить лексическая категория (часть речи) слова и один или более морфологических и грамматических признаков (например, падеж, род, число, спряжение и т.д.). Ввиду омонимии и (или) совпадающих грамматических форм, соответствующих разным лексико-морфологическим значениям определенного слова, для данного слова может быть установлено два или более морфологических значений. Более подробное описание иллюстративного примера проведения лексико-морфологического анализа предложения приведено ниже в настоящем документе со ссылкой на Фиг. 7.

[74]

[00068] В блоке 215 вычислительное устройство может проводить грубый синтаксический анализ предложения 212. Грубый синтаксический анализ может включать применение одной или нескольких синтаксических моделей, которые могут быть соотнесены с элементами предложения 212, с последующим установлением поверхностных (т.е. синтаксических) связей в рамках предложения 212 для получения графа обобщенных составляющих. В настоящем документе "составляющая" означает группу соседних слов исходного предложения, функционирующую как одна грамматическая сущность. Составляющая включает в себя ядро в виде одного или более слов и может также включать одну или несколько дочерних составляющих на более низких уровнях. Дочерняя составляющая является зависимой составляющей, которая может быть соотнесена с одной или несколькими родительскими составляющими.

[75]

[00069] В блоке 216 вычислительное устройство может проводить точный синтаксический анализ предложения 212 для формирования одного или более синтаксических деревьев предложения. Среди различных синтаксических деревьев на основе определенной функции оценки с учетом совместимости лексических значений слов исходного предложения, поверхностных отношений, глубинных отношений и т.д. может быть отобрано одно или несколько лучших синтаксических деревьев, соответствующих предложению 212.

[76]

[00070] В блоке 217 вычислительное устройство может обрабатывать синтаксические деревья для формирования семантической структуры 218, соответствующей предложению 212. Семантическая структура 218 может включать множество узлов, соответствующих семантическим классам и также может включать множество дуг, соответствующих семантическим отношениям (более подробное описание см. ниже в настоящем документе).

[77]

[00071] Фиг. 7 схематически иллюстрирует пример лексико-морфологической структуры предложения в соответствии с одним или более аспектами настоящего изобретения. Пример лексико-морфологической структуры 300 может включать множество пар "лексическое значение - грамматическое значение" для примера предложения. В качестве иллюстративного примера, "ll" может быть соотнесено с лексическим значением "shall" 312 и "will" 314. Грамматическим значением, соотнесенным с лексическим значением 312, является <Verb, GTVerbModal, ZeroType, Present, Nonnegative, Composite II>. Грамматическим значением, соотнесенным с лексическим значением 314, является <Verb, GTVerbModal, ZeroType, Present, Nonnegative, Irregular, Composite II>.

[78]

[00072] Фиг. 8 схематически иллюстрирует используемые языковые описания 210, в том числе морфологические описания 201, лексические описания 203, синтаксические описания 202 и семантические описания 204, а также отношения между ними. Среди них морфологические описания 201, лексические описания 203 и синтаксические описания 202 зависят от языка. Набор языковых описаний 210 представляет собой модель определенного естественного языка.

[79]

[00073] В качестве иллюстративного примера определенное лексическое значение в лексических описаниях 203 может быть соотнесено с одной или несколькими поверхностными моделями синтаксических описаний 202, соответствующих данному лексическому значению. Определенная поверхностная модель синтаксических описаний 202 может быть соотнесена с глубинной моделью семантических описаний 204.

[80]

[00074] На Фиг. 9 схематически иллюстрируются несколько примеров морфологических описаний. В число компонентов морфологических описаний 201 могут входить: описания словоизменения 310, грамматическая система 320, описания словообразования 330 и другие. Грамматическая система 320 включает набор грамматических категорий, таких как часть речи, падеж, род, число, лицо, возвратность, время, вид и их значения (так называемые "граммемы"), в том числе, например, прилагательное, существительное или глагол; именительный, винительный или родительный падеж; женский, мужской или средний род и т.д. Соответствующие граммемы могут использоваться для составления описания словоизменения 310 и описания словообразования 330.

[81]

[00075] Описание словоизменения 310 определяет формы данного слова в зависимости от его грамматических категорий (например, падеж, род, число, время и т.д.) и в широком смысле включает в себя или описывает различные возможные формы слова. Описание словообразования 330 определяет, какие новые слова могут быть образованы от данного слова (например, сложные слова).

[82]

[00076] В соответствии с одним из аспектов настоящего изобретения при установлении синтаксических отношений между элементами исходного предложения могут использоваться модели составляющих. Составляющая представляет собой группу соседних слов в предложении, ведущих себя как единое целое. Ядром составляющей является слово, она также может содержать дочерние составляющие более низких уровней. Дочерняя составляющая является зависимой составляющей и может быть прикреплена к другим составляющим (родительским) для построения синтаксических описаний 202 исходного предложения.

[83]

[00077] На Фиг. 10 приведены примеры синтаксических описаний. В число компонентов синтаксических описаний 202 могут входить, среди прочего, поверхностные модели 410, описания поверхностных позиций 420, описание референциального и структурного контроля 456, описание управления и согласования 440, описание недревесного синтаксиса 450 и правила анализа 460. Синтаксические описания 202 могут использоваться для построения возможных синтаксических структур исходного предложения на заданном естественном языке с учетом свободного линейного порядка слов, недревесных синтаксических явлений (например, согласование, эллипсис и т.д.), референциальных отношений и других факторов.

[84]

[00078] Поверхностные модели 410 могут быть представлены в виде совокупностей одной или нескольких синтаксических форм («синтформ» 412) для описания возможных синтаксических структур предложений, входящих в состав синтаксического описания 202. В целом, лексическое значение слова на естественном языке может быть связано с поверхностными (синтаксическими) моделями 410. Поверхностная модель может представлять собой составляющие, которые возможны, если лексическое значение выступает в роли "ядра". Поверхностная модель может включать набор поверхностных позиций дочерних элементов, описание линейного порядка и (или) диатезу. В настоящем документе "диатеза" означает определенное отношение между поверхностными и глубинными позициями и их семантическими ролями, выражаемыми посредством глубинных позиций. Например, диатеза может быть выражаться залогом глагола: если субъект является агентом действия, глагол в активном залоге, а когда субъект является направлением действия, это выражается пассивным залогом глагола.

[85]

[00079] В модели составляющих может использоваться множество поверхностных позиций 415 дочерних составляющих и описаний их линейного порядка 416 для описания грамматических значений 414 возможных заполнителей этих поверхностных позиций. Диатезы 417 представляют собой соответствия между поверхностными позициями 415 и глубинными позициями 514 (как показано на Фиг. 12). Коммуникативные описания 480 описывают коммуникативный порядок в предложении.

[86]

[00080] Описание линейного порядка (416) может быть представлено в виде выражений линейного порядка, отражающих последовательность, в которой различные поверхностные позиции (415) могут встречаться в предложении. В число выражений линейного порядка могут входить наименования переменных, имена поверхностных позиций, круглые скобки, граммемы, оператор «or» (или) и т.д. В качестве иллюстративного примера описание линейного порядка простого предложения "Boys play football" можно представить в виде "Subject Core Object_Direct" (Подлежащее - Ядро - Прямое дополнение), где Subject (Подлежащее), Core (Ядро) и Object_Direct (Прямое дополнение) представляют собой имена поверхностных позиций 415, соответствующих порядку слов.

[87]

[00081] Коммуникативные описания 480 могут описывать порядок слов в синтформе 412 с точки зрения коммуникативных актов, представленных в виде коммуникативных выражений порядка, которые похожи на выражения линейного порядка. Описания управления и согласования 440 может включать правила и ограничения на грамматические значения присоединяемых составляющих, которые используются во время синтаксического анализа.

[88]

[00082] Описания недревесного синтаксиса 450 могут создаваться для отражения различных языковых явлений, таких как эллипсис и согласование, они используются при трансформациях синтаксических структур, которые создаются на различных этапах анализа в различных вариантах реализации изобретения. Описания недревесного синтаксиса 450 могут, среди прочего, включать описание эллипсиса 452, описания согласования 454, а также описания референциального и структурного контроля 430.

[89]

[00083] Правила анализа 460 могут описывать свойства конкретного языка и использоваться в рамках семантического анализа. Правила анализа 460 могут включать правила вычисления семантем 462 и правила нормализации 464. Правила нормализации 464 могут использоваться для описания трансформаций семантических структур, которые могут отличаться в разных языках.

[90]

[00084] На Фиг. 11 приведен пример семантических описаний. Компоненты семантических описаний 204 не зависят от языка и могут, среди прочего, включать семантическую иерархию 510, описания глубинных позиций 520, систему семантем 530 и прагматические описания 540.

[91]

[00085] Ядро семантических описаний может быть представлено семантической иерархией 510, в которую могут входить семантические понятия (семантические сущности), также называемые семантическими классами. Последние могут быть упорядочены в иерархическую структуру, отражающую отношения "родитель-потомок". В целом, дочерний семантический класс может унаследовать одно или более свойств своего прямого родителя и других семантических классов-предков. В качестве иллюстративного примера семантический класс SUBSTANCE (Вещество) является дочерним семантическим классом класса ENTITY (Сущность) и родительским семантическим классом для классов GAS, (Газ), LIQUID (Жидкость), METAL (Металл), WOOD MATERIAL (Древесина) и т.д.

[92]

[00086] Каждый семантический класс в семантической иерархии 510 может сопровождаться глубинной моделью 512. Глубинная модель 512 семантического класса может включать множество глубинных позиций 514, которые могут отражать семантические роли дочерних составляющих в различных предложениях с объектами данного семантического класса в качестве ядра родительской составляющей. Глубинная модель 512 также может включать возможные семантические классы, выступающие в роли заполнителей глубинных позиций. Глубинные позиции (514) могут выражать семантические отношения, в том числе, например, "agent" (агенс), "addressee" (адресат), "instrument" (инструмент), "quantity" (количество) и т.д. Дочерний семантический класс может наследовать и уточнять глубинную модель своего непосредственного родительского семантического класса.

[93]

[00087] Описания глубинных позиций 520 отражают семантические роли дочерних составляющих в глубинных моделях 512 и могут использоваться для описания общих свойств глубинных позиций 514. Описания глубинных позиций 520 также могут содержать грамматические и семантические ограничения в отношении заполнителей глубинных позиций 514. Свойства и ограничения, связанные с глубинными позициями 514 и их возможными заполнителями в различных языках, могут быть в значительной степени подобными и зачастую идентичными. Таким образом, глубинные позиции 514 не зависят от языка.

[94]

[00088] Система семантем 530 может представлять собой множество семантических категорий и семантем, которые представляют значения семантических категорий. В качестве иллюстративного примера семантическая категория "DegreeOfComparison" (Степень сравнения) может использоваться для описания степени сравнения прилагательных и включать следующие семантемы: "Positive" (Положительная), "ComparativeHigherDegree" (Сравнительная степень сравнения), "SuperlativeHighestDegree" (Превосходная степень сравнения) и другие. В качестве еще одного иллюстративного примера семантическая категория "RelationToReferencePoint" (Отношение к точке) может использоваться для описания порядка (пространственного или временного в широком смысле анализируемых слов), как, например, до или после точки или события, и включать семантемы "Previous" (Предыдущий) и "Subsequent" (Последующий). В качестве еще одного иллюстративного примера семантическая категория "EvaluationObjective" (Оценка) может использоваться для описания объективной оценки, как, например, "Bad" (Плохой), "Good" (Хороший) и т.д.

[95]

[00089] Система семантем 530 может включать независимые от языка семантические атрибуты, которые могут выражать не только семантические характеристики, но и стилистические, прагматические и коммуникативные характеристики. Некоторые семантемы могут использоваться для выражения атомарного значения, которое находит регулярное грамматическое и (или) лексическое выражение в естественном языке. По своему целевому назначению и использованию системы семантем могут разделяться на категории, например, грамматические семантемы 532, лексические семантемы 534 и классифицирующие грамматические (дифференцирующие) семантемы 536.

[96]

[00090] Грамматические семантемы 532 могут использоваться для описания грамматических свойств составляющих при преобразовании синтаксического дерева в семантическую структуру. Лексические семантемы 534 могут описывать конкретные свойства объектов (например, "being flat" (быть плоским) или "being liquid" (являться жидкостью)) и использоваться в описаниях глубинных позиций 520 как ограничение заполнителей глубинных позиций (например, для глаголов "face (with)" (облицовывать) и "flood" (заливать), соответственно). Классифицирующие грамматические (дифференцирующие) семантемы 536 могут выражать дифференциальные свойства объектов внутри одного семантического класса. В качестве иллюстративного примера в семантическом классе HAIRDRESSER (ПАРИКМАХЕР) семантема «RelatedToMen» (Относится к мужчинам) присваивается лексическому значению "barber" в отличие от других лексических значений, которые также относятся к этому классу, например, «hairdresser», «hairstylist» и т.д. Используя данные независимые от языка семантические свойства, которые могут быть выражены в виде элементов семантического описания, в том числе семантических классов, глубинных позиций и семантем, можно извлекать семантическую информацию в соответствии с одним или более аспектами настоящего изобретения.

[97]

[00091] Прагматические описания 540 позволяют назначать определенную тему, стиль или жанр текстам и объектам семантической иерархии 510 (например, «Экономическая политика», «Внешняя политика», «Юриспруденция», «Законодательство», «Торговля», «Финансы» и т.д.). Прагматические свойства также могут выражаться семантемами. В качестве иллюстративного примера прагматический контекст может приниматься во внимание при семантическом анализе.

[98]

[00092] На Фиг. 12 приведен пример лексических описаний. Лексические описания (203) представляют собой множество лексических значений 612 конкретного естественного языка. Для каждого лексического значения 612 имеется связь 602 с его независимым от языка семантическим родителем для того, чтобы указать положение какого-либо заданного лексического значения в семантической иерархии 510.

[99]

[00093] Лексическое значение 612 в лексико-семантической иерархии 510 может быть соотнесено с поверхностной моделью 410, которая в свою очередь через одну или несколько диатез 417 может быть соотнесена с соответствующей глубинной моделью 512. Лексическое значение 612 может наследовать семантический класс своего родителя и уточнять свою глубинную модель 512.

[100]

[00094] Поверхностная модель 410 лексического значения может включать одну или несколько синтаксических форм 412. Синтформа 412 поверхностной модели 410 может включать одну или несколько поверхностных позиций 415, в том числе соответствующие описания их линейного порядка 416, одно или несколько грамматических значений 414, выраженных в виде набора грамматических категорий (граммем), одно или несколько семантических ограничений, соотнесенных с заполнителями поверхностных позиций, и одну или несколько диатез 417. Семантические ограничения, соотнесенные с определенным заполнителем поверхностной позиции, могут быть представлены в виде одного или более семантических классов, объекты которых могут заполнить эту поверхностную позицию.

[101]

[00095] На Фиг. 13 схематически иллюстрируются примеры структур данных, которые могут быть использованы в рамках одного или более методов настоящего изобретения. Снова ссылаясь на Фиг. 6, в блоке 214 вычислительное устройство, реализующее данный способ, может проводить лексико-морфологический анализ предложения 212 для построения лексико-морфологической структуры 722 согласно Фиг. 13. Лексико-морфологическая структура 722 может включать множество соответствий лексического и грамматического значений для каждой лексической единицы (например, слова) исходного предложения. Фиг. 7 схематически иллюстрирует пример лексико-морфологической структуры.

[102]

[00096] Снова возвращаясь к Фиг. 6, в блоке 215 вычислительное устройство может проводить грубый синтаксический анализ исходного предложения 212 для построения графа обобщенных составляющих 732 согласно Фиг. 13. Грубый синтаксический анализ предполагает применение одной или нескольких возможных синтаксических моделей возможных лексических значений к каждому элементу множества элементов лексико-морфологической структуры 722, с тем чтобы установить множество потенциальных синтаксических отношений в составе исходного предложения 212, представленных графом обобщенных составляющих 732.

[103]

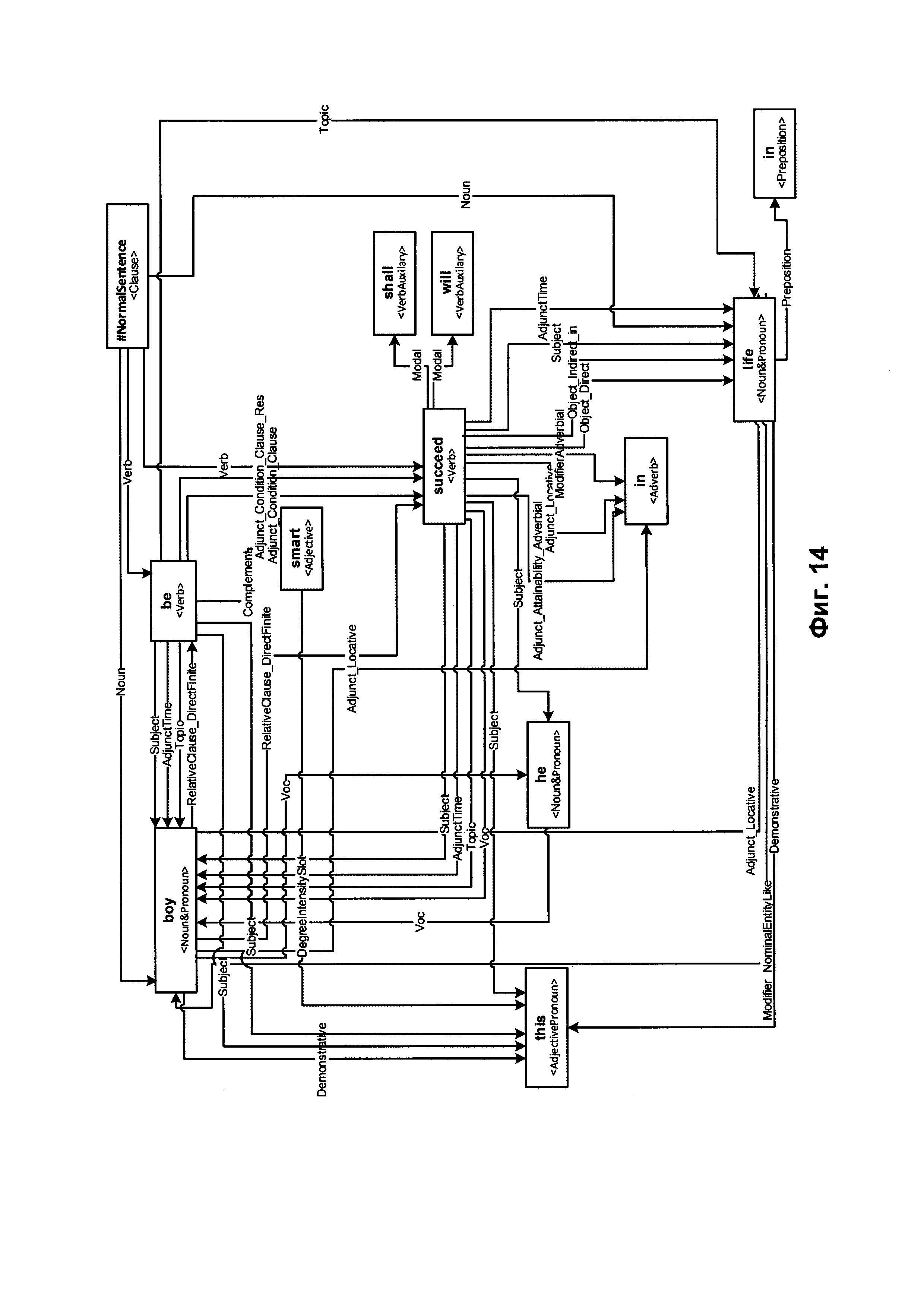
[00097] Граф обобщенных составляющих 732 может быть представлен ациклическим графом, включающим множество узлов, соответствующих обобщенным составляющим исходного предложения 212 и включающим множество дуг, соответствующих поверхностным (синтаксическим) позициям, которые могут выражать различные типы отношений между обобщенными лексическими значениями. В рамках данного способа может применяться множество потенциально применимых синтаксических моделей для каждого элемента множества элементов лексико-морфологических структур исходного предложения 212 для формирования набора составляющих исходного предложения 212. Затем в рамках способа может рассматриваться множество возможных составляющих исходного предложения 212 для построения графа обобщенных составляющих 732 на основе набора составляющих. Граф обобщенных составляющих 732 на уровне поверхностной модели может отражать множество потенциальных связей между словами исходного предложения 212. Поскольку количество возможных синтаксических структур может быть относительно большим, граф обобщенных составляющих 732 может, в общем случае, включать избыточную информацию, в том числе относительно большое число лексических значений по определенным узлам и (или) поверхностных позиций по определенным дугам графа.

[104]

[00098] Граф обобщенных составляющих 732 может изначально строиться в виде дерева, начиная с концевых узлов (листьев) и двигаясь далее к корню, путем добавления дочерних составляющих, заполняющих поверхностные позиции 415 множества родительских составляющих, с тем чтобы были охвачены все лексические единицы исходного предложения 212.

[105]

[00099] В некоторых вариантах осуществления корень графа обобщенных составляющих 732 представляет собой предикат. В ходе описанного выше процесса дерево может стать графом, так как определенные составляющие более низкого уровня могут быть включены в одну или несколько составляющих верхнего уровня. Множество составляющих, которые представляют определенные элементы лексико-морфологической структуры, затем может быть обобщено для получения обобщенных составляющих. Составляющие могут быть обобщены на основе их лексических значений или грамматических значений 414, например, на основе частей речи и отношений между ними. На Фиг. 14 схематически иллюстрируется пример графа обобщенных составляющих.

[106]

[000100] В блоке 216 вычислительное устройство может проводить точный синтаксический анализ предложения 212 для формирования одного или более синтаксических деревьев 742 согласно Фиг. 13 на основе графа обобщенных составляющих 732. Для каждого синтаксического дерева вычислительное устройство может определить интегральную оценку на основе априорных и вычисляемых оценок. Дерево с наилучшей оценкой может быть выбрано для построения наилучшей синтаксической структуры 746 исходного предложения 212.

[107]

[000101] В ходе построения синтаксической структуры 746 на основе выбранного синтаксического дерева вычислительное устройство может установить одну или несколько недревесных связей (например, путем создания дополнительной связи среди, как минимум, двух узлов графа). Если этот процесс заканчивается неудачей, вычислительное устройство может выбрать синтаксическое дерево с условно оптимальной оценкой, наиболее близкой к оптимальной, и производится попытка установить одну или несколько недревесных связей в дереве. Наконец, в результате точного синтаксического анализа создается синтаксическая структура 746, которая представляет собой лучшую синтаксическую структуру, соответствующую исходному предложению 212. Фактически в результате отбора лучшей синтаксической структуры 746 определяются лучшие лексические значения 240 для элементов исходного предложения 212.

[108]

[000102] В блоке 217 вычислительное устройство может обрабатывать синтаксические деревья для формирования семантической структуры 218, соответствующей предложению 212. Семантическая структура 218 может отражать передаваемую исходным предложением семантику в независимых от языка терминах. Семантическая структура 218 может быть представлена в виде ациклического графа (например, дерево, возможно, дополненное одной или более недревесной связью (дугой графа). Слова исходного предложения представлены узлами с соответствующими независимыми от языка семантическими классами семантической иерархии 510. Дуги графа представляют глубинные (семантические) отношения между элементами предложения. Переход к семантической структуре 218 может осуществляться с помощью правил анализа 460 и предполагает соотнесение одного или более атрибутов (отражающих лексические, синтаксические и (или) семантические свойства слов исходного предложения 212) с каждым семантическим классом.

[109]

[000103] На Фиг. 15 приводится пример синтаксической структуры предложения, сгенерированной из графа обобщенных составляющих, показанного на Фиг. 14. Узел 901 соответствует лексическому элементу "life" (жизнь) 906. Применяя способ описанного в настоящем документе синтактико-семантического анализа, вычислительное устройство может установить, что лексический элемент "life" (жизнь) 906 представляет одну из форм лексического значения, соотнесенного с семантическим классом "LIVE" (ЖИТЬ) 904 и заполняет поверхностную позицию $Adjunct_Locative 905) в родительской составляющей, представленной управляющим узлом Verb:succeed:succeed:TO_SUCCEED (907).

[110]

[000104] На Фиг. 16 приводится семантическая структура, соответствующая синтаксической структуре на Фиг. 15. В отношении вышеупомянутого лексического элемента "life" (жизнь) (906) на Фиг. 15 семантическая структура включает лексический класс 1010 и семантический класс 1030, соответствующие представленным на Фиг. 15, однако вместо поверхностной позиции (905) семантическая структура включает глубинную позицию "Sphere" (сфера_деятельности) 1020.

[111]

[000105] Как отмечено выше в настоящем документе, в качестве "онтологии" может выступать модель, которая представляет собой объекты, относящиеся к определенной области знаний (предметной области), и отношения между данными объектами. Таким образом, онтология отличается от семантической иерархии, несмотря на то что она может быть соотнесена с элементами семантической иерархии через определенные отношения (также называемые "якоря"). Онтология может включать определения некого множества классов, где каждый класс соответствует концепту предметной области. Каждое определение класса может включать определения одного или более отнесенных к данному классу объектов. Согласно общепринятой терминологии класс онтологии может также означать концепт, а принадлежащий классу объект может означать экземпляр данного концепта.

[112]

[000106] В соответствии с одним или несколькими аспектами настоящего изобретения вычислительное устройство, в котором реализованы описанные в настоящем описании способы, может индексировать один или несколько параметров, полученных в результате семантико-синтаксического анализа. Таким образом, способы настоящего изобретения позволяют рассматривать не только множество слов в составе исходного текстового корпуса, но и множество лексических значений этих слов, сохраняя и индексируя всю синтаксическую и семантическую информацию, полученную в ходе синтаксического и семантического анализа каждого предложения исходного текстового корпуса. Такая информация может дополнительно включать данные, полученные в ходе промежуточных этапов анализа, а также результаты лексического выбора, в том числе результаты, полученные в ходе разрешения неоднозначностей, вызванных омонимией и (или) совпадающими грамматическими формами, соответствующими различным лексико-морфологическим значениям некоторых слов исходного языка.

[113]

[000107] Для каждой семантической структуры можно создать один или несколько индексов. Индекс можно представить в виде структуры данных в памяти, например, в виде таблицы, состоящей из нескольких записей. Каждая запись может представлять собой установление соответствия между определенным элементом семантической структуры (например, одно слово или несколько слов, синтаксическое отношение, морфологическое, синтаксическое или семантическое свойство или синтаксическая или семантическая структура) и одним или несколькими идентификаторами (или адресами) случаев употребления данного элемента семантической структуры в исходном тексте.

[114]

[000108] В некоторых вариантах осуществления индекс может включать одно или несколько значений морфологических, синтаксических, лексических и (или) семантических параметров. Эти значения могут создаваться в процессе двухэтапного семантического анализа (более подробное описание см. в настоящем документе). Индекс можно использовать для выполнения различных задач обработки естественного языка, в том числе для выполнения семантического поиска.

[115]

[000109] Вычислительное устройство, реализующее данный способ, может извлекать широкий спектр лексических, грамматических, синтаксических, прагматических и (или) семантических характеристик в ходе проведения синтактико-семантического анализа и создания семантических структур. В иллюстративном примере система может извлекать и сохранять определенную лексическую информацию, данные о принадлежности определенных лексических единиц семантическим классам, информацию о грамматических формах и линейном порядке, информацию об использовании определенных форм, аспектов, тональности (например, положительной или отрицательной), глубинных позиций, недревесных связей, семантем и т.д.

[116]

[000110] Вычислительное устройство, в котором реализованы описанные здесь способы, может производить анализ, используя один или несколько описанных в этом документе способов анализа текста, и индексировать любой один или несколько параметров описаний языка, включая лексические значения, семантические классы, граммемы, семантемы и т.д. Индексацию семантического класса можно использовать в различных задачах обработки естественного языка, включая семантический поиск, классификацию, кластеризацию, фильтрацию текста и т.д. Индексация лексических значений (вместо индексации слов) позволяет искать не только слова и формы слов, но и лексические значения, т.е. слова, имеющие определенные лексические значения. Вычислительное устройство, реализующее способы настоящего изобретения, также может хранить и индексировать синтаксические и семантические структуры, созданные одним или несколькими описанными в настоящем документе способами анализа текста, для использования данных структур и (или) индексов при проведении семантического поиска, классификации, кластеризации и фильтрации документов.

[117]

[000111] На Фиг. 17 показан иллюстративный приме вычислительного устройства (1000), которое может исполнять набор команд, которые вызывают выполнение вычислительным устройством любого отдельно взятого или нескольких способов настоящего изобретения. Вычислительное устройство может подключаться к другому вычислительному устройству по локальной сети, корпоративной сети, сети экстранет или сети Интернет. Вычислительное устройство может работать в качестве сервера или клиентского вычислительного устройства в сетевой среде "клиент/сервер" либо в качестве однорангового вычислительного устройства в одноранговой (или распределенной) сетевой среде. Вычислительное устройство может быть представлено персональным компьютером (ПК), планшетным ПК, телевизионной приставкой (STB), карманным ПК (PDA), сотовым телефоном или любым вычислительным устройством, способным выполнять набор команд (последовательно или иным образом), определяющих операции, которые должны быть выполнены этим вычислительным устройством. Кроме того, в то время как показано только одно вычислительное устройство, следует принять, что термин «вычислительное устройство» также может включать любую совокупность вычислительных устройств, которые отдельно или совместно выполняют набор (или несколько наборов) команд для выполнения одной или нескольких методик, описанных в настоящем документе.

[118]

[000112] Пример вычислительного устройства (1000) включает процессор (502), основную память (504) {например, постоянное запоминающее устройство (ПЗУ) или динамическую оперативную память (DRAM)) и устройство хранения данных (518), которые взаимодействуют друг с другом по шине (530).

[119]

[000113] Процессор (502) может быть представлен одним или более универсальными вычислительными устройствами, например, микропроцессором, центральным процессором и т.д. В частности, процессор (502) может представлять собой микропроцессор с полным набором команд (CISC), микропроцессор с сокращенным набором команд (RISC), микропроцессор с командными словами сверхбольшой длины (VLTW), процессор, реализующий другой набор команд, или процессоры, реализующие комбинацию наборов команд. Процессор (502) также может представлять собой одно или несколько вычислительных устройств специального назначения, например, заказную интегральную микросхему (ASIC), программируемую пользователем вентильную матрицу (FPGA), процессор цифровых сигналов (DSP), сетевой процессор и т.п. Процессор (502) настроен на выполнение команд (526) для осуществления рассмотренных в настоящем документе операций и функций.

[120]

[000114] Вычислительное устройство (1000) может дополнительно включать устройство сетевого интерфейса (522), устройство визуального отображения (510), устройство ввода символов (512) (например, клавиатуру), и устройство ввода - сенсорный экран (514).

[121]

[000115] Устройство хранения данных (518) может содержать машиночитаемый носитель данных (524), в котором хранится один или более наборов команд (526), и в котором реализован один или более из методов или функций настоящего изобретения. Команды (526) также могут находиться полностью или по меньшей мере частично в основной памяти (504) и/или в процессоре (502) во время выполнения их в вычислительном устройстве (1000), при этом оперативная память (504) и процессор (502) также составляют машиночитаемый носитель данных. Команды (526) дополнительно могут передаваться или приниматься по сети (516) через устройство сетевого интерфейса (522).

[122]

[000116] В некоторых вариантах осуществления команды (526) могут включать в себя команды способа (100) классификации текстов на естественном языке yf на основе семантических признаков и/или способа вычисления параметров модели классификации. В то время как машиночитаемый носитель данных (524), показанный на примере на Фиг. 15, является единым носителем, термин «машиночитаемый носитель» должен включать один носитель или несколько носителей (например, централизованную или распределенную базу данных, и/или соответствующие кэши и серверы), в которых хранится один или более наборов команд. Термин "машиночитаемый носитель данных" также следует рассматривать как термин, включающий любой носитель, который способен хранить, кодировать или переносить набор команд для выполнения машиной, который заставляет эту машину выполнять любую одну или несколько из методик, описанных в настоящем раскрытии изобретения. Таким образом, термин «машиночитаемый носитель данных», помимо прочего, также относится к твердотельной памяти и оптическим и магнитным носителям.

[123]

[000117] Описанные в документе способы, компоненты и функции могут быть реализованы дискретными аппаратными компонентами, либо они могут быть интегрированы в функции других аппаратных компонентов, таких как ASICS, FPGA, DSP или подобных устройств. Кроме того, способы, компоненты и функции могут быть реализованы с помощью модулей встроенного программного обеспечения или функциональных схем аппаратных устройств. Способы, компоненты и функции также могут быть реализованы с помощью любой комбинации вычислительных средств и программных компонентов, либо исключительно с помощью программного обеспечения.

[124]

[000118] В приведенном выше описании изложены многочисленные детали. Однако специалисту в этой области техники благодаря этому описанию очевидно, что настоящее изобретение может быть реализовано на практике без этих конкретных деталей. В некоторых случаях хорошо известные структуры и устройства показаны в виде блок-схемы, а не детально, чтобы не усложнять описание настоящего изобретения.

[125]

[000119] Некоторые части описания предпочтительных вариантов реализации представлены в виде алгоритмов и символического представления операций с битами данных в памяти компьютера. Такие описания и представления алгоритмов представляют собой средства, используемые специалистами в области обработки данных, чтобы наиболее эффективно передавать сущность своей работы другим специалистам в данной области. В настоящем документе и в целом алгоритмом называется самосогласованная последовательность операций, приводящих к требуемому результату. Операции требуют физических манипуляций с физическими величинами. Обычно, хотя и не обязательно, эти величины принимают форму электрических или магнитных сигналов, которые можно хранить, передавать, комбинировать, сравнивать и подвергать другим манипуляциям. Оказалось, что прежде всего для обычного использования удобно описывать эти сигналы в виде битов, значений, элементов, символов, членов, цифр и т.д.

[126]

[000120] Однако следует иметь в виду, что все эти и подобные термины должны быть связаны с соответствующими физическими величинами, и что они представляют собой просто удобные метки, применяемые к этим величинам. Если иное специально и недвусмысленно не указано в нижеследующем обсуждении, следует принимать, что везде по тексту такие термины как "определение", "вычисление", "расчет", "вычисление", "получение", "установление", "изменение" и т.п., относятся к действиям и процессам вычислительного устройства или аналогичного электронного вычислительного устройства, которое работает с данными и преобразует данные, представленные в виде физических (например, электронных) величин в регистрах и памяти вычислительного устройства, в другие данные, аналогичным образом представленные в виде физических величин в памяти или регистрах вычислительного устройства, либо других подобных устройствах хранения, передачи или отображения информации.

[127]

[000121] Настоящее изобретение также относится к устройству для выполнения операций, описанных в настоящем документе. Такое устройство может быть специально сконструировано для требуемых целей или оно может содержать универсальный компьютер, который избирательно активируется или реконфигурируется с помощью компьютерной программы, хранящейся в компьютере. Такая компьютерная программа может храниться на машиночитаемом носителе данных, таком как, в числе прочих, диск любого рода, в том числе дискеты, оптические диски, компакт-диски, магнитно-оптические диски, постоянные запоминающие устройства (ПЗУ), оперативные запоминающие устройства (ОЗУ), СППЗУ, ЭППЗУ, магнитные или оптические карты и другие виды носителей данных, подходящие для хранения электронных команд.

[128]

[000122] Следует понимать, что вышеприведенное описание носит иллюстративный, а не ограничительный характер. Различные другие варианты осуществления станут очевидны специалистам в данной области техники после прочтения и понимания приведенного выше описания. Поэтому объем раскрытия должен определяться со ссылкой на прилагаемую формулу изобретения наряду с полным объемом эквивалентов, на которые такие требования предоставляют право.

Как компенсировать расходы
на инновационную разработку
Похожие патенты