Изобретение относится к ракетной технике и может найти применение в конструкциях систем разделения объектов летательных аппаратов (ЛА), где требуется снижение ударных нагрузок и импульса от действия средства разделения на точность выведения конечных ступеней объекта, в частности в заднем узле крепления разгонных блоков крылатых ракет. Узел стыковки разделяемых объектов ЛА содержит корпус с фиксаторами для крепления отделяемого элемента по сферической поверхности. Каждый фиксатор представляет собой гильзу, содержащую плунжер-упор, удерживаемый в гильзе шариковым замком. Плунжер-упор базируется в гильзе по сопрягаемым диаметрам, образующим дифференциальную площадь привода снятия фиксации узла стыковки разделяемых объектов. Срабатывание фиксаторов обеспечивается одновременной подачей давления в шариковые замки, которые освобождают плунжеры-упоры. Разделение объектов осуществляется перемещением плунжеров-упоров. Технический результат - надежная стыковка объектов ЛА без напряжений от допускаемых и возможных отклонений стыкуемых объектов. 2 ил.
Узел стыковки разделяемых объектов летательного аппарата, содержащий корпус с фиксаторами для крепления отделяемого элемента по сферической поверхности, отличающийся тем, что каждый фиксатор представляет собой гильзу, содержащую плунжер-упор, удерживаемый в гильзе шариковым замком, плунжер-упор базируется в гильзе по сопрягаемым диаметрам, образующим дифференциальную площадь привода снятия фиксации узла стыковки разделяемых объектов.
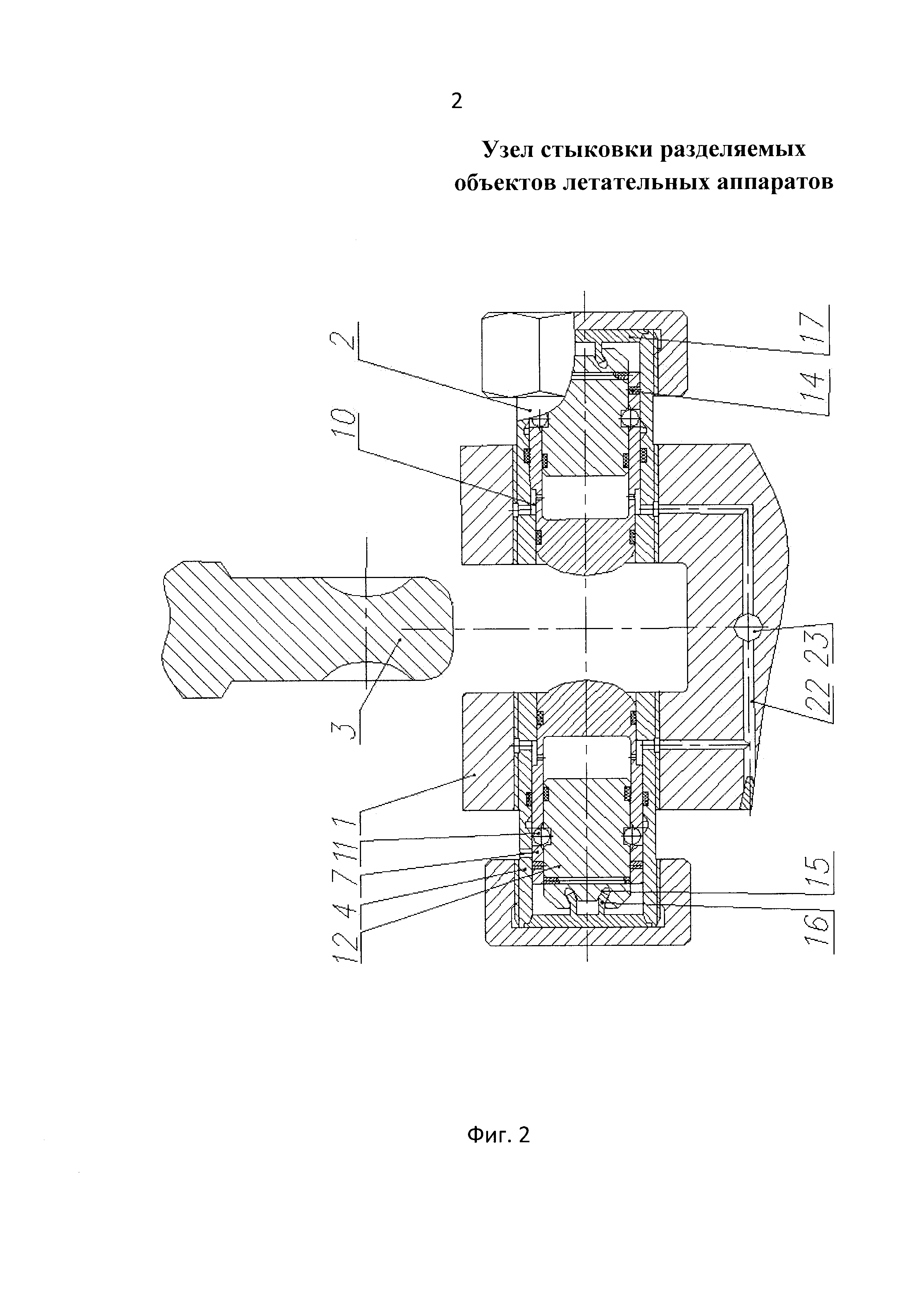
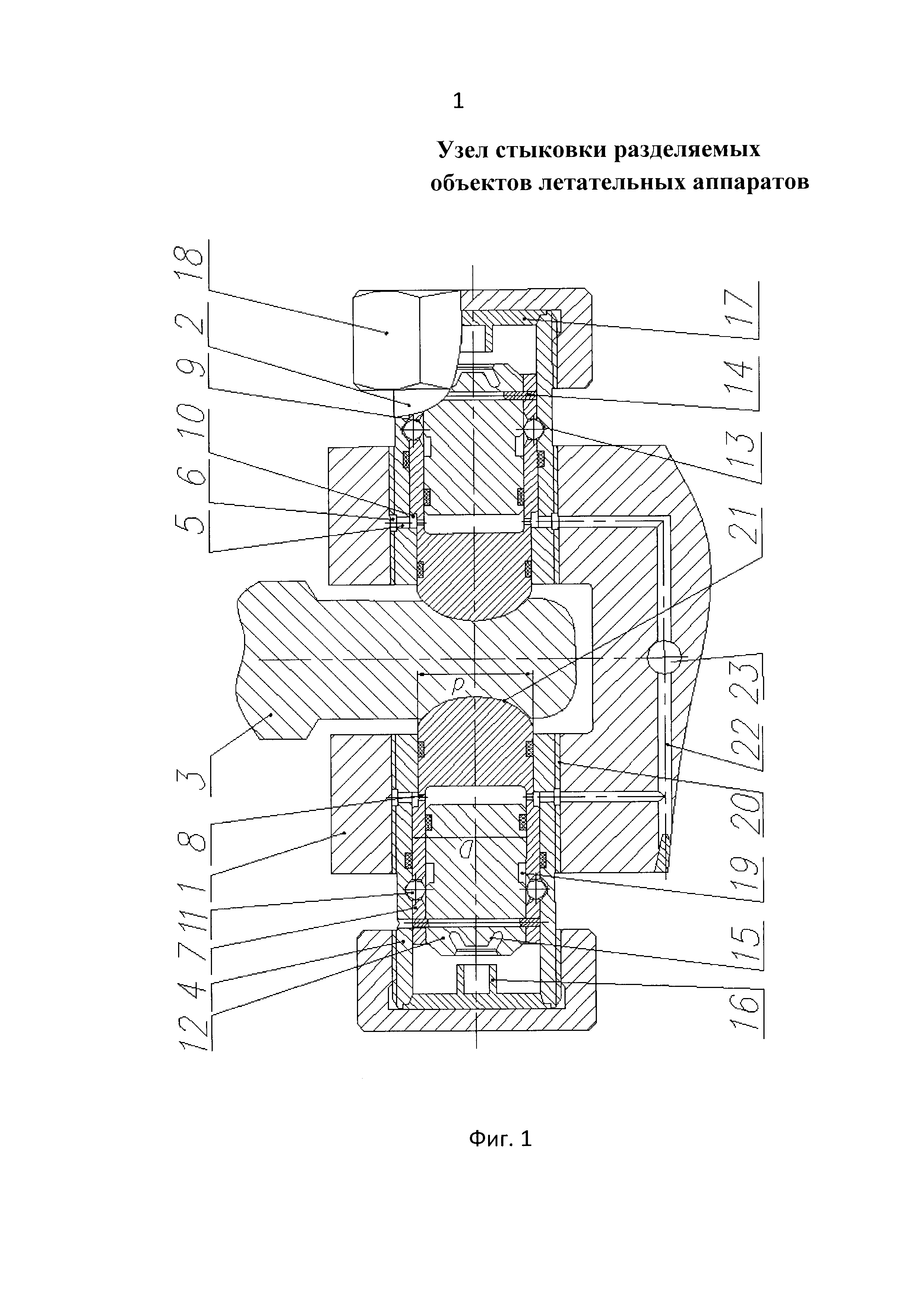
Изобретение относится к ракетной технике и может найти применение в конструкциях систем разделения объектов летательных аппаратов (ЛА) - ступеней крылатых ракет, космических аппаратов и др. В современных системах разделения объектов ЛА большое внимание уделяется снижению ударных нагрузок и импульса от действия средства разделения на конечные ступени объекта, что влияет на точность его выведения на расчетные параметры траектории полета. На это оказывает влияние также и конструктивное исполнение узла стыковки разделяемых объектов при равномерном быстродействии с коллекторным задействованием пиромеханических устройств. Известны устройства узлов стыковки разделяемых объектов ЛА, обеспечивающие крепление их между собой, содержащие механизмы фиксации от произвольного разделения и программное разделение объектов при задействовании пиромеханических устройств: 1. Быстроразъемный шариковый замок [1. А.с. 516847, МПК F16B 2/16. Быстроразъемный шариковый замок / Ю.Г. Шлепнева, В.В. Вольский, А.Н. Вольцифер. - Опубл. 12.07.77.]. Недостатки устройства следующие: - соединение по цилиндрическому сопряжению разделяемых объектов не исключает боковых составляющих силы и возмущений при отделении, особенно при больших нагрузках; - многорядные шариковые замки не дают стабильных результатов по функции разделения (по опыту отработки подобных конструкций авторами); 2. Замок-толкатель [2. А.с. 576443, МПК F16B 2/16. Замок-толкатель / Э.И. Алексеев, B.C. Огнев. - Опубл. 20.10.77.]. Недостатки устройства: - не исключает боковых сил и возмущений при отделении; - для больших нагрузок в соединении не предназначен. 3. Устройство, описанное в статье [3. Совершенствование систем разделения современных КА по снижению ударных нагрузок. Рис. 1. Схема пирозамка-толкателя с шаровыми запирающими элементами. / В.В. Ефанов, А.С. Бирюков, О.Г. Деменко, В.В. Горовцов // «Полет». - 2014. - №4. - С. 30-36.]. Недостаток устройства: конструкция демпфирует силы, но не исключает ударных нагрузок при отделении. 4. Устройство для разделения элементов космического аппарата [4. Пат. RU 2167796 С1, МПК B64G 1/64, F16B 2/16. Устройство для разделения элементов космического аппарата / Д.Д. Самусев, Л.К. Дерюжкин, А.С. Аверьянов. - Опубл. 27.05.2001.]. Недостатки устройства: - конструкция не обеспечивает безударного разделения объектов; - вкладыши с зацеплением по кольцевым зубьям и цилиндрическая гильза не обеспечат стабильности разделения объектов вследствие возможных перекосов при перемещении. Ближайшее техническое устройство, выбранное в качестве прототипа, описано в патенте на изобретение [5. Пат. RU 2196712 С2, МПК B64G 1/64, F16B 2/16. Устройство для разделения элементов космического аппарата Д.Д. Самусев, С.Н. Штукатуркин. - Опубл. 20.01.2003.]. Устройство представляет собой шарнирное разъемное соединение по сферической поверхности, закрепленное с корпусом при помощи фиксатора. Прототип обладает следующим недостатком: разделение выполняется по траектории отделяемого элемента в одной плоскости, обеспечиваемой шарнирным соединением с космическим аппаратом; в случае применения устройства при полном отделении объекта, может возникнуть боковая сила, перпендикулярная плоскости разделения, исключающая безударное отделение объекта. Это ограничивает варианты применения устройства в ЛА, особенно при необходимости жесткого крепления, устраняющего перекосы и обеспечивающего разделение объектов без взаимного влияния возмущающих сил. Целью предлагаемого изобретения является создание надежного узла стыковки разделяемых объектов ЛА, исключающего перекосы и неточности изготовления при креплении разделяемых объектов между собой и обеспечивающего их свободное разделение при линейном и угловом перемещениях относительно осей X, Y, Z без взаимного влияния возмущающих сил. Осуществление поставленной цели достигается тем, что узел стыковки разделяемых объектов ЛА представляет собой разъемное соединение по сферической поверхности при помощи фиксаторов в виде быстроразъемных шариковых замков, где разделение объектов ЛА обеспечивается освобождением крепления объектов ЛА фиксаторами по стыкуемым разделяемым поверхностям одновременно по линейным и угловым перемещениям относительно осей X, Y, Z. Изобретение поясняется чертежами, где на фиг. 1 представлен узел стыковки разделяемых объектов ЛА в рабочем положении, содержащий корпус 1 отделяемого объекта, фиксаторы 2, расположенные симметрично относительно кронштейна 3 крепления отделяемого объекта. Фиксатор 2 аналогичен известному [2] и содержит гильзу 4 с каналами 5 и 6, плунжер-упор 7 с каналами 8 и отверстиями (сепаратором) 9, а гильза 4 и плунжер-упор 7 разностью сопрягаемых диаметров D и d образуют канал 10, шарики-замки 11, расположенные в отверстиях 9 плунжера-упора 7, шток 12, запирающий шарики-замки 11 в кольцевые проточки 13 гильзы 4, посредством чего гильза 4 соединена с плунжером-упором 7. Шток 12 связан с плунжером-упором 7 срезаемой чекой 14 и содержит коническую проточку 15, взаимодействующую при разделении узла с цилиндром-ловушкой 16 втулки 17, являющейся одновременно и уплотнением в соединении между опорной гайкой 18 и гильзой 4, а также кольцевую проточку 19 под выкатывание шариков-замков 11. Монтаж (подвес) отделяемого объекта обеспечивается установкой фиксаторов 2 по резьбе 20 на герметике для резьб, например, Анатерм 117, до упора плунжером-упором 7 в кронштейн 3 по сфере 21. Корпус 1 отделяемого объекта содержит коллектор 22 для подачи рабочего газа в фиксатор 2 с патрубком 23 под пиропатрон, газогенератор или другой тип источника давления. На фиг. 2 показано взаимодействие элементов конструкции узла в отстыкованном положении отделяемого объекта. Принцип действия устройства. Исходное положение соответствует фиг. 1. При подаче давления (способ не указывается) в фиксатор 2 через патрубок 23, коллектор 22, каналы 5, 6, 10, 8 происходит перемещение штока 12 и срезание чеки 14. Дальнейшее движение штока 12 сопровождается соединением штока 12 с втулкой 17 при развальцовке цилиндра-ловушки 16 по конической проточке 15 и выкатыванием шариков-замков 11 в проточку 19, в результате чего снимается фиксация соединения плунжера-упора 7 по гильзе 4. Далее, под действием силы от давления на дифференциальную площадь по плунжеру-упору 7, равную плунжеры-упоры 7 одновременно перемещаются до упора в гайки 18, освобождая при этом крепление отделяемого объекта по стыкуемым разделяемым поверхностям 21 без возмущающих сил при линейных и угловых перемещениях относительно осей X, Y, Z. Узел стыковки разделяемых объектов ЛА обеспечивает: - надежную стыковку объектов без напряжений от допускаемых и возможных отклонений стыкуемых объектов; - компенсацию отклонений осей разделяемых объектов; - свободное, без взаимных возмущений, разделение объектов; Предлагаемое устройство может быть выполнено с помощью стандартного оборудования и материалов отечественного производства. Таким образом, заявленное устройство соответствует критерию «промышленная применимость». Источники, принятые во внимание 1. А.с. 516847, МПК F16B 2/16. Быстроразъемный шариковый замок / Ю.Г. Шлепнева, В.В. Вольский, А.Н. Вольцифер. - Опубл. 12.07.77. 2. А.с. 576443, МПК F16B 2/16. Замок-толкатель / Э.И. Алексеев, B.C. Огнев. - Опубл. 20.10.77. 3. Совершенствование систем разделения современных КА по снижению ударных нагрузок. Рис. 1. Схема пирозамка-толкателя с шаровыми запирающими элементами. / В.В. Ефанов, А.С. Бирюков, О.Г. Деменко, B.В. Горовцов. // «Полет». - 2014. - №4. - С. 30-36. 4. Пат. RU 2167796 С1, МПК B64G 1/64, F16B 2/16. Устройство для разделения элементов космического аппарата / Д.Д. Самусев, Л.К. Дерюжкин, А.С. Аверьянов. - Опубл. 27.05.2001. 5. Пат. RU 2196712 С2, МПК B64G 1/64, F16B 2/16. Устройство для разделения элементов космического аппарата / Д.Д. Самусев, C.Н. Штукатуркин. - Опубл. 20.01.2003. 6. А.с. 699244, М. Кл. F16B 2/20. Замок-толкатель / Р.Ф. Ахтареев, A.Д. Горбачев. - Опубл. 30.11.1979. 7. А.с. 836396, М. Кл. F16B 2/16. Замок-толкатель / Р.Ф. Ахтареев. - Опубл. 10.06.1981. 8. А.с. 889917, М. Кл. F16B 2/16. Замок-толкатель / Л.К. Мельников, B.И. Порошина, B.C. Смирнов. - Опубл. 15.12.1981. 9. А.с. SU 1767243, М. Кл. F16B 2/16. Шариковый замок / В.И. Геров, В.Я. Хохлов, А.В. Ручкин. - Опубл. 07.10.1992. 10. А.с. 134060, М. Кл. 42k, 20. Устройство для дистанционного разъединения двух элементов объекта в полете при аэродинамических исследованиях / Е.Я. Пивкин, А.П. Чернышев, Ю.А. Меренков. - Опубл. - 1960. - Бюл. №23. 11. А.с. 195893, Кл. 62В, 24/02. Замок для крепления съемных деталей корпуса летательного аппарата / Ю.П. Андреев. - Опубл. 4.07.1967. 12. А.с. 364767, М. Кл. F16B 2/16. Фиксатор / С.А. Горяйнов, Н.И. Галкин, И.С. Пустовалов. - Опубл. 23.02.1973. 13. А.с. 436181, М. Кл. F16B 2/16. Устройство для взаимной фиксации охватывающей и охватываемой деталей. / Г.И. Коновалов, А.И. Ценципер. - Опубл. 09.12.1974. 14. А.с. 458662, М. Кл. F16B 2/16. Шариковый замок / Ю.В. Назаров, А.С. Воронин. - Опубл. 07.03.1975. 15. А.с. 540064, М. Кл. F16B 2/16. Замковое устройство / Ю.Г. Шлепнева и др. - Опубл. 07.02.1977. 16. А.с. 731101, М. Кл. F16B 2/16. Фиксирующее устройство / А.Е. Кохан и др. - Опубл. 30.04.1980. 17. А.с. 1808105, М. Кл. F16B 2/16. Быстроразъемный агрегат / М.В. Лузгачев, И.А. Мордвинников, В.В. Вольский. - Опубл. 07.04.1993. 18. Пат. RU 2 509 682, М. Кл. В64С 3/56, F16B 2/16 Механизм соединения-разделения элевона складываемого крыла летательного аппарата / С.А. Шестаков, В.А. Земсков. - Опубл. 20.03.2014.