патент
№ RU 2304766
МПК G01N23/18

СПОСОБ НЕРАЗРУШАЮЩЕГО КОНТРОЛЯ СОСТОЯНИЯ ОБЪЕКТА

Авторы:
Хаютин Сергей Германович
Номер заявки
2006111362/28
Дата подачи заявки
07.04.2006
Опубликовано
20.08.2007
Страна
RU
Как управлять
интеллектуальной собственностью
Чертежи 
3
Реферат

[36]

Использование: для неразрушающего контроля состояния объекта. Сущность: заключается в том, что объект просвечивают рентгеновским или гамма-излучением, регистрируют интенсивности прошедшего сквозь объект излучения с помощью детектора, который контактирует с частью объекта, обрабатывают результаты просвечивания и оценивают наличие дефектов в контактирующей с детектором части объекта, затем обнаруживают интенсивности, свидетельствующие о возможном наличии дефекта в части объекта, не контактирующей с детектором, после чего осуществляют контакт упомянутой части объекта с детектором путем изменения пространственного положения части последнего, повторно просвечивают объект, регистрируют интенсивность прошедшего сквозь объект излучения, обрабатывают результаты повторного просвечивания, оценивают наличие дефектов в части объекта, где был осуществлен контакт с детектором, и по результатам обоих просвечиваний судят о наличии или отсутствии дефектов в объекте. Технический результат: повышение достоверности результатов контроля. 3 з.п. ф-лы, 4 ил.

Формула изобретения

1. Способ неразрушающего контроля состояния объекта, включающий его просвечивание рентгеновским или гамма-излучением, регистрацию интенсивности прошедшего сквозь объект излучения с помощью детектора, который контактирует с частью объекта, обработку результатов просвечивания и оценку наличия дефектов в контактирующей с детектором части объекта, отличающийся тем, что, в случае обнаружения интенсивности, свидетельствующей о возможном наличии дефекта в части объекта, не контактирующей с детектором, осуществляют контакт упомянутой части объекта с детектором путем изменения пространственного положения части последнего, повторно просвечивают объект, регистрируют интенсивность прошедшего сквозь объект излучения, обрабатывают результаты повторного просвечивания, оценивают наличие дефектов в части объекта, где был осуществлен контакт с детектором, и по результатам обоих просвечиваний судят о наличии или отсутствии дефектов в объекте.

2. Способ неразрушающего контроля состояния объекта по п.1, отличающийся тем, что изменение положения части детектора осуществляют путем изгиба.

3. Способ неразрушающего контроля состояния объекта по п.1, отличающийся тем, что в качестве детектора излучения используют фотопленку, установленную в кассете.

4. Способ неразрушающего контроля состояния объекта по п.1, отличающийся тем, что в качестве детектора излучения используют пленку с фосфорсодержащим покрытием.

Описание

[1]

Изобретение относится к неразрушающим методам контроля, а именно к области радиационной дефектоскопии с использованием рентгеновского или гамма-излучения.

[2]

Как правило, при радиационной дефектоскопии объект просвечивают ионизирующим излучением, например рентгеновским или гамма-излучением, и регистрируют интенсивность прошедшего через объект излучения с помощью детектора (например, фотопленки). При просвечивании на фоне теневого изображения объекта на детекторе излучения регистрируются участки (пятна) с повышенной или пониженной оптической плотностью по сравнению с оптической плотностью изображения "основного", бездефектного материала. Наличие этих пятен обычно рассматривается как свидетельство наличия дефектов в контролируемом объекте, например пор, трещин и т.п.

[3]

До сих пор надежную проверку наличия или отсутствия дефектов в объекте можно было осуществить только разрушающим способом, например металлографическим исследованием. Как показывает указанное исследование, наличие локальных пятен не всегда соответствует реальным дефектам. Таким образом, годная в действительности деталь (объект) по результатам радиационной дефектоскопии признается бракованной. Такое положение ведет к большим экономическим потерям.

[4]

Предпочтительным является размещение детектора излучения (например, кассеты с пленкой) в непосредственном контакте с поверхностью контролируемого объекта. Но нередки случаи, когда в силу конструктивных особенностей объекта просвечивание при непосредственном контакте детектора с частью объекта невозможно или экономически нецелесообразно, поскольку это требует дополнительных усилий.

[5]

Известен способ неразрушающего контроля состояния объекта, который выбран в качестве прототипа (см. С.В.Румянцев. Радиационная дефектоскопия. - М.: Атомиздат, 1974 г., стр.510), включающий его просвечивание рентгеновским или гамма-излучением, регистрацию интенсивности прошедшего сквозь объект излучения с помощью детектора, который контактирует с частью объекта, обработку результатов просвечивания и оценку наличия дефектов в контактирующей с детектором части объекта. В качестве детектора излучения используют фотопленку, помещенную в кассету. Наличие на пленке участков (пятен) с повышенной оптической плотностью свидетельствует о наличии дефектов в объекте.

[6]

Недостатком данного способа является получение недостоверных результатов измерений, из-за возможного выявления "ложного" дефекта в части объекта, не контактирующей с детектором излучения, что приводит к браковке годной детали.

[7]

Технический результат заявленного изобретения - повышение достоверности результатов контроля.

[8]

Указанный технический результат достигается тем, что в способе неразрушающего контроля состояния объекта, включающем его просвечивание рентгеновским или гамма-излучением, регистрацию интенсивности прошедшего сквозь объект излучения с помощью детектора, который контактирует с частью объекта, обработку результатов просвечивания и оценку наличия дефектов в контактирующей с детектором части объекта, в случае обнаружения интенсивности, свидетельствующей о возможном наличии дефекта в части объекта, не контактирующей с детектором, осуществляют контакт упомянутой части объекта с детектором путем изменения пространственного положения части последнего, повторно просвечивают объект, регистрируют интенсивность прошедшего сквозь объект излучения, обрабатывают результаты повторного просвечивания, оценивают наличие дефектов в части объекта, где был осуществлен контакт с детектором, и по результатам обоих просвечиваний судят о наличии или отсутствии дефектов в объекте.

[9]

При этом изменение положения части детектора можно осуществить путем изгиба.

[10]

В качестве детектора излучения можно использовать фотопленку, установленную в кассете.

[11]

В качестве детектора излучения можно использовать пленку с фосфорсодержащим покрытием.

[12]

Способ может быть осуществлен при использовании ионизирующего излучения, например рентгеновского или гамма-излучения, используя стандартные детекторы излучения, например рентгеновскую пленку и т.п.

[13]

Изменение положения части детектора (не контактирующей с объектом) для того, чтобы осуществить ее контакт с объектом, может быть осуществлено различными способами, например, путем изгиба.

[14]

При использовании в качестве детектора фотопленки интенсивность прошедшего через объект излучения определяется по оптической плотности пленки.

[15]

При использовании в качестве детектора пленки с фосфорсодержащим покрытием интенсивность прошедшего через объект излучения определяется по величине остаточного электрического заряда на пленке.

[16]

Осуществление контакта упомянутой части объекта с детектором путем изменения пространственного положения части последнего в случае обнаружения интенсивности, свидетельствующей о возможном наличии дефекта в части объекта, не контактирующей с детектором, и последующее выполнение операций просвечивания объекта, регистрации интенсивности прошедшего сквозь объект излучения, обработки результатов повторного просвечивания, оценки наличия дефектов в части объекта, где был осуществлен контакт с детектором, позволяет повысить достоверность результатов контроля, отличить ложные дефекты от действительных в контролируемом объекте и тем самым уменьшить материальные потери за счет снижения количества бракованных изделий.

[17]

Предложенное изобретение поясняется схематичными чертежами.

[18]

На фиг.1 показана схема расположения контролируемого объекта и детектора излучения при первом просвечивании.

[19]

На фиг.2 показана схема снимка после первого просвечивания.

[20]

На фиг.3 показана схема расположения контролируемого объекта и детектора излучения при повторном просвечивании.

[21]

На фиг.4 показана схема снимка после повторного просвечивания.

[22]

Способ неразрушающего контроля состояния объекта осуществляется следующим образом.

[23]

Контролируемый объект устанавливают на детектор излучения, например на кассету с пленкой. При этом только часть объекта, обращенная к детектору, контактирует с ним, поскольку объект имеет сложную форму. Источник излучения, например рентгеновский, располагают по другую сторону от объекта. Просвечивают объект, регистрируют интенсивность прошедшего сквозь объект излучения с помощью детектора, который контактирует с частью объекта. Обрабатывают результаты просвечивания и оценивают наличие дефектов в контактирующей с детектором части объекта (по наличию пятен с повышенной оптической плотностью на снимке). Принимают результаты просвечивания как достоверные для той части объекта, которая контактирует с детектором.

[24]

В случае обнаружения интенсивности (пятен с повышенной оптической плотностью на снимке), свидетельствующей о возможном наличии дефекта в части объекта, не контактирующей с детектором, осуществляют контакт упомянутой части объекта с детектором путем изменения пространственного положения части последнего, например путем изгиба части кассеты с пленкой. Повторно просвечивают объект, регистрируют интенсивность прошедшего сквозь объект излучения, обрабатывают результаты повторного просвечивания, оценивают наличие дефектов в той части объекта, где после первого просвечивания был осуществлен контакт с детектором. Если на снимке после повторного просвечивания снова наблюдаются те же пятна с повышенной оптической плотностью, делают заключение о действительном наличии дефекта в данной части объекта, а если после повторного просвечивания пятна с повышенной оптической плотностью не наблюдаются - это свидетельствует о том, что дефекта в данной части объекта на самом деле нет. Таким образом по результатам обоих просвечиваний судят о наличии или отсутствии дефектов во всем объекте.

[25]

Проведенные испытания и численные оценки показывают, что пятна на снимках имеют дифракционную природу и не связаны с металлургическими дефектами.

[26]

Пример.

[27]

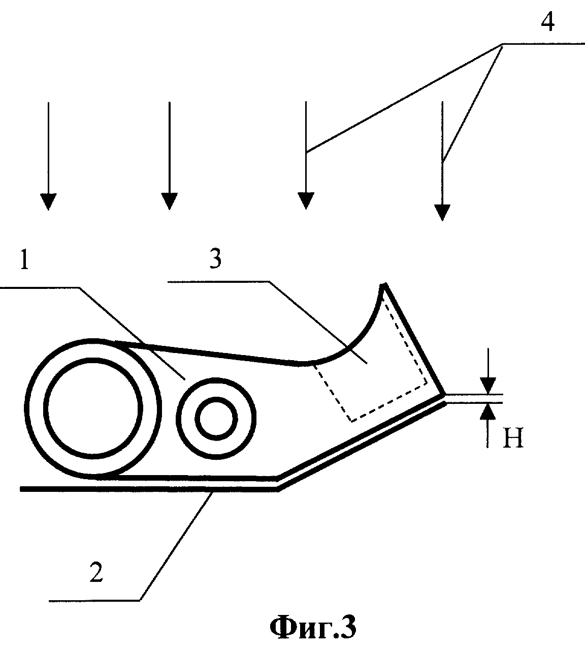
Был произведен рентгеноконтроль объекта - кронштейна 1 топливного коллектора авиационного двигателя (схематично показан на фиг.1 и 3). Топливный коллектор представляет собой сложную конструкцию, включающую две изогнутые по окружности трубки с надетыми на них форсунками, кронштейнами и пр., фиксацию которых в определенных позициях осуществляют методом пайки. Кронштейн 1 был установлен на детектор излучения - на кассету 2 с фотопленкой. При этом ввиду сложной конструкции узла коллектора с кассетой 2 контактирует не весь кронштейн 1, а только его часть (вблизи трубок), обращенная к кассете 2 с фотопленкой. Источник рентгеновского излучения (на чертежах не показан) был расположен по другую сторону от кронштейна 1.

[28]

Была выполнена первая съемка (просвечивание) кронштейна 1 при угле α˜40° между частью детектора - кассеты 2 с пленкой и дном "корыта" 3 кронштейна 1 (фиг.1). На снимке 5 (фиг.2) после первого просвечивания четко наблюдалась темная прямая линия 6 (пятно с повышенной оптической плотностью), свидетельствующая о возможном наличии дефекта в "корыте" 3 кронштейна 1.

[29]

Дифрагированные лучи 7 (справа от одного из прямых падающих лучей 4) попадают на часть кассеты 2 с пленкой, засвеченную гораздо более интенсивным прямым лучом 4. Поэтому дифракционные пятна в этой части снимка 5 не наблюдаются. Дифрагированные лучи 8 (слева от одного из прямых падающих лучей 4) наблюдаются лишь тогда, когда объект 1 ослабляет луч 4 до уровня, сопоставимого с интенсивностью дифракционного.

[30]

Далее был осуществлен контакт "корыта" 3 кронштейна 1 с кассетой 2 путем изгиба части последней и была проведена повторная съемка кронштейна 1 при угле α˜0° между кассетой 2 с пленкой и дном "корыта" 3 кронштейна 1 (фиг.3). При этом положение кронштейна 1 относительно рентгеновских лучей 4 оставалось неизменным. После повторного просвечивания на снимке 5 (фиг.4) темная линия 6 не наблюдалась.

[31]

Как известно (Я.С.Уманский и др. Кристаллография, рентгенография и электронная микроскопия. М.: Металлургия, 1982 г., 632 с.), "тормозное" излучение, используемое при просвечивании, имеет широкий сплошной спектр с коротковолновым краем при длине волны λb=1,24/U, максимум интенсивности излучения приходится на волну λmax˜1,2-1,3 λb. Здесь U - напряжение, кВ, на рентгеновской трубке, λ - длина волны, нм. Напряжение просвечивания составляло 120 кВ, чему соответствует λmax˜0,012 нм.

[32]

Расстояние от ребра кронштейна 1 до кассеты 2 с пленкой: Н=27 мм (фиг.1), расстояние от края изображения до темной линии на снимке 4: h=1,5 мм (фиг.2), соответственно угол дифракции θ=h/2Н=1,5/2·27=0,028˜1,7°. Отсюда соответствующее значение межплоскостного расстояния кристаллической решетки d/n=λ/2·sinθ=0,214 нм, что практически совпадает со справочными данными для никелевых сплавов (у чистого никеля d/n111=0,204 нм).

[33]

Расстояние h на снимке 5 (фиг.2) от темной линии 6 до контура "корыта" 3 кронштейна 1 пропорционально расстоянию Н между кассетой 2 с пленкой и ребром кронштейна 1. А при непосредственном контакте кассеты 2 с пленкой и "корыта" 3 кронштейна 1 (при повторном просвечивании) расстояние Н˜0 (фиг.3), поэтому h=2Н·sinθ˜ 2Н·θ˜0, т.е. темная линия 6 на снимке 5 исчезает (совпадает с контуром изображения кронштейна 1). Из этого следует, что дефекта в действительности нет, а наблюдаемая темная линия представляет собой артефакт, а именно дифракционный рефлекс.

[34]

Поскольку при повторном просвечивании в условиях непосредственного контакта кассеты 2 с "корытом" 3 кронштейна 1 упомянутые пятна (в нашем случае темная линия 6) исчезают, это является однозначным свидетельством дифракционной природы пятен и указывает на отсутствие дефектов.

[35]

Таким образом, применение заявленного способа неразрушающего контроля состояния объекта позволяет повысить достоверность контроля, выявить ложные дефекты в контролируемых деталях, что позволяет уменьшить количество бракованных изделий и тем самым уменьшить возможные материальные потери.

Как компенсировать расходы
на инновационную разработку
Похожие патенты