патент
№ RU 2700137
МПК F42B15/36

Разъёмное соединение с потайной головкой

Авторы:
Писарев Максим Андреевич
Номер заявки
2018133929
Дата подачи заявки
25.09.2018
Опубликовано
12.09.2019
Страна
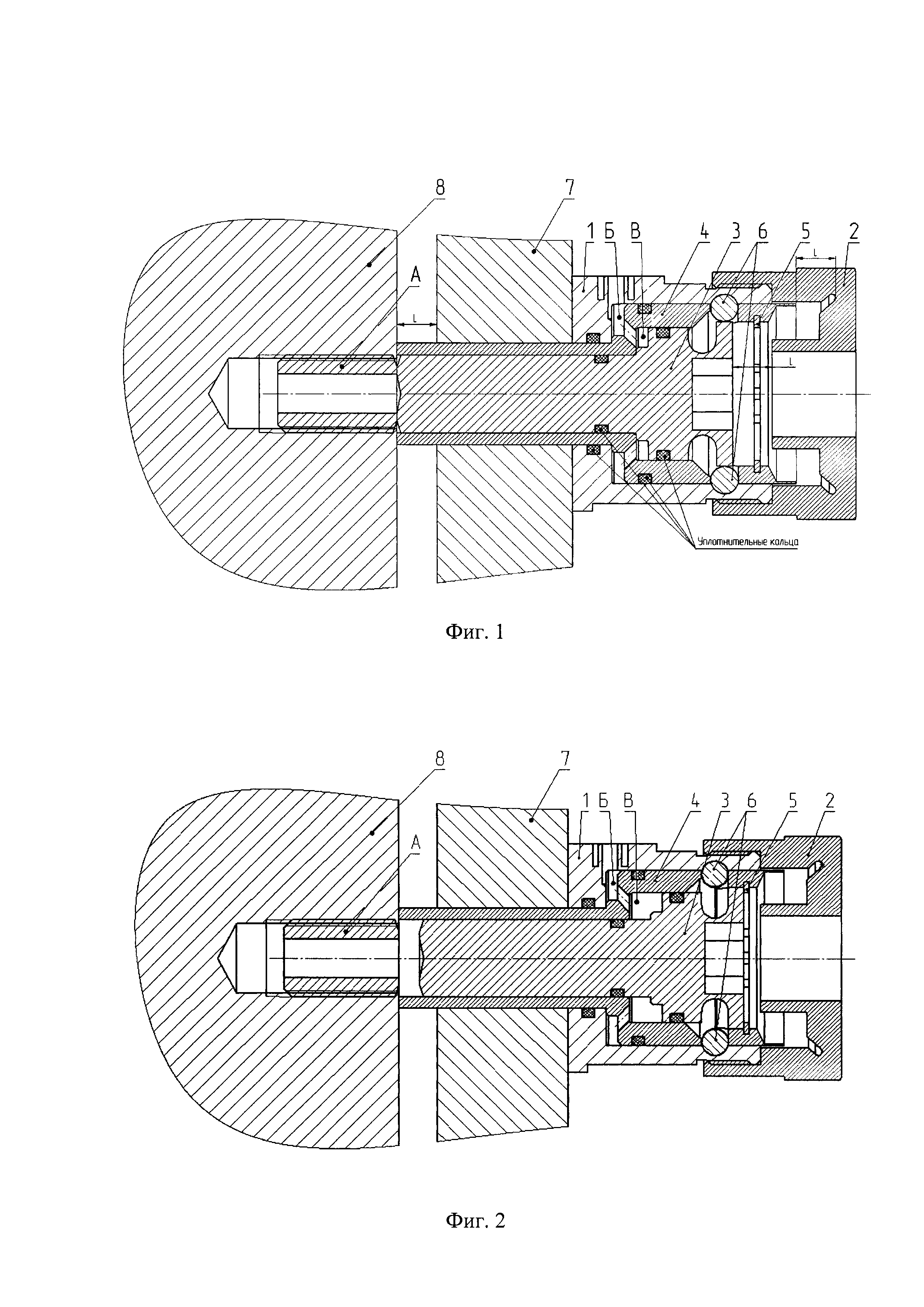
RU
Как управлять
интеллектуальной собственностью
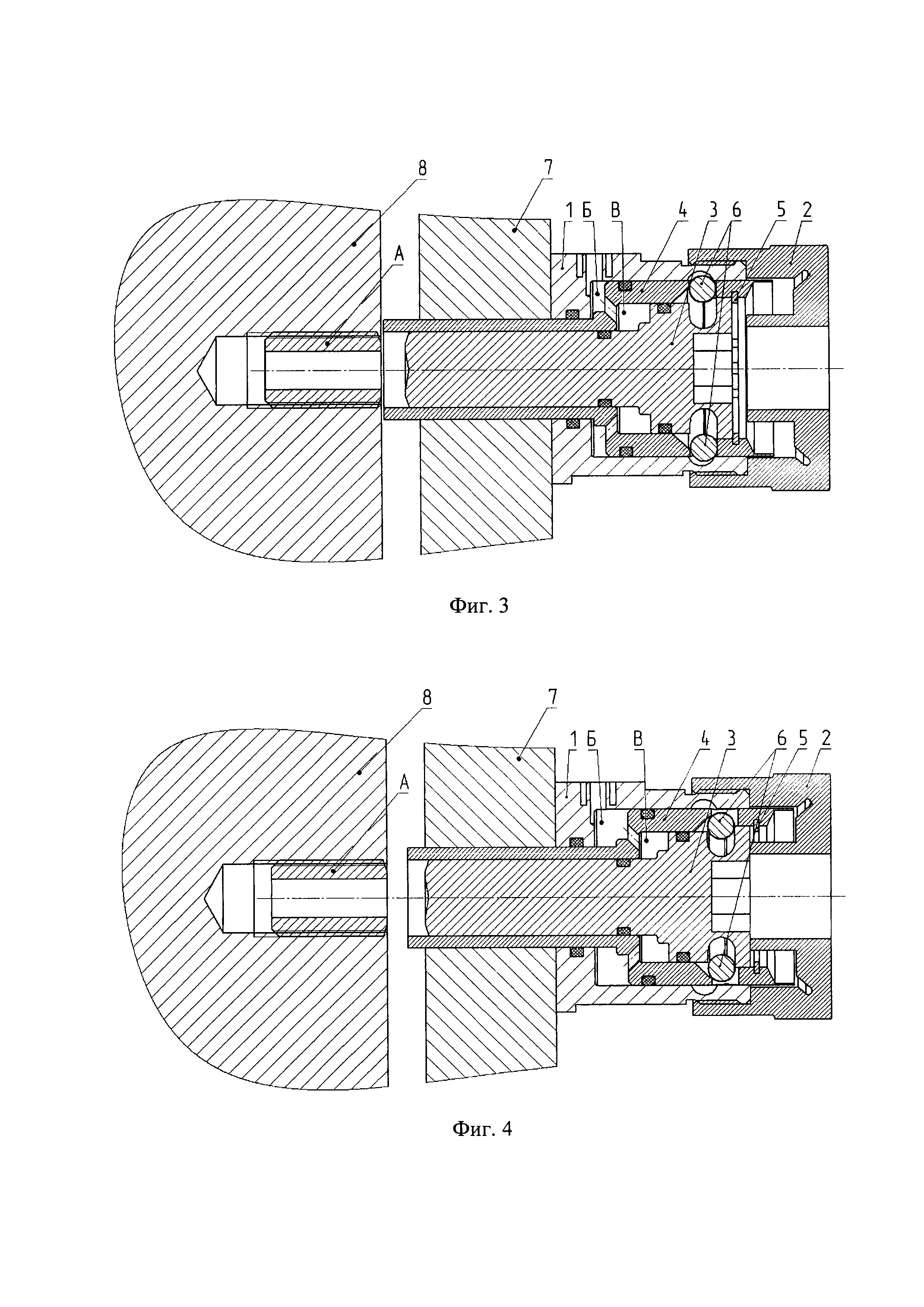
Чертежи 
3
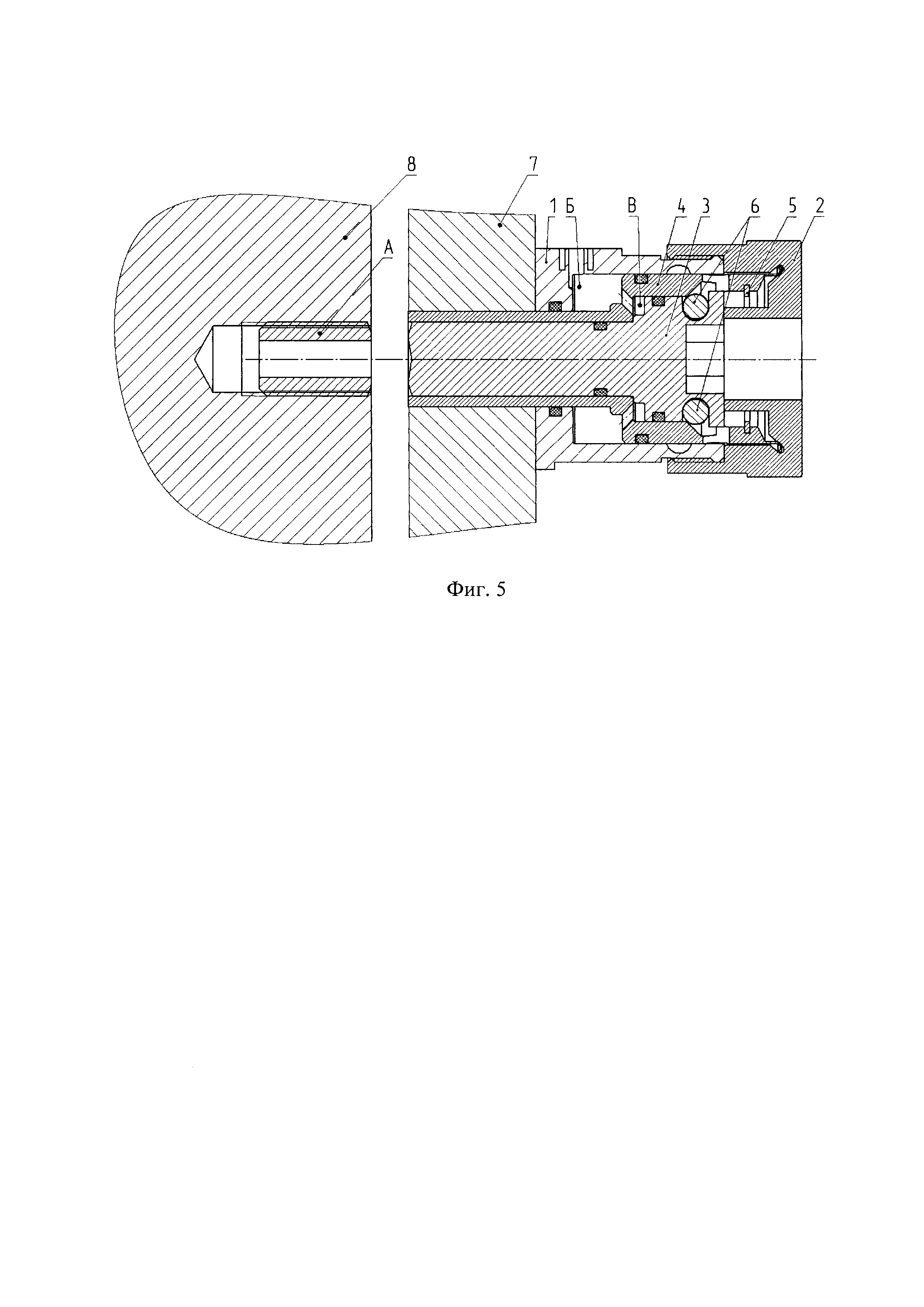
Реферат

Изобретение относится к ракетной технике и может найти применение в конструкциях систем разделения объектов летательных аппаратов. Технический результат - упрощение устройства и повышение надежности его работы, улучшение аэродинамики. Устройство состоит из корпуса, донышка с канавкой, стопорного кольца, подшипников, уплотнительных колец и пироболта. Пироболт включает поршень с отрывной резьбовой частью и выполнен с ослабленным звеном, образованным кольцевой проточкой по наружной поверхности поршня. Отрывная резьбовая часть начинается от кольцевой проточки. При этом пироболт имеет упор для фиксации отделяемого элемента по отрывной резьбовой части на расстоянии от корпуса-носителя. Поршень выполнен с возможностью перемещения внутри упора. Упор и поршень имеют возможность втягиваться в корпус-носитель летательного аппарата и фиксироваться в нем после отделения отделяемого элемента. 5 ил.

Формула изобретения

Разъемное соединение с потайной головкой для разделения элементов летательного аппарата, состоящее из корпуса, донышка с канавкой, стопорного кольца, подшипников, уплотнительных колец и пироболта, включающего поршень с отрывной резьбовой частью, выполненный с ослабленным звеном, образованным кольцевой проточкой по наружной поверхности поршня, при этом отрывная резьбовая часть начинается от кольцевой проточки, отличающееся тем, что пироболт имеет упор для фиксации отделяемого элемента по отрывной резьбовой части на расстоянии от корпуса-носителя, поршень выполнен с возможностью перемещения внутри упора, при этом упор и поршень имеют возможность втягиваться в корпус-носитель летательного аппарата и фиксироваться в нем после отделения отделяемого элемента.

Описание

[1]

Изобретение относится к ракетной технике и может найти применение в конструкциях систем разделения элементов летательных аппаратов (ЛА).

[2]

Известны разъемные соединения, содержащие корпус и пирозаряд:

[3]

1. Пат. 3277766 US, МПК F16B 31/005. Explosively releasable bolt / Francis В. Burkdoll. - Заявл. 04.08.1964; опубл. 11.10.1966.

[4]

2. Пат. 3352189 US, МПК F42B 3/006. Explosive bolt / Karl R. Brown. - Заявл. 29.04.1966; опубл. 14.11.1967.

[5]

Их недостатком являются большие ударные нагрузки при срабатывании: импульс пирозаряда направлен в сторону отделяемого элемента - это может привести к его повреждению.

[6]

Известны фиксатор разделяемых объектов летательных аппаратов [3. Пат. 2641532 RU, МПК6 F42B 15/36, B64G 1/64, F16B 5/02. Фиксатор разделяемых объектов летательных аппаратов / Ивашин А.Ф., Михайлов Ю.И., Леонтьев Г.А., Голочанов В.А. - Заявл. 06.04.2016; опубл. 18.01.2018, Бюл. №29.]; узел стыковки разделяемых объектов летательных аппаратов [4. Пат. 2628282 RU, МПК6 B64G 1/00. Узел стыковки разделяемых объектов летательных аппаратов / Горбачёв А.Д., Михайлов Ю.И., Ивашин А.Ф. - Заявл. 25.02.2016; опубл. 15.08.2017, Бюл. №23.].

[7]

Их недостатки аналогичны устройствам [1., 2.]. После срабатывания от устройств остаются отверстия в корпусе, которые нарушают аэродинамику ЛА.

[8]

Наиболее близким по технической сущности к предлагаемому изобретению является разъемное соединение [5. Пат.2040710 RU, МПК6 F16B 5/02, F16H 48/12. Разъемное соединение / Беляков В.В. - Заявл. 23.10.1992; опубл. 25.07.1995.]. Его недостатком является непосредственный контакт отделяемой части и корпуса-носителя -невозможность удержания отделяемой части на расстоянии от корпуса-носителя. После срабатывания от устройства остается отверстие, что нарушает аэродинамику ЛА.

[9]

Целью предлагаемого изобретения является создание надежного и простого разъемного соединения, способного удерживать отделяемый элемент на расстоянии от корпуса-носителя и обеспечивающего их свободное разделение и втягивание после расфиксации выступающих частей соединения для улучшения аэродинамики ЛА и для предотвращения препятствий в работе других механизмов ЛА.

[10]

Заявляемое разъемное соединение с потайной головкой для разделения элементов ЛА состоит из корпуса, донышка с канавкой, стопорного кольца, подшипников, уплотнительных колец и пироболта. Пироболт представляет собой крепежный болт с возможностью быстрого и надежного автоматического рассоединения элементов посредством разрывного стержня, за счет высокого давления, создаваемого срабатыванием пиропатрона - пиротехнического устройства с электрическим запалом. Пироболт в заявляемом разъемном соединении включает поршень и упор. Поршень выполнен с ослабленным звеном, образованным кольцевой проточкой по наружной поверхности поршня. Отрывная резьбовая часть поршня начинается от кольцевой проточки. Упор фиксирует отделяемый элемент по отрывной резьбовой части поршня на расстоянии от корпуса-носителя. Поршень выполнен с возможностью перемещения внутри упора. Упор и поршень имеют возможность втягиваться в корпус-носитель ЛА и фиксироваться в нем после отделения отделяемого элемента. Потайной головкой в заявляемом разъемном соединении являются упор и поршень без отрывной резьбовой части.

[11]

Изобретение поясняется чертежами.

[12]

На фиг. 1 изображено начальное положение, когда отделяемый элемент зафиксирован при помощи разъемного соединения с потайной головкой.

[13]

Разъемное соединение с потайной головкой состоит из корпуса 1, донышка 2 с канавкой, пироболта, состоящего из поршня 3 с отрывной резьбовой частью, упора 4, стопорного кольца 5, подшипников 6 и уплотнительных колец. Поршень 3 изготовлен с ослабленным звеном, образованным кольцевой проточкой, выполненной на наружной поверхности поршня 3. Отрывная резьбовая часть поршня начинается от кольцевой проточки.

[14]

Для наглядности изображен корпус-носитель 7 и отделяемый элемент 8. Стопорное кольцо, подшипники и уплотнительные кольца являются стандартными изделиями, в данной заявке не рассматриваются.

[15]

На фиг. 2 изображено положение, когда отделяемый элемент 8 отстыкован, поршень 3 перемещен до стопорного кольца 5.

[16]

На фиг. 3 изображено выдавливание подшипников 6 из корпуса 1 упором 4.

[17]

На фиг. 4 изображено касание поршнем 3 донышка 2 с канавкой и вталкивание подшипников 6 в поршень 3 упором 4.

[18]

На фиг. 5 изображено развальцевание упора 4 полное втягивание поршня 3 и упора 4 в корпус-носитель 7.

[19]

Заявляемое разъемное соединение работает следующим образом.

[20]

Устройство устанавливается в корпус-носитель 7 и фиксируется крепежом. Поршень 3 резьбовой частью вкручивается в отделяемый элемент 8. Часть поршня 3, входящая в состав потайной головки, со стороны, противоположной кольцевой проточки, имеет шестигранное отверстие под стандартные инструменты. Расстояние L между корпусом-носителем 7 и отделяемым элементом 8 обеспечивается длинами упора 4, поршня 3 и донышка 2, выбираемыми в зависимости от конструкции ЛА.

[21]

Для отстыковки в полость «Б» корпуса 1 через отверстие подается газ высокого давления от пиропатрона. Подшипники 6 не имеют возможности перемещения, упор 4 находится в зафиксированном положении, в связи с этим газ высокого давления через отверстия в упоре 4 перемещается в полость «В». При этом возникает большая сила, толкающая поршень 3 вдоль упора 4, вследствие которой отрывная резьбовая часть «А» поршня 3 отрывается в нужном месте за счет ослабленного звена, образованного кольцевой проточкой, выполненной по наружной поверхности поршня 3 (фиг. 2). Отделяемый элемент 8 более не является зафиксированным, а упор 4 не выполняет функцию упора. Поршень 3 двигается по упору 4 до стопорного кольца 5, дойдя до него, упор 4 начинает выталкивать подшипники 6, т.к. они приобрели возможность перемещения (фиг. 3). Совместное движение поршня 3 и упора 4 продолжается до касания поршнем 3 донышка 2 (фиг. 4), а упор 4 продолжает двигаться, вталкивая подшипники 6 в поршень 3 до удара упора 4 о донышко 2, где края упора 4 развальцовываются за счет специальной канавки на донышке 2 (фиг. 5). Тем самым происходит фиксация упора 4 и поршня 3 в корпусе-носителе 7. На внешней части корпуса-носителя 7 отсутствуют выступающие части соединения с потайной головкой.

[22]

Техническим результатом изобретения является простота и надежность разъемного соединения, улучшение аэродинамики ЛА и отсутствие препятствий для работы других механизмов ЛА.

[23]

Технический результат достигается за счет конструкции разъемного соединения, обеспечивающей удержание отделяемого элемента по отрывной резьбовой части на расстоянии от корпуса-носителя, свободное отделение отделяемого элемента и втягивание выступающих частей разъемного соединения после расфиксации.

[24]

Устройство может быть выполнено с помощью стандартного оборудования и материалов отечественного производства. Таким образом, заявленное изобретение соответствует критерию «промышленная применимость».

[25]

Источники информации

[26]

1. Пат. 3277766 US, МПК F16B 31/005. Explosively releasable bolt / Francis В. Burkdoll. - Заявл. 04.08.1964; опубл. 11.10.1966.

[27]

2. Пат. 3352189 US, МПК F42B 3/006. Explosive bolt / Karl R. Brown. - Заявл. 29.04.1966; опубл. 14.11.1967.

[28]

3. Пат. 2641532 RU, МПК6 F42B 15/36, B64G 1/64, F16B 5/02. Фиксатор разделяемых объектов летательных аппаратов / Ивашин А.Ф., Михайлов Ю.И., Леонтьев Г.А., Голочанов В.А. - Заявл. 06.04.2016; опубл. 18.01.2018, Бюл. №29.

[29]

4. Пат. 2628282 RU, МПК6 B64G 1/00. Узел стыковки разделяемых объектов летательных аппаратов / Горбачёв А.Д., Михайлов Ю.И., Ивашин А.Ф. - Заявл. 25.02.2016; опубл. 15.08.2017, Бюл. №23.

[30]

5. Пат. 2040710 RU, МПК6 F16B 5/02, F16H 48/12. Разъемное соединение / Беляков В.В. - Заявл. 23.10.1992; опубл. 25.07.1995.

[31]

6. Пат. 2196712 RU, МПК B64G 1/64, F16B 2/16 (2000.01). Устройство для разделения элементов космического аппарата / Самусев Д.Д., Штукатуркин С.Н. - Заявл. 05.02.2001; опубл. 20.01.2003, Бюл. №2.

[32]

7. Пат. 2293691 RU, МПК B64G 1/64, F15B 11/16 (2006.01). Способ формирования системы отделения полезной нагрузки / Кирилюк А.И., Подзоров В.Н., Дрожжин B.C. - Заявл. 05.05.2004; опубл. 20.10.2007, Бюл. №5.

[33]

8. Пат. 8240613 US, МПК B64G 1/64. Docking system / Риттер Г.А. и др. - Заявл. 23.03.2009; опубл. 14.08.2012.

Как компенсировать расходы
на инновационную разработку
Похожие патенты