патент
№ RU 2672733
МПК F42B39/00

СПОСОБ ФИКСАЦИИ ИЗДЕЛИЯ НА ТЕХНОЛОГИЧЕСКОМ ОБОРУДОВАНИИ ОТ ПРОДОЛЬНОГО ПЕРЕМЕЩЕНИЯ И ОГРАНИЧИТЕЛЬНЫЙ МЕХАНИЗМ ДЛЯ ЕГО ОСУЩЕСТВЛЕНИЯ

Авторы:
Сойко Николай Николаевич
Номер заявки
2017142697
Дата подачи заявки
07.12.2017
Опубликовано
19.11.2018
Страна
RU
Как управлять
интеллектуальной собственностью
Чертежи 
7
Реферат

Способ фиксации изделия на технологическом оборудовании от продольного перемещения и ограничительный механизм для его осуществления относятся к области технологического оборудования для размещения и транспортировки изделий, в частности длинномерных крупногабаритных изделий, например ракет. Способ фиксации изделия на технологическом оборудовании от продольного перемещения состоит в том, что изделие размещают на технологическом оборудовании, оснащенном двумя подпружиненными стержнями, предназначенными для использования с разными изделиями, при этом перед расположением изделия на технологическом оборудовании обеспечивают свободу перемещения соответствующему изделию стержню с одновременной фиксацией второго стержня. Ограничительный механизм, предназначенный для осуществления способа, содержит корпус, размещенные в нем два подпружиненных стержня и ключ, позволяющий фиксировать стержни в нерабочем положении. Способ фиксации изделия на технологическом оборудовании от продольного перемещения и ограничительный механизм для его осуществления обладают простотой осуществления и конструкции, позволяют обеспечить фиксацию от продольного перемещения изделий со сложным поперечным сечением, а также могут использоваться для различных изделий. 2 н. и 1 з.п. ф-лы, 8 ил.

Формула изобретения

1. Способ фиксации изделия на технологическом оборудовании от продольного перемещения, при котором изделие, в котором выполнено технологическое отверстие, размещают на технологическом оборудовании, оснащенном подпружиненным стержнем, совмещают технологическое отверстие в изделии со стержнем, при этом стержень под действием пружины входит в технологическое отверстие и тем самым препятствует продольному перемещению изделия, отличающийся тем, что используют технологическое оборудование, оснащенное двумя подпружиненными стержнями, предназначенными для использования с разными изделиями, которые отличаются расположением технологических отверстий, при этом перед расположением изделия на технологическом оборудовании обеспечивают свободу перемещения соответствующему изделию стержню с одновременной фиксацией второго стержня за счет перемещения в направлении, перпендикулярном плоскости, в которой лежат оси стержней, ключа, расположенного в направляющем пазу, рабочая часть которого выполнена в виде прямоугольной призмы с двумя выемками, каждая из которых расположена со стороны одного из стержней и имеет соответствующую стержню форму.

2. Ограничительный механизм для фиксации изделия на технологическом оборудовании от продольного перемещения, жестко закрепленный на технологическом оборудовании и содержащий снабженный пружиной сжатия стержень, установленный с возможностью линейного перемещения и возможностью попадания в технологическое отверстие, выполненное в изделии, отличающийся тем, что ограничительный механизм содержит корпус, два снабженных пружинами сжатия стержня, установленных с возможностью линейного перемещения независимо друг от друга и возможностью попадания в технологическое отверстие, выполненное в изделии, при этом в корпусе выполнены два канала для стержней, оси которых параллельны, а также направляющий паз, пересекающий оба канала перпендикулярно их осям, каждый из двух стержней выполнен с кольцевой проточкой, в направляющем пазу с возможностью линейного перемещения в направлении, перпендикулярном к плоскости, проходящей через оси каналов, установлен ключ, выполненный с возможностью попадания в кольцевую проточку каждого из стержней и фиксации его от линейного перемещения.

3. Ограничительный механизм по п. 2, отличающийся тем, что рабочая часть ключа имеет форму прямоугольной призмы, форма которой в поперечном сечении соответствует форме проточек стержней, и выполнена с двумя выемками со стороны каждого из стержней, повторяющими форму стержней и позволяющими освобождать каждый из них от фиксации.

Описание

[1]

Изобретение относится к области технологического оборудования для размещения и транспортировки изделий и предназначено для ограничения продольных перемещений изделий в процессе сборочных работ и транспортировки, осуществляемых с помощью технологического оборудования, преимущественно для длинномерных изделий крупногабаритных со сложной формой поперечного сечения.

[2]

Существует большое количество устройств для ограничения продольных перемещений длинномерных изделий при их окончательной сборке и подготовке к применению. Однако общими их недостатками являются:

[3]

- длительное время и высокая трудоемкость крепления изделий стяжками и их затяжки;

[4]

- невозможность использования для крепления авиационных боеприпасов к средствам хранения в местах, где присутствует несъемное или нескладываемое оперение (как правило, в кормовой части боеприпасов).

[5]

Из уровня техники известен способ удержания крупногабаритных длинномерных изделий или авиационных боеприпасов сложной конфигурации с развитым оперением на средствах хранения в условиях качки корабля (описание изобретения к патенту № RU 2544040 от 24.04.2013, МПК F42B 39/00), выбранный в качестве прототипа для способа фиксации длинномерного крупногабаритного изделия на технологическом оборудовании от продольного перемещения, представленного в описании настоящего изобретения. Способ удержания крупногабаритных длинномерных изделий или авиационных боеприпасов сложной конфигурации с развитым оперением на средствах хранения (стеллажах) в условиях качки корабля заключается в том, что фиксация изделия (авиационного боеприпаса) на стеллаже осуществляется посредством стопора, выполненного в виде стержня, оконцованного в верхней части поперечиной под такелажный паз изделия с возможностью его поворота и вертикального перемещения благодаря приводимой в действие рукоятке, соединенной с тягами, имеющими кинематическую связь через рычаг упорный с ползуном, который, в свою очередь, имеет возможность, опираясь на контргайки, выполнять перемещение стопора вниз, создавая прижимное усилие в пазу изделия, фиксируя его на ложементе.

[6]

К недостаткам прототипа следует отнести то, что способ удержания крупногабаритных длинномерных изделий или авиационных боеприпасов позволяет удержание одного типа изделия с определенным расположением ограничительного устройства относительно опоры, а также то, что контроль за попаданием стопора в такелажное отверстие боеприпаса затруднен из-за развитых надстроек и хвостового оперения, поэтому возможно повреждение изделия в случае несовпадения опоры стеллажа и опорной поверхности изделия, а также то, что в случае повреждения или разрушения деталей стопора или такелажного узла в процессе эксплуатации, при длительном хранении или транспортировке, оценить состояние и работоспособность ограничительного устройства можно только по смещению боеприпаса относительно опоры стеллажа.

[7]

Из уровня техники известен ограничительный механизм (описание изобретения к патенту № RU 2544040 от 24.04.2013, МПК F42B 39/00), выбранный в качестве прототипа для ограничительного механизма, представленного в настоящем описании изобретения. Ограничительный механизм по патенту №2544040 предназначен для удержания крупногабаритных длинномерных изделий или авиационных боеприпасов сложной конфигурации с развитым оперением на средствах хранения (стеллажах) в условиях качки корабля. Ограничительный механизм состоит из ползуна, рычага упорного, опоры стопора, стопора, выполненного в виде стержня, оконцованного в верхней части поперечиной под такелажный паз изделия с возможностью его поворота и вертикального перемещения, рукоятки, соединенной с тягами, имеющими кинематическую связь через рычаг упорный с ползуном, который, в свою очередь, имеет возможность, опираясь на контргайки, выполнять перемещение стопора вниз, создавая прижимное усилие в пазу изделия, фиксируя его на ложементе.

[8]

К недостаткам прототипа следует отнести то, что стеллажи, оборудованные данным ограничителем, предусматривают хранение одного типа изделия с определенным расположением ограничительного устройства относительно опоры, также то, что контроль за попаданием стопора в такелажное отверстие боеприпаса затруднен из-за развитых надстроек и хвостового оперения, поэтому возможно повреждение изделия в случае несовпадения опоры стеллажа и опорной поверхности изделия, а также то, что в случае повреждения или разрушения деталей стопора или такелажного узла в процессе эксплуатации, при длительном хранении или транспортировке, оценить состояние и работоспособность ограничительного устройства можно только по смещению боеприпаса относительно опоры стеллажа.

[9]

Способ фиксации изделия на технологическом оборудовании от продольного перемещения направлен на решение следующей технической проблемы: обеспечение фиксации от продольного перемещения крупногабаритных длинномерных изделий со сложным поперечным сечением, в том числе авиационных боеприпасов с развитыми надстройками и оперением в кормовой части изделия технологическом оборудовании, используемом в процессе подготовки к применению, и транспортных средствах.

[10]

Решение технической проблемы достигается за счет того, что изделие, в котором выполнено технологическое отверстие, размещают на технологическом оборудовании, оснащенном двумя подпружиненными стержнями, предназначенными для использования с разными изделиями, которые отличаются расположением технологических отверстий, при этом перед расположением изделия на технологическом оборудовании обеспечивают свободу перемещения соответствующему изделию стержню, с одновременной фиксацией второго стержня, за счет перемещения в направлении, перпендикулярном плоскости, в которой лежат оси стержней, ключа, расположенного в направляющем пазу, рабочая часть которого выполнена в виде прямоугольной призмы с двумя выемками, каждая из которых расположена со стороны одного из стержней и имеет соответствующую стержню форму, совмещают технологическое отверстие в изделии с соответствующим стержнем, при этом стержень под действием пружины входит в технологическое отверстие и тем самым препятствует продольному перемещению изделия.

[11]

Технический результат способа фиксации изделия на технологическом оборудовании от продольного перемещения состоит в том, что способ фиксации изделия на технологическом оборудовании позволяет обеспечить ограничение продольного перемещения крупногабаритных длинномерных изделий, расположенных на технологическом оборудовании, в том числе авиационных боеприпасов с развитыми надстройками и оперением в кормовой части изделия на существующих средствах хранения, технологическом оборудовании, используемом в процессе подготовки к применению, и транспортных средствах, а также позволяют адаптировать технологическое оборудование к размещению на нем отличных друг от друга изделий с разным заранее определенным расположением технологических отверстий.

[12]

Ограничительный механизм для фиксации изделия на технологическом оборудовании от продольного перемещения направлен на решение следующей технической проблемы: создание ограничительного механизма, позволяющего удерживать от продольного перемещения крупногабаритные длинномерные изделия сложного поперечного сечения, в том числе авиационные боеприпасы с развитыми надстройками и оперением в кормовой части изделия на технологическом оборудовании, используемом в процессе подготовки к применению, и транспортных средствах.

[13]

Решение технической проблемы достигается за счет того, что ограничительный механизм для фиксации изделия на технологическом оборудовании от продольного перемещения жестко закреплен на технологическом оборудовании и содержит корпус, два снабженных пружинами сжатия стержня, установленные с возможностью линейного перемещения независимо друг от друга, и возможностью попадания в технологическое отверстие, выполненное в изделии, при этом в корпусе выполнены два канала для стержней, оси которых параллельны, а также направляющий паз, пересекающий оба канала перпендикулярно их осям, каждый из двух стержней выполнен с кольцевой проточкой, в направляющем пазу с возможностью линейного перемещения в направлении, перпендикулярном к плоскости, проходящей через оси каналов, установлен ключ, выполненный с возможностью попадания в кольцевую проточку каждого из стержней и фиксации его от линейного перемещения.

[14]

В частном случае осуществления ограничительного механизма решение технической проблемы достигается за счет того, что рабочая часть ключа имеет форму прямоугольной призмы, форма которой в поперечном сечении соответствует форме проточек стержней, и выполнена с двумя выемками со стороны каждого из стержней, повторяющими форму стержней и позволяющими освобождать каждый из них от фиксации.

[15]

Технический результат состоит в том, что ограничительный механизм для фиксации изделия на технологическом оборудовании позволяет обеспечить ограничение продольного перемещения крупногабаритных длинномерных изделий, расположенных на технологическом оборудовании, в том числе авиационных боеприпасов с развитыми надстройками и оперением в кормовой части изделия на технологическом оборудовании, используемом в процессе подготовки к применению, и транспортных средствах, а также позволяют адаптировать технологическое оборудование к размещению на нем отличных друг от друга изделий с разным заранее определенным расположением технологических отверстий.

[16]

Заявляемое изобретение поясняется чертежами, представленными на фиг. 1-8:

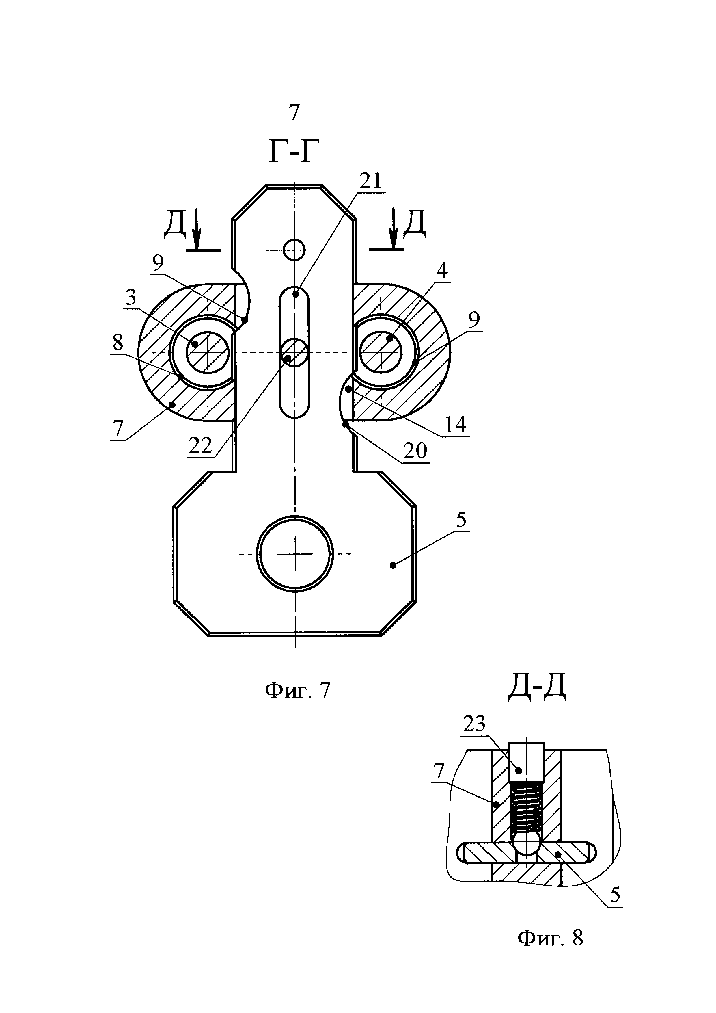
[17]

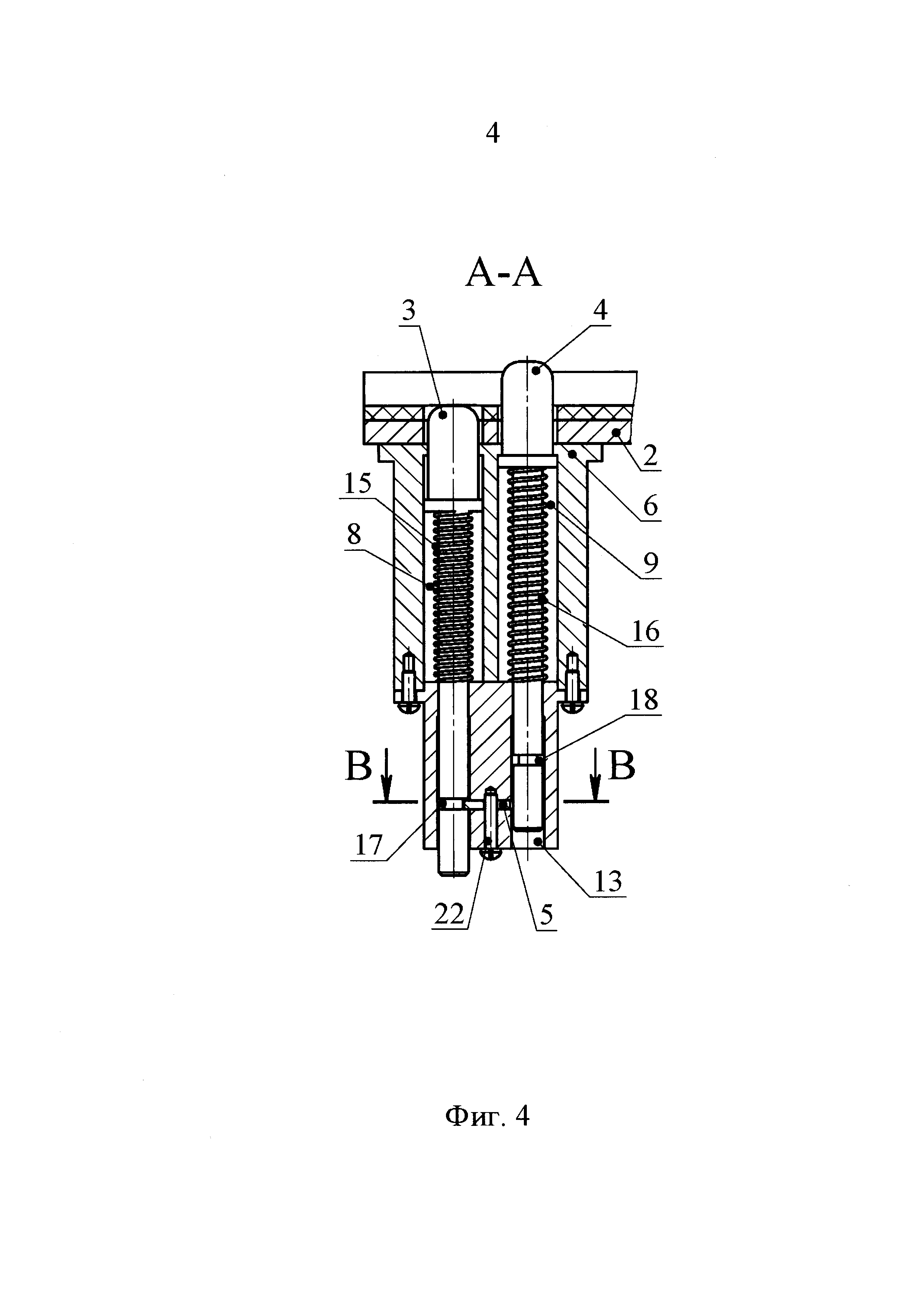
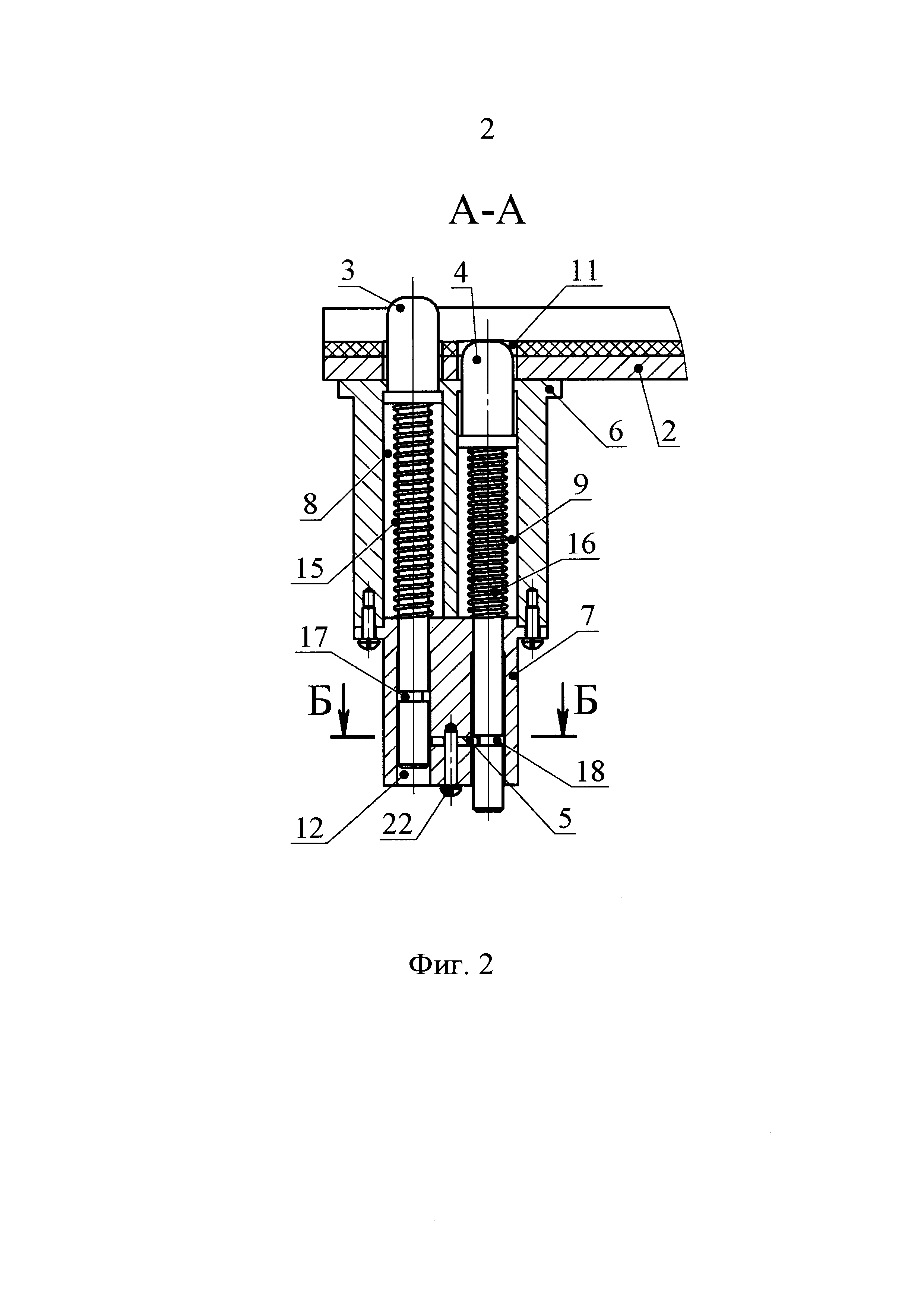
На фиг. 1 изображен общий вид ограничительного механизма, закрепленного на технологическом оборудовании, с очертаниями расположенного на технологическом оборудовании изделия;

[18]

На фиг. 2 изображен фронтальный разрез ограничительного механизма в состоянии, когда свободен первый стержень и зафиксирован второй стержень;

[19]

На фиг. 3 изображен поперечный разрез ограничительного механизма в месте направляющего паза, при этом ограничительный механизм находится в состоянии, когда свободен первый стержень и зафиксирован второй стержень, а ключ выполнен двухпозиционным;

[20]

На фиг. 4 изображен фронтальный разрез ограничительного механизма в состоянии, когда зафиксирован первый стержень и свободен второй стержень;

[21]

На фиг. 5 изображен поперечный разрез ограничительного механизма в месте направляющего паза, при этом ограничительный механизм находится в состоянии, когда зафиксирован первый стержень и свободен второй стержень, а ключ выполнен двухпозиционным;

[22]

На фиг. 6 изображен поперечный разрез ограничительного механизма в месте направляющего паза, при этом ограничительный механизм находится в состоянии, когда зафиксированы оба стержня (ключ выполнен трехпозиционным);

[23]

На фиг. 7 изображен поперечный разрез ограничительного механизма в месте направляющего паза, при этом ограничительный механизм находится в состоянии, когда зафиксированы оба стержня, а ключ выполнен трехпозиционным;

[24]

На фиг. 8 изображен разрез части ограничительного механизма вдоль рабочей части ключа для случая, когда ключ выполнен трехпозиционным, при этом показано средство фиксации ключа, выполненное в виде шарикового фиксатора.

[25]

На фиг. 1-8 позициями обозначены:

[26]

1 - изделие;

[27]

2 - технологическое оборудование;

[28]

3 - первый стержень;

[29]

4 - второй стержень;

[30]

5 - ключ;

[31]

6 - основание;

[32]

7 - крышка;

[33]

8 - первый канал;

[34]

9 - второй канал;

[35]

10 - первое рабочее отверстие;

[36]

11 - второе рабочее отверстие;

[37]

12 - первое контрольное отверстие;

[38]

13 - второе контрольное отверстие;

[39]

14 - направляющий паз;

[40]

15 - первая пружина;

[41]

16 - вторая пружина;

[42]

17 - проточка первого стержня;

[43]

18 - проточка второго стержня;

[44]

19 - первая выемка;

[45]

20 - вторая выемка;

[46]

21 - прорезь;

[47]

22 - винт;

[48]

23 - фиксатор ключа.

[49]

Способ фиксации от продольного перемещения изделия 1, например, длинномерного крупногабаритного груза сложного поперечного сечения, в частности, авиационной ракеты с развитым хвостовым оперением, на технологическом оборудовании 2, в частности, испытательном стенде, транспортной тележке или стеллаже для хранения, состоит в следующем. Перед фиксацией изделия 1 на технологическом оборудовании 2 определяют, какой из двух подпружиненных стержней 3 или 4, соответствует изделию 1. Обеспечивают свободу перемещения стержню 3 или 4, соответствующему изделию 1, с одновременной фиксацией стержня 4 или 3 соответственно. Для этого вначале устанавливают, в каком состоянии (зафиксированы или свободны) находятся стержни 3 и 4. Примечание: под «свободой» и «свободным перемещением» стержня 3 или 4 в контексте настоящего описания подразумевается свобода от фиксации с помощью ключа 5.

[50]

Если изделию 1 соответствует первый стержень 3, то удостоверяются, что первый стержень 3 свободен и второй стержень 4 зафиксирован (в нерабочем положении). Если второй стержень 4 свободен и первый стержень 3 зафиксирован, то освобождают первый стержень 3 от фиксации и фиксируют в нерабочем положении второй стержень 4 с помощью перемещения в направлении, перпендикулярном плоскости, в которой лежат оси стержней, расположенного в направляющем пазу ключа 5, рабочая часть которого выполнена в виде прямоугольной призмы с двумя выемками 19 и 20, каждая из которых расположена со стороны одного из стержней 3 или 4 и имеет соответствующую стержню 3 или 4 форму.

[51]

Если изделию 1 соответствует второй стержень 4, то, аналогично, обеспечивают свободу перемещения второму стержню 4 и фиксируют в нерабочем состоянии первый стержень 3.

[52]

Располагают изделие 1 на технологическом оборудовании 2, совмещают технологическое отверстие изделия 1 с первым стержнем 3, что позволяет стержню 3 или 4 под действием пружины 15 или 16 соответственно попасть в технологическое отверстие (на фиг. не показано).

[53]

Таким образом, изделие 1 зафиксировано от продольного перемещения.

[54]

Ограничительный механизм для фиксации изделия на технологическом оборудовании от продольного перемещения представляет собой двухстержневой стопор, который устанавливается на технологическом оборудовании 2. В состав ограничительного механизма входят корпус, два стержня 3 и 4 и ключ 5.

[55]

Корпус состоит из основания 6, установленного на технологическом оборудовании 2, и крышки 7, жестко закрепленной на нижнем торце основания 6. В корпусе выполнены первый канал 8 и второй канал 9, оси которых расположены параллельно друг другу, при этом корпус установлен на технологическом оборудовании 2 таким образом, что оси каналов 8 и 9 расположены вертикально и плоскость, проходящая через оси каналов 8 и 9, проходит через продольную ось изделия 1.

[56]

Рабочие отверстия 10 и 11 в корпусе (в основании 6), в которые выходят каналы 8 и 9, расположены таким образом, чтобы при расположении изделия 1 на технологическом оборудовании одно из рабочих отверстий 10 или совпадало с выполненным в изделии технологическим отверстием. С противоположной стороны каналов 8 и 9 в корпусе (в крышке 7) выполнены контрольные отверстия 12 и 13. Каналы 8 и 9 выполнены прямолинейными, их поперечные сечения могут не совпадать друг с другом. При эксплуатации ограничительного механизма контрольные отверстия 12 и 13 открыты для визуального обзора независимо от наличия изделия 1 на технологическом оборудовании 2.

[57]

В корпусе, например, в крышке 7, выполнен направляющий паз 14, в направлении, перпендикулярном плоскости, в которой лежат оси каналов 8 и 9, и пересекающий оба канала 8 и 9.

[58]

Первый стержень 3 и второй стержень 4 установлены в каналах 8 и 9 с возможностью линейного перемещения и снабжены, соответственно, первой пружиной 15 сжатия и второй пружиной 16 сжатия, сила действия каждой пружины 15 или 16 направлена в сторону соответствующего рабочего отверстия 10 или 11. Каждый стержень 3 и 4 имеет рабочий конец и контрольный конец (на фиг. не обозначены), при этом каждый стержень 3 или 4 установлен таким образом, что рабочий конец стержня может выходить за пределы корпуса через соответствующее рабочее отверстие 10 или 11, а контрольный конец - через соответствующее контрольное отверстие 12 или 13. Длина первого стержня 3 такова, что в положении, при котором рабочий конец первого стержня 3 выходит за пределы корпуса на максимальную длину, контрольный конец первого стержня 3 находится внутри корпуса, а в положении, при котором контрольный конец первого стержня 3 выходит за пределы корпуса на максимальную длину, рабочий конец первого стержня 3 находится внутри корпуса. Длина второго стержня 4 равна длине первого стержня 3.

[59]

Рабочие концы стержней 3 и 4 выполнены с формой и размерами поперечного сечения, позволяющими свободное вхождение в технологическое отверстие изделия 1. Рабочие концы стержней 3 и 4 выполнены с радиальным скруглением, чтобы в процессе расположения изделия 1 на технологическом оборудовании 2 не повредить его обшивку. Первый стержень 3 и второй стержень 4 снабжены кольцевыми проточками 17 и 18 соответственно, форма и глубина проточек 17 и 18, а также их расположение по длине стержней 3 и 4, одинаковы для первого стержня 3 и второго стержня 4. Каждая из проточек 17 и 18 расположена таким образом, чтобы в положении соответствующего стержня 3 или 4, при котором контрольный конец стержня 3 или 4 выходит за пределы корпуса на максимальную длину, расположение проточки 17 или 18 совпадало с направляющим пазом 14.

[60]

В направляющем пазу 14 установлен ключ 5, который может быть выполнен двухпозиционным (см. фиг. 3 и фиг. 5) или трехпозиционным (см. фиг. 7 и фиг. 8). Ключ 5 выполнен с рабочей частью в виде прямоугольной призмы и расположен в пазу таким образом, что имеет возможность перемещения между каналами 8 и 9. Ширина и форма рабочей части ключа 5 такова, что ключ 5 может входить в проточки 15 и 16 в стержнях 3 и 4. В рабочей части ключа 5 выполнены первая выемка 19 и вторая выемка 20 со стороны каналов 3 и 4 соответственно, при этом форма выемок 19 и 20 такова, что при совмещении выемки 19 или 20 с каналом 8 или 9 ключ 5 не препятствует перемещению в канале 8 или 9 соответствующего стержня 3 или 4. Ключ 5 снабжен прорезью 21, в которой установлен винт 22, удерживающий ключ 5 от выпадения из направляющего паза 14. Положения ключа 5, определяемые длиной прорези 21, соответствуют совмещению выемки 19 или 20 с каналом 8 или 9 соответственно (фиг. 3 и фиг. 5 соответственно) В случае, когда ключ 5 выполнен трехпозиционным, рабочая часть ключа 5 выполнена с дополнительным участком, не содержащим прорезей, и ключ 5 дополнительно снабжен фиксатором ключа 23 для фиксации в промежуточном положении (когда винт 22 расположен посередине прорези 21), например, шариковым фиксатором (см. фиг. 7 и фиг. 8). Различные положения ключа 5 соответствуют различным состояниям ограничительного механизма - «первый стержень 3 свободен, второй стержень 4 зафиксирован в нерабочем положении» (фиг. 2 и фиг. 3, для двухпозиционного или трехпозиционного ключа 5), «первый стержень 3 зафиксирован в нерабочем положении, второй стержень 4 свободен» (фиг. 4 и фиг. 5, для двухпозиционного или трехпозиционного ключа 5), и «первый и второй стержни 3 и 4 зафиксированы в нерабочем положении» (фиг. 6 и фиг. 7, только для трехпозиционного ключа 5).

[61]

Если любой из стержней 3 или 4 зафиксирован в нерабочем положении, соответствующий контрольный конец выходит за пределы корпуса и виден при визуальном обзоре независимо от наличия изделия 1 на технологическом оборудовании 2, при этом при расположении изделия 1 на технологическом оборудовании 2 рабочие концы стержней не видны.

[62]

Ограничительный механизм для фиксации изделия на технологическом оборудовании от продольного перемещения работает следующим образом:

[63]

Обеспечивают свободу перемещения стержню 3 или 4, соответствующему изделию 1, с одновременной фиксацией стержня 4 или 3. Для этого вначале устанавливают, в каком состоянии (зафиксированы или свободны) находятся стержни 3 и 4.

[64]

Если изделию 1 соответствует первый стержень 3, то удостоверяются, что первый стержень 3 свободен и второй стержень 4 зафиксирован (в нерабочем положении). Если второй стержень 4 свободен и первый стержень 3 зафиксирован (или - только для случая трехпозиционного ключа - зафиксированы оба стержня 3 и 4), то перемещают ключ 5 в положение, соответствующее свободному перемещению первого стержня 3 и фиксации второго стержня 4, при этом вручную переводят второй стержень 4 в положение, когда проточка второго стержня 18 совмещена с направляющим пазом 14. При приведении стержней 3 и 4 в требуемое состояние отмечают, что контрольный конец второго стержня 4 виден за пределами корпуса, а контрольный конец первого стержня 3 находится внутри корпуса и не виден.

[65]

Располагают изделие 1 на технологическом оборудовании 2, при этом при несовпадении технологического отверстия с положением первого стержня 3 под действием веса изделия 1 первый стержень 3 перемещается таким образом, что контрольный конец первого стержня 3 выходит за пределы корпуса. Совмещают технологическое отверстие изделия 1 с первым рабочим отверстием 10, что позволяет рабочему концу первого стержня 3 под действием пружины 15 попасть в технологическое отверстие. Удостоверяются, что контрольный конец первого стержня 3 не виден за пределами корпуса.

[66]

Если изделию 1 соответствует второй стержень 4, то удостоверяются, что второй стержень 4 свободен и первый стержень 3 зафиксирован. Если первый стержень 3 свободен и второй стержень 4 зафиксирован (или - только для случая трехпозиционного ключа - зафиксированы оба стержня 3 и 4), то перемещают ключ 5 в положение, соответствующее свободному перемещению второго стержня 4 и фиксации первого стержня 3, при этом вручную переводят первый стержень 3 в положение, когда проточка первого стержня 17 совмещена с направляющим пазом 14. При приведении стержней 3 и 4 в требуемое состояние отмечают, что контрольный конец первого стержня 3 виден за пределами корпуса, а контрольный конец второго стержня 4 находится внутри корпуса и не виден.

[67]

Располагают изделие 1 на технологическом оборудовании 2, при этом при несовпадении технологического отверстия с положением второго стержня 4 под действием веса изделия 1 второй стержень 4 перемещается таким образом, что контрольный конец второго стержня 4 выходит за пределы корпуса. Совмещают технологическое отверстие изделия 1 с вторым рабочим отверстием 11, что позволяет рабочему концу второго стержня 4 под действием пружины 16 попасть в технологическое отверстие. Удостоверяются, что контрольный конец второго стержня 4 не виден за пределами корпуса.

[68]

Если необходимо зафиксировать оба стержня 3 и 4 в нерабочем положении, например, для случая, если технологическое оборудование 2 снабжено несколькими ограничительными механизмами и расположение технологического отверстия соответствует только одному из них. Для этого вручную переводят первый стержень 3 и второй стержень 4 в нерабочее положение и перемещают ключ 5 в положение, соответствующее фиксации обоих стержней 3 и 4.

[69]

Способ фиксации изделия на технологическом оборудовании от продольного перемещенияи ограничительный механизм для его осуществления позволяют фиксацию от продольного перемещения на технологическом оборудовании изделий, особенно длинномерных и крупногабаритных, в частности, авиационных ракет. Способ фиксации изделия на технологическом оборудовании от продольного перемещения и ограничительный механизм для его осуществления представляют собой простое решение проблемы фиксации изделий со сложной формой поперечных сечений, например, из-за наличия аэродинамических поверхностей, и применимы в случаях, когда нельзя использовать некоторые другие способы и средства фиксации, такие, как гибкие стяжки и кантовы, а также позволяют фиксацию отличных друг от друга изделий, имеющих различное расположение технологических отверстий, с помощью одного и того же ограничительного механизма.

Как компенсировать расходы
на инновационную разработку
Похожие патенты