патент
№ RU 2703292
МПК H01J1/304

СПОСОБ ИЗГОТОВЛЕНИЯ КАТОДНО-СЕТОЧНОГО УЗЛА С УГЛЕРОДНЫМИ АВТОЭМИТТЕРАМИ

Авторы:
Шестеркин Василий Иванович
Номер заявки
2019108877
Дата подачи заявки
26.03.2019
Опубликовано
16.10.2019
Страна
RU
Как управлять
интеллектуальной собственностью
Чертежи 
2
Реферат

Изобретение относится к электронной технике, в частности к изготовлению катодно-сеточных узлов с матричными автоэмиссионными катодами для электровакуумных приборов, в том числе сверхвысокочастотного диапазона. Технический результат - повышение надежности и долговечности низковольтных катодно-сеточных узлов, состоящих из множества ячеек микронных размеров, содержащих острийные автоэлектронные эмиттеры и управляющую сетку с отверстиями, отделенную от подложки диэлектрическим зазором. Способ изготовления катодно-сеточного узла включает формирование на катодной подложке матрицы острийных автоэмиттеров, управляющей сетки с отверстиями для каждого автоэмиттера, отделенной от катода пленкой диэлектрика. На катодной подложке из углеродного материала формируется матрица острийных автоэмиттеров, являющихся продолжением катодной подложки. На катодную подложку из бор-нитридной газовой среды высаживается пленка из нитрида бора толщиной Н ≤ h, где: h - высота острийных автоэмиттеров. Далее над вершинами острийных автоэмиттеров формируются диски в форме цилиндра из фоторезиста, а на свободную от дисков поверхность из нитрида бора напыляются пленки из хрома, а затем из алюминия толщиной не более 0.4 мкм, в которых формируются отверстия путем взрывного травления дисков фоторезиста. Далее вокруг острийных автоэмиттеров в воздушной среде тетрафторметана вытравливаются полости на всю глубину пленки из нитрида бора. Причем в качестве углеродного материала для формирования автоэмиттеров используется изотропный пиролитический графит. 1 з.п. ф-лы, 6 ил.

Формула изобретения

1. Способ изготовления катодно-сеточного узла с вертикально ориентированными острийными автоэмиттерами, включающий формирование на катодной подложке матрицы острийных автоэмиттеров, управляющей сетки с отверстиями для каждого автоэмиттера, отделенной от катода пленкой диэлектрика, отличающийся тем, что на катодной подложке из углеродного материала формируется матрица острийных автоэмиттеров, являющихся продолжением катодной подложки, на которую из бор-нитридной газовой среды высаживается пленка из нитрида бора толщиной Н≤h, где: h - высота острийных автоэмиттеров, далее над вершинами острийных автоэмиттеров формируются диски в форме цилиндра из фоторезиста, а на свободную от дисков поверхность из нитрида бора напыляются пленки из хрома, а затем из алюминия толщиной не более 0.4 мкм, в которых формируются отверстия путем взрывного травления дисков фоторезиста, затем вокруг острийных автоэмиттеров в воздушной среде тетрафторметана вытравливаются полости на всю глубину пленки из нитрида бора.

2. Способ по п. 1, отличающийся тем, что в качестве углеродного материала для формирования автоэмиттеров используется изотропный пиролитический графит.

Описание

[1]

Изобретение относится к электронной технике, в частности, к изготовлению катодно-сеточных узлов с матричными автоэмиссионными катодами для электровакуумных приборов, в том числе сверхвысокочастотного диапазона.

[2]

Известен способ изготовления катодно-сеточного узла (КСУ), состоящего из ячеек, каждая из которых содержит вертикально ориентированный автоэлектронный эмиттер в форме иглы и сеточный электрод с отверстием для прохождения потока электронов из ячейки в область электронной пушки [патент 2653694 RU]. Катод с одним или несколькими острийными автоэмиттерами и сеточный электрод с одним или несколькими отверстиями изготавливаются независимо друг от друга. Расположение вершин острийных автоэмиттеров в отверстиях сеточного электрода обеспечивается механически и контролируется с помощью оптического микроскопа. Относительная погрешность размещения вершины острия в каждой ячейке возрастает с уменьшением размеров ячейки. Размер ячейки (высота острийного автоэмиттера и диаметр отверстия в сеточном электроде), допускающий использование для их изготовления традиционные для современного ЛБВ-строения технологии, составляет десятые доли миллиметра. Например, высота автоэмиттера до 1.5 мм, диаметр отверстия в сеточном электроде до 0.5 мм. Рабочее напряжение на сеточном электроде более 1000 В.

[3]

Допуски на размеры обоих электродов (±10 мкм) и погрешности их взаимного расположения в процессе сборки по традиционной технологии приводят к разбросу значений напряженности электрического поля на вершинах автоэмиттеров в ячейках сетки и, как следствие, к значительному (на несколько порядков величины) отличию автоэмиссионных токов вследствие экспоненциальной зависимости величины плотности автоэмиссионного тока от напряженности электрического поля [Дармаев А.Н., Морев С.П., Муравьев Э.К. Шестеркин В.И. Расчет автоэмиссионных ячеек с высоким аспектным отношением // Актуальные проблемы электронного приборостроения: материалы Междунар. научн. - техн. конф. АПЭП - 2016. 22 - 23 сентября 2016 г. СГТУ. Саратов. Россия. С.181 - 183].

[4]

Известен также способ изготовления КСУ с углеродным автоэмиссионным катодом [патент 2589722 RU], в котором проблема совмещения острийных автоэмиттеров с отверстиями в сетке и связанная с этим неравномерность автоэлектронной эмиссии в ячейках сетки устраняется за счет использования «сэндвич-сетки», размещенной на поверхности катода с матрицей острийных автоэмиттеров на его поверхности.

[5]

Отверстия в «сэндвич-сетке» изготавливают, как правило, с помощью сверления. Минимальный диаметр промышленно выпускаемых сверл составляет 200 мкм. В этой связи данный способ применим для изготовления КСУ с крупногабаритными ячейками. Рабочее напряжение на управляющей сетке в КСУ с размером отверстий в сетке более 200 мкм составляет более 1000 В. Недостатком данного способа изготовления КСУ является уменьшение сопротивления изоляции диэлектрика, разделяющего катод и сетку, в процессе изготовления отверстий.

[6]

Наиболее близким к предлагаемому изобретению является способ изготовления катодно-сеточного узла, состоящего из осесимметричных автоэмиссионных ячеек с размерами их сечения ~1.5×1.5 мкм2 [Spindt С.А., Brodie I., Humphrey L., Westerberg E.R. Physical properties jf thin-film field emission cathodes with molybdenum cones // Journal jf Applied Physics. Vol.47. №12. 1976. P. 5248-5263]. Каждая ячейка содержит острие в форме прямого конуса из молибдена, основание которого размещено на кремниевой подложке. Сеточный электрод с отверстием отделен от подложки пленкой диоксида кремния. Данный способ изготовления основан на использовании тонкопленочной технологии и электронно-лучевой литографии и состоит из нескольких этапов.

[7]

Методом окисления на подложке из кремния формируется пленка диоксида кремния заданной толщины (~1.5 мкм). Затем поверх диоксида кремния напыляется пленка молибдена толщиной ~0.4 мкм. С помощью электронно-лучевой литографии и химического травления в пленке молибдена формируется матрица отверстий диаметром ~1.5 мкм, расположенных в углах квадрата со стороной ~5.0 и более мкм. Через отверстия в молибденовой пленке вытравливаются полости в диоксиде кремния. Затем на пленку из молибдена, под малым углом к ней, напыляют пленку из алюминия, непрерывно вращая образец так, чтобы алюминий не попал внутрь полости из диоксида кремния. При этом размер отверстий в молибденовой пленке значительно уменьшается. Через отверстия в алюминиевой пленке под прямым углом к ней напыляют молибден. В результате внутри полости вырастает конус, вершина которого формируется на уровне верхней плоскости пленки из молибдена в момент полного перекрытия отверстий в алюминиевой пленке. На заключительной стадии удаляется пленка из алюминия вместе с напыленной на нее пленкой из молибдена. В результате формируются ячейки, содержащие острия из молибдена в форме прямого конуса, основания которых размещены на кремниевой подложке. Сеточный электрод с отверстиями напротив каждого конуса отделен от кремниевой подложки пленкой из диоксида кремния.

[8]

Использование тонкопленочной технологии и электронно-лучевой литографии позволяет формировать конусы с малым радиусом кривизны вершины (до 20 нм) и диаметрами отверстий в сеточном электроде ~1.5 мкм, что обеспечивает низкое напряжение на управляющей сетке (менее 100 В), а за счет высокой плотности размещения автоэмиссионных ячеек на подложке (до 1×107 см-2) плотность тока, усредненная по поверхности ячеек, превышает 10 А/см2.

[9]

Недостатком данного способа является невысокая для современных СВЧ приборов надежность и долговечность КСУ. Так, например, в составе ЛБВ С-диапазона катодно-сеточный узел проработал около 150 часов [Whaley D.R., Duggal R., Armstrong C.M. and et. al. 100 W Operation of a Cold Cathode TWT // IEEE Transactions on Electron Devices, 2009, Vol. 56, No. 5, pp. 896-905]. Одной из причин является недостаточно прочная адгезия основания конусов из молибдена с кремниевой подложкой вследствие различных значений коэффициентов термического расширения материалов. В режиме автоэлектронной эмиссии напряженность электрического поля в ячейке достигает 5×107 В/см. Пондеромоторные силы электростатического поля, действующие на отрыв конусообразных остриев от подложки, достигают ~10 кг/см2 и способны оторвать основания конусов от подложки.

[10]

Кроме того, в режиме интенсивной автоэлектронной эмиссии плотность автоэмиссионного тока может достигать 109 А/см2 и более. Известно, что автоэмиттеры из тугоплавких металлов, таких как молибден, использующийся в матричных автоэмиссионных катодах Спиндта (прототип) способен без разрушений работать при плотностях тока не более 106÷107 А/см2. Экспериментально установлено, что указанные значения плотности автоэмиссионного тока являются необходимым и достаточным условием для термического разрушения вершины конусного автоэмиттера из молибдена за счет разогрева собственным протекающим через них током и возникновения пробоя в ячейке, который выводит из строя катодно-сеточный узел и прибор в целом [Месяц А.Г., Проскуровский Д.И. Импульсный электрический разряд в вакууме // Наука, г. Новосибирск. 1984].

[11]

Известно, что автоэлектронные эмиттеры из углеродного иатериала способны стабильно работать при плотностях тока до ~109 А/см2 [Шестеркин В.И., Глухова О.Е., Иванов Д.В., Колесникова А.С. Расчетно-экспериментальная оценка спектра энергий автоэлектронов для многоострийной катодной матрицы из стеклоуглерода // Радиотехника и электроника. 2014. Т. 59. №8. С.782-787], что на два порядка больше предельной плотности тока, допустимой для автоэмиттеров из молибдена.

[12]

Техническим результатом настоящего изобретения является повышение надежности и долговечности низковольтных катодно-сеточных узлов, состоящих из множества ячеек микронных размеров, содержащих острийные автоэлектронные эмиттеры и управляющую сетку с отверстиями, отделенную от подложки диэлектрическим зазором.

[13]

Технический результат достигается тем, что способ изготовления катодно-сеточного узла, включает формирование на катодной подложке матрицы острийных автоэмиттеров, управляющей сетки с отверстиями для каждого автоэмиттера, отделенной от катода пленкой диэлектрика. На катодной подложке из углеродного материала формируется матрица острийных автоэмиттеров, являющихся продолжением катодной подложки. На катодную подложку из бор-нитридной газовой среды высаживается пленка из нитрида бора толщиной Н ≤ h, где: h - высота острийных автоэмиттеров. Далее над вершинами острийных автоэмиттеров формируются диски в форме цилиндра из фоторезиста, а на свободную от дисков поверхность из нитрида бора напыляются пленки из хрома, а затем из алюминия толщиной не более 0.4 мкм, в которых формируются отверстия путем взрывного травления дисков фоторезиста. Далее вокруг острийных автоэмиттеров в воздушной среде тетрафторметана вытравливаются полости на всю глубину пленки из нитрида бора. Причем в качестве углеродного материала для формирования автоэмиттеров используется изотропный пиролитический графит.

[14]

Предлагаемый способ изготовления КСУ и последовательность технологических операций поясняется на Фиг 1 - Фиг 6.

[15]

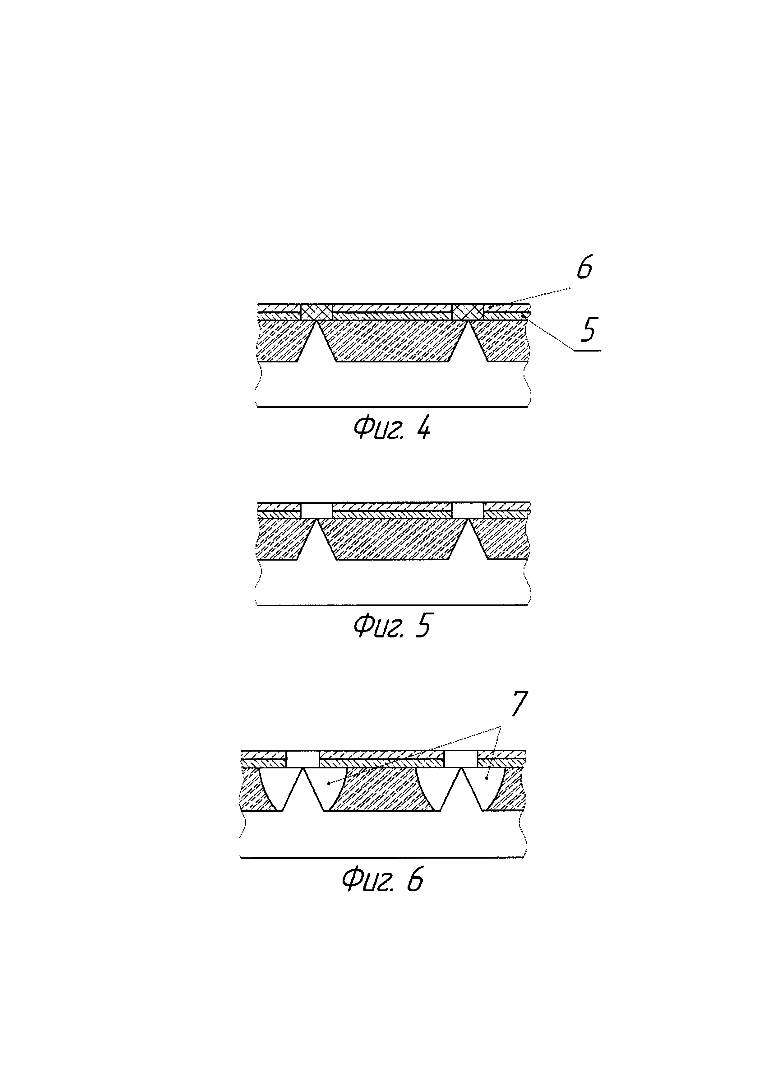
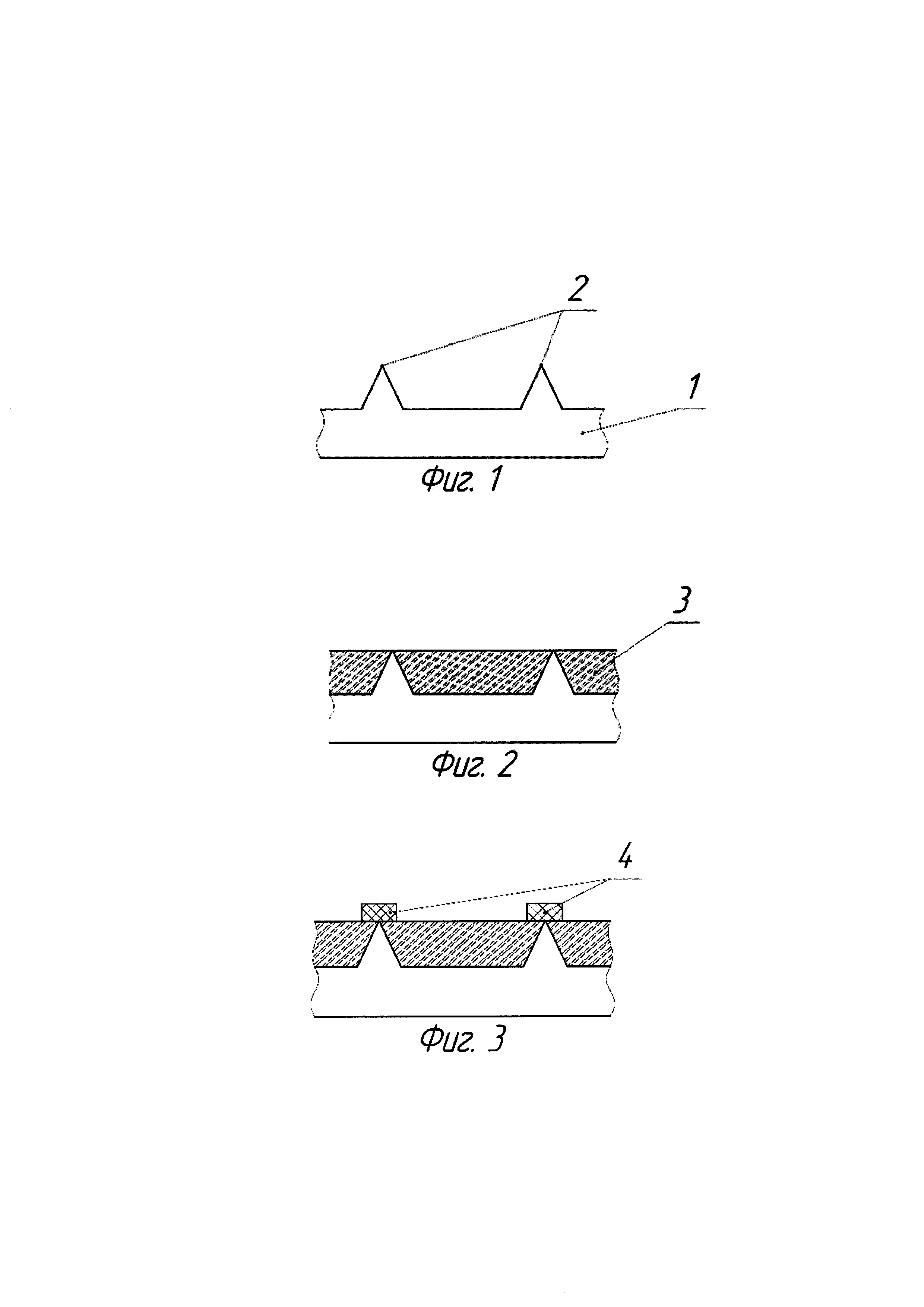
На первом этапе на подложке из углеродного материала (1) формируется матрица острийных автоэмиттеров (2) любым известным способом (термохимическим травлением или лазерной абляцией) - Фиг 1. Затем из бор-нитридной газовой среды на катодную подложку высаживается пленка (3) из нитрида бора (BN) толщиной Н ≤ h, где h - высота острийных автоэмиттеров - Фиг 2. На пленке BN над каждым острийным автоэмиттером формируются цилиндрические диски (4) из фоторезиста высотой 1.2÷1.4 мкм с помощью фото или электронно-лучевой литографии - Фиг 3. Далее на непокрытой дисками из фоторезиста поверхности BN формируются пленки из хрома (5), а затем из алюминия (6) толщиной по 0.5 мкм - Фиг 4. Пленка из хрома наносится для улучшения адгезии пленки из алюминия к пленке из BN. С помощью технологии взрывного травления удаляются диски фоторезиста (4) вместе с напыленными на них хромом и алюминием - Фиг 5. Далее в пленке BN вокруг острийных автоэмиттеров формируются полости (7) методом травления тетрафторметаном (CF4) в среде воздуха - Фиг 6. Технологические операции по изготовлению катодно-сеточного узла завершаются его химической очисткой.

[16]

Источники информации:

[17]

1. Патент 2653694 RU;

[18]

2. Дармаев А.Н., Морев С.П., Муравьев Э.К. Шестеркин В.И. Расчет автоэмиссионных ячеек с высоким аспектным отношением // Актуальные проблемы электронного приборостроения: материалы Междунар. научн. -.техн. конф. АПЭП - 2016. 22-23 сентября 2016 г. СГТУ. Саратов. Россия. С181-183;

[19]

3. Патент 2589722 RU;

[20]

4. Spindt С.А., Brodie I., Humphrey L., Westerberg E.R. Physical properties jf thin-film field emission cathodes with molybdenum cones // Journal jf Applied Physics. Vol.47. №12. 1976. P. 5248-5263;

[21]

5. Whaley D.R., Duggal R., Armstrong C.M. and et. al. 100 W Operation of a Cold Cathode TWT // IEEE Transactions on Electron Devices, 2009, Vol. 56, No. 5, pp.896-905;

[22]

6. Месяц А.Г., Проскуровский Д.И. Импульсный электрический разряд в вакууме // Наука. г. Новосибирск. 1984;

[23]

7. Шестеркин В.И., Глухова О.Е., Иванов Д.В., Колесникова А.С. Расчетно-экспериментальная оценка спектра энергий автоэлектронов для многоострийной катодной матрицы из стеклоуглерода // Радиотехника и электроника. 2014. Т. 59. №8. С. 782-787.

Как компенсировать расходы
на инновационную разработку
Похожие патенты