патент
№ RU 2636933
МПК H05K5/06

ГЕРМЕТИЧНЫЙ РАДИОЭЛЕКТРОННЫЙ БЛОК

Авторы:
Тушнов Петр Анатольевич Токмаков Дмитрий Ильич Каримов Яков Шибердинович
Все (9)
Номер заявки
2016133010
Дата подачи заявки
10.08.2016
Опубликовано
29.11.2017
Страна
RU
Как управлять
интеллектуальной собственностью
Чертежи 
1
Реферат

Изобретение относится к области антенной техники и может быть использовано при изготовлении радиоэлектронных устройств, в частности приемо-передающих модулей активных фазированных антенных решеток. Технический результат - повышение надежности паяного соединения и радиоэлектронного блока в целом. Достигается тем, что радиоэлектронный блок содержит корпус, расположенную в нем радиоэлектронную ячейку и крышку, соединенную с корпусом паяным соединением. Стенки корпуса выполнены с двумя ступенями, на первой ступени установлена крышка, а вторая ступень формирует зазор между торцевой поверхностью крышки и внутренней поверхностью стенок корпуса, заполненный припоем. На поверхности первой ступени расположен слой герметизирующего материала, а по периметру крышки в зоне зазора выполнена фаска. 4 з.п. ф-лы, 2 ил.

Формула изобретения

1. Радиоэлектронный блок, содержащий корпус, расположенную в нем радиоэлектронную ячейку и крышку, соединенную с корпусом паяным соединением, в котором стенки корпуса выполнены с двумя ступенями, на первой ступени установлена крышка, а вторая ступень формирует зазор между торцевой поверхностью крышки и внутренней поверхностью стенок корпуса, заполненный припоем, отличающийся тем, что на поверхности первой ступени расположен слой герметизирующего материала, а по периметру крышки в зоне зазора выполнена фаска.

2. Радиоэлектронный блок по п. 1, отличающийся тем, что фаска выполнена под углом 60° к торцевой поверхности крышки.

3. Радиоэлектронный блок по пп. 1 или 2, отличающийся тем, что фаска выполнена шириной а2=(1,5÷2)а1, где а1 - ширина зазора.

4. Радиоэлектронный блок по п. 3, отличающийся тем, что зазор сформирован шириной a1=0,6÷1,5 мм.

5. Радиоэлектронный блок по пп. 1 или 2, отличающийся тем, что слой герметизирующего материала представляет собой слой полимеризованного термостойкого силиконового безуксусного герметика.

Описание

[1]

Изобретение относится к области антенной техники и может быть использовано при изготовлении радиоэлектронных устройств, в частности приемо-передающих модулей активных фазированных антенных решеток.

[2]

Известен радиоэлектронный блок, содержащий корпус, расположенную в нем радиоэлектронную ячейку, и крышку, соединенную с корпусом паяным соединением (см., например, Гуськов Г.Я. и др. «Монтаж микроэлектронной аппаратуры», Москва, 1986, стр. 82, рис. 3.7).

[3]

Недостатки известного радиоэлектронного блока состоят в том, что в нем не обеспечивается оптимальный зазор для припоя, что снижает надежность паяного соединения.

[4]

Известен радиоэлектронный блок, содержащий корпус, расположенную в нем радиоэлектронную ячейку и крышку, соединенную с корпусом паяным соединением, в котором стенки корпуса выполнены с двумя ступенями, на поверхности первой ступени установлена крышка, а вторая ступень формирует зазор между торцевой поверхностью крышки и внутренней поверхностью стенок корпуса, заполненный припоем (см. Кольтюков Н.А., Белоусов О.А. «Проектирование несущих конструкций радиоэлектронных средств», издательство ТГТУ, 2009, стр. 39, рис. 5.2).

[5]

Недостатки известного радиоэлектронного блока также состоят в недостаточной надежности паяного соединения крышки и корпуса, что снижает надежность радиоэлектронного блока в целом.

[6]

Задачей настоящего изобретения является создание радиоэлектронного блока, лишенного указанных недостатков.

[7]

В результате достигается технический результат, заключающийся в повышении надежности радиоэлектронного блока.

[8]

Указанный технический результат достигается посредством создания радиоэлектронного блока, содержащего корпус, расположенную в нем радиоэлектронную ячейку и крышку, соединенную с корпусом паяным соединением, в котором стенки корпуса выполнены с двумя ступенями, на первой ступени установлена крышка, а вторая ступень формирует зазор между поверхностью торцов крышки и внутренней поверхностью стенок корпуса, заполненный припоем, при этом на поверхности первой ступени расположен слой герметизирующего материала, а по периметру крышки в зоне зазора выполнена фаска.

[9]

Согласно частному варианту выполнения, фаска выполнена под углом 60° к торцевой поверхности крышки.

[10]

Согласно другому частному варианту выполнения, фаска выполнена шириной a2=(1,5÷2)а1, где a1 - ширина зазора.

[11]

Согласно предпочтительному варианту выполнения, зазор сформирован шириной а1=0,6÷1,5 мм.

[12]

Согласно еще одному частному варианту выполнения, слой герметизирующего материала представляет собой слой полимеризованного термостойкого силиконового безуксусного герметика.

[13]

Заявленные конструктивные особенности корпуса радиоэлектронного блока обеспечивают равномерность заполнения припоем зазора, повышают равномерность распределения температуры при пайке, что, в свою очередь, повышает однородность образующегося паяного шва, и повышают интенсивность отхождения газовых пузырей. Это, в свою очередь, повышает прочность и долговечность паяного соединения и, следовательно, его надежность, обеспечивающую надежность радиоэлектронного блока в целом.

[14]

Расположение на поверхности первой ступени слоя герметизирующего материала обеспечивает изоляцию внутреннего объема корпуса от зоны пайки, что предотвращает попадание во внутренний объем частиц припоя и флюса, что, в свою очередь, повышает надежность радиоэлектронного блока.

[15]

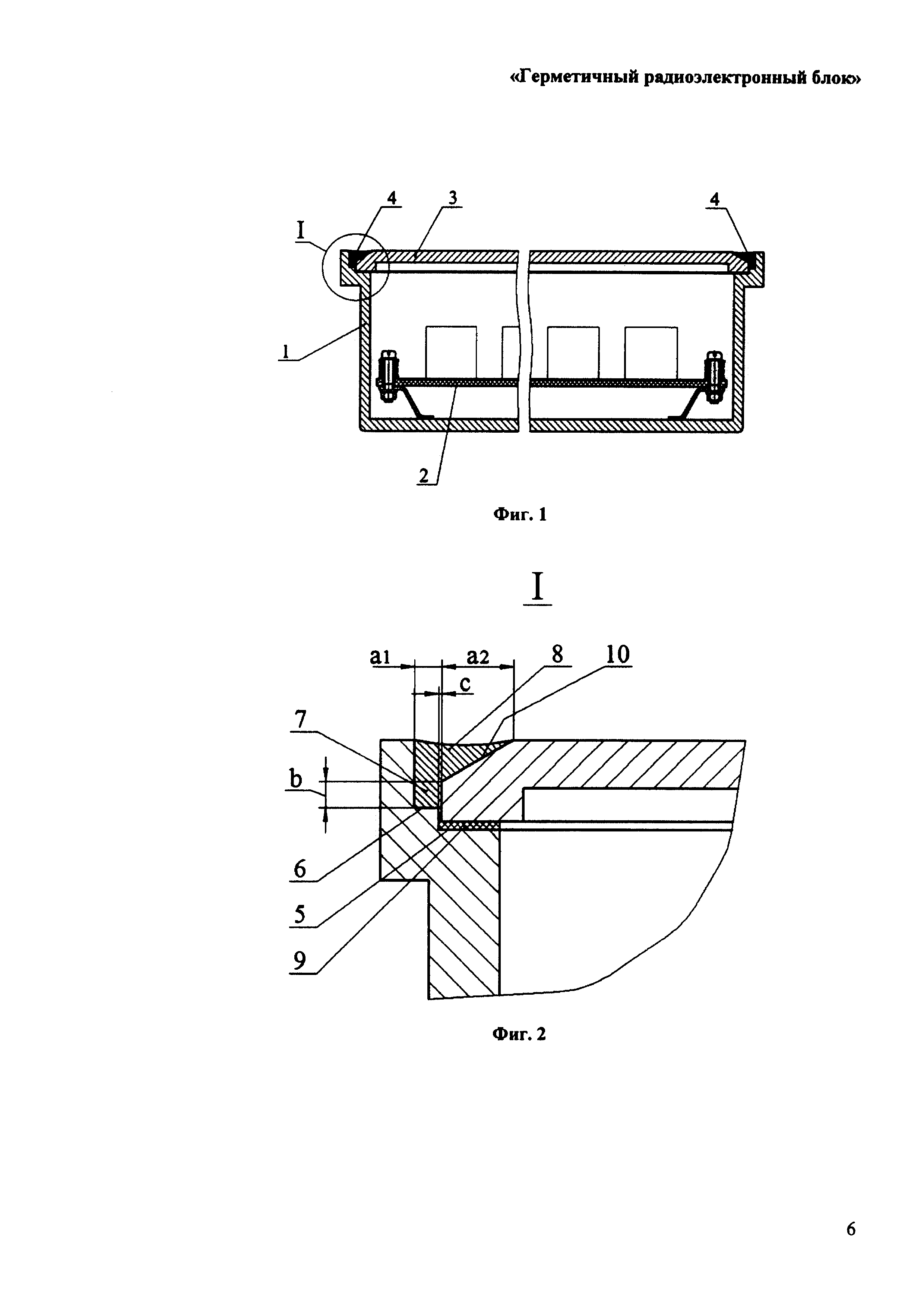
На фиг. 1 схематично изображен заявленный радиоэлектронный блок.

[16]

На фиг. 2 показано увеличенное изображение места соединения крышки с корпусом.

[17]

Заявленный радиоэлектронный блок, показанный на фиг. 1, содержит корпус 1, расположенную в нем радиоэлектронную ячейку 2 и крышку 3, соединенную с корпусом паяным соединением 4.

[18]

Стенки корпуса 1 выполнены с двумя ступенями 5 и 6. На первой ступени 5 с посадочным зазором «с» установлена крышка 3, а вторая ступень 6 формирует зазор 7 шириной «a1» между торцевой поверхностью крышки 3 и внутренними поверхностями стенок корпуса 1, заполненный припоем 8.

[19]

На поверхности первой ступени 5 кроме этого расположен слой герметизирующего материала 9, а по периметру крышки 3 в зоне зазора 7 выполнена фаска 10.

[20]

В частном варианте выполнения, показанном на фиг. 2, высота «b» зазора 7 от поверхности второй ступени 6 до фаски составляет 0,5÷3 мм, фаска выполнена под углом 60° к торцевой поверхности крышки 3 и имеет ширину a2=(1,5÷2)a1, где a1 - ширина зазора, при этом а1=0,6÷1,5 мм.

[21]

Заявленный радиоэлектронный блок герметизируют следующим образом.

[22]

1. Подготавливают поверхности корпуса 1 и крышки 3 под пайку (производят обезжиривание, удаление загрязнений).

[23]

2. Наносят на поверхность первой ступени 5 слой герметизирующего материала 9, в качестве которого используют, в частности, термостойкий силиконовый безуксусный герметик (например, коммерчески доступный под фирменным наименованием ABRO).

[24]

3. Устанавливают на слой герметизирующего материала 9 крышку 3.

[25]

4. Производят выдержку собранного радиоэлектронного блока в течение 24 часов при температуре 25±5° для полимеризации герметизирующего материала 9.

[26]

5. Заполняют зазор 7 между торцевой поверхностью крышки 3 и внутренней поверхностью стенок корпуса 1 припоем (например, ПОСК 50-18).

[27]

6. Производят пайку (любым подходящим известным способом, не раскрываемым конкретно в рамках настоящего изобретения).

Как компенсировать расходы
на инновационную разработку
Похожие патенты