патент
№ RU 2570679
МПК B66F11/04

ГИДРАВЛИЧЕСКИЙ ПРИВОД ПРЕИМУЩЕСТВЕННО МОБИЛЬНОЙ АНТЕННОЙ УСТАНОВКИ С ПОДЪЕМНЫМ ЭЛЕМЕНТОМ

Авторы:
Стрельцов Геннадий Викторович Некрасов Игорь Дмитриевич Кондратьев Анатолий Петрович
Все (12)
Номер заявки
2014129449/11
Дата подачи заявки
18.07.2014
Опубликовано
10.12.2015
Страна
RU
Как управлять
интеллектуальной собственностью
Чертежи 
4
Реферат

Изобретение относится к подъемной технике, в частности к гидравлическому приводу установки с подъемным элементом. Гидравлический привод (ГП) содержит систему управления, первый трехпозиционный гидрораспределитель с электромагнитным управлением (ТГ), первый и второй односторонние гидрозамки (ОГЗ), первый и второй ограничители расхода (ОР), дроссель и установленный на основании, смонтированном на шасси транспортного средства, насосный агрегат (НА) с баком. НА через первый ТГ, напорные и сливные магистрали (М) гидравлически связан со штоковой и поршневой полостями по меньшей мере одного гидроцилиндра подъема (ГЦ) подъемного элемента. ГЦ шарнирно соединен соответственно с упомянутым основанием и ПЭ. Напорная М, связывающая НА с ГЦ, имеет возможность сообщения со штоковой полостью ГЦ через первый ТГ в одной его позиции и возможность сообщения с поршневой полостью ГЦ в другой позиции первого ТГ через последовательно установленные первый ОР, первый ОГЗ и второй ОР. Первый ОР выполнен с возможностью ограничения расхода при подъеме ПЭ, а второй - при опускании ПЭ. НА содержит клапан разгрузки, гидравлически управляемый подключенным к напорной М вторым ТГ, и ручной гидронасос. Сливная М, связывающая ГЦ с НА, имеет возможность сообщения с поршневой полостью ГЦ через последовательно установленные второй ОГЗ и упомянутый дроссель в одной позиции второго ТГ. Дроссель в М установлен между вторым ОГЗ и ГЦ. Второй ТГ содержит два золотника, которые установлены параллельно с возможностью их одновременного перемещения. Один из золотников гидравлически связан с управляющей полостью клапана разгрузки, а другой - с управляющей п

Формула изобретения

1. Гидравлический привод, преимущественно мобильной антенной установки с подъемным элементом, содержащий систему управления, первый трехпозиционный гидрораспределитель с электромагнитным управлением, первый и второй односторонние гидрозамки, первый и второй ограничители расхода, дроссель и установленный на основании, смонтированном на шасси транспортного средства, насосный агрегат с баком, причем насосный агрегат через первый трехпозиционный гидрораспределитель, напорные и сливные магистрали гидравлически связан со штоковой и поршневой полостями по меньшей мере одного гидроцилиндра подъема подъемного элемента, при этом гидроцилиндр подъема шарнирно соединен соответственно с упомянутым основанием и подъемным элементом, причем напорная магистраль, связывающая насосный агрегат с гидроцилиндром подъема, имеет возможность сообщения со штоковой полостью последнего через первый трехпозиционный гидрораспределитель в одной его позиции и возможность сообщения с поршневой полостью гидроцилиндра подъема в другой позиции первого трехпозиционного гидрораспределителя через последовательно установленные первый ограничитель расхода, первый односторонний гидрозамок и второй ограничитель расхода, причем первый ограничитель расхода выполнен с возможностью ограничения расхода при подъеме подъемного элемента, а второй - при опускании последнего, при этом насосный агрегат содержит клапан разгрузки, гидравлически управляемый подключенным к напорной магистрали вторым трехпозиционным гидрораспределителем с электромагнитным управлением, и ручной гидронасос, отличающийся тем, что сливная магистраль, связывающая гидроцилиндр подъема с насосным агрегатом, имеет возможность сообщения с поршневой полостью гидроцилиндра подъема через последовательно установленные второй односторонний гидрозамок и упомянутый дроссель в одной позиции второго трехпозиционного гидрораспределителя с электромагнитным управлением, причем дроссель в соответствующей магистрали установлен между вторым односторонним гидрозамком и гидроцилиндром подъема, при этом второй трехпозиционный гидрораспределитель с электромагнитным управлением содержит два золотника, которые установлены параллельно с возможностью их одновременного перемещения, причем один из золотников гидравлически связан с управляющей полостью клапана разгрузки, а другой - с управляющей полостью второго одностороннего гидрозамка, при этом насосный агрегат включает насосную станцию, содержащую последовательно установленные регулируемый гидронасос с регулятором мощности и центробежный гидронасос подкачки, связанный с упомянутым баком, который выполнен с возможностью наддува инертным газом.

2. Гидравлический привод по п. 1, отличающийся тем, что он содержит по меньшей мере один подпружиненный гидравлический стопор-замок для фиксации подъемного элемента относительно упомянутого основания в транспортировочном положении антенной установки, причем стопор-замок подключен к соответствующей магистрали, связывающей первый трехпозиционный гидрораспределитель с электромагнитным управлением с первым ограничителем расхода.

3. Гидравлический привод по п. 1, отличающийся тем, что ручной гидронасос имеет возможность сообщения с управляющей полостью второго одностороннего гидрозамка через второй трехпозиционный гидрораспределитель с электромагнитным управлением в одной его позиции.

4. Гидравлический привод по любому из пп. 1-3, отличающийся тем, что в качестве насосной станции содержит малогабаритную насосную станцию, которая в качестве регулируемого гидронасоса с регулятором мощности содержит регулируемый аксиально-плунжерный гидронасос с регулятором мощности.

Описание

[1]

Изобретение относится к антенной технике, в частности к гидравлическим приводам мобильных антенных установок (АУ) с подъемным элементом.

[2]

Известен гидравлический привод, используемый в мобильной антенной установке по патенту RU 2115977 C1 (H01Q 1/08, 1999). Известная мобильная АУ содержит контейнер с аппаратурой, конструктивно совмещенный с антенной системой, включающей снабженную гидроцилиндром поворота подъемную мачту с антенной, представляющей собой фазированную антенную решетку (ФАР). Подъемная мачта снабжена устройствами фиксации последней в развернутом (рабочем) и транспортировочном (походном) положениях. Контейнер снабжен выносными поворачивающимися опорами с гидродомкратами, устанавливаемыми с возможностью контактирования с грунтом и выполнен с возможностью размещения на автотранспортном средстве. При развертывании АУ контейнер (антенную систему) вывешивают и горизонтируют с помощью гидравлического привода, включающего упомянутые гидродомкраты.

[3]

Однако известный гидравлический привод имеет ограниченные функциональные возможности.

[4]

Известен гидравлический привод, преимущественно мобильной антенной установки с подъемной мачтой по патенту RU 2281244 C1 (B66F 11/04, H01Q 1/32, 2006). Известный гидравлический привод содержит систему управления, первый и второй трехпозиционные гидрораспределители с электромагнитным управлением, регулятор расхода, установленные на шасси транспортного средства насосный агрегат с баком. Насосный агрегат через первый трехпозиционный гидрораспределитель с электромагнитным управлением, напорные и сливные магистрали гидравлически связан со штоковой и поршневой полостями гидроцилиндра подъема подъемной мачты, включающей рычаги с взаимным шарнирным сочленением, образующие верхнюю и нижнюю секции подъемной мачты. На верхней секции подъемной мачты с возможностью поворота в вертикальной плоскости шарнирно закреплена опорная платформа. Гидроцилиндр подъема шарнирно соединен соответственно со смонтированным на транспортном средстве основанием и нижней секцией подъемной мачты, а между гидроцилиндром подъема и первым трехпозиционным гидрораспределителем подключен односторонний гидрозамок. Напорная магистраль, связывающая насосный агрегат с гидроцилиндром подъема, имеет возможность сообщения с поршневой полостью последнего через первый трехпозиционный гидрораспределитель с электромагнитным управлением в одной его позиции, и возможность сообщения со штоковой полостью гидроцилиндра подъема в другой позиции первого трехпозиционного гидрораспределителя. Гидравлический привод снабжен по меньшей мере одним гидроцилиндром поворота опорной платформы, который шарнирно соединен соответственно с опорной платформой и верхней секцией подъемной мачты. При этом гидроцилиндр поворота имеет гидрозамок и гидравлически связан с насосным агрегатом через второй трехпозиционный гидрораспределитель с электромагнитным управлением. Напорная магистраль, связывающая насосный агрегат с гидроцилиндром поворота, имеет возможность сообщения с поршневой полостью гидроцилиндра поворота через второй трехпозиционный гидрораспределитель с электромагнитным управлением в одной его позиции, гидрозамок, регулятор расхода и дроссель. Регулятор расхода установлен в соответствующей магистрали с помощью четырех блокировочных обратных клапанов, которые установлены с возможностью обеспечения неизменного направления движения жидкости через регулятор расхода независимо от направления движения штока гидроцилиндра поворота. При этом напорная магистраль, связывающая насосный агрегат с гидроцилиндром поворота, имеет возможность сообщения со штоковой полостью гидроцилиндра поворота в другой позиции второго трехпозиционного гидрораспределителя с электромагнитным управлением.

[5]

Однако известный гидравлический привод имеет ограниченные функциональные возможности, что обусловлено целевыми характеристиками известной мобильной АУ, у которой опорная платформа совместно с антенным устройством установлена на верхней секции подъемной мачты. В известном устройстве разворот опорной платформы совместно с установленным на ней антенным устройством в рабочее положение производят после подъема подъемной мачты совместно с опорной платформой на заданную высоту, т.е. операция разворота опорной платформы в рабочее положения и операция подъема подъемной мачты разнесены во времени. При свертывании АУ в транспортировочное положение эти операции производят в обратной последовательности в сравнении с развертыванием АУ. Разнесение отмеченных операций во времени увеличивает продолжительность развертывания-свертывания АУ.

[6]

Наиболее близким по совокупности существенных признаков с заявляемым изобретением является гидравлический привод преимущественно мобильной антенной установки с подъемной мачтой по патенту RU 2449942 C1 (B66F 11/04, F16B 15/00, H01Q 1/08, 2012). Известный гидравлический привод содержит систему управления, первый трехпозиционный гидрораспределитель с электромагнитным управлением, первый и второй односторонние гидрозамки, первый и второй ограничители расхода, дроссель и установленные на основании, смонтированном на шасси транспортного средства, насосный агрегат с баком. Насосный агрегат через первый трехпозиционный гидрораспределитель, напорные и сливные магистрали гидравлически связан со штоковой и поршневой полостями гидроцилиндра подъема подъемной мачты (подъемного элемента). При этом гидроцилиндр подъема шарнирно соединен соответственно с упомянутым основанием и подъемной мачтой. Напорная магистраль, связывающая гидроцилиндр подъема с насосным агрегатом, имеет возможность сообщения со штоковой полостью последнего через первый трехпозиционный гидрораспределитель в одной его позиции и возможность сообщения с поршневой полостью гидроцилиндра подъема в другой позиции первого трехпозиционного гидрораспределителя через последовательно установленные первый ограничитель расхода, первый односторонний гидрозамок и второй ограничитель расхода. Первый ограничитель расхода выполнен с возможностью ограничения расхода при подъеме подъемной мачты, а второй - при опускании последней. При этом насосный агрегат содержит клапан разгрузки, гидравлически управляемый подключенным к напорной магистрали вторым трехпозиционным гидрораспределителем с электромагнитным управлением, и ручной гидронасос. В варианте выполнения гидравлический привод содержит гидромеханическое устройство фиксации подъемной мачты (подъемного элемента) которое через соответствующие магистрали соединено соответственно с первым трехпозиционным гидрораспределителем и с первым ограничителем расхода и выполнено с возможностью сообщения первого трехпозиционного гидрораспределителя с первым ограничителем расхода при подъеме-опускании подъемной мачты. Гидромеханическое устройство фиксации включает установленные на шасси транспортного средства гидроцилиндр со стопором и золотник. Стопор и золотник выполнены с возможностью взаимодействия соответственно с опорной платформой, шарнирно закрепленной на подъемной мачте, и с подъемной мачтой в транспортировочном положении. При этом гидроцилиндр стопора и золотник гидравлически связаны между собой. Подъем мачты может производиться только после ее отстопоривания. Это исключает возможность поломки устройства фиксации в случае несанкционированного включения привода подъема мачты, что повышает надежность.

[7]

Однако известный гидравлический привод не предусматривает возможности обеспечения двухскоростного режима при опускании подъемной мачты (подъемного элемента) из рабочего положения в походное (транспортировочное) положение и - автоматического снижение скорости опускания подъемной мачты (подъемного элемента) на конечном участке перемещения последней.

[8]

Задачей настоящего изобретения является создание гидравлического привода мобильной АУ, обеспечивающего двухскоростной режим опускания подъемного элемента при переводе его из рабочего положения в походное (транспортировочное) положение и - автоматическое снижение скорости опускания подъемного элемента на конечном участке перемещения последнего.

[9]

Указанная задача решается благодаря тому, что в известном гидравлическом приводе, содержащем систему управления, первый трехпозиционный гидрораспределитель с электромагнитным управлением, первый и второй односторонние гидрозамки, первый и второй ограничители расхода, дроссель и установленные на основании, смонтированном на шасси транспортного средства, насосный агрегат с баком, причем насосный агрегат через первый трехпозиционный гидрораспределитель, напорные и сливные магистрали гидравлически связан со штоковой и поршневой полостями по меньшей мере одного гидроцилиндра подъема подъемного элемента, при этом гидроцилиндр подъема шарнирно соединен соответственно с упомянутым основанием и подъемным элементом, причем напорная магистраль, связывающая гидроцилиндр подъема с насосным агрегатом, имеет возможность сообщения со штоковой полостью последнего через первый трехпозиционный гидрораспределитель в одной его позиции и возможность сообщения с поршневой полостью гидроцилиндра подъема в другой позиции первого трехпозиционного гидрораспределителя через последовательно установленные первый ограничитель расхода, первый односторонний гидрозамок и второй ограничитель расхода, причем первый ограничитель расхода выполнен с возможностью ограничения расхода при подъеме подъемного элемента, а второй - при опускании последнего, при этом насосный агрегат содержит клапан разгрузки, гидравлически управляемый подключенным к напорной магистрали вторым трехпозиционным гидрораспределителем с электромагнитным управлением, и ручной гидронасос, согласно изобретению сливная магистраль, связывающая насосный агрегат с гидроцилиндром подъема, имеет возможность сообщения с поршневой полостью гидроцилиндра подъема через последовательно установленные второй односторонний гидрозамок и упомянутый дроссель в одной позиции второго трехпозиционного гидрораспределителя с электромагнитным управлением. Дроссель в соответствующей магистрали установлен между вторым односторонним гидрозамком и гидроцилиндром подъема. Второй трехпозиционный гидрораспределитель с электромагнитным управлением содержит два золотника, которые установлены параллельно с возможностью их одновременного перемещения. Один из золотников гидравлически связан с управляющей полостью клапана разгрузки, а другой - с управляющей полостью второго одностороннего гидрозамка. При этом насосный агрегат включает насосную станцию, содержащую последовательно установленные регулируемый гидронасос с регулятором мощности и центробежный гидронасос подкачки, связанный с упомянутым баком, который выполнен с возможностью наддува инертным газом. Такое исполнение гидравлического привода мобильной АУ с подъемным элементом позволяет обеспечить двухскоростной режим опускания подъемного элемента при переводе последнего из рабочего в транспортировочное положение при существенном снижении скорости опускания подъемного элемента на конечном участке перемещения. Кроме того, изобретение обеспечивает повышение эксплуатационных характеристик и надежности гидравлического привода.

[10]

Вместе с этим гидравлический привод содержит по меньшей мере один подпружиненный гидравлический стопор-замок для фиксации подъемного элемента относительно упомянутого основания в транспортировочном положении антенной установки, причем стопор-замок подключен к соответствующей магистрали, связывающей первый трехпозиционный гидрораспределитель с электромагнитным управлением с первым ограничителем расхода. Благодаря такому исполнению подъем подъемного элемента может производиться только после его отстопоривания. Гидравлические стопора-замки обеспечивают надежную фиксацию подъемного элемента в транспортировочном положении, устраняя опасность его повреждения от возможных перегрузок при транспортировке мобильной АУ. Вместе с этим в начальный период подъема подъемного элемента гидравлические стопора-замки помогают исполнительным гидроцилиндрам подъема преодолеть максимальный момент неуравновешенности от подъемного элемента и обеспечивают тем самым возможность снижения нагрузки на исполнительные гидроцилиндры подъема. Таким образом обеспечивается возможность снижения максимального давления рабочей жидкости в гидросистеме при подъеме подъемного элемента, что позволяет снизить мощность и повысить экономичность гидравлического привода.

[11]

Кроме того, ручной гидронасос имеет возможность сообщения с управляющей полостью второго одностороннего гидрозамка через второй трехпозиционный гидрораспределитель с электромагнитным управлением в одной его позиции. Благодаря такому исполнению обеспечивается возможность опускания подъемного элемента в транспортировочное положение под собственным весом в случае возникновения аварийной ситуации, например, при неисправности насосной станции или при прекращении электроснабжения, что повышает надежность гидравлического привода.

[12]

В вышеприведенных вариантах гидравлический привод в качестве насосной станции может содержать малогабаритную насосную станцию, которая в качестве регулируемого гидронасоса с регулятором мощности содержит регулируемый аксиально-плунжерный гидронасос с регулятором мощности.

[13]

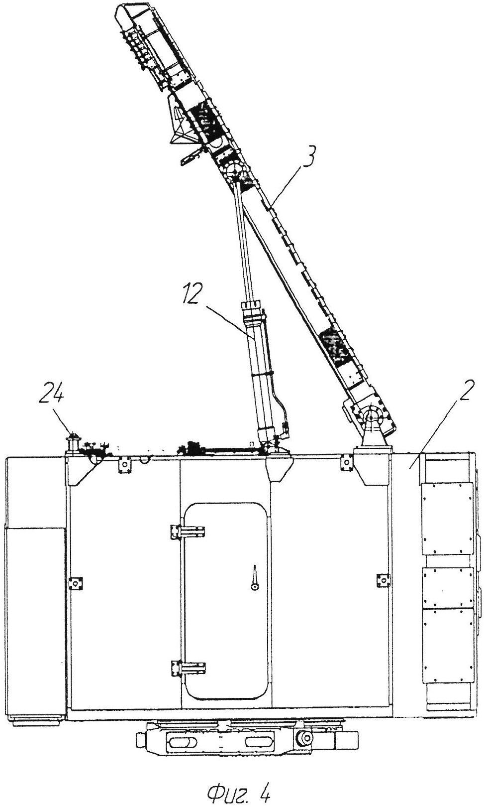
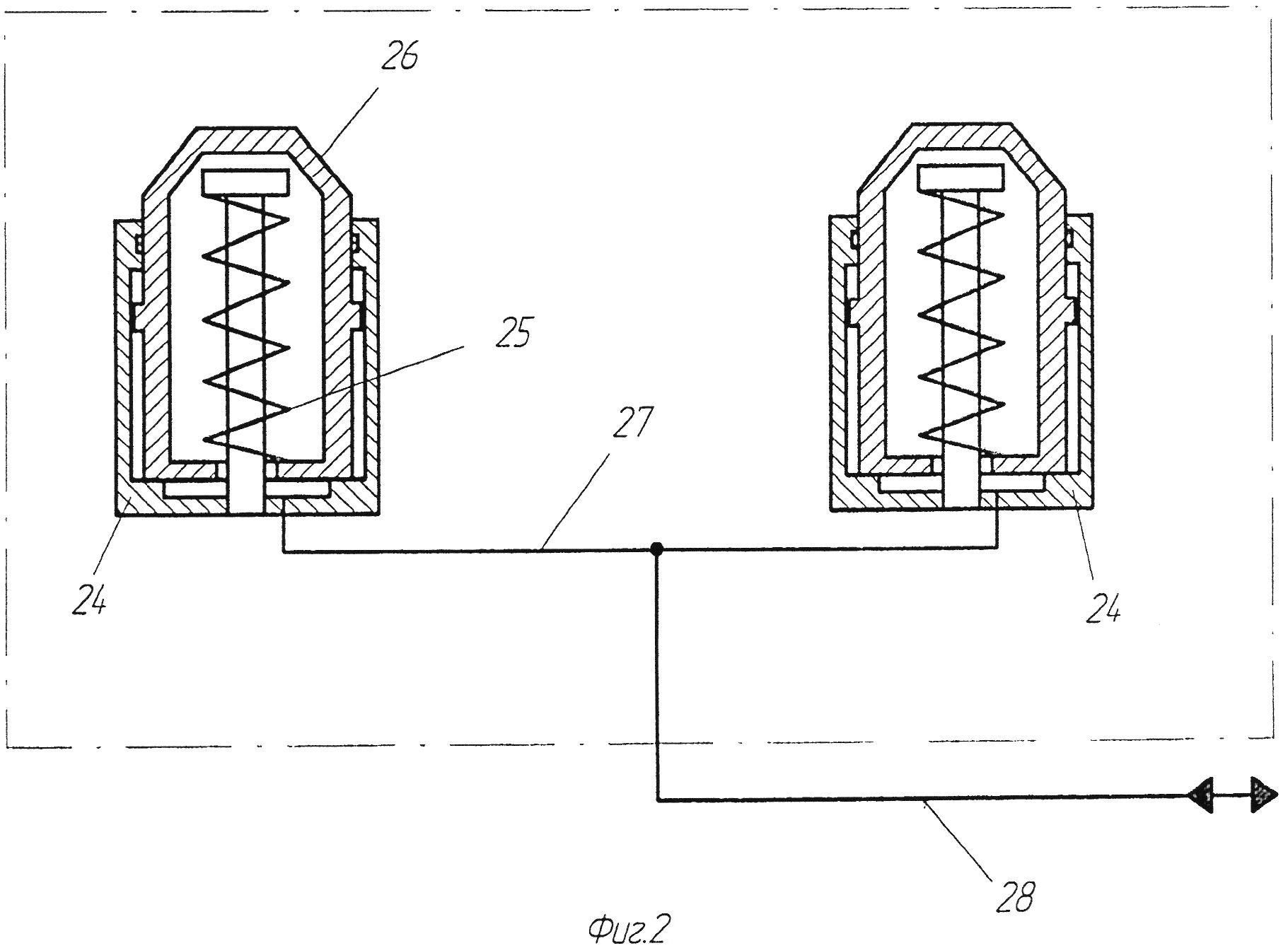
На фиг. 1 показана принципиальная схема гидравлического привода; на фиг. 2 - часть принципиальной схемы гидравлического привода, включающая гидравлические стопора-замки; на фиг. 3 - показана мобильная АУ с ФАР, развернутое положение, общий вид; на фиг. 4 - аппаратный контейнер (основание) и панель ФАР (подъемный элемент) в рабочем положении, элемент А на фиг. 3; на фиг. 5 - то же в транспортировочном (походном) положении.

[14]

Гидравлический привод мобильной АУ с подъемным элементом работает следующим образом.

[15]

В варианте осуществления изобретения гидравлический привод используется в мобильной АУ, например, с фазированной антенной решеткой. Мобильная АУ содержит смонтированное на шасси транспортного средства 1 с возможностью вращения в горизонтальной плоскости основание (аппаратный контейнер) 2, на котором с возможностью поворота в вертикальной плоскости закреплен подъемный элемент (по существу - панель ФАР) 3.

[16]

Гидравлический привод содержит систему управления (на чертеже не показано), трехпозиционный гидрораспределитель 4 с электромагнитным управлением (МГ1, МГ2), односторонние гидрозамки 5 и 6, ограничители расхода 7 и 8, дроссель 9 и установленные на основании 2 насосный агрегат 10 с баком 11.

[17]

Насосный агрегат 10 через трехпозиционный гидрораспределитель 4, напорные и сливные магистрали гидравлически связан со штоковой и поршневой полостями, например, двух исполнительных гидроцилиндров 12 подъема подъемного элемента (панели ФАР) 3. Каждый из гидроцилиндров 12 подъема шарнирно соединен соответственно с основанием 2 и подъемным элементом (панелью ФАР) 3. Напорная магистраль 13, связывающая насосный агрегат 10 с гидроцилиндром 12 подъема, имеет возможность сообщения со штоковой полостью последнего через трехпозиционный гидрораспределитель 4 в одной его позиции и возможность сообщения с поршневой полостью гидроцилиндра 12 подъема в другой позиции трехпозиционного гидрораспределителя 4 через последовательно установленные ограничитель расхода 7, односторонний гидрозамок 5 и ограничитель расхода 8, которые в варианте осуществления изобретения образуют единый гидроблок 14. Ограничитель расхода 7 выполнен с возможностью ограничения расхода при подъеме подъемного элемента (панели ФАР) 3, а ограничитель 8 - при опускании подъемного элемента 3 (по существу ограничители расхода в гидросистеме установлены встречно направленно, т.е. развернуты один относительно другого). Таким образом, трехпозиционный гидрораспределитель 4 служит для дистанционного управления исполнительными гидроцилиндрами 12 подъема, при этом гидроблок 14 обеспечивает скоростной режим подъема-опускания подъемного элемента (панели ФАР) 3. В качестве трехпозиционного гидрораспределителя 4 с электромагнитным управлением может быть использован, например, гидрораспределитель типа ГА-142, ГА-142СТУ.

[18]

Насосный агрегат 10 включает насосную станцию 15, содержащую последовательно установленные регулируемый гидронасос 16 с регулятором мощности и центробежный гидронасос 17 подкачки, который через магистраль 18 связан с баком 11. Гидронасос 17 подкачки служит для обеспечения нормальных условий работы основного гидронасоса 16. Бак 11 насосного агрегата выполнен с возможностью наддува инертным газом. В варианте осуществления изобретения насосный агрегат 10 в качестве насосной станции 15 содержит, например, используемую в области авиации малогабаритную насосную станцию типа НС74, которая в качестве гидронасоса 16 содержит регулируемый аксиально-плунжерный насос с регулятором мощности. Использование малогабаритной насосной станции позволяет компактно разместить в стесненных условиях АУ элементы гидравлического привода и уменьшить весовые характеристики АУ в целом. Использование в качестве основного гидронасоса 16 регулируемого аксиально-плунжерного насоса с регулятором мощности обеспечивает возможность оптимального выбора характеристик, определяющих мощность гидравлического привода (подача насоса и давление). Центробежный насос 17 подкачки и бак 11 с наддувом обеспечивают нормальные условия всасывания гидронасоса 16 и, соответственно, его номинальную производительность при различных условиях эксплуатации АУ, например, при пониженном атмосферном давлении. Таким образом, достигается расширение области использования гидравлического привода.

[19]

Насосный агрегат также содержит ручной гидронасос 19, который имеет возможность сообщения с управляющей полостью одностороннего гидрозамка 6 через трехпозиционный гидрораспределитель 20 с электромагнитным управлением (МГ1, МГ2) в одной его позиции, и содержит клапан 21 разгрузки гидронасоса 16 при его включении, гидравлически управляемый подключенным к напорной магистрали 13 трехпозиционным гидрораспределителем 20. В ручном режиме управление электромагнитом МГ2 трехпозиционного гидрораспределителя 20 осуществляется с помощью кнопки 22 ручного управления.

[20]

Сливная магистраль 23, связывающая насосный агрегат 10 с исполнительными гидроцилиндрами 12 подъема имеет возможность сообщения с поршневыми полостями этих гидроцилиндров через последовательно установленные односторонний гидрозамок 6 и дроссель 9 в одной позиции трехпозиционного гидрораспределителя 20. При этом дроссель 9 в магистрали установлен между односторонним гидрозамком 6 и гидроцилиндрами 12 подъема. Наличие в гидроприводе одностороннего гидрозамка 6 и дросселя 9 позволяет уменьшить скорость опускания подъемного элемента (панели ФАР) 3 при переводе последнего из рабочего положения в транспортировочное (походное) положение.

[21]

Трехпозиционный гидрораспределитель 20 с электромагнитным управлением содержит два золотника, которые установлены параллельно с возможностью их одновременного перемещения. Один из золотников трехпозиционного гидрораспредедителя 20 гидравлически связан с управляющей полостью клапана 21 разгрузки гидронасоса 16, а другой - с управляющей полостью одностороннего гидрозамка 6. В качестве трехпозиционного гидрораспределителя 20 с электромагнитным управлением может быть использован, например, гидрораспределитель типа ГА-163Т/16, ГА-163СТУ (со схемой распределения потока 34). В качестве одностороннего гидрозамка 6 может быть использован, например, односторонний гидрозамок типа ГА-111, ГА-111ТУ. Использование трехпозиционного гидрораспределителя с двумя золотниками с возможностью их параллельной одновременной работы, позволяет удерживать открытым односторонний гидрозамок 6, обеспечивая дроссельный режим опускания подъемного элемента (панели ФАР) 3 под собственным весом, с одновременным запиранием клапана 21 разгрузки гидронасоса 16, обеспечивая работу гидронасоса в штатном режиме. Таким образом достигается существенное упрощение управления гидросистемой, снижение ее стоимости и повышение надежности.

[22]

В варианте осуществления изобретения гидравлический привод содержит, например, два подпружиненных гидравлических стопора-замка 24 для фиксации подъемного элемента (панели ФАР) 3 относительно основания 2 к транспортировочном положении АУ. Каждый из гидравлических стопоров-замков закреплен на основании 2 и включает пружину 25 и стопор 26, выполненный с возможностью взаимодействия с соответствующими ответными опорными элементами (на чертеже не показано), которые установлены на подъемном элементе 3, причем каждый стопор-замок соответственно подключен к магистрали 27, которая сообщена с магистралью 28, связывающей трехпозиционный гидрораспределитель 4 с ограничителем расхода 7. Гидравлические стопора-замки 24 обеспечивают надежную фиксацию подъемного элемента (панели ФАР) 3 в транспортировочном (походном) положении, устраняя опасность его повреждения от возможных перегрузок при транспортировке мобильной АУ. Вместе с этим гидравлические стопора-замки 24 обеспечивают возможность снижения нагрузки на исполнительные гидроцилиндры 12 подъема в начальный момент подъема подъемного элемента 3, когда момент неуравновешенности от него, а, следовательно, и нагрузка на исполнительные гидроцилиндры 12 достигают максимальной величины. Таким образом обеспечивается возможность снижения максимального давления рабочей жидкости в гидросистеме при подъеме подъемного элемента (панели ФАР), что позволяет снизить мощность и повысить экономичность гидравлического привода.

[23]

В исполнительных гидроцилиндрах 12 подъема для надежного удержания подъемного элемента (панели ФАР) 3 в течение длительного времени в поднятом (рабочем) положении предусмотрены шариковые гидрозамки 29.

[24]

В варианте осуществления изобретения насосный агрегат содержит также обратные клапаны 30-33, напорный фильтр 34, сливной фильтр 35, манометр 36 и предохранительный клапан 37. Гидроэлементы насосного агрегата соответственно соединены посредством магистралей 18 и 38-51. Гидроцилиндры 12 подъема соединены с насосным агрегатом 10 посредством магистралей 23 и 52-60. Для исключения влияния сливного давления на работу гидравлического привода в сливной магистрали трехпозиционного гидрораспределителя 20 установлен обратный клапан 61.

[25]

Гидравлический привод мобильной АУ работает следующим образом. На месте развертывания мобильной АУ вначале посредством автономной гидросистемы (на чертеже не показано) вывешивают и горизонтируют транспортное средство 1. Затем по команде системы управления (на чертеже не показано) включается электродвигатель насосной станции 15 в насосном агрегате 10. В начальный момент гидронасос 16 работает в режиме разгрузки, при этом весь расход от гидронасоса 16 поступает по магистрали 41, через клапан разгрузки 21, по магистрали 42, через обратный клапан 31 в бак 11. При этом давление на манометре 36 в режиме разгрузки гидронасоса будет не более 1 МПа. Через 3-5 сек. после включения гидронасоса 16 срабатывает реле времени (на чертеже не показано) и по команде системы управления включается трехпозиционный гидрораспределитель 20 (МГ1). При этом клапан 21 разгрузки гидронасоса запирается давлением жидкости, поступающей от гидронасоса 16 по магистрали 38, через обратный клапан 30, напорный фильтр 34, по магистралям 45, 48, через включенный трехпозиционный гидрораспределитель 20 (МГ1), по магистрали 43 в управляющую полость клапана разгрузки 21. Для подъема (поворота) подъемного элемента (панели ФАР) 3 в рабочее положение одновременно с трехпозиционным гидрораспределителем 20 (МГ1) по команде системы управления включается трехпозиционный гидрораспределитель 4 (МГ2) и жидкость под давлением от гидронасоса 16 по магистрали 38, через обратный клапан 30, фильтр 34, по магистралям 45, 13, через включенный трехпозиционный гидрораспределитель 4 (МГ2), по магистралям 28, 53, поступает в гидроблок 14 и через ограничитель расхода 7, односторонний гидрозамок 5, ограничитель расхода 8, по магистрали 55 поступает в поршневую полость левого по чертежу гидроцилиндра 12 подъема, а по магистралям 56, 58 - в поршневую полость правого по чертежу гидроцилиндра 12 подъема.

[26]

Одновременно по магистралям 28 и 27 жидкость под давлением поступает в полости гидравлических стопоров-замков 24. При давлении в гидросистеме, примерно, 5 МПа стопора 26 приподнимутся на небольшую величину, сжав пружины 25, при этом подъемный элемент (панель ФАР) 3 освободится от фиксации относительно основания 2 (устройство фиксации на чертеже не показано). При дальнейшем перемещении вверх стопора 26 дойдут до упора в соответствующие ответные элементы подъемного элемента 3 и при давлении в гидросистеме ~ 7 МПа совместно с исполнительными гидроцилиндрами 12 подъема начнут приподнимать последний (т.е. панель ФАР), помогая гидроцилиндрам 12 преодолеть максимальный момент неуравновешенности в начальный период подъема подъемного элемента 3. После того, как стопора 26 дойдут до соответствующих упоров внутри корпусов гидравлических стопоров-замков, дальнейший подъем подъемного элемента 3 в рабочее положение (поворот панели ФАР на угол, например, 60°) будет осуществляться только исполнительными гидроцилиндрами 12 подъема. Скорость подъема подъемного элемента (панели ФАР) будет соответствовать настройке ограничителя расхода 7 гидроблока 14. Ограничитель расхода 8 в гидросистеме развернут относительно ограничителя расхода 7 на 180°, поэтому он будет работать как обычный дроссель, на котором будут потери давления ~ 0,2-0,3 МПа (ограничитель расхода 8 предназначен для обеспечения определенной скорости при опускании подъемного элемента 3). Величина расхода, на который настроен ограничитель расхода 7, меньше производительности гидронасоса 16, остальная часть производительности насоса будет поступать в бак 11 через предохранительный клапан 37, по магистрали 47, через сливной фильтр 35, по гидромагистрали 39 и через обратный клапан 31. При этом давление на манометре 36 будет равно настройке указанного предохранительного клапана ~ 10 МПа. В процессе подъема (поворота) подъемного элемента 3 из штоковых полостей гидроцилиндров 12 жидкость будет вытесняться в бак 11 по магистралям 57, 60, 59, через включенный трехпозиционный гидрораспределитель 4 (МГ2), через обратный клапан 61, по магистрали 47, через сливной фильтр 35, по магистрали 39 и через обратный клапан 31. При приведении подъемного элемента 3 в рабочее положение (при повороте, например, на угол 60°), по сигналу датчика углового положения подъемного элемента (на чертеже не показано) и команде системы управления отключаются трехпозиционные гидрораспределители 20 (МГ1) и 4 (МГ2), при этом поршни исполнительных гидроцилиндров 12 фиксируются шариковыми гидрозамками 29. Таким образом обеспечивается заданное угловое положение подъемного элемента (панели ФАР) 3 в течение длительного времени.

[27]

Для создания нормальных условий работы аксиально-плунжерного регулируемого гидронасоса 16, например, при нахождении АУ на возвышенности в условиях пониженного атмосферного давления, в насосной станции 15 предусмотрен центробежный гидронасос 17 подкачки, который, всасывая рабочую жидкость (например, масло МГЕ-10А) по магистрали 18 из бака 11, подает рабочую жидкость в линию всасывания (магистраль) 50 гидронасоса 16, обеспечивая последнему нормальные условия работы. Избыток жидкости через обратный клапан 33 по магистрали 51 через обратный клапан 31 поступает в бак 11. Нормальному условию всасывания гидронасосов 17 и 16 способствует и наддув в баке 11 до небольшого избыточного давления, например, 0,3-0,5 МПа посредством инертного газа, например, азота.

[28]

Опускание (поворот) подъемного элемента (панели ФАР) 3 в исходное (транспортировочное) положение производится следующим образом. Перед началом опускания, по команде системы управления дается команда на подъем подъемного элемента 3. С этой целью включаются электродвигатель насосной станции 15, через 2-3 секунды включается трехпозиционный гидрораспределитель 20 (МГ1) для запирания клапана 21 разгрузки (для разгрузки гидронасоса во время пуска), одновременно включается трехпозиционный гидрораспределитель 4 (МГ2) на подъем подъемного элемента. Жидкость под давлением поступает в поршневые полости исполнительных гидроцилиндров 12, при этом пустоты в гидроцилиндрах в случае их образования в результате возможных утечек, например, через односторонние гидрозамки 5 и 6 при длительной работе АУ при поднятом положении панели ФАР с фиксацией исполнительных гидроцилиндров 12 шариковыми гидрозамками 29, заполняются рабочей жидкостью. Таким образом, исключается клевок (отрывистое движение подъемного элемента 3 до контакта поршней исполнительных гидроцилиндров 12 с рабочей жидкостью после открывания шариковых гидрозамков 29) в первоначальный момент опускания подъемного элемента (панели ФАР). Через 2-3 секунды после поддавливания исполнительных гидроцилиндров 12 по команде реле времени (на чертеже не показано) выключается электромагнит МГ2 трехпозиционного гидрораспределителя 4 и включается электромагнит МГ1 этого трехпозиционного гидрораспределителя, при этом трехпозиционный гидрораспределитель 20 (МГ1) продолжает оставаться включенным, т.е. гидронасос 16 продолжает работать в штатном режиме. Рабочая жидкость под давлением поступает в штоковые полости исполнительных гидроцилиндров 12 от гидронасоса 16, по магистрали 38, через обратный клапан 30, напорный фильтр 34, по магистралям 45, 13, через включенный трехпозиционный гидрораспределитель 4, по магистралям 57, 59, 60. Под давлением жидкости шариковые гидрозамки 29 исполнительных гидроцилиндров 12 открываются и поршни со штоками гидроцилиндров начинают перемещаться внутрь гидроцилиндров, опуская (поворачивая) подъемный элемент 3 в транспортировочное положение. Из поршневых полостей исполнительных гидроцилиндров 12 жидкость будет вытесняться по магистралям 58, 56, 55, через элементы гидроблока 14: ограничитель расхода 8 и односторонний гидрозамок 5, открытый давлением жидкости поступающей в его полость управления по магистрали 52 из магистрали 57 подачи давления в штоковые полости исполнительных гидроцилиндров 12, далее через ограничитель расхода 7, по магистралям 53, 28, через включенный трехпозиционный гидрораспределитель 4, через обратный клапан 61, по магистрали 47, через сливной фильтр 35, по магистрали 39 и через обратный клапан 31 в бак 11. Скоростной режим опускания подъемного элемента обеспечивается величиной расхода, на который настроен ограничитель расхода 8. Величина этого расхода меньше величины подачи гидронасоса 16. Избыточный расход от гидронасоса 16 через предохранительный клапан 37, по магистрали 47, через сливной фильтр 35, по магистрали 39 и через обратный клапан 31 поступает в бак 11.

[29]

При повороте (опускании) подъемного элемента (панели ФАР) 3, когда до перехода последнего в транспортировочное положение остается повернуть его, например, на угол 15°, по сигналу датчика угла (на чертеже не показано) и команде системы управления выключается трехпозиционный гидрораспределитель 4 (МГ1) и одновременно включается трехпозиционный гидрораспределитель 20 (МГ2), электромагнит МГ1 этого гидрораспределителя остается включенным, т.е. гидронасос 16 продолжает работать в штатном режиме. Возможность включения (выключения) двух электромагнитов одновременно имеет трехпозиционный гидрораспределитель типа ГА-163Т/16, ГА-163СТУ, применение которого предусматривается в заявляемом гидроприводе. Этот гидрораспределитель имеет два параллельно установленных золотника с возможностью параллельной их работы при одновременном включении обоих электромагнитов. Так как трехпозиционный гидрораспределитель 4 (МГ1) отключен, то давление жидкости от гидронасоса 16 перестало поступать в штоковые полости исполнительных гидроцилиндров 12, одновременно давление жидкости перестало поступать по магистрали 52 в полость управления одностороннего гидрозамка 5, в результате чего он закрылся и опускание подъемного элемента (панели ФАР) 3 этим путем прохождения жидкости через этот односторонний гидрозамок стало невозможным. Но, так как включился трехпозиционный гидрораспределитель 20 (МГ2), то дальнейшее опускание подъемного элемента (панели ФАР) 3 с угла 15° до исходного - транспортировочного положения стало возможным под действием собственного веса подъемного элемента (панели ФАР). В этом режиме опускания подъемного элемента жидкость из поршневых полостей исполнительных гидроцилиндров 12 будет вытесняться в бак 11 по магистралям 55, 56, 58, 54, через дроссель 9, через открытый односторонний гидрозамок 6, по магистрали 23, через обратный клапан 61, по магистрали 47, через фильтр 35, по магистрали 39 и через обратный клапан 31. Часть жидкости из поршневых полостей исполнительных гидроцилиндров 12 будет поступать в штоковые полости этих гидроцилиндров по магистрали 23, через трехпозиционный гидрораспределитель 4, по магистралям 57, 59 и 60, тем самым будут заполняться освобождающиеся объемы в штоковых полостях гидроцилиндров 12 в процессе опускания подъемного элемента (панели ФАР) 3 под собственным весом, при этом устраняется опасность появления вакуума в штоковых полостях исполнительных гидроцилиндров 12. При опускании подъемного элемента (панели ФАР) 3 под собственным весом скоростной режим опускания будет обеспечиваться дросселем 9, при этом в конце опускания произойдет плавное безударное касание подъемного элемента (панели ФАР) с подпружиненными стопорами 26, после чего гидравлические стопора-замки 24, взаимодействующие с соответствующими ответными элементами (на чертеже не показано), автоматически зафиксируют подъемный элемент (панель ФАР) 3 относительно основания 2 в транспортировочном (походном) положении.

[30]

В случае невозможности произвести опускание подъемного элемента (панели ФАР) 3 в штатном режиме, например, при неисправности электродвигателя насосной станции 15, аварийное опускание подъемного элемента 3 может быть осуществлено от ручного гидронасоса 19. При этом включается гидрораспределитель 20 (МГ2) подачей напряжения - 27 В на электромагнит МГ2, если напряжение отсутствует, то электромагнит МГ2 включается кнопкой 22 ручного управления. Жидкость под давлением от ручного гидронасоса 19 подается в управляющую полость одностороннего гидрозамка 6 по магистрали 40, через обратный клапан 32, по магистрали 44, через напорный фильтр 34, по магистралям 45, 48, через включенный трехпозиционный гидрораспределитель 20 (МГ2) и по магистрали 49. После открывания одностороннего гидрозамка 6 начнется опускание подъемного элемента (панели ФАР) 3 под собственным весом. Скорость опускания будет определяться дросселем 9, а режим опускания будет аналогичен вышеописанному режиму опускания подъемного элемента (панели ФАР) с угла 15° до исходного - транспортировочного положения.

[31]

Таким образом, благодаря особенности исполнения гидравлического привода мобильной АУ с подъемным элементом, изобретение позволяет обеспечить двухскоростной режим опускания подъемного элемента при переводе последнего из рабочего в транспортировочное (походное) положение при существенном снижении скорости опускания подъемного элемента на конечном участке перемещения. Кроме того, изобретение обеспечивает повышение эксплуатационных характеристик и надежности гидравлического привода.

Как компенсировать расходы
на инновационную разработку
Похожие патенты