патент
№ RU 2568965
МПК B64G1/64

УСТРОЙСТВО РАЗДЕЛЕНИЯ СБРОСА ГОЛОВНОГО ОБТЕКАТЕЛЯ РАКЕТЫ-НОСИТЕЛЯ

Авторы:
Земсков Вячеслав Александрович
Номер заявки
2014142344/11
Дата подачи заявки
22.10.2014
Опубликовано
20.11.2015
Страна
RU
Как управлять
интеллектуальной собственностью
Чертежи 
2
Реферат

Изобретение относится к ракетной технике и может быть использовано для разделения и сброса головного обтекателя (ГО) ракеты-носителя (РН). Устройство разделения и сброса ГО РН содержит створки с возможностью вращения, толкатели, опирающиеся на фитинги РН, хвостовик со сферическими законцовками, пружины с противоположным направлением навивки и установленные одна в другую. Толкатель содержит телескопически соединенные между собой внешний цилиндр с гильзой с жестко закрепленной нижней крышкой с малым стаканом и внутренний цилиндр со штоком с жестко закрепленной верхней крышкой со стаканом. Стаканы телескопически соединены между собой с образованием полости между нижней и верхней крышками. Изобретение позволяет повысить надёжность разделения и сброса ГО. 2 ил.

Формула изобретения

Устройство разделения и сброса головного обтекателя ракеты-носителя, содержащее закрепленные на ней с возможностью вращения створки, толкатели, шарнирно установленные на наружной поверхности створок, опирающиеся на фитинги ракеты-носителя, связанные со штоками толкателей хвостовиками, имеющими сферические законцовки, отличающееся тем, что каждый толкатель содержит внешний и внутренний цилиндры, телескопически соединенные между собой с возможностью продольного перемещения друг относительно друга, внутренний цилиндр состоит из штока, шарнирно соединенного с одной из створок, и верхней крышки, жестко закрепленной на штоке, внешний цилиндр состоит из гильзы, соединенной с хвостовиком с возможностью поступательного движения, и нижней крышки, жестко закрепленной на гильзе, на верхней крышке установлен стакан, а на нижней крышке установлен малый стакан, которые телескопически соединены между собой с образованием полости между нижней и верхней крышками, в которой установлены одна в другой пружины с противоположным направлением навивки.

Описание

[1]

Предложенное изобретение относится к области ракетной техники и может быть использовано при разработке ракет-носителей.

[2]

Наиболее близким по набору существенных признаков является техническое решение по патенту РФ №2406662, B64G 1/64, F42B 51/36, 2009 г., которое и было принято авторами за аналог.

[3]

Данное техническое решение представляет собой устройство разделения и сброса головного обтекателя ракеты-носителя и содержит закрепленные на ней с возможностью вращения створки, толкатели, установленные на наружной поверхности створок, опирающиеся на фитинги ракеты-носителя, регулируемые в осевом направлении, связанными со штоками толкателей хвостовиками, имеющими сферические законцовки. Толкатель выполнен в виде пневмоцилиндра, а на каждой створке с ее внутренней стороны установлен аккумулятор давления, связанный через клапан открытия и пневмомагистрали с установленными на той же створке пневмоцилиндрами.

[4]

К недостаткам данного устройства следует отнести то, что данное устройство имеет сложную конструкцию толкателей, что приводит к снижению надежности разделения и сброса головного обтекателя ракеты-носителя. Наличие аккумуляторов давления, установленных с внутренних сторон створок, приводит к уменьшению полезного объема под обтекателем, а также к необходимости дополнительных элементов сигнализации для задействования системы. Также в процессе длительного хранения (10 лет и более) в состоянии постоянной готовности (дежурства) появляется необходимость в проведении регламентных работ и проверок.

[5]

Целью предлагаемого изобретения является создание устройства разделения и сброса головного обтекателя ракеты-носителя простой конструкции и повышение надежности разделения и сброса головного обтекателя.

[6]

Указанная цель достигается тем, что устройство разделения и сброса головного обтекателя ракеты-носителя содержит закрепленные на ней с возможностью вращения створки, толкатели, шарнирно установленные на наружной поверхности створок, опирающиеся на фитинги ракеты-носителя, связанные со штоками толкателей хвостовиками, имеющими сферические законцовки. Каждый толкатель содержит внешний и внутренний цилиндры, телескопически соединенные между собой с возможностью продольного перемещения друг относительно друга. Внутренний цилиндр состоит из штока, шарнирно соединенного с одной из створок, и верхней крышки, жестко закрепленной на штоке. Внешний цилиндр состоит из гильзы, соединенной с хвостовиком с возможностью поступательного движения, и нижней крышки, жестко закрепленной на гильзе. На верхней крышке установлен стакан, а на нижней крышке установлен малый стакан, которые телескопически соединены между собой с образованием полости между нижней и верхней крышками. В полости установлены одна в другой пружины с противоположным направлением навивки.

[7]

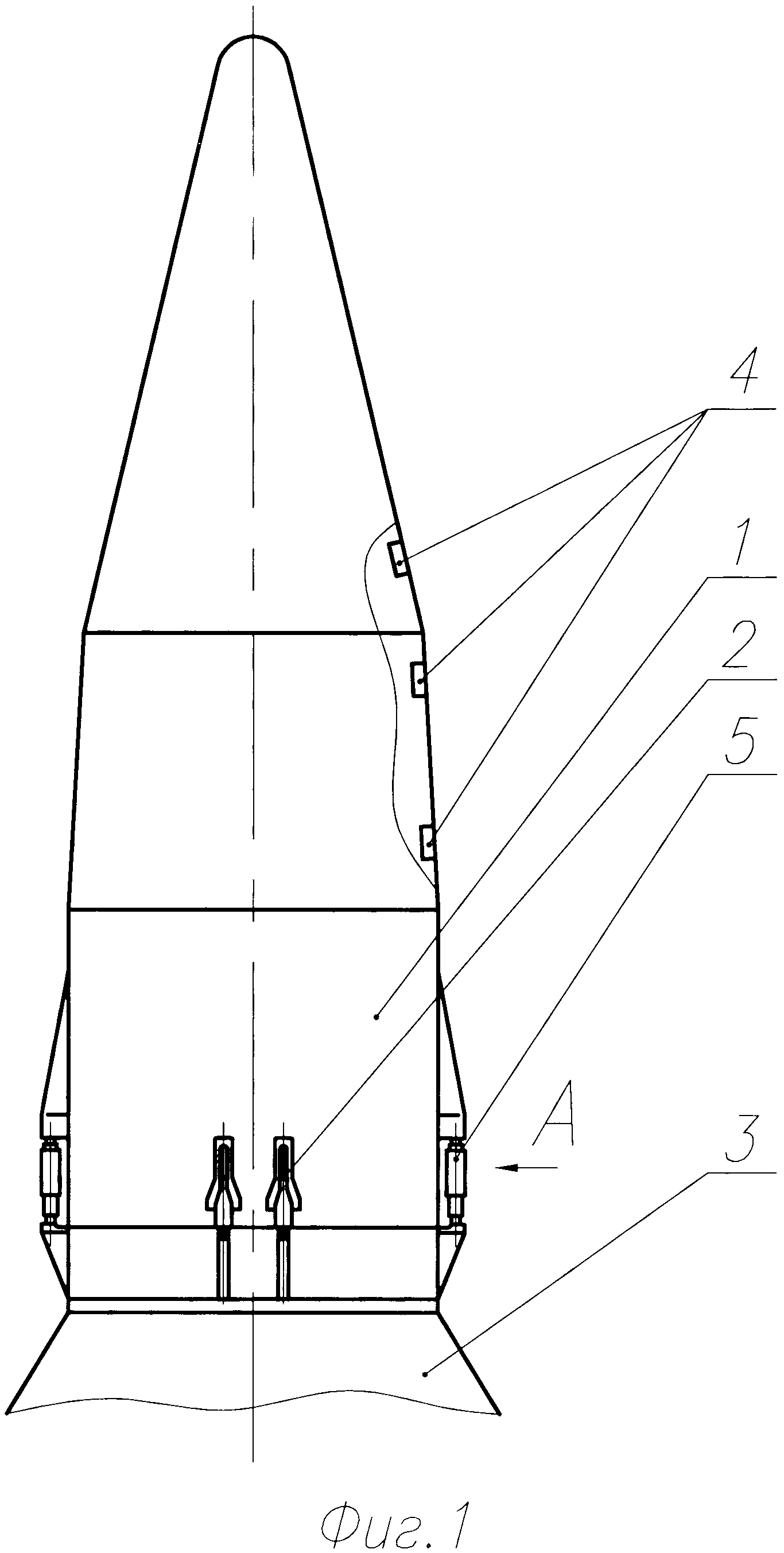
Сущность изобретения поясняется чертежами, где на фиг. 1 и 2 изображено устройство разделения и сброса головного обтекателя ракеты-носителя, установленное на ракете-носителе.

[8]

На фиг. 1 и 2 указаны позиции в следующем порядке:

[9]

1 - створка;

[10]

2 - шарнир;

[11]

3 - ракета-носитель;

[12]

4 - замок продольного стыка;

[13]

5 - толкатель;

[14]

6 - фитинг;

[15]

7 - хвостовик;

[16]

8 - сферическая законцовка;

[17]

9 - внутренний цилиндр;

[18]

10 - внешний цилиндр;

[19]

11 - шток;

[20]

12 - верхняя крышка;

[21]

13 - гильза;

[22]

14 - нижняя крышка;

[23]

15 - стакан;

[24]

16 - малый стакан;

[25]

17 - полость;

[26]

18 - пружина;

[27]

19 - пружина;

[28]

20 - стопор.

[29]

Устройство разделения и сброса головного обтекателя ракеты-носителя состоит из двух створок 1, установленных на шарнирах 2 на ракете-носителе 3 и связанных между собой замками продольного стыка 4. На каждой из створок 1 с внешней стороны шарнирно закреплены пара толкателей 5, опирающихся на фитинги 6 ракеты-носителя 3, регулируемые хвостовиками 7, имеющими сферические законцовки 8. Каждый толкатель 5 содержит внешний 10 и внутренний 9 цилиндры, телескопически соединенные между собой с возможностью продольного перемещения друг относительно друга. Внутренний цилиндр 9 состоит из штока 11, шарнирно соединенного с одной из створок 1, и верхней крышки 12, жестко закрепленной на штоке 11. Внешний цилиндр 10 состоит из гильзы 13, соединенной с хвостовиком 7 с возможностью поступательного движения, и нижней крышки 14, жестко закрепленной на гильзе 13. На верхней крышке 12 установлен стакан 15, а на нижней крышке 14 установлен малый стакан 16, которые телескопически соединены между собой с образованием полости 17 между нижней 14 и верхней 12 крышками. В полости 17 установлены одна в другой пружины 18 и 19 с противоположным направлением навивки. Для хранения толкателя 5 во взведенном состоянии до установки его на ракету-носитель 3 он снабжен стопором 20.

[30]

Устройство работает следующим образом.

[31]

После стыковки створок 1 между собой замками продольного стыка 4 и шарнирного закрепления на створках 1 толкателей 5 производится установка обтекателя в шарниры 2 ракеты-носителя 3 и закрепление его на ракете-носителе 3. Перед установкой обтекателя хвостовики 7 толкателей 5 ввинчиваются в их гильзы 13 на величину, обеспечивающую стыковку с фитингами 6 ракеты-носителя 3. После установки обтекателя на ракету-носитель 3 производится вывинчивание хвостовиков 7 из гильз 13, за счет чего производится совмещение сферических законцовок 8 с фитингами 6 ракеты-носителя. После доведения зазора между законцовками 8 хвостовиков 7 и фитингами 6 до нуля производится снятие стопора 20, вследствие чего происходит подпружинивание створок 1 относительно фитингов 6 ракеты-носителя 3. В процессе полета в заданное время производится раскрытие замков продольного стыка 4, расфиксируется стык створок 1 и ракеты носителя 3, в результате чего со стороны толкателей 5 на ракету-носитель 3 и створки 1 начинает действовать расталкивающая сила, под воздействием которой происходит разворот створок 1. Причем благодаря близости по величине усилий толкателей возмущения движения ракеты-носителя 3 минимальны.

[32]

Предложенное техническое решение позволяет реализовать простую конструкцию устройства разделения и сброса головного обтекателя ракеты-носителя, повысить надежность разделения и сброса головного обтекателя.

Как компенсировать расходы
на инновационную разработку
Похожие патенты